



















Preview text:
lOMoAR cPSD| 61716317
VẤN ĐỀ 1: KHÁI NIỆM, NHIỆM VỤ VÀ CÁC NGUYÊN TẮC CỦA LUẬT HÌNH SỰ I. Khái niệm 1.1. Định nghĩa
- LHS là ngành luật trong hệ thống PL VN, bao gồm hệ thống các QPPL do NN ban hành xác định
những hành vi nguy hiểm cho xã hội là tội phạm và quy định hình phạt có thể áp dụng đối với tội phạm đó.
- LHS là ngành độc lập và có: + ĐTDC riêng + PPDC riêng 1.2. ĐTDC của LHS
- ĐTDC của LHD là qhxh giữa NN và người, pháp nhân thương mại phạm tội phát sinh khi có sự
kiện tội phạm xảy ra (khi có người, PNTM thực hiện tội phạm)
- Khi có sự kiện phạm tội xảy ra
NN QHXH Người/pntm phạm tội
Quyền: Buộc người phạm tội Nghĩa vụ: Chịu TNHS phải chịu
TNHS (hình phạt) Quyền: Yêu cầu NN bảo vệ lợi ích chính đáng của mình.
Nghĩa vụ: Bảo vệ các lợi ích chính đáng của ng phạm tội
1.3. Phương pháp điều chỉnh
- Mệnh lệnh – phục tùng
- Việc quy định các hành vi nguy hiểm cho xã hội là tội phạm và quy định hình phạt là ý chí NN
- Cách thức tác động là bắt buộc, ko phụ thuộc vào ý chí ng phạm tội
II. Hiệu lực của HS
Hiệu lực của LHS là giá trị thi hành của LHS đối với tội phạm nên nó phải gắn với hành vi phạm tội:
+ Hiệu lực về tgian (hvi phạm tội xảy ra khi nào?)
+ Hiệu lực về không gian (hvi phạm tội xảy ra ở đâu?) lOMoAR cPSD| 61716317
2.1. Hiệu lực về thời gian
- Nếu việc áp dụng luật mà có lợi cho chủ thể bị áp dụng thì LHS có hiệu lực trở về trước
- Nếu áp dụng luật mà kh có lợi cho chủ thể bị áp dụng thì LHS kh có hiệu lực trở về trước.
2.2 Hiệu lực về không gian của BLHS * Nguyên tắc lãnh thổ: -
Đối với những hành vi phạm tội trên lãnh thổ Việt Nam, BLHS được áp dụng đối với mọi
hành vi phạm tội thực hiện trên lãnh thổ nước CHXHCNVN (khoản 1 Điều 5) bất kể công dân đó
là người nước ngoài, người không quốc tịch
+ Trường hợp: Hành vi phạm tội hoặc hậu quả của hành vi phạm tội xảy ra trên tàu bay, tàu
biển mang quốc tịch Việt Nam hoặc tại vùng đặc quyền lãnh thổ, thềm lục địa của VN.
+ Ngoại lệ khoản 2 Điều 5: Đối tượng được hưởng quyền miễn trừ ngoại giao hoặc lãnh sự…
hoặc theo tập quán quốc tế sẽ được hưởng quyền miễn trừ -
Đối với những hành vi phạm tội ngoài lãnh thổ VN: Công dân VN hoặc PNTM VN phạm
tội ở ngoài lãnh thổ nước CHXHCN VN mà Bộ luật này quy định là tội phạm thì có thể bị truy
cứu TNHS,.. Quy định này cũng được áp dụng đối với người không quốc tịch thường trú tại VN.
(Khoản 1 Điều 6 – Nguyên tắc quốc tịch)
* Nguyên tắc quốc tịch:
- LHS của mỗi quốc gia có hiệu lực đối với các tội phạm do công dân của mình thực hiện hoặc tội
phạm mà nạn nhân là công dân của mình, kh kể tội phạm đó xảy ra ở đâu.
+ Nguyên tắc quốc tịch chủ động (theo quốc tịch của người phạm tội)
• TH công dân phạm tội trong nước: Hiệu lực xác định theo NTLT và NTQT
• TH công dân phạm tội ở nước ngoài: Có thể là tội phạm ở cả 2 nước hoặc 1 trong 2
+ Nguyên tắc quốc tịch bị động (theo quốc tịch của nạn nhân) *
Nguyên tắc đảm bảo an ninh quốc gia: Hiệu lực đối với tội phạm xảy ra bên ngoài lãnh thổ
và do người kh phải công dân của quốc gia mình thực hiện khi tội phạm đó đe dọa nghiêm trọng đến an ninh quốc gia. *
Nguyên tắc phổ cập: Hiệu lực đối với tội phạm xảy ra bên ngoài lãnh thổ và do người kh
phải công dân của quốc gia mình thực hiện nếu tội phạm đó là tội phạm mà quốc gia có nghĩa vụ
phải chống theo cam kết của quốc gia trong các điều ước quốc tế.
VD: Công dân VN giết người ở Đức, PL Đức coi là tội phạm, PL Vn cũng coi là tội phạm. Xử lý theo PL nước nào
Công dân VN đánh bạc ở Cam, PL Cam kh coi là tội phạm nhưng PL VN coi là tội phạm. Xử lý
theo PL nước nào III. Tội phạm lOMoAR cPSD| 61716317 1. Định nghĩa
- Tội phạm là hành vi nguy hiểm cho xã hội, có lỗi, được quy định trong LHS, do người có năng
lực TNHS thực hiện và phải chịu hình phạt.
2. Các dấu hiệu của tội phạm
- Tội phạm trước hết là một hành vi:
+ Bằng hành vi con người tác động vào thế giới khách quan
+ Chỉ có hành vi mới có thể gây thiệt hại hoặc đe dọa gây thiệt hại
2.1 Tính nguy hiểm cho XH
- Là dấu hiệu cơ bản, quan trọng nhất quyết định những dấu hiệu khác của tội phạm.
- Nguy hiểm cho XH về mặt KQ là gây ra hoặc đe dọa gây ra thiệt hại đáng kể cho các qhxh được LHS bảo vệ.
- Nguy hiểm cho XH về mặt CQ là người có hành vi gây thiệt hại hoặc đe dọa gây thiệt hại cho các qhxh phải có lỗi 2.2. Tính có lỗi
- Lỗi là thái độ chủ quan của con người đối với hành vi nguy hiểm cho XH của mình và đối với
hậu quả của hành vi đó được thể hiện dưới dạng cố ý hay vô ý.
- Bản chất của lỗi thể hiện ở chỗ chủ thể đã tự lựa chọn và quyết định thực hiện HV nguy hiểm
cho XH trong khi có đủ điều kiện để lựa chọn xử sự khác phù hợp với đòi hỏi của XH.
- LHSVN không chấp nhận hình thức buộc tội khách quan.
2.3 Tính được quy định trong LHS
- Hành vi nguy hiểm cho XH bị coi là tội phạm nếu hành vi đó được quy định trong BLHS
- Mối quan hệ giữa tính nguy hiểm cho xã hội và tính được quy định trong pháp luật hình sự là
mối quan hệ giữa nội dung và hình thức
2.4. Do người có năng lực TNHS thực hiện
- HV nguy hiểm cho xã hội là TP khi do người có NLTNHS hoặc PNTM thực hiện HV đó có lỗi
cố ý hoặc vô ý (Điều 8 BLHS). - Con người: + NL TNHS + Đủ tuổi chịu TNHS
2.5 Tính phải chịu hình phạt
- Do tính nguy hiểm cho xã hội nên bất cứ hành vi phạm tội nào cũng đều bị đe dọa có thể phải
chịu biện pháp cưỡng chế nhà nước nghiêm khắc nhất là hình phạt lOMoAR cPSD| 61716317
Chú ý: BLHS quy định "Tội phạm là hành vi phải bị xử lý hình sự" chứ không quy định
TP là HV p hải bị xử lý bằng HP
III. Phân loại tội phạm
- Phân loại TP là việc phân chia TP theo những căn cứ (tiêu chí) cụ thể thành những nhóm TP khác
nhau nhằm những mục đích nhất định.
- Theo BLHS năm 2015, TP được phân loại theo các căn cứ là:
• Tính chất và mức độ nguy hiểm cho xã hội của HV; • Theo tính chất lỗi;
• Theo nhóm QHXH bị xâm phạm;
• Một số căn cứ khác
- Điều 9 BLHS : "Căn cứ vào tính chất và mức độ nguy hiểm cho xã hội của HV được quy định
trong Bộ luật này, TP được phân thành 04 loại sau đây": TP ít nghiêm trọng, TP nghiêm trọng,
TP rất nghiêm trọng và TP đặc biệt nghiêm trọng. TP ít nghiêm trọng TP nghiêm trọng TP rất nghiêm trọng TP đặc biệt nghiêm trọng
Gây nguy hại ko lớn Gây nguy hại lớn cho Gây nguy hại rất lớn Gây nguy hại đặc biệt cho XH XH cho XH cho XH
Mức cao nhất của Mức cao nhất của Mức cao nhất của Mức cao nhất của khung là phạt khung là đến 7n tù khung là đến 15n tù khung là trên 15n tù, tù tiền/CTKGG/đến 3n chung thân, tử hình tù Chú ý: 1.
Khi xác định loại TP theo sự phân loại TP phải căn cử vào mức cao nhất của khung
HP do luật QĐ đối với TP đó, không được căn cứ vào HP cụ thể do TA tuyên. 2.
Một tội danh có thể có một hoặc nhiều khung HP, xác định loại TP phải căn cứ vào
mức cao nhất của từng khung HP do luật định chứ không phải là khung HP nặng nhất của tội đó.
VD: Căn cứ QĐ tại Điều 9 BLHS hãy phân loại TP đối với:
1. H bị TA xử phạt 3 năm tù về tội trộm cắp TS theo Điều 173 BLHS. Xác định loại TP đối với
HV phạm tội của H và giải thích rõ TS? – Tội ít nghiêm trọng
2. K bị TA xử phạt 7 năm tù về tội trộm cắp TS theo Điều 173 BLHS. Xác định loại TP đối với
HV phạm tội của K và giải thích rõ TS? – Tội nghiêm trọng lOMoAR cPSD| 61716317
3. G bị TA xử phạt 15 năm tù về tội trộm cắp TS theo Điều 173 BLHS. Xác định loại TP đối với
HV phạm tội của G và giải thích rõ TS? – Tội rất nghiêm trọng
VẤN ĐỀ 2: CÁC YẾU TỐ CỦA TỘI PHẠM VÀ CẤU THÀNH TỘI PHẠM
I. Các yếu tố của TP
- Về bản chất, nội dung chính trị XH và nội dung pháp lý TP là hiện tượng XH
- Về cấu trúc, TP gồm: các yếu tố quan hệ mật thiết với nhau + KT của TP + MKQ của TP + CT của TP + MCQ của TP
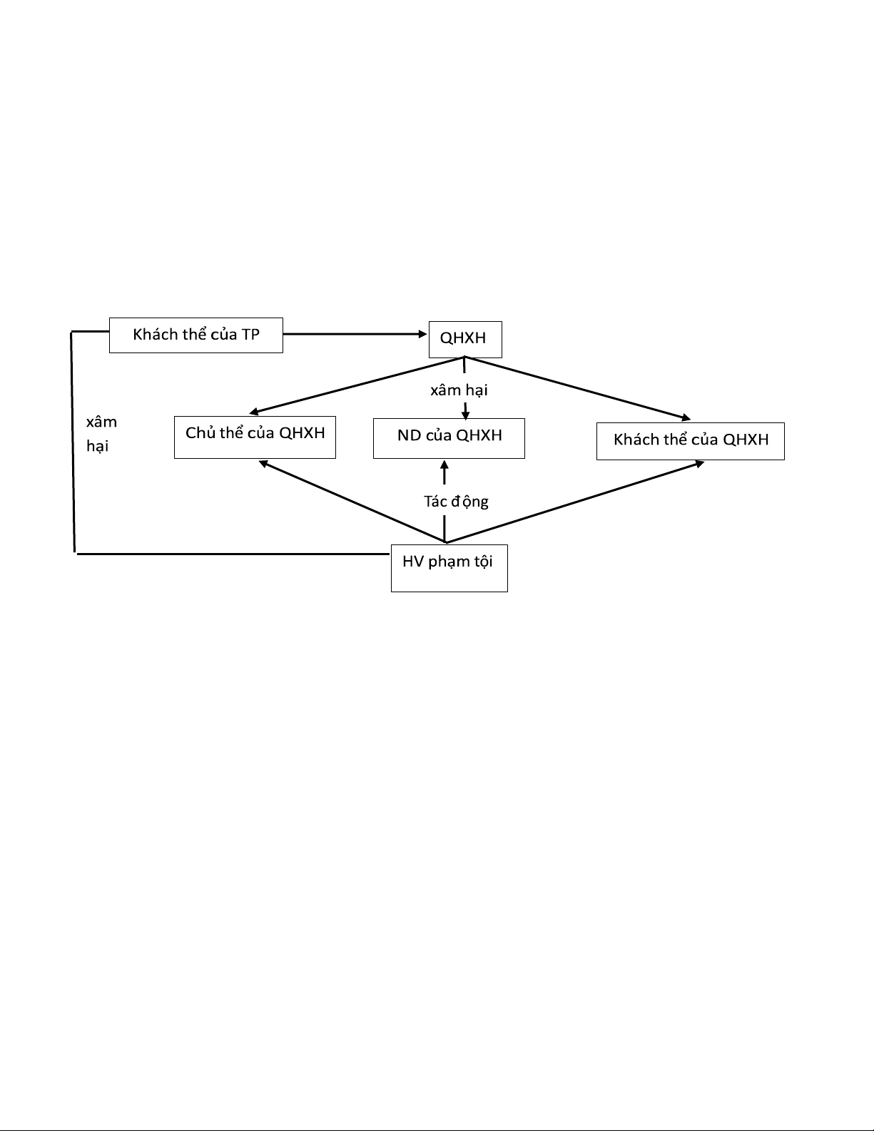
1. Khách thể của TP
- QHXH được LHS bảo vệ và bị HVPT xâm hại
+ Độc lập, chủ quyền, thống nhất, toàn vẹn lãnh thổ của Tổ quốc.
+ Chế độ chính trị, chế độ kinh tế, nền VH, QP, AN
+ Quyền lợi ích hợp pháp của tc
+ Quyền lợi ích hợp pháp của cng, quyền công dân
+ Lĩnh vực khác của PL XHCN
2. Mặt KQ của TP
- Là những biểu hiện bên ngoài của TP:
• Hành vi KQ nguy hiểm cho XH
• Hậu quả thiệt hại do hành vi KQ gây ra
• Các đk bên ngoài khác của việc thực hiện hành vi phạm tội (công cụ, phương tiện sử dụng,
thời gian, địa điểm,.. mà hành vi khách quan xảy ra)
3. Chủ thể của TP
- Là người có NLTNHS thực hiện TP
4. Mặt chủ quan của TP
Là những biểu hiện tâm lý bên trong của tp bao gồm: lOMoAR cPSD| 61716317 - Lỗi - Động cơ phạm tội - Mục đích phạm tội
Chủ thể của TP -------------> Mặt khách quan của TP ----------->Khách thể của TP thực hiện xâm hại II. Cấu thành TP
1. Khái niệm về CTTP
CTTP là tổng hợp những Dấu hiệu chung Đặc trưng cho một TP cụ thể quy định trong LHS Gi ế t ngư ờ i Ch ủ đ ề Hành Công c ụ Th ờ i H ậ u vi Dao, gian : qu ả : Nam súng, Đâm Sáng, Ch ế t, b ị N ữ Lưu chi ề u thương,. Chém đ ạ n, Đ ầ y đ ủ , Bán Thu ố c
Điểm chung: 1. Hành vi tước đoạt tính mạng người khác trái PL; 2. Do người có năng lực TNHS
thực hiện; 3. Lỗi cố ý lOMoAR cPSD| 61716317 TP CTTP
Hi ệ n tư ợ ng Khái ni ệ m . Đ
2 ặ c đi ể m c ủ a các d ấ u hi ệ u trong CTTP •
Các dấu hiệu trong CTTP đều do luật định •
Các dấu hiệu trong CTTP có tính đặc trưng
VD: Tội A gồm có dấu hiệu a, b, c, d
Tội B gồm có dấu hiệu a, b, e, f
Tội C gồm có dấu hiệu b, c, d, e A # B # C
Chi ế m đo ạ t tài s ả n
+ Dùng vũ l ự c
+ Giao c ấ u trái ý mu ố n
Không thể có hai CTTP y hệt nhau.
• Các dấu hiệu trong CTTP có tính bắt buộc 3. Phân loại CTTP
- Theo mức nguy hiểm của hành vi phạm tội:
• CTTP cơ bản: Chỉ bao gồm các dấu hiệu định tội
• CTTP tăng nặng: Ngoài những dấu hiệu định tội còn có những dấu hiệu khác làm tăng lên
đáng kể mức độ nguy hiểm.
CTTP tăng nặng = CTTP cơ bản + dấu hiệu định khung TN
• CTTP giảm nhẹ: Ngoài những dấu hiệu định tội còn có những dấu hiệu khác làm giảm nhẹ
đáng kể mức độ nguy hiểm. lOMoAR cPSD| 61716317
CTTP giảm nhẹ = CTTP cơ bản + dấu hiệu định khung GN
- Theo đặc điểm cấu trúc của CTTP cơ bản:
• CTTP vật chất: Có các dấu hiệu của MKQ của TP là HVKQ, HQ thiệt hại do hành vi KQ gây ra.
• CTTP hình thức: Mà trong các dấu hiệu của MKQ của TP không có dấu hiệu HQ thiệt hại
• CTTP cắt xén: Dấu hiệu thuộc MKQ của TP mô tả: chuỗi hành vi kh xác định hướng tới mục đích cụ thể.
4. Ý nghĩa của CTTP
- CTTP là cơ sở của TNHS
- CTTP căn cứ pháp lý để định khung HP
- CTTP là căn cứ pháp lý của việc định tội
III. Khách thể của TP 1. Khái niệm a. Định nghĩa
- QHXH được LHS bảo vệ và bị TP xâm hại:
• Độc lập, chủ quyền, thống nhất, toàn vẹn lãnh thổ của tổ quốc
• Chế độ chính trị, chế độ kinh tế, nền VH, QP, AN
• Quyền lợi ích hợp pháp của tổ chức
• Quyền lợi ích hợp pháp của con người, quyền công dân
• Lĩnh vực khác của IT pháp luật XHCN
b. Ý nghĩa của khách thể của TP
• Yếu tố không thể thiếu của TP
• Cho thấy bản chất chống đổi xã hội của TP
• Là căn cứ nhận thức nhiệm vụ của LHS
• Hệ thống hóa các TP trong LHS
2. Các loại khách thể của TP
- KT chung: Tổng hợp các QHXH đc LHS bảo vệ và bị TP xâm hại
- KT loại: Nhóm QHXH cùng tính chất được một nhóm QPPL HS bảo vệ và bị nhóm TP xâm hại
- KT trực tiếp: QHXH bị loại TP có thế xâm hại mà sự xâm hại này phản ánh được đầy đủ tc NHCXH của TP đó.
3. Đối tượng tác động của TP
- Các loại đối tượng của TP: lOMoAR cPSD| 61716317 • Con người
• Hoạt động bình thường của cng • Vật chất
- Ý nghĩa của ĐTTĐ của TP:
• Có ý nghĩa định tội trong một số trường hợp
• Là dấu hiệu định khung HP trong một số tội danh
• Là một trong những căn cứ đánh giá mức độ nguy hiểm cho XH của hành vi PT.
3. Ý nghĩa của ĐTTĐ của TP
- Có ý nghĩa định tội trong một số trường hợp
- Là dấu hiệu định khung HP trong một số tội danh
- Là một trong những căn cứ đánh giá mức độ nguy hiểm cho XH của HV PT
IV. Mặt khách quan của TP 1. Khái niệm
- MKQ của TP là mặt bên ngoài của TP, bao gồm những biểu hiện của TP diễn ra hoặc tồn tại bên
ngoài (trong thế giới KQ). - Bao gồm:
• Hành vì khách quan có tính gây thiệt hại;
• Hậu quả thiệt hại do hành vi khách quan gây ra
• Các điều kiện bên ngoài khác của việc thực hiện hành vi phạm tội (công cụ, phương
tiện phạm tội, phương pháp, thủ đoạn phạm tội, thời gian, địa điểm, hoàn cảnh phạm tội...) lOMoAR cPSD| 61716317
2. Hành vi khách quan a. Định nghĩa
- Hành vi là biểu hiện của con người :
• Ra bên ngoài thế giới khách quan
• Dưới những hình thức cụ thể
• Nhằm đạt được những mục đích có chủ đích và mong muốn
- Đặc điểm của hành vi khách quan của tội phạm:
• Tính gây thiệt hại cho XH
• Tính được quy định trong LHS hành vi KQ
• Có ý thức và có ý chí (hành vi)
- Ý thức kiểm soát mặt thực tế của biểu hiện Khả năng chủ thể nhận thức “biểu hiện” của mình là gì.
- Ý chí điều khiển mặt thức tế của biểu hiện Khả năng chủ thể điều khiển được “biểu hiện” theo mục đích của mình.
Giới hạn mặt thực tế của biểu hiện
- Biểu hiện của con người ra ngoài thế giới khách quan không được ý thức kiểm soát hoặc ý chí
điều khiển không phải hành vi
Một số dạng biểu hiện không phải là hành vi
• Những "biểu hiện" không có chủ định như phản xạ bẩm sinh vô điều kiện;
• Phản ứng trong tình trạng choáng hay trong tình trạng xúc động quá mạnh;
• Những "biểu hiện" trong tình trạng bộ não mất khả năng kiểm soát, điều khiển mặt thực tế
của "biểu hiện" do rối loạn ý thức;
• Trường hợp gây thiệt hại do bị cưỡng bức thân thể.
b. Hình thức thể hiện của hành vi khách quan
- Hành động phạm tội: chủ thể đã làm một việc bị PL cấm
- Không hành động phạm tội: chủ thể không làm một việc mà PL yêu cầu phải làm mặc dù có đủ điều kiện để làm
* Không hành động phạm tội:
Chủ thể có nghĩa vụ hành động + Chủ thể có đủ điều kiện thực hiện nghĩa vụ này TNHS
Căn cứ phát sinh nghĩa vụ hành động của chủ thể: - Do luật định lOMoAR cPSD| 61716317
- Do quyết định của CQNN có thẩm quyền - Do nghề nghiệp - Do hợp đồng
- Do xử xự trước đó của chủ thể
c. Các dạng cấu trúc đặc biệt của hành vi khách quan -
Tội ghép là tội phạm mà hành vi khách quan được hình thành bởi nhiều hành vi khác nhằm
xảy ra đồng thời; xâm hại nhiều khách thể khác nhau (VD: Hành vi cướp tài sản trong tội cướp tài sản) -
Tội kéo dài là tội phạm mà hành vi khách quan có khả năng diễn ra không gián đoạn trong
một thời gian dài; xâm hại cùng một khách thể (VD: Hành vi khách quan của tội tàng trữ chất ma túy) -
Tội liên tục là tội phạm mà hành vi khách quan bao gồm nhiều hành vi xảy ra liên tiếp nhau
về mặt thời gian; xâm hại cùng một khách thể; đều bị chi phối bởi ý định phạm tội cụ thể. (VD:
Hành vi khách quan của tội đầu cơ)
3. Hậu quả thiệt hại
• Ý nghĩa hậu quả thiệt hại
• Định tội danh (đối với tội có CTTP vật chất)
• Định khung hình phạt (đối với CTTP tăng nặng có dấu hiệu phản ánh hậu quả)
• Đối với việc xác định mức độ nguy hiểm của hành vi phạm tội khi quyết định hình phạt
4. Vấn đề nhân quả trong LHS
• Căn cứ xác định mỗi QHNG
• Hành vi khách quan của TP phải xảy ra trước hậu quả thiệt hại về mặt thời gian
• Hành vi khách quan của TP luật độc lập hoặc trong mối liên hệ tổng hợp với một hoặc
nhiều hiện tượng khác phải chứa đựng khả năng thực tế làm phát sinh hậu quả thiệt hại
• Hậu quả thiệt hại xảy ra phải đúng là sự hiện thực hóa khả năng thực tế làm phát sinh hậu
quả của hành vi khách quan của TP
5. Các biểu hiện khác của mặt khách quan của TP
• Công cụ, phương tiện pham tội • Hoàn cảnh phạm tội
• Phương pháp, thủ đoạn p.tội
• Địa điểm phạm tội • Thời gian phạm tội lOMoAR cPSD| 61716317
V. Chủ thể của tội phạm 1. Định nghĩa
- Chủ thể của TP là người có NLTNHS (bao gồm NL nhận thức, NL điều khiển hành vi theo đòi
hỏi của xã hội và đạt độ tuổi chịu trách nhiệm hình sự theo luật định) khi thựuc hiện hành vi phạm tội. 2. NL TNHS
- Định nghĩa: Là NL có thể phải chịu TNHS của một người nếu thực hiện hành vi phạm tội
- NN xác định NLTNHS qua: NL nhận thức và NL đk HV theo đòi hỏi của XH; độ tuổi của người phạm tội
- Người có NLTNHS: Là người đạt độ tuổi nhất định (Đ12); không thuộc TH kh có NLTNHS (Đ21)
• Điều 21 BLHS 2015 quy định: “Người thực hiện hành vi nguy hiểm cho xã hội trong khi
đang mắc bệnh tâm thần, một bệnh khác làm mất khả năng nhận thức hoặc khả năng điều
khiển hành vi của mình thì không phải chịu trách nhiệm hình sự”. lOMoAR cPSD| 61716317
* NLTNHS trong tình trạng mát khả năng nhận thức hoặc khả năng điều khiển do dùng rượu bia
hoặc chất kích thích khác (Đ13) Phải chịu TNHS vì:
- Có lỗi vì tự đặt mình vào tình trạng này
• Tự tước bỏ khả năng nhận thức
• Tự tước bỏ khả năng điều khiển HV
- Có lỗi vì thực hiện HVPT
3. Chủ thể đặc biệt của TP
4. Vấn đề nhân thân người phạm tội lOMoAR cPSD| 61716317
VI. Mặt chủ quan của TP
1. Khái niệm - Tội
phạm Những biểu hiện bên ngoài: + HV nguy hiểm cho XH + HQ nguy hiểm MKQ của TP + QHNQ + Biểu hiện khác
Những biểu hiện tâm lý: + Lỗi + Động cơ PT
MCQ của TP Mặt tâm lý bên trong TP + Mục đích PT 2. Lỗi 2.1. Khái niệm
- Thừa nhận nguyên tắc có lỗi là:
+ Không chấp nhận việc quy tội KQ
+ Thừa nhận sự tộn trọng quyền tự do của con người
+ Nhằm cải tạo, giáo dục người phạm tội
* Lỗi về mặt nội dung Sự phủ định CQ đòi hỏi của xã hội
- Người phạm tội lựa chọn xử sự trái PL Có lỗi lOMoAR cPSD| 61716317
- Người phạm tội có điều kiện nhưng không lựa chọn Xử sự phù hợp với quy định của PL
* Lỗi về mặt hình thức:
- Thái độ tâm lý của người PT đối với: + Hành vi + Lỗi + Hậu quả
+ Thực hiện dưới dạng vô ý hay cố ý
2.2. Lỗi với vấn đề tự do và trách nhiệm
- Người có lỗi khi thực hiện HV nguy hiểm cho XH thì phải chịu TNHS
2.3. Các hình thức lỗi - Cố ý trực tiếp:
• Lý trí: + Nhận thức được tính chất của hành vi
+ Thấy trước được HQ thiệt hại
• Ý chí: Mong muốn hậu quả đó xảy ra - Cố ý gián tiếp:
• Lý trí: + Nhận thức được tính chất của hành vi
+ Thấy trước được HQ thiệt hại
• Ý chí: Không mong muốn hậu quả đó xảy ra nhưng vẫn có ý thức để mặc hậu quả xảy ra.
- Một số loại lỗi cố ý khác:
• Cố ý có dự mưu là trường hợp trước khi thực hiện hành vi nguy hiểm cho xã hội, người có
hành vi đó đã suy nghĩ, tính toán cẩn thận mới bắt tay vào việc thực hiện tội phạm
• Cố ý đột xuất là trường hợp một người vừa có ý định phạm tội đã thực hiện ngay ý định đó.
• Cố ý xác định là trường hợp trước khi thực hiện hành vi nguy hiểm cho xã hội, người có
hành vi đã xác định được hậu quả. (VD: Người phạm tội trộm cắp TS có ý định trộm cắp
TS cụ thể và đã thực hiện ý định đó)
• Cố ý không xác định là trường hợp trước khi thực hiện hành vi nguy hiểm cho xã hội,
người có hành vi không hình dung chính xác hậu quả xảy ra như thế nào. (VD: NPT chưa
hình dung được thương tích khi dùng gậy đập người khác). lOMoAR cPSD| 61716317
- Lỗi vô ý vì quá tự tin: người phạm tội khi hành động đã thấy được việc làm của mình có thể gây
ra những hậu quả nguy hiểm cho xã hội, nhưng cứ hành động vì tin vào khả năng, sức lực, trình
độ, kinh nghiệm của mình, cũng như nhận định chủ quan về hoàn cảnh thực tế, cho rằng có thể
ngăn chặn được hậu quả nguy hiểm cho xã hội nếu nó xảy ra.
• Lý trí: NPT nhận thức được tính gây thiệt hại cho xã hội của mình ở chỗ thấy trước hậu
quả nguy hại cho XH mà hành vi gây ra
• Ý chí: Người phạm tội không mong muốn hành vi của mình gây ra hậu quả thiệt hại. Sự
không mong muốn này có điểm khác so với sự không mong muốn ở trường hợp có lỗi cố
ý gián tiếp. Người phạm tội với lỗi vô ý vì quá tự tin đã cân nhắc, tính toán và cho rằng
hậu quả thiệt hại sẽ không xảy ra.
VD: Người lái xe tự tin sẽ vượt qua đường sắt trước khi tàu đến.
- Lỗi vô ý vì cẩu thả: Người phạm tội không thấy trước hành vi của mình có thể gây ra hậu quả
nguy hại cho xã hội, mặc dù phải thấy trước và có thể thấy trước hậu quả đó
• Người phạm tội không thấy trước hậu quả nguy hại cho xã hội (hậu quả thiệt hại) mà hành vi của mình đã gây ra.
+ Người phạm tội không nhận thức được mặt thực tế của hành vi của mình và như vậy
cũng có nghĩa không nhận thức được khả năng gây hậu quả thiệt hại của hành vi của mình. Ví dụ:
Y tá khi phát nhầm thuốc cho bệnh nhân (do vội vàng) đã không nhận thức được hành vi của mình
là hành vi phát nhầm và do vậy cũng không nhận thức được hành vi của mình có khả nâng gây ra hậu quả thiệt hại.
+ Người phạm tội tuy nhận thức được mặt thực tế của hành vi của mình nhưng lại hoàn
toàn không nhận thức được khả năng gây hậu quả thiệt hại của hành vi của mình (hoàn toàn không
nghĩ đến khả năng hậu quả xảy ra). Ví dụ: Người vứt que diêm cháy dở sau khi châm thuốc ngay
chỗ bơm xăng có thể hoàn toàn không “kịp” nghĩ đến khả năng gây hoả hoạn. lOMoAR cPSD| 61716317
• Người phạm tội phải thấy trước và có thể thấy trước hậu quả đó.
- Trường hợp hỗn hợp lỗi: Hỗn hợp lỗi là trường hợp trong cấu thành tăng nặng của tội có hai loại
lỗi (cố ý và vô ý) được quy định đối với những tình tiết khách quan khác nhau.
VD: Cấu thành tội phạm cơ bản của tội hiếp dâm (Khoản 1 Điều 141 Bộ luật hình sự) có dấu hiệu
là lỗi cố ý; đối với cấu thành tội phạm tăng nặng của tội này, chẳng hạn như hậu quả chết người
(điểm c Khoản 3 Điều 141 Bộ luật hình sự) thì lỗi đối với hậu quả là lỗi vô ý.
- Sự kiện bất ngờ: "Người thực hiện hành vi gây hậu quả nguy hại cho xã hội trong trường hợp
không thể thấy trước hoặc không buộc phải thấy trước hậu quả của hành vi đó, thì không phải
chịu trách nhiệm hình sự".
3. Động cơ phạm tội
- Là động lực bên trong thúc đẩy người phạm tội thực hiện hành vi phạm tội.
- Chỉ các TP cố ý mới có động cơ PT
- Có thể làm thay đổi mức độ nguy hiểm cho XH của HV PT
- Không phải dấu hiệu bắt buộc chung cho mọi CTTP
- Có thể được phản ánh là dấu hiệu định khung tặng nặng, giảm nhẹ hình phạt hoặc tình tiết tặng nặng, giảm nhẹ TNHS.
4. Mục đích phạm tội
- Là kết quả trong ý thức chủ quan mà người phạm tội đặt ra phải đạt được khi thực hiện hành vi
phạm tội cố ý (trực tiếp).
- Chỉ các TP cố ý trực tiếp mới có mục đích phạm tội.
- Cần phân biệt mục đích PT với hậu quả thiệt hại của TP
- Nếu động cơ là nguyên nhân của hành vi thì mục đích là khuynh hướng của ý chí
- Mục đích PT không phải dấu hiệu bắt buộc trong mọi CTTP.
5. Sai lầm và ảnh hưởng của sai lầm đối với TNHS
- Sai lầm là nhận thức không đúng đắn về tính chất pháp lý của HV hoặc về những tình tiết thực tế của HV.
VII. Các giai đoạn thực hiện tội phạm
1. Tội phạm hoàn thành
- Tội phạm hoàn thành là trường hợp hành vi phạm tội đã thoả mãn hết các dấu hiệu được mô tả trong CTTP.
- Khi tội phạm hoàn thành thì hành vi phạm tội đã có đủ các dấu hiệu phản ánh dây đủ tính chất
nguy hiểm cho xã hội của loại tội đó. lOMoAR cPSD| 61716317
- Thời điểm tội phạm hoàn thành không phụ thuộc vào việc người phạm tội đã đạt được mục đích của minh hay chưa.
- Thời điểm hoàn thành sớm hay muộn là tùy thuộc vào việc xây dựng các dấu hiệu của CTTP -
Thời điểm hoàn thành của các loại tội :
+ Tội phạm có CTTP vật chất hoàn thành khi người phạm tội đã gây ra hậu quả của tội phạm.
+ Tội phạm có CTTP hình thức hoàn thành ngay khi người phạm tội đã thực hiện được hết hành
vi khách quan được mô tả trong CTTP.
+ Tội phạm có CTTP cắt xén hoàn thành khi người phạm tội đã có những hoạt động bất kì nhằm
thực hiện hành vi phạm tội.
- Thời điểm hoàn thành và thời điểm tội phạm kết thúc:
+ Tội phạm kết thúc là thời điểm hành vi phạm tội đã thực sự chấm dứt.
+ Hành vi phạm tội có thể dừng lại ở giai đoạn chuẩn bị phạm tội hoặc ở giai đoạn phạm tội chưa
đạt và ngược lại tội phạm tuy đã hoàn thành nhưng vẫn có thể tiếp tục xảy ra.
2. Phạm tội chưa đạt
2.1. Khái niệm lOMoAR cPSD| 61716317
- Căn cứ pháp lý: Điều 15 BLHS 2015: “Phạm tội chưa đạt là cố ý thực hiện tội phạm nhưng
không thực hiện được đến cùng vì những nguyên nhân ngoài ý muốn của người phạm tội.” - Căn cứ xác định PTCĐ:
+ Đã bắt đầu thực hiện HVKQ đươc mô tả trong CTTP hoặc hành vi đi liền trước HVKQ đó
• Đã bắt đầu thực hiện HVKQ mô tả trong CTTP
• Đã bắt đầu thực hiện hành vi đi liền trước HVKQ được mô tả trong CTTP
+ Người phạm tội không thực hiên tôi pham được đến cùng (về mặt pháp lý)
• Mới chỉ thực hiện được hành vi đi liền trước HVKQ được mô tả trong CTTP
• Đã thực hiện HVKQ được mô tả trong CTTP nhưng chưa thực hiện hết
• Đã thực hiện được HVKQ được mô tả trong CTTP nhưng chưa gây ra HQ nguy hiêm cho XH
+ Người phạm tội không thực hiện tội phạm được đến cùng là do nguyên nhân ngoài ý muốn của họ
- TNHS trong phạm tội chưa đạt: mọi trường hợp pham tôi chưa đạt phải chịu TNHS
2.2. Phân loại các trường hợp phạm tội chưa đạt
- Căn cứ vào thái độ tâm lý của người phạm tội đối với hành vi mà họ đã thực hiện:
+ Phạm tội chưa đạt chưa hoàn thành là trường hợp phạm tội chưa đạt, trong đó người phạm tội vì
những nguyên nhân khách quan chưa thưc hiên được hết các hành vì cho là cần thiết để gây ra hâu
quả thiêt hai đươc mô tả trong СТТР. lOMoAR cPSD| 61716317
+ Phạm tội chưa đạt đã hoàn thành là trường hợp phạm tội chưa đạt nhưng người phạm tội đã thực
hiên đươc hết các hành vi đươc cho là cần thiết để gây ra hâu quả thiệt hại được mô tả trong CTTP
nhưng do nguyên nhân ngoài ý muốn, hâu quả vẫn không xảy ra.
3. Chuẩn bị phạm tội
- Căn cứ pháp lý: Điều 14 BLHS: “Chuẩn bị phạm tội là tìm kiếm, sửa soạn công cụ, phương tiện
hoặc tạo ra những điều kiện khác để thực hiện tội phạm hoặc thành lập, tham gia nhóm tội phạm,
trừ trường hợp thành lập hoặc tham gia nhóm tội phạm quy định tại Điều 109, điểm a khoản 2
Điều 113 hoặc điểm a khoản 2 Điều 299 của Bộ luật này”
- Xét về bản chất thì CBPT: Là TH người PT tạo ra những điều kiện cần thiết cho việc thực hiện
tội phạm chưa bắt đầu thực hiện tội phạm
- Tìm kiếm công cụ, phương tiện pham tội là: Bằng mọi cách để có được công cụ, phương tiện
phạm tội. Cụ thể: Mua bán, Đổi chác, Trộm cắp, Lừa đảo...
- Sửa soạn công cụ, phương tiện phạm tội là: Làm cho các công cụ phương tiện trở thanh thuận
tiện hơn cho việc thực hiện TP. Cụ thể: Mài dao, Lau súng, Rèn rũa công cụ, Thử chất độc ...
- Tạo những đ/k khác để thực hiện TP là: Tạo ra những thuận lợi ban đầu cho việc thực hiện Tp.
Cụ thể: Lập kế hoạch PT, Tìm kiếm đồng bọn, Thăm dò địa điểm phạm tội, Khắc phục trở ngại khách quan.