

























































































































































































































Preview text:
lOMoARcPSD| 37922327
Phan Thị Hà-Khoa CNTT1-Học viện CNBCVT
HỌC VIỆN CÔNG NGHỆ BƯU CHÍNH VIỄN THÔNG --------------------
KHOA CÔNG NGHỆ THÔNG TIN 1 BÀI GIẢNG TIN HỌC CƠ SỞ 1 Chủ biên: PHAN THỊ HÀ lOMoAR cPSD| 37922327
Phan Thị Hà-Khoa CNTT1-Học viện CNBCVT lOMoARcPSD| 37922327
Phan Thị Hà-Khoa CNTT1-Học viện CNBCVT
CH£¡NG 1. CÁC KHÁI NIÞM C¡ BÀN GIàI THIÞU
Ch¤¢ng này cung cÃp cho sinh viên các kiến thức sau: -
Các khái niám c¢ bÁn vß thông tin, các há ếm và mánh ß logic trong lĩnh vực tin hác. -
Táng quan vß quá trình xā lý thông tin, nhÁn dián kā thuÁt phần cứng và phần mßm
¤ợc nghiên cứu trong tin hác. -
Các khái niám c¢ bÁn vß thuÁt toán và s¢ ß khối á giÁi quyết một bài toán cÿ thá trên máy tính ián tā. -
CÃu trúc cāa một há thống máy tính, phần cứng, phần mßm, các thiết bß ngo¿i vi. -
Các khái niám vß m¿ng, kết nối m¿ng, các cÃu trúc liên kết m¿ng, các thành phần
thiết bß Ãu nối m¿ng và các dßch vÿ c¢ bÁn cāa m¿ng máy tính.
1.1 THÔNG TIN VÀ XĀ LÝ THÔNG TIN
1.1.1 Khái quát
1.1.1.1 Khái niệm thông tin b/ Khái niám
Trong ßi sống hàng ngày, chúng ta tiếp nhÁn và sā dÿng nhißu thông tin. Thông tin em l¿i
cho chúng ta sự hiáu biết, giúp chúng ta nhÁn thức úng ắn vß các hián t¤ợng tự nhiên và xã
hội; cũng nhß thông tin ta có ¤ợc nhăng hành ộng hợp lý nhằm ¿t ¤ợc nhăng mÿc ích trong cuộc sống.
Chúng ta ai cũng thÃy ¤ợc sự cần thiết cāa thông tin và cÁm nhÁn ¤ợc thông tin là gì.
Nh¤ng á ¤a ra một ßnh nghĩa chính xác vß thông tin thì hầu hết chúng ta ßu lúng túng bái
thông tin là một khái niám khá trÿu t¤ợng và nó ¤ợc thá hián d¤ới nhißu d¿ng thức khác nhau.
Tuy nhiên, ng¤ßi ta có thá t¿m ¤a ra khái niám sau ây:
Thông tin th¤ßng ¤ợc hiáu là nội dung chứa trong thông báo nhằm tác ộng vào nhÁn thức
cāa một số ối t¤ợng nào ó
Thông báo ¤ợc thá hián bằng nhißu hình thức: vn bÁn, lßi nói, hình Ánh, cā chỉ...; và các
thông báo khác nhau có thá mang cùng một nội dung. Trong lĩnh vực tin hác, thông tin có
thá ¤ợc phát sinh, ¤ợc l¤u tră, ¤ợc biến ái trong nhăng vÁt mang tin; thông tin ¤ợc biến ái bái
các dă liáu và các dă liáu này có thá ¤ợc truyßn i, ¤ợc sao chép, ¤ợc xā lý hoặc bß phá hāy.
Ta có thể lấy một vài ví dụ sau ể minh hßa
Thông báo thá hián d¤ới d¿ng vn bÁn ví dÿ nh¤ nhißm virus= - Trong thông báo này, thành phần tin, còn sự kián lOMoAR cPSD| 37922327
Phan Thị Hà-Khoa CNTT1-Học viện CNBCVT
Hoặc ví dÿ d¿ng vn bÁn hoặc lßi nói. Dă liáu á ây là 41oC (nếu ¤ợc thông báo bằng lßi nói thì dă liáu chính
là tín hiáu) và thông tin thu ¤ợc thông qua dă liáu cho thÃy bánh nhân bß sốt cao...v.v b/
Phân loại thông tin
Dựa trên ặc iám liên tÿc hay gián o¿n vß thßi gian cāa các tín hiáu thá hián thông tin, ta có
thá chia thông tin làm hai lo¿i c¢ bÁn nh¤ sau : + Thông tin liên tÿc:
Là thông tin mà các tín hiáu thá hián lo¿i thông tin này th¤ßng là các ¿i l¤ợng ¤ợc tiếp nhÁn
liên tÿc trong mißn thßi gian và nó ¤ợc biáu dißn bằng hàm số có biến số thßi gian ộc lÁp, liên tÿc.
Ví dụ : Thông tin vß mức thuÿ trißu cāa n¤ớc bián hay thông tin vß các tia bức x¿ tÿ ánh sáng mặt trßi… + Thông tin rßi r¿c:
Là thông tin mà các tín hiáu thá hián lo¿i thông tin này th¤ßng là các ¿i l¤ợng ¤ợc tiếp nhÁn
có giá trß á tÿng thßi iám rßi r¿c và nó ¤ợc biáu dißn d¤ới dãy số.
Ví dụ : Thông tin các vÿ tai n¿n xÁy ra trên o¿n ¤ßng Nguyßn Trãi c/ Đ¢n
vị o thông tin
Các ¿i l¤ợng vÁt lý ßu có ¢n vß o chẳng h¿n nh¤ ¢n vß o khối l¤ợng (kg), o chißu dài (m)
và o thßi gian (giây)...v.v .Đá l¤ợng hoá một thông tin ta cũng cần ¤a ra một ¢n vß o thông tin.
Trong tin hác, ¢n vß o thông tin nhỏ nhÃt là Bit (viết tắt cāa Binary digit-số nhß phân) -
biáu dißn với 2 giá trß 0 và 1, viết tắt là b.
Nh¤ng ng¤ßi ta th¤ßng dùng ¢n vß lớn h¢n là byte. Byte là một nhóm 8 bit trong bÁng mã ASCII
Ngoài ra ng¤ßi ta còn dùng các bội số cāa byte nh¤ sau: Tên gái Ký hißu Giá trß Byte B 8 bit Word w 8,16, 32 hoặc 64 bit KiloByte KB 1024b=210b MegaByte MB 1024Kb=210Kb GigaByte GB 1024Mb=210Mb TeraByte TB 1024Gb=210Gb lOMoARcPSD| 37922327
Phan Thị Hà-Khoa CNTT1-Học viện CNBCVT
d/ Mã hoá thông tin rời rạc
Mã hóa thông tin là quá trình biến ái thông tin tÿ d¿ng biáu dißn thông th¤ßng sang một
d¿ng khác theo quy ¤ớc nhÃt ßnh. Quá trình biến ái ng¤ợc l¿i cāa mã hóa thông tin ¤ợc gái là phép giÁi mã.
Ví dụ : Ta có 1 tÁp quÁn lý hß s¢ sinh viên. Nếu ta quÁn lý bằng tên thì sẽ xÁy ra rÃt
nhißu tr¤ßng hợp tên bß trùng nhau. Nếu ta thêm các yếu tố khác kèm theo nh¤ ßa chỉ, ngày
sinh, quê quán...v.v thì viác quÁn lý trá nên rÃt r¤ßm rà, phức t¿p mà v¿n không lo¿i trÿ ¤ợc
khÁ nng trùng nhau. Nếu ta gán cho mãi một sinh viên 1 mã số ID khác nhau thì viác quÁn lý
hß s¢ sẽ trá nên thuÁn tián h¢n nhißu. Tÿ mã số ID, ta có thá tìm ra số liáu vß sinh viên t¤¢ng
ứng. Nh¤ vÁy, quá trình gán mã số ID cho mãi hß s¢ sinh viên ¤ợc gái là mã hóa; còn quá
trình dựa trên mã số ID á xác ßnh thông tin vß sinh viên gái là giÁi mã.
TÃt cÁ các thông tin á d¿ng vn bÁn (text), chă (character), số (number), ký hiáu (symbol),
ß háa (graphic), hình Ánh (image) hoặc âm thanh (sound) ... ßu ¤ợc biáu dißn bằng các tín
hiáu (signals). Các tín hiáu biáu dißn này có thá là liên tÿc hay rßi r¿c và nó ¤ợc ¤a vào xā lý
thông qua các há thống máy tính. Đối với há thống máy tính t¤¢ng tự (Analog Computer),
thông tin ¤ợc ¤a vào xā lý chā yếu là môt số các tín hiáu liên tÿc nh¤ tín hiáu ián, âm thanh...
Trong khi ó, hầu hết các dă liáu mà chúng ta có ¤ợc th¤ßng á d¿ng các tín hiáu rßi r¿c và nó
¤ợc xā lý trên các há thống máy tính số. Do ó, khi ¤a các tín hiáu này vào máy tính, chúng ¤ợc
mã hóa theo các tín hiáu số (digital signal) nhằm giúp máy tính có thá hiáu ¤ợc thông tin ¤a
vào. Ðây là c¢ sá thực tißn cāa nguyên lý mã hoá thông tin rßi r¿c. Nguyên lý này tÁp trung các iám chā yếu sau :
Tín hiáu liên tÿc có thá xem nh¤ một chuãi xÃp xỉ các tín hiáu rßi r¿c với chu kỳ lÃy m¿u
nhỏ á mức ộ chÃp nhÁn ¤ợc .
Tín hiáu rßi r¿c có thá ¤ợc ặc tr¤ng qua các bộ ký hiáu hău h¿n (chă cái, chă số, dÃu, ...)
gái là phép mã hóa (encode) . Mái phép mã hóa ßu có thá xây dựng trên bộ ký hiáu các chă
số, ặc biát chỉ cần bộ ký hiáu gßm 2 chă số là 0 và 1. Ng¤ợc với phép mã hoá gái là phép giÁi mã (decode). Chu kỳ lÃy m¿u T Các m¿u tín hiáu số Tín hißu så
Tín hiáu rßi r¿c là tín hiáu có trÿc thßi gian bß rßi r¿c hoá với chu kỳ lÃy m¿u là Ts = 1/Fs
, trong ó Fs là tần số lÃy m¿u. Ta có thá xét một số ví dÿ nh¤ tiếng nói con ng¤ßi thông th¤ßng
nằm trong dÁi âm tần tÿ 0,3 kHz ến 3,4 kHz; khi tiếng nói con ng¤ßi ¤ợc truyßn ¤a trên m¿ng
nó sẽ ¤ợc rßi r¿c hóa bằng tần số lÃy m¿u là 8 kHz nh¤ng ng¤ßi nghe v¿n không cÁm nhÁn lOMoARcPSD| 37922327
Phan Thị Hà-Khoa CNTT1-Học viện CNBCVT
¤ợc ißu này. Một ví dÿ khác vß thông tin rßi r¿c là hình trên phim khi ¤ợc chiếu lên màn Ánh
là các Ánh rßi r¿c xuÃt hián với tốc ộ 25 Ánh/giây. Mắt ng¤ßi không phân biát sự rßi r¿c này
nên có cÁm t¤áng hình Ánh là liên tÿc.
Mã hoá thông tin rßi r¿c là một khái niám rÃt cn bÁn và ứng dÿng nhißu trong kā thuÁt máy tính ián tā.
1.1.1.2 Xử lý thông tin a/ S¢ ồ tổng quát cÿa một quá
trình xử lý thông tin
Quá trình xā lý thông tin chính là sự biến ái nhăng dă liáu ầu vào á d¿ng rßi r¿c thành thông
tin ầu ra á d¿ng chuyên biát phÿc vÿ cho nhăng mÿc ích nhÃt ßnh. Mái quá trình xā lý thông
tin cho dù thực hián bằng máy tính hay bằng con ng¤ßi ßu phÁi tuân thā theo chu trình sau:
Dă liáu (data) ¤ợc nhÁp á ầu vào (input). Sau ó, máy tính hay con ng¤ßi sẽ thực hián nhăng
quá trình xā lý á xuÃt thông tin á ầu ra (output). Quá trình nhÁp dă liáu, xā lý và xuÃt thông
tin ßu có thá ¤ợc l¤u tră á phÿc vÿ cho các quá trình tiếp theo khác. NHÀP DĂ LIàU XĀ LÝ XUÂT DĂ LIàU (INPUT) (PROCESSING) (OUTPUT) L£U TRĂ (STORAGE)
Mô hình téng quát quá trình xā lý thông tin
b/ Xử lý thông tin bằng máy tính ián tử (MTĐT)
Máy tính ián tā là một há thống xā lý thông tin tự ộng dựa trên nguyên tắc chung cāa quá
trình xā lý thông tin. Mặc dù khÁ nng tính toán cāa máy tính v¤ợt xa so với khÁ nng tính toán
cāa con ng¤ßi và các ph¤¢ng tián khác; tuy nhiên, máy tính sẽ không tự nó ¤a ra quyết ßnh
khi nào phÁi làm gì mà nó chỉ có thá ho¿t ộng ¤ợc nhß sự chỉ d¿n cāa con ng¤ßi - tức là con
ng¤ßi phÁi cung cÃp ầy ā ngay tÿ ầu cho MTĐT các mánh lánh, chỉ thß á h¤ớng d¿n MTĐT theo yêu cầu ß ra.
Táng quát quá trình xā lý thông tin trên MTĐT có thá ¤ợc tóm tắt nh¤ sau:
+ Tr¤ớc hết ¤a ch¤¢ng trình cần thực hián (do con ng¤ßi lÁp sẵn) vào bộ nhớ cāa máy tính
+ Máy tính bắt ầu xā lý, dă liáu nhÁp tÿ môi tr¤ßng ngoài vào bộ nhớ (thông qua thiết bß nhÁp).
+ Máy tính thực hián thao tác dă liáu và ghi kết quÁ trong bộ nhớ.
+ Фa kết quÁ tÿ bộ nhớ ra bên ngoài nhß các thiết bß xuÃt (máy in, màn hình)
Máy tính ián tā có một số ặc iám chính nh¤ sau:
+ Tốc ộ xā lý nhanh, ộ tin cÁy cao + KhÁ nng nhớ rÃt lớn lOMoARcPSD| 37922327
Phan Thị Hà-Khoa CNTT1-Học viện CNBCVT
+ Tham số vß tốc ộ th¤ßng ¤ợc tính bằng số phép tính thực hián trong một giây, còn khÁ
nng nhớ ự¢c tính theo dung l¤ợng bộ nhớ trong o bằng Kb,Mb hay Gb.
1.1.1.3 Tin học và các lĩnh vực nghiên cứu của tin học a/
Tin hßc là gì ?
Tin hác là một ngành khoa hác công nghá nghiên cứu các ph¤¢ng pháp xā lý thông tin một
cách tự ộng dựa trên các ph¤¢ng tián kā thuÁt mà chā yếu hián t¿i là máy tính ián tā.
b/ Các lĩnh vực nghiên cāu cÿa tin hßc :
Tÿ các ßnh nghĩa trên thÃy tin hác gßm hai khía c¿nh nghiên cứu:
- Khía c¿nh khoa hác : nghiên cứu vß các ph¤¢ng pháp xā lý thông tin tự ộng.
- Khía c¿nh kā thuÁt : nhằm vào 2 kā thuÁt phát trián song song - ó là :
+ Kā thuÁt phần cứng (hardware engineering): nghiên cứu chế t¿o các thiết bß, linh
kián ián tā, công nghá vÁt liáu mới... hã trợ cho máy tính và m¿ng máy tính ẩy m¿nh
khÁ nng xā lý toán hác và truyßn thông thông tin.
+ Kā thuÁt phần mßm (software engineering): nghiên cứu phát trián các há ißu hành,
ngôn ngă lÁp trình cho các bài toán khoa hác kā thuÁt, mô phỏng, ißu khián tự ộng, tá
chức dă liáu và quÁn lý há thống thông tin.
c/ Āng dụng cÿa tin hßc
Tin hác hián ang ¤ợc ứng dÿng rộng rãi trong tÃt cÁ các ngành nghß khác nhau cāa xã hội
tÿ khoa hác kā thuÁt, y hác, kinh tế, công nghá sÁn xuÃt ến khoa hác xã hội, nghá thuÁt,... nh¤: - Tự ộng hóa vn phòng - QuÁn trß kinh doanh - Thống kê - An ninh, quốc phòng
- Công nghá thiết kế , Giáo dÿc - Y hác , Công nghá in
- Nông nghiáp . Nghá thuÁt, giÁi trí, v.v....
1.1.2 Biểu dißn thông tin trong máy tính
1.1.2.1 Hệ ếm và logic mệnh ề
a/ Há ¿m
Há ếm là tÁp hợp các ký hiáu và qui tắc sā dÿng tÁp ký hiáu ó á biáu dißn và xác ßnh các
giá trß các số. Mãi há ếm có một số ký số (digits) hău h¿n và táng số ký số cāa mãi há ếm ¤ợc
gái là c¢ số (base hay radix), ký hiáu là b. lOMoARcPSD| 37922327
Phan Thị Hà-Khoa CNTT1-Học viện CNBCVT
Các há ếm phá biến hián nay hay dùng là há ếm La mã và há ếm thÁp phân, há ếm nhß
phân, há ếm bát phân, há ếm thÁp lÿc phân.Nh¤ng trong lĩnh vực kā thuÁt hián nay phá biến 4 há ếm nh¤ sau : Hß Ám C¢ så
Ký så và trß tuyßt åi Há nhß phân 2 0, 1 Há bát phân 8 0, 1, 2, 3, 4, 5, 6, 7 Há thÁp 10 0, 1, 2, 3, 4, 5, 6, 7, 8, 9 phân 16
0, 1, 2, 3, 4, 5, 6, 7, 8, 9, A, B, C, D, E, F Há thÁp lÿc phân
*/ Há ¿m thÁp phân (decimal system)
Há ếm thÁp phân hay há ếm c¢ số 10 là một trong nhăng phát minh cāa ng¤ßi À rÁp cá,
bao gßm 10 ký số theo ký hiáu sau: 0, 1, 2, 3, 4, 5, 6, 7, 8, 9
Qui tắc tính giá trß cāa há ếm này là mãi ¢n vß á một hàng bÃt kỳ có giá trß bằng 10 ¢n vß
cāa hàng kế cÁn bên phÁi. à ây b = 10. BÃt kỳ số nguyên d¤¢ng trong há thÁp phân ¤ợc thá
hián nh¤ là một táng các chuãi các ký số thÁp phân nhân với 10 lũy thÿa, trong ó số mũ lũy
thÿa ¤ợc tng thêm 1 ¢n vß ká tÿ số mũ lũy thÿa phía bên phÁi nó. Số mũ lũy thÿa cāa hàng
¢n vß trong há thÁp phân là 0. Ví dÿ:
Số 5246 có thá ¤ợc thá hián nh¤ sau:
5246 = 5 x 103 + 2 x 102 + 4 x 101 + 6 x 100
= 5 x 1000 + 2 x 100 + 4 x 10 + 6 x 1 Thá
hián nh¤ trên gái là ký hiáu má rộng cāa số nguyên.
Vì 5246 = 5000 + 200 + 40 + 6
Nh¤ vÁy, trong số 5246: ký số 6 trong số nguyên ¿i dián cho giá trß 6 ¢n vß (1s), ký số 4
¿i dián cho giá trß 4 chÿc (10s), ký số 2 ¿i dián cho giá trß 2 trm (100s) và ký số 5 ¿i dián cho
giá trß 5 ngàn (1000s). Nghĩa là, số lũy thÿa cāa 10 tng dần 1 ¢n vß tÿ trái sang phÁi t¤¢ng
ứng với vß trí ký hiáu số, 100 = 1 101 = 10 102 = 100 103 = 1000 104 = 10000 ...
Mãi ký số á thứ tự khác nhau trong số sẽ có giá trß khác nhau, ta gái là giá trß vß trí (place value).
Phần phân số trong há thÁp phân sau dÃu chÃm phân cách (theo qui ¤ớc cāa Mā) thá hián
trong ký hiáu má rộng bái 10 lũy thÿa âm tính tÿ phÁi sang trái ká tÿ dÃu chÃm phân cách Ví dÿ:
254.68 = 2x102 + 5x101 + 4x100 + 6x10-1 + 8x10-2 lOMoARcPSD| 37922327
Phan Thị Hà-Khoa CNTT1-Học viện CNBCVT
Táng quát, há ếm c¢ số b (b≥2, b là số nguyên d¤¢ng) mang tính chÃt sau :
· Có b ký số á thá hián giá trß số. Ký số nhỏ nhÃt là 0 và lớn nhÃt là b-1.
· Giá trß vß trí thứ n trong một số cāa há ếm bằng c¢ số b lũy thÿa n : bn
Số N(b) trong há ếm c¢ số (b) thá hián : N(b) = anan-1an-2…a1a0a-1a-2…a-m trong ó,
số N(b) có n+1 ký số chẵn á phần nguyên và m ký số lẻ, sẽ có giá trß là :
N(b) = an.bn + an-1.bn-1 + an-2.bn-2 + …+a1b1 + a0.b0 + a-1.b-1 + a-2.b-2 +…+ a-m.b-m Hay n
N(b) = a bi .. i i m
*/ Há ¿m nhị phân (binary number system)
Với b = 2, chúng ta có há ếm nhß phân. Ðây là há ếm ¢n giÁn nhÃt với 2 chă số là 0 và 1.
Mãi chă số nhß phân gái là BIT (viết tắt tÿ chă BInary digiT). Há nhß phân t¤¢ng ứng với 2
tr¿ng thái cāa các linh kián ián tā trong máy tính - cÿ thá: óng (có ián) ký hiáu là 1 và tắt (không
ián) ký hiáu là 0. Vì há nhß phân chỉ có 2 trß số là 0 và 1, nên khi muốn dißn tÁ một số lớn
h¢n, hoặc các ký tự phức t¿p h¢n thì cần kết hợp nhißu bit với nhau.
Ta có thá chuyán ái há nhß phân theo há thÁp phân quen thuộc.
Ví dÿ 3.6: Số 11101.11(2) sẽ t¤¢ng ¤¢ng với giá trß thÁp phân là : vß trí dÃu chÃm cách Số nhß phân: 1 1 1 0 1 1 1 Số vß trí: 4 3 2 1 0 -1 -2 Trß vß trí: 24 23 22 21 20 2-1 2-2 Há 10 là: 16 8 4 2 1 0.5 0.25 nh¤ vÁy:
11101.11(2) = 1x16 + 1x8 + 1x4 + 0x2 + 1x1 + 1x0.5 + 1x0.25 = 29.75 (10) t¤¢ng tự số
10101 (há 2) sang há thÁp phân sẽ là:
10101(2) = 1x24 + 0x23 + 1x22 + 0x21 + 1x20 = 8 + 0 + 4 + 0 + 1 = 13(10)
*/ Há ¿m La mã
Há ếm La mã ¤ợc xem nh¤ là há ếm có tính há thống ầu tiên cāa con ng¤ßi. Há ếm La mã
sā dÿng các ký hiáu ứng với các giá trß nh¤ sau: lOMoARcPSD| 37922327
Phan Thị Hà-Khoa CNTT1-Học viện CNBCVT
I = 1 V = 5 X = 10 L = 50 C = 100 D = 500 M = 1000 Ký số
La mã có một số qui tắc sau: -
Số lần n liên tiếp kế nhau cāa mãi ký hiáu thá hián giá trß ký hiáu tng lên n lần.
Số lần n chỉ là 1 hoặc 2 hoặc 3. Riêng ký hiáu M ¤ợc phép xuÃt hián 4 lần liên tiếp. Ví dÿ:
III = 3 x 1 = 3; XX = 2 x 10 = 20; MMMM = 4000, ... -
Hai ký hiáu ứng c¿nh nhau, nếu ký hiáu nhỏ h¢n ứng tr¤ớc thì giá trß cāa chúng
sẽ là hiáu số cāa giá trß ký hiáu lớn trÿ giá trß ký hiáu nhỏ h¢n. Ví dÿ:
IV = 5 -1 = 4; IX = 10 - 1 = 9; CD = 500 - 100 = 400; CM = 1000 - 100 = 900 -
Hai ký hiáu ứng c¿nh nhau, nếu ký hiáu nhỏ ứng sau thì giá trß cāa chúng sẽ là
táng số cāa 2 giá trß ký hiáu. Ví dÿ:
XI = 10 + 1 = 11; DCC = 500 + 100 + 100 = 700
Giá trß 3986 ¤ợc thá hián là: MMMCMLXXXVI -
Ðá biáu thß nhăng số lớn h¢n 4999 (MMMMCMXCIX), chă số La mã giÁi
quyết bằng cách dùng nhăng v¿ch ngang ặt trên ầu ký tự. Một v¿ch ngang t¤¢ng ¤¢ng với
viác nhân giá trß cāa ký tự ó lên 1000 lần. Ví dÿ M = 1000x1000 = 106. Nh¤ vÁy, trên
nguyên tắc chă số La mã có thá biáu thß các giá trß rÃt lớn. Tuy nhiên trong thực tế ng¤ßi
ta th¤ßng sā dÿng 1 ến 2 v¿ch ngang là nhißu.
Há ếm La mã hián nay ít ¤ợc sā dÿng trong tính toán hián ¿i.
*/ Há ¿m bát phân (octal number system)
Nếu dùng 1 tÁp hợp 3 bit thì có thá biáu dißn 8 trß số khác nhau : 000, 001, 010, 011, 100,
101, 110, 111. Các trß số này t¤¢ng ¤¢ng với 8 trß số trong há thÁp phân là 0, 1, 2, 3, 4, 5, 6,
7. TÁp hợp các chă số này gái là há bát phân, là há ếm với b = 8 = 23. Trong há bát phân, trß
số vß trí là lũy thÿa cāa 8. Ví dÿ:
235 . 64(B) = 2x82 + 3x81 + 5x80 + 6x8-1 + 4x8-2 = 157.8125(10)
*/ Há ¿m thÁp lục phân (hexa-decimal number system)
Há ếm thÁp lÿc phân là há c¢ số b = 16 = 24 t¤¢ng ¤¢ng với tÁp hợp 4 chă số nhß phân (4
bit). Khi thá hián á d¿ng hexa-decimal, ta có 16 ký tự gßm 10 chă số tÿ 0 ến 9, và 6 chă in A,
B, C, D, E, F á biáu dißn các giá trß số t¤¢ng ứng là 10, 11, 12, 13, 14, 15. Với há thÁp lÿc
phân, trß vß trí là lũy thÿa cāa 16. Ví dÿ:
34F5C(16) = 3X164 + 4x163 + 15x162 + 5x161 + 12x160 = 216294(10) Ghi chú:
Một số ch¤¢ng trình qui ßnh viết số hexa phÁi có chă H á cuối chă số. Ví dÿ: Số 15 viết là FH.
BÁng qui ái t¤¢ng ¤¢ng 16 chă số ầu tiên cāa 4 há ếm lOMoAR cPSD| 37922327 Hß Hß 2 Hß 8 Hß 10 16
Phan Thị Hà-Khoa CNTT1-Học viện CNBCVT Ta l¤u
ý rằng các há c¢ số ta xét ßu lÃy 1 làm ¢n
vß, vì vÁy một số bÃt kỳ dù biáu dißn á há
c¢ số nào thì phần thÁp phân và phần
nguyên ßu không ái. Nghĩa là dù biến ái
sang há c¢ số nào i năa thì phần thÁp
phân cũng chỉ chuyán sang phần thÁp 0000 0 1
phân, phần nguyên sang phần 0001 nguyên. 0010 2 3 GiÁ 0011
sā ta có một số có phần thÁp phân 4 5 b=k+d 0100
trong há c¢ số L trong ó k là phần nguyên 0101 6 7
tr¤ớc dÃu phẩy và d là phần thÁp phân 0 1 0110
sau dÃu phẩy. Ta sẽ chuyán ái riêng 8 9 tÿng 2 3 0111 phần theo quy tắc sau: 1000 00 01 A 4 5
- Với phần nguyên: LÃy k chia liên 1001 02 03 B
tiếp cho H cho ến khi th¤¢ng số 6 7 1010 04 05 C
bằng 0, phép chia thứ i có số d¤ bi 1011 06 07 8 9
là chă số trong há c¢ số H, i = 1100 10 11 D
0,1,2,...,n , khi ó bn bn-1 bn-2... b0 10 11 1101 12 13 E
là phần nguyên cāa số b trong há c¢ 12 13 1110 14 15 số H. 14 15 1111 16 17 F - Với phần thÁp phân: LÃy phần thÁp phân cāa d nhân liên tiếp với H cho ến khi kết quÁ phép nhân không còn phần thÁp phân hoặc ¿t ¤ợc ộ chính xác ta cần, mãi ển ổ
ố ữ
á ¿ lần nhân ta lÃy á ộ ố ÿ á c¢ số á c¢ số phần nguyên cāa kết quÁ là cj là chă số trong há c¢ số H, j =
1,2,...,m. Khi ó số . c1 c2 ...cm chính là phần thÁp phân cāa số nhß phân cần tìm.(Chúng ta l¤u ý lOMoARcPSD| 37922327
Phan Thị Hà-Khoa CNTT1-Học viện CNBCVT
là sau mãi lần nhân ta chỉ lÃy phần thÁp phân á nhân tiếp với H, phần nguyên á ây
¤ợc hiáu là phần bên trái dÃu chÃm thÁp phân).
Ví dÿ: Cho số thÁp phân 14.125 tìm số nhß phân t¤¢ng ứng. Ta có k = 14, d = 0.125 Chuyán ái phần nguyên 14 Chia 2 D¤ 14 0 7 3 1 1 1 0
Chuyán ái phần thÁp phân 0.125 ầ Nhân 2 0.125 0.25 0.5 1 Nhân ....... 12 0................... 12 án á i 0.2 sang h á ß 0................... 12 ầ 0................... 12 VÁy à ằ ố
á c¢ số 2 là m ộ ố Á ¿ ầ 14.125=1110.001 1 1 . . . 0.210=0.(0011)2
Chuyển từ há bất kỳ sang há thÁp phân
GiÁ sā ta có biáu dißn số B theo c¢ số H là
B= bn bn-1 bn-2 ...b1 b0 .c1 c2 cn...cm lOMoARcPSD| 37922327
Phan Thị Hà-Khoa CNTT1-Học viện CNBCVT
Vì ta ã quen tính toán với há c¢ số 10 nên ta có thá chuyán ái trực tiếp theo công thức sau:
B= bnxHn + bn-1xHn-1 + bn-2xHn-2 +...b1xH + b0+ c1xH-1 + c2xH-2 +...+ cmxH-m
(Ta hoàn toàn có thá áp dÿng quy tắc ã nêu: chia lÃy phần d¤, nhân lÃy phần nguyên... á tìm
biáu dißn cāa B trong há thÁp phân)
Chuyển từ há nhị phân sang bát phân (hoặc thÁp lục phân)
Qui tắc: Nhóm các Bit thành tÿng nhóm 3 Bit (4 Bit - cho há thÁp lÿc phân) bắt ầu tÿ Bit ngoài
cùng bên phÁi, tính giá trß số hác hác quy luÁt giá trß vß trí riêng cho tÿng nhóm 3 (hay 4)
Bit, viết các giá trß này lißn nhau.
Ví dÿ cho số nhß phân 11110101 chuyán số này sang d¿ng bát phân và thÁp lÿc phân.
(11 110 101) -> 365 trong há bát phân là số 365
(1111 0101) -> 15 5 -> F5 trong há thÁp lÿc phân là số F5
Khi cần chuyán ng¤ợc l¿i chúng ta làm theo các b¤ớc t¤¢ng tự
Chuyển ổi há thống số dựa trên há 8 và há 16
Trong phần bài giÁng, chúng ta ã làm quen với cách chuyán ái giăa há 2 và há 10. Tuy
nhiên, á nhăng trß số lớn và dài thì làm cách trên trá nên rÃt phức t¿p và dß nhầm l¿n, ví dÿ : 101110110101(2) = ?(10) 2997(10) = ?(12)
Trong ví dÿ thứ nhÃt ta phÁi liên tiếp làm nhißu phép nhân và á ví dÿ thứ hai, ta l¿i thực
hián nhißu phép chia liên tiếp.
Ng¤ßi ta ¤a ra há thống số trung gian là há 8 và há 16 á giÁi quyết: Há 16 Há 2 Há 10 Há 8
á 8 và há 16 ể chuyển ổi há 2 sang há 10
Chia số nhß phân làm thành tÿng bộ 3 số và 4 số liên tiếp theo thứ tự t¤¢ng ứng với cách
thông qua há 8 và há 16 và dùng ph¤¢ng pháp nhân với các thÿa số bên trên tương ứng rồi
cộng lại . Ví dÿ: 101110110101 THÔNG QUA Hà 8:
Chia số nhß phân tÿng bộ 3 số: lOMoARcPSD| 37922327
Phan Thị Hà-Khoa CNTT1-Học viện CNBCVT 83 82 81 80
22 21 20 22 21 20 22 21 20 22 21 20 1 0 1 1 1 0 1 1 0 1 0 1 5 6 6 5 Chú ý: 5 = 1x22 + 0x21 + 1x20 và 6 = 1x22 + 1x21 + 0x20 Kết quÁ:
101110110101(2) = 5x83 + 6x82 + 6x81 + 5x80 = 5x512 + 6x64 + 6x8 + 5x1 = 2997(10) THÔNG
QUA Hà 16: Chia số nhß phân thành bộ 4 số 16 16 16 2 1 0 23 22 21 20 23 22 21 20 23 22 21 20 1 0 1 1 1 0 1 1 0 1 0 1 11 11 5
Chú ý: 11 = 1x23 + 0x22 + 1x21 + 1x20 và 5 = 0x23 + 1x22 + 0x21 + 1x20 Kết quÁ: lOMoARcPSD| 37922327
Phan Thị Hà-Khoa CNTT1-Học viện CNBCVT
Thông qua há 8 và há 16 ể chuyển há 10 sang há 2
Cách làm t¤¢ng tự nh¤ trên, nh¤ng thay phép nhân thành phép chia và lÃy các số d¤ cāa
hia ng¤ợc tÿ d¤ới lên trên á chuyán ái. Ví dÿ: THÔNG QUA Hà 8: Số d¤ ( há 8) = 4 + 1 = 1x 2 T¤¢ng tự: ( há 8) = 4+2 = 1x 2 101110110101
= 11x162 + 11x161 + 5x160 = 11x256 + 11x16 +5x1 = 2997(10) 2997(10) = 101 110 110 101(2) THÔNG QUA Hà 16: Số d¤ Ta có : 2997 (10) = BB5(16)
B (há 16) = 11 = 8 + 2 +1 = 1x23 + 0x22 + 1x21 + 1x20 = 1011 (há 2)
5 (há 16) = 4 + 1 = 0x23 + 1x22 + 0x21 + 1x20 = 0101 (há 2)
Suy ra: 2997(10) = BB6(16) = 1011 1011 0101(2) Chuyển
há 8 sang há 16 và ng¤ợc lại:
Ta có thá dùng há 10 hoặc há 2 làm trung gian á chuyán ái há 8 sang há 16 và ng¤ợc l¿i.
Thông th¤ßng dùng há 2 á trung chuyán có thuÁn lợi h¢n.
Ví dÿ: 5665(8) = ?(16) Cách làm nh¤ sau: lOMoARcPSD| 37922327
Phan Thị Hà-Khoa CNTT1-Học viện CNBCVT 5 (há 8) = 4 + 1 + 0 = 2 1x = 101 (h 2) á 6 (há 8) = 4 + 2 + 2 = 1x 2 = 11 0 (há 2)
B¤ớc 2: Chia dãy số há 2 vừa có ¤ợc thành các bộ 4 số và chuyển các bộ ó sang há VÁy: 5665
Viác chuyán tÿ há 16 sang há 8 ta cũng tiến hành 2 b¤ớc nh¤ vÁy.
B¤ớc 1: Chuyển há 8 thành há 2: biểu thị từng trị số trong há 8 thành từng nhóm 3 số
và ghép các nhóm ó lại. VÁy 5665(8) 5665(8) Vì: 1011(2) 0101(2)
b/ Số hßc nhị phân
Trong số hác nhß phân chúng ta cũng có 4 phép toán c¢ bÁn nh¤ trong số hác thÁp phân
là cộng, trÿ, nhân và chia. Qui tắc cāa 2 phép tính c¢ bÁn cộng và nhân: X Y X + Y X * Y lOMoARcPSD| 37922327
Phan Thị Hà-Khoa CNTT1-Học viện CNBCVT 0 0 0 0 0 1 1 0 1 0 1 0 1 1 10 1
Ghi chú: Với phép cộng trong há nhß phân, 1 + 1 = 10, số 10 ( ác là một - không) chính là
số 2 t¤¢ng ¤¢ng trong há thÁp phân. Viết 10 có thá hiáu là viết 0 nhớ 1. Một cách táng quát,
khi cộng 2 hay nhißu chă số nếu giá trß táng lớn h¢n c¢ số b thì ta viết phần lẻ và nhớ phần
lớn hơn sang bên trái cạnh nó. Ví dÿ: Cộng 2 số 0101 + 1100 = ? ` 0101
t¤¢ng ¤¢ng số 5 trong há 10 + 1100
t¤¢ng ¤¢ng số 12 trong há 10 -------- 10001
t¤¢ng ¤¢ng số 17 trong há 10 Ví dÿ: Nhân 2 số 0110 x 1011 = ?
0110 (A) t¤¢ng ¤¢ng số 6 trong há 10 x 1011 (B)
t¤¢ng ¤¢ng số 11 trong há 10 -------- 0110
- nhân tÿng số cāa B với A 0110
á ¤ợc các tích cÿc bộ 0000
- cộng các tích cÿc bộ với nhau 0110 ------------ 1000010
t¤¢ng ¤¢ng số 66 trong há 10
Phép trÿ và phép chia là các phép toán ặc biát cāa phép cộng và phép nhân. Ví dÿ: Trÿ hai số 101
t¤¢ng ¤¢ng số 5 trong há 10 011
t ¤¢ng ¤¢ng số 3 trong há 10 010
t¤¢ng ¤¢ng số 2 trong há 10 lOMoARcPSD| 37922327
Phan Thị Hà-Khoa CNTT1-Học viện CNBCVT Ghi chú:
0 – 1 = -1 (viết 1 và m¤ợn 1 á hàng bên trái). Ví dÿ: Chia hai số
t¤¢ng ¤¢ng số 6 và trong há 10 t¤¢ng ¤¢ng số 3 trong há 10 -10
Qui tắc 1: Khi nhân một số nhß phân với 2n ta thêm n số 0 vào bên phÁi số nhß phân ó. Ví dÿ : 1011x23 = 1011000
Qui tắc 2: Khi chia một số nguyên nhß phân cho 2n ta ặt dÃu chÃm ngn á vß trí n chă số
bên trái ká tÿ số cuối cāa số nguyên ó. Ví dÿ : 100111110:23 = 100111.110
c/ Mánh Á logic
Mánh ß logic là mánh ß chỉ nhÁn một trong 2 giá trß : Ðúng (TRUE) hoặc Sai (FALSE),
t¤¢ng ¤¢ng với TRUE = 1 và FALSE = 0. Qui tắc: TRUE = NOT FALSE và FALSE = NOT TRUE x y x AND y x OR y TRUE TRUE TRUE TRUE TRUE FALSE FALSE TRUE FALSE TRUE FALSE TRUE FALSE FALSE FALSE FALSE lOMoARcPSD| 37922327
Phan Thị Hà-Khoa CNTT1-Học viện CNBCVT
Phép toán logic áp dÿng cho 2 giá trß TRUE và FALSE ứng với tá hợp AND (và) và OR (hoặc) nh¤ sau:
Số nguyên gßm số nguyên không dÃu và số nguyên có dÃu. *
Số nguyên không dấu là số không có bit dấu như 1 byte = 8 bit, có thể biểu
diễn 26 = 256 số nguyên d¤¢ng, cho giá trß tÿ 0 (0000 0000) ến 255 (1111 1111). *
Số nguyên có dấu thể hiện trong máy tính ở dạng nhị phân là số dùng 1 bit Ký hiáu: Ngußn Ct: công tắc Đ óng (on) ián : ngắt (off ) Đ Đ Đèn tắt = [ct1 Đèn tắt = [ct1 ể ễ ữ ệ
Dă liáu số trong máy tính gßm có số nguyên và số thực.
a/ Biểu dißn số nguyên
làm bít dÃu, ng¤ßi ta qui ¤ớc dùng bit á hàng ầu tiên bên trái làm bit dÃu (S): 0 là số
d¤¢ng và 1 cho số âm. Тn vß chißu dài á chứa thay ái tÿ 2 ến 4 bytes. Bit dÃu S 2 bytes = 16 bit 15 … … … 4 3 2 1 0 4 bytes = 32 bit 31
Ta thÃy, với chißu dài 16 bit : bit ầu là bit dÃu và 15 bit sau là bit số
Trß d¤¢ng lớn nhÃt cāa dãy 2 bytes sẽ là: 01111111 11111111 = 215 - 1
Trß âm lớn nhÃt trong dãy 2 bytes là -215
Ðá thá hián số âm trong há nhß phân ta có 2 khái niám: -
Số bù 1: Khi Áo ng¤ợc tÃt cÁ các bit cāa dãy số nhß phân: 0 thành 1 và 1 thành 0,
dãy số Áo ó gái là số bù 1 cāa số nhß phân ó. Ví dÿ: N = 0101 = 5(!0) lOMoARcPSD| 37922327
Phan Thị Hà-Khoa CNTT1-Học viện CNBCVT Số bù 1 cāa N là: 1010 -
Số bù 2: Số bù 2 cāa số N là số Áo dÃu cāa nó (-N). Trong há nhß phân, số bù 2 ¤ợc
xác ßnh bằng cách lÃy số bù 1 cāa N rßi cộng thêm 1. Ví dÿ: N = 0101 = 5(10) Số bù 1 cāa N là: 1010 + 0001 --------
Số bù 2 cāa N là: 1011 = -5(10) = - N
b/ Biểu dißn số thực
Ðối với các số thực (real number) là số có thá có cÁ phần lẻ hoặc phần thÁp phân. Trong
máy tính, ng¤ßi ta bißu dißn số thực với số dÃu chÃm tĩnh (fixed point number) và số dÃu
chÃm ộng (floating point number).
*/ Số dÃu chÃm tĩnh: thực chÃt là số nguyên (integers) là nhăng số không có chÃm thÁp phân
*/ Số dÃu chÃm ộng: là số có chă số phần lẻ không cố ßnh. Mãi số nh¤ vÁy có thá tră và
xā lý trong máy tính á d¿ng số mũ. Ví dÿ:
499,000,000 = 499 x 106 = 49.9 x107 = 0.499 x 109 = 0.499E + 09
0.000 123 = 123 x 10-6 = 1.23 x 10-4 = 0.123 x 10-3 = 0.123E – 03
Ghi chú: DÃu chÃm thá hián trong máy tính á phân biát phần lẻ, dÃu phẩy t¤ợng tr¤ng
cho phần ngàn, ¤ợc viết theo qui ¤ớc cāa Mā.
Táng quát, số dÃu chÃm ộng ¤ợc biáu dißn theo 3 phần :
- phần dÃu S (sign) : 0 cho + và 1 cho -
- phần ßnh trß m (mantissa)
- phần mũ e (exponent), có thá là số nguyên d¤¢ng (+) hoặc âm (-) với một số X bÃt kỳ, có thá viết :
X = m . b e = m E e
Trong ó, b là c¢ số qui ¤ớc, trß số mũ e có thá thay ái tùy theo số vß trí cần dßch chuyán
dÃu chÃm á có l¿i trß số ban ầu. Khi dßch chuyán dÃu chÃm sang ±n vß trí vß phía trái (+n)
hay phía phÁi (-n) thì số mũ e thay ái lên ±n ¢n vß t¤¢ng ứng
Ðá biáu dißn số có dÃu chÃm ộng, ng¤ßi ta dùng dãy 32 bit với há thống c¢ số 16. Trong
ó, 1 bit cho phần dÃu, 7 bit cho phần mũ á biáu dißn phần ặc trß C (characteristic) và 24 bit cho phần ßnh trß m. S C m dÃu Phần mũ Phần ßnh trß lOMoARcPSD| 37922327
Phan Thị Hà-Khoa CNTT1-Học viện CNBCVT 1 bit 7 bit 24 bit
Phần mũ có 7 bit = 27 = 128 ặc trß C, t¤¢ng ứng phần mũ e tÿ -64 ến +63 C = số mũ biáu dißn + 64 Phần mũ e Ðặc trß Ví dÿ:
= -110100011.1101 = -0.1101000111101 x 2
Số mũ cāa A là 9, số ặc trß C là:
Trong máy tính, số A sẽ ¤ợc tră theo vß trí nhớ 32 bit nh¤ sau : DÃu A ặc trß C (7bit) ßnh trß m (24 bit) DÃu A Đặc trß C (7 bit) ßnh trß m (24 bit)
&
c/ Biểu dißn ký tự
Ðá có thá bißu dißn các ký tự nh¤ chă cái in và th¤ßng, các chă số, các ký hiáu... trên máy
tính và các ph¤¢ng tián trao ái thông tin khác, ng¤ßi ta phÁi lÁp ra các bộ mã (code system)
qui ¤ớc khác nhau dựa vào viác chán tÁp hợp bao nhiêu bit á dißn tÁ 1 ký tự t¤¢ng ứng, ví dÿ các há mã phá biến :
- Hệ thập phân mã nhị phân BCD (Binary Coded Decima) dùng 6 bit.
- Hệ thập phân mã nhị phân mở rộng EBCDIC (Extended Binary Coded Decimal Interchange
Code) dùng 8 bit t¤¢ng ¤¢ng 1 byte á bißu dißn 1 ký tự.
- Hệ chuyển ổi thông tin theo mã chuẩn của Mỹ ASCII (American Standard Code for
Information Interchange) là há mã thông dÿng nhÃt hián nay trong kā thuÁt tin hác. Há mã
ASCII dùng nhóm 7 bit hoặc 8 bit á biáu dißn tối a 128 hoặc 256 ký tự khác nhau và mã hóa
theo ký tự liên tÿc theo c¢ số 16.
Há mã ASCII 7 bit, mã hoá 128 ký tự lián tÿc nh¤ sau: 0 : NUL (ký tự rãng) 1 - 31 : 31 ký tự ißu khián 32 - 47 :
các dÃu trống SP (space) ! # $ % & ( ) * + , - . / lOMoAR cPSD| 37922327
Phan Thị Hà-Khoa CNTT1-Học viện CNBCVT 48 - 57 : ký số tÿ 0 ến 9 58 - 64 : các dÃu : ; < = > ? @ 65 - 90 : các chă in hoa tÿ A ến Z 91 - 96 : các dÃu [ \ ] _ ` 97 - 122
: các chă th¤ßng tÿ a ến z 123 - 127 : các dÃu { | } ~ DEL (xóa)
Há mã ASCII 8 bit (ASCII má rộng) có thêm 128 ký tự khác ngoài các ký tự nêu trên gßm
các chă cái có dÃu, các hình vẽ, các ¤ßng kẻ khung ¢n và khung ôi và một số ký hiáu ặc biát (xem phÿ lÿc).
- Há chuyán ái thông tin theo bộ mã Unicode: Ngày nay máy tính ã toàn cầu hóa, mà hình
Ánh cÿ thá là m¿ng Internet, do vÁy bÁng mã ASCII ã bộc lộ khÁ nng mã hóa h¿n chế cāa nó.
Đá thống nhÃt bộ mã trên toàn thế giới, các nhà máy tính hàng ầu thế giới ã ß xuÃt bộ mã
16 bit mang tên Unicode. Vì dùng tới 16 bít á mã hóa ( mã hóa ¤ợc 216 kí tự ), vì vÁy nó ā
lớn á áp ứng cho viác mã hóa tÃt cÁ các ngôn ngă trên toàn thế giới. Đặc iám chính cāa
Unicode là nó không chứa các kí tự ißu khián mà dành tÃt cÁ á mã hóa kí tự ; BÁng sau ây
cho chúng ta biết s¢ bộ cách phân bố mã chuẩn trong Unicode: Mã thÁp phân Kí tự 0 ến 8191
Chă cái Anh, Latin1, Châu Âu, Latin má rộng, chă cái
phiên âm, Hy l¿p, Nga, Armerical, Do thái, À rÁp,
Ethiopi, Dvanagari, bengali, Gurmukhi, Gujarati,Orya, 8192-12287
Tamil. Telugu, Kanada, Malaixia, Thái, Lào, Miến ián, 12288-16383 16384-
Khme, Tây t¿ng, Mông cá, Georgi 59391 Kí hiáu
Chă t¤ợng hình, chă cái hán, chă NhÁt, Hàn
Chă t¤ợng hình Hán, NhÁt, Hàn Dành cho ng¤ßi sā dÿng lOMoARcPSD| 37922327 Phan Thị Hà-Khoa CNTT1-
Edited with the trial version of Foxit Advanced PDF Editor
Học viện CNBCVTwo remove this notice, visitww.foxitsoftware.com/shoppinT : g Vùng t¤¢ng thích 59392-65024 65025-
Cho các mÿc ích trong t¤¢ng lai 65036
8192 giá trß ầu dành cho chă cái chuẩn;
4096 giá trß tiếp theo dành cho kí tự toán hác, kā thuÁt,… …
Unicode qui ßnh các chă cái có âm tiết trong tiếng Viát là các kí tự tố hợp . Ví dÿ chă
<â= là tá hợp cāa hai chă >a? và > ?; mãi kí tự tá hợp bao gßm nguyên âm c¢ sá ¤ợc nối tiếp
bái kí tự dÃu thanh. Nguyên âm c¢ sá và dÃu thanh ¤ợc ặt vào cùng vß trí khi hián thß. Nếu
chă cái ¤ợc tá hợp tÿ hai hay nhißu kí tự âm tiết ( ví dÿ >â?) thứ tự các dÃu không quan tráng
nếu không có luÁt chính tÁ cÿ thá.
Các kí tự tá hợp tÿ tr¤ớc nh¤ chă > ? chỉ dùng một mã duy nhÃt á mô tÁ.
Đá biáu dißn tiếng Viát ta cần : - 33 chă cái hoa - 33 chă cái th¤ßng
- 5 dÃu thanh : huyßn(`), ngã (~), hỏi ( ?), nặng (.), sắc( )
1.2 CÂU TRÚC TèNG QUÁT CĂA HÞ THäNG MÁY TÍNH
1.2.1 Nguyên lý thi¿t k¿ c¢ bản
1.2.1.1 Nguyên lý Turing
Alan Mathison Turing (1912 - 1954) là một nhà toán hác ng¤ßi Anh ã ¤a ra một thiết bß
tính ¢n giÁn gái là máy Turing. Vß lý thuyết, mái quá trình tính toán nếu thực hián ¤ợc thì ßu
có thá mô phỏng l¿i trên máy Turning. Máy Turning gßm có (xem hình vẽ 2.1):
- Một bộ ißu khián tr¿ng thái hău h¿n (finite control), trong ó có các tr¿ng thái ặc biát nh¤ tr¿ng
thái khái ầu và tr¿ng thái kết thúc.
- Một bng ghi (tape) chứa tín hiáu trong các ô.
- Một ầu ác (head) và ghi có thá di chuyán theo 2 chißu trái hoặc phÁi một ¢n vß. Bng ghi K Y H I E U TAPE 23
Downloaded by Rot Ca (rotca780@gmail.com) lOMoARcPSD| 37922327
Phan Thị Hà-Khoa CNTT1-Học viện CNBCVT Đầu ác/ghi READ/WRITE
HEAD (moves in both directions) Bộ ißu khián hău h¿n FINITE CONTROL
Hình 2.1 S¢ ß máy Turing
Ðầu ác/ghi mang chức nng thông tin nối giăa Bộ ißu khián hău h¿n và bng ghi. Ðầu bằng
cách ác dÃu hiáu tÿ bng và cũng dùng nó á thay ái dÃu hiáu trên bng. Bộ kiám soát vÁn hành
theo tÿng b¤ớc riêng biát; mãi b¤ớc nó thực hián 2 chức nng tùy thuộc vào tr¿ng thái hián t¿i
cāa nó và tín hiáu hián t¿i cāa bng:
1. Ðặt bộ ißu khián á tr¿ng thái ban ầu q1, bng trắng và ầu ác/ghi chỉ vào ô khái ầu. 2. Nếu:
(a) tr¿ng thái hián t¿i q trùng với tr¿ng thái kết thúc qo thì máy sẽ dÿng.
(b) ng¤ợc l¿i, tr¿ng thái q sẽ chuyán qua q, tín hiáu trên bng s thành s và ầu ác dßch chuyán
sang phÁi hoặc trái một ¢n vß. Máy hoàn thành xong một b¤ớc tính toán và sẵn sàng cho b¤ớc tiếp theo.
1.2.1.2 Nguyên lý Von Neumann
Nm 1946, nhà toán hác Mā John Von Neumann (1903 - 1957) ã ß ra một nguyên lý máy
tính ho¿t ộng theo một ch¤¢ng trình ¤ợc l¤u tră và truy nhÁp theo ßa chỉ. Nguyên lý này ¤ợc
trình bày á một bài báo nái tiếng nhan ß: ThÁo luÁn s¢ bộ vß thiết kế logic của máy tính iện
tử . Nội dung nguyên lý Von Neumann gßm :
- Máy tính có thể hoạt ộng theo một chương trình ã ược lưu trữ.
Theo Von Neumann, chúng ta có thá tÁp hợp các lánh cho máy thi hành theo một ch¤¢ng
trình ¤ợc thiết kế và coi ó nh¤ một tÁp dă liáu. Dă liáu này ¤ợc cài vào trong máy và ¤ợc
truyßn bằng xung ián. Ðây là một cuộc cách m¿ng mới cho máy tính nhằm tng tốc ộ tính toán
vào thßi ó vì tr¤ớc kia máy chỉ có thá nhÁn ¤ợc các lánh tÿ bng giÃy hoặc bìa ÿc lã và n¿p
vào bằng tay. Nếu gặp bài toán lặp l¿i nhißu lần thì cũng tiếp tÿc bằng cách n¿p l¿i một cách
thā công nh¤ vÁy gây h¿n chế trong tính toán sā dÿng.
- Bộ nhớ ược ịa chỉ hóa
Mãi dă liáu ßu có một ßa chỉ cāa vùng nhớ chứa số liáu ó. Nh¤ vÁy á truy nhÁp dă liáu ta chỉ
cần xác ßnh ßa chỉ cāa nó trên bộ nhớ.
- Bộ ếm của chương trình
Nếu mãi câu lánh phÁi dùng một vùng nhớ á chứa ßa chỉ cāa câu lánh tiếp theo thì không
gian bộ nhớ sẽ bß thu hẹp. Ðá khắc phÿc h¿n chế này, máy ¤ợc gắn một thanh ghi á chỉ ra vß
trí cāa lánh tiếp theo cần ¤ợc thực hián và nội dung cāa nó tự ộng ¤ợc tng lên mãi lần lánh ¤ợc
truy cÁp. Muốn ái thứ tự lánh ta chỉ cần thay ái nội dung thanh ghi bằng một ßa chỉ cāa lánh
cần ¤ợc thực hián tiếp. 24
Downloaded by Rot Ca (rotca780@gmail.com) lOMoARcPSD| 37922327
Phan Thị Hà-Khoa CNTT1-Học viện CNBCVT
1.2.2 Quá trình xử lý thông tin
Máy tính là công cā xā lý thông tin
Máy tính là công cÿ xā lý thông tin. Vß c¢ bÁn, quá trình xā lý thông tin trên máy tính – cũng
nh¤ quá trình xā lý thông tin cāa con ng¤ßi - có 4 giai o¿n chính :
- Nhận thông tin (Receive input): thu nhÁn thông tin tÿ thế giới bên ngoài vào máy tính.
Thực chÃt ây là quá trình chuyán ái các thông tin á thế giới thực sang d¿ng biáu dißn
thông tin trong máy tính thông qua các thiết bß ầu vào.
- Xử lý thông tin (process information): biến ái, phân tích, táng hợp, tra cứu... nhăng
thông tin ban ầu á có ¤ợc nhăng thông tin mong muốn.
- Xuất thông tin (produce output) : ¤a các thông tin kết quÁ ( ã qua xā lý) ra trá l¿i thế
giới bên ngoài. Ðây là quá trình ng¤ợc l¿i với quá trình ban ầu, máy tính sẽ chuyán ái
các thông tin trong máy tính sang d¿ng thông tin á thế giới thực thông qua các thiết bß ầu ra.
- Lưu trữ thông tin (store information): ghi nhớ l¿i các thông tin ã ¤ợc ghi nhÁn á có
thá em ra sā dÿng trong nhăng lần xā lý vß sau.
Ðá áp ứng 4 thao tác ó thì một máy tính thông th¤ßng cũng gßm bốn thành phần hợp thành, mãi
thành phần có một chức nng riêng:
- Thiết bị nhập (input device) : thực hián thao tác ¤a dă liáu tÿ thế giới bên ngoài vào,
th¤ßng là bàn phím và con chuột, nh¤ng cũng có thá là các lo¿i thiết bß khác mà ta sẽ
nói rõ h¢n á nhăng phần sau.
- Thiết vị xử lý : hay ¢n vß xā lý trung tâm - CPU thực hián thao tác xā lý, tính toán các
kết quÁ, ißu hành ho¿t ộng tính toán cāa máy vi tính, có thá xem CPU nh¤ một bộ não cāa con ng¤ßi.
- Thiết bị xuất (Output) thực hián thao tác gái thông tin ra ngoài máy vi tính, hầu hết là
dùng màn hình máy tính là thiết bß xuÃt chuẩn, có thá thêm một số khác nh¤ máy in, hoa… 25
Downloaded by Rot Ca (rotca780@gmail.com) lOMoAR cPSD| 37922327
Phan Thị Hà-Khoa CNTT1-Học viện CNBCVT
- Thiết bị lưu trữ (storage devices) ¤ợc dùng á cÃt giă thông tin. L¤u tră s¢ cÃp (primary
momery) là bộ nhớ trong cāa máy tính dùng á l¤u các tÁp lánh cā ch¤¢ng trình, các
thông tin dă liáu sẵn sàng trong t¤ thế chuẩn bß làm viác ty theo yêu cầu cāa CPU. L¤u
tră thứ cÃp (secondary storage) là cách l¤u tră ¢n thuần với mÿc ích cÃt giă d¤ liáu,
cách này dùng các thiết bß nh¤ ĩa cứng, ĩa mßm, CD,..
Quá trình xā lý thông tin trên máy tính
ấ ổ ÿa MTĐT
Mãi lo¿i máy tính có thá có các hình d¿ng hoặc cÃu trúc khác nhau tùy theo mÿc ích sā dÿng.
Tuy nhiên, một máy tính muốn ho¿t ộng ¤ợc phÁi hội tÿ ā các yếu tố sau :
- Phần cứng : bao gßm các thiết bß vÁt lý mà ng¤ßi dùng có thá quan sát ¤ợc. Đó là các
bÁng m¿ch ián tā ¤ợc lắp ghép l¿i với nhau và ¤ợc cung cÃp ián nng á ho¿t ộng. Phần
cứng máy tính th¤ßng ¤ợc chia ra làm ba phần c¢ bÁn - ó là : Thiết bß nhÁp, thiết bß xā lý và thiết bß xuÃt
- Phần mßm : bao gßm các ch¤¢ng trình ¤ợc viết bái các nhà lÁp trình nhằm mÿc ích
ißu khián các m¿ch ián tā cũng nh¤ thực hián các phép tính toán. Phần mßm th¤ßng 26
Downloaded by Rot Ca (rotca780@gmail.com) lOMoARcPSD| 37922327
Phan Thị Hà-Khoa CNTT1-Học viện CNBCVT
chia làm ba lo¿i c¢ bÁn - ó là : Há ißu hành, phần mßm ứng dÿng và phần mßm tián ích.
1.2.3.1 Phần cứng (Hardware)
Phần cứng có thá ¤ợc hiáu ¢n giÁn là tÃt cÁ các phần trong một há máy tính mà chúng ta
có thá thÃy hoặc sß ¤ợc. Phần cứng gßm các thiết bß máy có thá thực hián các chứa nng sau:
* NhÁp dă kián vào máy (input) * Xā lý dă kián (processing)
* XuÃt dă kián/ thông tin (output)
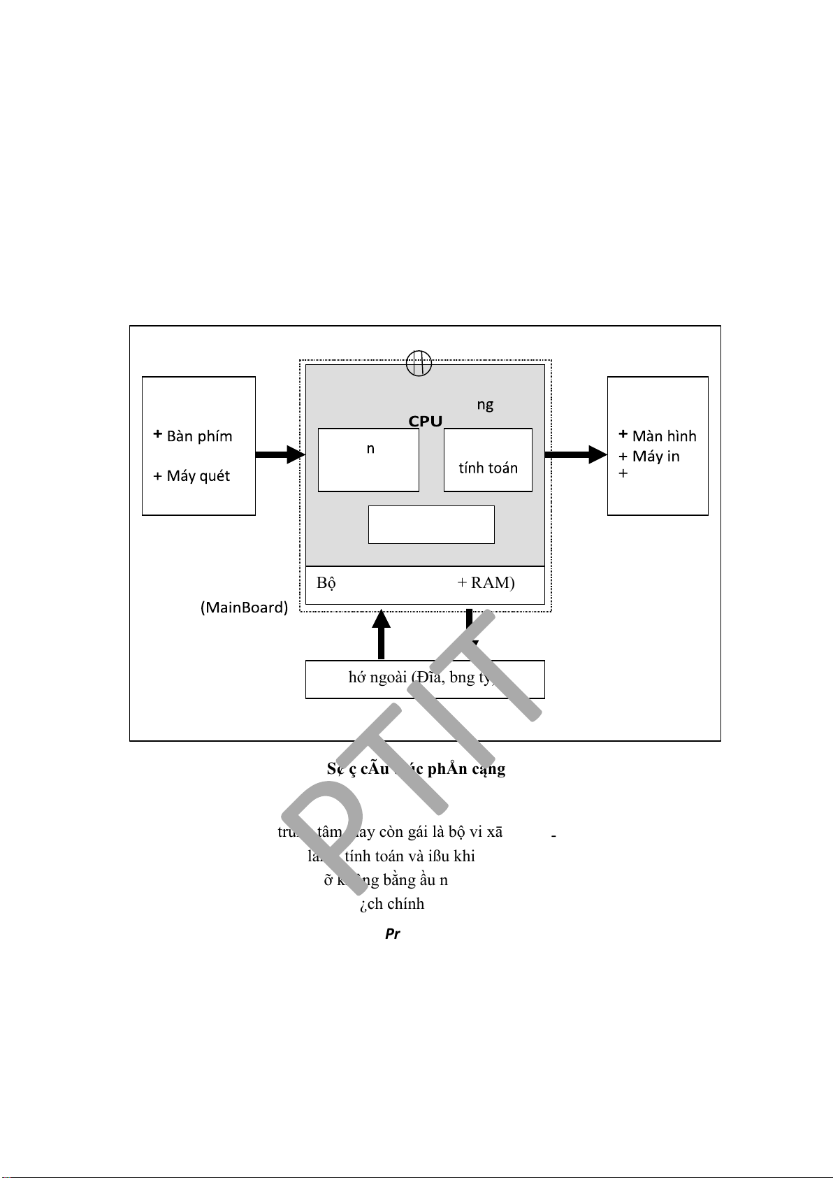
S¢ ç cÃu trúc phÅn cąng Đßng hß t¿o xung Các thiết bß Bộ xā lý trung ¤¢ Các thiết bß NhÁp XuÃt Đ¢ vß Đ¢n vß + C on chuột ißu khián + Máy vẽ Các thanh ghi
BÁng m¿ch chính Bộ nhớ trong (ROM + RAM)
Bộ nhớ ngoài (Đĩa, bng tÿ)
S¢ ç cÃu trúc phÅn cąng
CPU là ¢n vß xā lý trung tâm, hay còn gái là bộ vi xā lý
ây là bộ phÁn ầu não cāa
máy tính, nó thực hián các lánh, tính toán và ißu khián các phần cứng. CPU là một vi m¿ch
làm bằng Silicon và có kích cỡ không bằng ầu ngón tay cái. Фợc bác trong một lớp vỏ
màu en, CPU ¤ợc gắn vào bÁng m¿ch chính thông qua giao dián SOCKET hoặc SLOT1.
a/ Bộ xử lý trung tâm (CPU - Central Processing Unit)
Vi m¿ch tích hợp này chứa ựng các Transistor (các công tắc bán d¿n mini), các ián trá chỉnh
l¤u dòng ián và các tÿ ián l¤u dòng ián. Bộ CPU thực sự ầu tiên là Intel 4004 ¤ợc sÁn xuÃt
nm 1971. Hãng Intel ¤ợc thành lÁp nm 1968 là hãng chuyên sÁn xuÃt các chíp bộ nhớ. Sau
khi bộ vi xā lý 8088 cāa há ¤ợc chán sā dÿng cho máy IBM-PC thì doanh thu cāa hãng tng
cao. Nm 1993 hãng Intel ¤a ra chip Pentium với trên 3 triáu transistor và một ¤ßng truyßn dă
liáu 64 bit. Giống với 80486, Pentium cũng có bộ nhớ ám Cache dùng á chứa dă liáu cho ến 27
Downloaded by Rot Ca (rotca780@gmail.com) lOMoAR cPSD| 37922327
Phan Thị Hà-Khoa CNTT1-Học viện CNBCVT
khi dă liáu ¤ợc xā lý và một chíp ßng xā lý toán hác. Thêm vào ó, Pentium còn chứa 2 ¤ßng
d¿n lánh cho phép nó xā lý 2 lánh ch¤¢ng trình cùng một lúc với khoÁng thßi gian gần bằng
thßi gian xā lý một lánh. Một số ch¤¢ng trình - ặc biát là nhăng ch¤¢ng trình video và ß háa
khi ch¿y trên máy Pentium sẽ nhanh gÃp 2 lần so với ch¿y trên 80486. Tốc ộ xā lý cāa các
CPU th¤ßng ¤ợc o bằng Megahertz (= 1 triáu chu kỳ/giây). CPU có 3 bộ phÁn chính: khối
ißu khián, khối tính toán số hác và logic, và một số thanh ghi.
· Khối iều khiển (CU: Control Unit) là trung tâm iều hành máy tính. Nó có nhiám vÿ giÁi
mã các lánh, t¿o ra các tín hiáu ißu khián công viác cāa các bộ phÁn khác cāa máy tính theo
yêu cầu cāa ng¤ßi sā dÿng hoặc theo ch¤¢ng trình ã cài ặt.
· Khối tính toán số học và logic (ALU: Arithmetic-Logic Unit) bao gồm các thiết bị thực
hián các phép tính số hác (cộng, trÿ, nhân, chia, ...), các phép tính logic (AND, OR, NOT,
XOR) và các phép tính quan há (so sánh lớn h¢n, nhỏ h¢n, bằng nhau, ...)
· Các thanh ghi (registers) ¤ợc gắn chặt vào CPU bằng các m¿ch ián tā làm nhiám vÿ bộ
nhớ trung gian. Các thanh ghi mang các chức nng chuyên dÿng giúp tng tốc ộ trao ái thông tin trong máy tính.
Ngoài ra, CPU còn ¤ợc gắn với một ßng hß (clock) hay còn gái là bộ t¿o xung nhßp. Tần
số ßng hß càng cao thì tốc ộ xā lý thông tin càng nhanh. Th¤ßng thì ßng hß ¤ợc gắn t¤¢ng
xứng với cÃu hình máy và có các tần số dao ộng (cho các máy PC 386 DX ến Core i7 trá lên)
là 33 MHz, 66 MHz, …. 2.0 GHz, 3,73 GHz hoặc cao h¢n.
Các thông số quan trßng cÿa CPU:
1- Tốc ộ: tốc ộ cāa CPU ¤ợc tính bằng tần số xung ián trong lõi cāa CPU. Tần số xung
ián ¤ợc tính theo ¢n vß MHz . Đây cũng chính là tốc ộ tính toán cāa CPU dựa vào các phép
toán c¢ bÁn là +/-. Ví dÿ: CPU có tốc ộ 100 MHz là 100.000.000 Phép tính/giây.
2- Dung l¤ợng bộ nhớ ám (Cache Size): Quyết ßnh tốc ộ xā lý lánh nhanh hay chÁm.
Đây là một lo¿i RAM tốc ộ nhanh ¤ợc tích hợp sẵn trong CPU. Dung l¤ợng Cache th¤ßng có
là: 32 KB, 64 KB, 128 KB, 256 KB, 512 KB.
3- Tốc ộ BUS (Фßng truyßn dă liáu): tính bằng MHz. Đây là tốc ộ ¤ợc tính toán thích
hợp á CPU và Mainboard có thá giao tiếp ¤ợc với nhau. Tốc ộ BUS th¤ßng ¤ợc gái là CLOCK
và ßng thßi cũng là BUS giao tiếp giăa Mainboard và CPU. Các chỉ số CLOCK th¤ßng là: 50/
60/ 66/ 75/ 83/ 100/ 133/ 150/ 200/ 253/ 400/ 800/ 1066...
4- Đián áp lõi cāa CPU: Đián áp sā dÿng cho các linh kián bên trong CPU. Đây là ián áp
có ộ án ßnh cao á CPU có thá ho¿t ộng án ßnh. Hián t¿i các mức ián áp th¤ßng tÿ 1.27 và 2.9 v.
Tuỳ thuộc vào thßi gian ra ßi cāa các lo¿i CPU, các nhà sÁn xuÃt Mainboard thiết kế bÁng
m¿ch cho phép ng¤ßi dùng lựa chán CPU có tốc ộ thích hợp với nhu cầu công viác, thích hợp
với khÁ nng tài chính cāa mình. Đá có thá xác ßnh ¤ợc úng lo¿i CPU mà Mainboard cho phép
cắm, ta phÁi biết ¤ợc một số thông số nh¤ : ế hoặc khe cắm (SOCKET/SLOT1), tốc ộ CPU,
tần số BUS cāa Mainboard (Clock), tần số BUS giao dián cāa CPU, qui ßnh vß thiết lÁp há
số nhân xung (Radio, Jumper, Switch),… Thông th¤ßng, các ặc tính cāa Mainboard ¤ợc h¤ớng
d¿n rÃt kā trong sách h¤ớng d¿n i kèm theo tÿng lo¿i Mainboard, ta nên cố gắng tham khÁo 28
Downloaded by Rot Ca (rotca780@gmail.com) lOMoARcPSD| 37922327
Phan Thị Hà-Khoa CNTT1-Học viện CNBCVT
các thông tin cāa Mainboard tr¤ớc khi lắp ặt một máy tính mới hoặc nâng cÃp các thiết bß
nh¤ CPU, RAM b/ Bo mạch chÿ và bộ nhớ (Mainboard and Memory) */ Mainboard
(MotherBoard, System Board).
BÁng m¿ch chính (MainBoard) hay còn gái bÁng m¿ch mẹ (MotherBoard) chứa các IC
quan tráng nhÃt cāa há thống máy tính cá nhân bao gßm: CPU, RAM, ROM và một số IC và
các m¿ch phÿ trợ khác nh¤ khe cắm cho các vĩ m¿ch ißu khián á ĩa cứng, á ĩa mßm, modem, âm thanh, video...
Trong ó các thành phần cāa Mainboard: - Khe cắm RAM (RAM Slot): SIMMs RAM Slot:
K he cắm màu trắng có 30, 72 chân. lo¿i
RAM này không còn trên thß tr¤ßng.
KhÁ nng nâng cÃp dung l¤ợng bộ nhớ
tuỳ thuộc vào tÿng lo¿i MAIN.
Th¤ßng tối a là (4 khe x 16 MB) DIMMs RAM Slot: 29
Downloaded by Rot Ca (rotca780@gmail.com) lOMoARcPSD| 37922327
Phan Thị Hà-Khoa CNTT1-Học viện CNBCVT
Khe cắm màu en có 168 chân. KhÁ nng
nâng cÃp bộ nhớ tuỳ thuộc vào tÿng lo¿i
Mainboard khác nhau (số l¤ợng khe
cắm) và dung l¤ợng tối a th¤ßng khoÁng 1GB.
Khe cắm màu xanh hoặc en có 184
hoặc 240 chân theo tÿng lo¿i
DDR2 và DDR3 ßu dựa trên thiết kế
SDRAM ( Bộ nhớ truy cÁp ng¿u nhiên ộng ßng bộ
Random Access Memory), tức là sā
dÿng tín hiáu xung nhßp á ßng bộ
hóa mái thứ. DDR là viết tắt cāa Tốc ộ dă liáu gÃp ôi
tức truyßn ¤ợc hai khối dă liáu trong một xung nhßp, Khe cắm má rộng :
Độ rộng ¤ßng truyßn 16 bits, sā dÿng cho các lo¿i thiết bß tốc ộ chÁm nh¤ các lo¿i thẻ
m¿ch (Card) màn hình, sound, modem 38k... Hián nay các lo¿i Mainboard mới theo tiêu chuẩn
PC 99 các lo¿i khe cắm này ã bß lo¿i bỏ. RÃt ít các lo¿i Mainboard hã trợ cho lo¿i khe cắm này.
+ VESA Local Bus: Bß lo¿i bỏ hoàn toàn vì thiết kế cßng kßnh.
+ PCI (Peripheral Component Interconnect):
Độ rộng ¤ßng truyßn 32bit và 64bit hián ang thông dÿng trên thß tr¤ßng. Nó sā dÿng cho các thiết bß tốc ộ nhanh. 30
Downloaded by Rot Ca (rotca780@gmail.com) lOMoARcPSD| 37922327
Phan Thị Hà-Khoa CNTT1-Học viện CNBCVT
+ AGP (Accelerate Graphic Port): + Chipset
Độ rộng ¤ßng truyßn 64 bits. Sā
dÿng cho các lo¿i thẻ m¿ch màn
hình hã trợ ß ho¿ 3 chißu Khe cắm AGP
Mãi hãng sÁn xuÃt ßu ¤a ra một lo¿i Main với bộ chipset riêng. Chipsets quyết ßnh khÁ
nng tích hợp, nâng cÃp các thiết bß nh¤ CPU, RAM, Thẻ m¿ch má rộng. Các khÁ nng này
¤ợc mô tÁ chi tiết trong sách h¤ớng d¿n cāa nhà sÁn xuÃt i kèm theo Mainboard. Các lo¿i
Chipset t hông dÿng là: VIA, INTEL, SIS .
+ Chân kết nối bộ nhớ ngoài
+ Chân kết nối á ĩa mßm :
1 bộ chân tích hợp trên thẻ m¿ch vào ra (I/O Card Đối với các há thống cũ), tích hợp
trên Main (Đối với các há thống mới). 34 chân/bộ cho phép tích hợp 2 á ĩa mßm ßng thßi.
+ Chân kết nối á ĩa cứng:
Tích hợp trên thẻ m¿ch vào ra ( I/O Card ) trên các há thống máy cũ. Trên các há thống
máy mới, các bộ kết nối này ¤ợc gái là IDE/ EIDE. 40 chân/ bộ cho phép kết nối tối a 4 á ĩa cứng/ CD ROM.
+ Chân kết nối các cáng vào ra:
. Cáng bàn phím: kết nối bàn phím DIN 5 (AT), MiniDIN 6 (ATX)
. Cáng truyßn thông, tuần tự (COM): gßm 2 cáng COM 9 chân ¤ợc sā dÿng cho viác kết nối chuột và Modem.
. Cáng song song (LPT, PRN): dành cho kết nối máy in.
. Cáng a nng (USB): dành cho kết nối các lo¿i thiết bß hã trợ kiáu kết nối này.
. Cáng chuột PS2: Dành riêng cho chuột PS2.
+ Chân kết nối bộ ngußn: 12 chân dành cho chuẩn AT, 20 chân dành cho chuẩn ATX. 31
Downloaded by Rot Ca (rotca780@gmail.com) lOMoARcPSD| 37922327
Phan Thị Hà-Khoa CNTT1-Học viện CNBCVT
- BIOS, CMOS RAM và Pin CMOS:
Th¤ßng i kèm theo main. Là thiết bß l¤u tră bộ lánh khái ộng và ißu khián ngắt
cứng cāa há thống. KhÁ nng nâng cÃp tuỳ thuộc vào tÿng lo¿i có thá bằng phần cứng
( Thay chip BIOS) hoặc bằng phần mßm (FLASH BIOS ). + Cầu nối (Jumper ).
Dành cho ng¤ßi sā dÿng á nâng cÃp há thống. Xác ßnh ián áp, tốc ộ cho CPU,
RAM, cÃp ngußn cho CMOS RAM và một số công dÿng khác. Th¤ßng có h¤ớng
d¿n chi tiết i kèm theo sách h¤ớng d¿n Mainboard. + Tốc ộ BUS (BUS Speed):
Tần số xung ián trên Mainboard sẽ quyết ßnh tính t¤¢ng thích cho các lo¿i thiết bß,
tốc ộ truyßn dă liáu. Tốc ộ xung c¢ bÁn cāa Mainboard th¤ßng là: 50MHz,
60Mhz, 66 MHz, 75 MHz(Cyrix), 83 MHz, 100 MHz, 133 MHz, 150 MHz, 200 MHz (AMD
K7),400 MHz, 800 MHz, 1066MHz.
Một số loại Main thông dụng trên thị tr¤ờng :
INTEL: Sā dÿng chipsets Intel.
GIGABYTE: Sā dÿng chipset Intel và VIA.
MSI: Sā dÿng chipset Intel và VIA.
TOMATO: Phần lớn sā dÿng chipset VIA
*/ Bộ nhớ (Memory)
Bộ nhớ là thiết bß l¤u tră thông tin trong quá trình máy tính xā lý. Bộ nhớ bao gßm bộ nhớ trong
và bộ nhớ ngoài. 32
Downloaded by Rot Ca (rotca780@gmail.com) lOMoARcPSD| 37922327
Phan Thị Hà-Khoa CNTT1-Học viện CNBCVT
- Bộ nhớ trong gồm ROM và RAM :
+ ROM (Read Only Memory) là bộ nhớ chỉ ác. Thực chÃt ây là một Chip IC có khÁ nng
nhớ dă liáu. Có hai lo¿i ROM chính: ROM và EPROM. Đối với ROM, ch¤¢ng trình ¤ợc các
nhà sÁn xuÃt ghi vào Chip và không xoá ¤ợc; còn ối với EPROM thì ch¤¢ng trình ã ghi vào
rßi v¿n có thá dùng một thiết bß ặc biát á ghi hoặc xoá ¤ợc với các chế ộ ián áp và truy nhÁp
khác nhau. Vß phía ng¤ßi dùng, ch¤¢ng trình ã ghi trong ROM thì chỉ có thá ác ra á dùng cho
nên nó th¤ßng ¤ợc gái là bộ nhớ chỉ ác. Xét trên một góc ộ khác, ROM là một linh kián IC
thuộc phần cứng nh¤ng nó l¿i ¤ợc ghi ch¤¢ng trình ißu khián trong ó nên nó l¿i có thá ¤ợc coi
là phần mßm. Và trên quan iám ó, các nhà tin hác ã xếp ROM vào lo¿i trung gian và gái là
phần sÿn (hay phần Firmware).
Trong máy tính, ROM óng vai trò gì? Khi truy nhÁp máy tính có khá nhißu thā tÿc và
ch¤¢ng trình c¢ sá cần phÁi thi hành. Có thá ví CPU là ông chā thì ROM nh¤ là một ng¤ßi
th¤ ký. Mãi khi máy tính bắt ầu ho¿t ộng (khái ộng há thống) sẽ có một số ộng tác cần phÁi
thực thi ầu tiên gái là POST (Power On Self Test) á kiám tra các cÃu hình chính cāa há thống
nh¤ RAM, á ĩa, bàn phím có ho¿t ộng bình th¤ßng không? Đá làm nhăng công viác th¤ßng
xuyên ó, các nhà thiết kế máy tính ã viết nhăng ch¤¢ng trình thực hián các thā tÿc kiám tra
này. Sau ó sẽ ghi vào ROM và mãi khi khái ộng máy, ch¤¢ng trình ó ¤ợc thực hián tức thì.
Một số ch¤¢ng trình khác theo logic thiết kế cũng ¤ợc ghi vào ROM.
+ RAM (Random Access Memory) ¤ợc gái là bộ nhớ truy cÁp ng¿u nhiên. Nó cũng bao
gßm các linh kián IC có khÁ nng nhớ t¿m các ch¤¢ng trình ¤ợc tÁi xuống trong quá trình ho¿t
ộng cāa máy tính. Điám khác biát vß mặt nguyên tắc giăa RAM và ROM là: ROM ghi nhớ
các ch¤¢ng trình cố ßnh, không thay ái còn RAM thì nhớ t¿m các ch¤¢ng trình, có thá ác, ghi
è lên tÿng phần ã ¤ợc tÁi xuống và khi mÃt ián hoặc tắt máy, các ch¤¢ng trình ó sẽ bß mÃt.
Nếu chúng ta ví ROM nh¤ ng¤ßi th¤ ký, thì có thá ví RAM nh¤ bàn làm viác cāa <ông
trung tâm= CPU. Mãi khi có một ch¤¢ng trình cần ch¿y, ch¤¢ng trình ó ¤ợc n¿p vào RAM và
sẽ ¤ợc CPU lÃy ra á xā lý. Một ch¤¢ng trình nào ó có thá ¤ợc n¿p vào c¤ trú á vùng khác hoặc
cũng có thá bß ghi è lên. Với vai trò nh¤ vÁy, RAM cần ¤ợc tng dung l¤ợng nhớ á có thá n¿p
nhißu ch¤¢ng trình. Trong các máy vi tính hián nay khá phá biến là 64/128/256 MB RAM tuỳ nhu cầu ng¤ßi sā dÿng.
RAM ¤ợc óng thành mÁng, mãi mÁng có thá 2, 4, 8, 16, 64, 128, 256, 512, 1024,
2048...MB . Trong bÁng m¿ch chính có một số khe cắm (slot) á cắm thêm RAM. Cùng với
tốc ộ cāa CPU, dung l¤ợng RAM càng lớn càng tng tốc ộ xā lý cāa há thống máy tính.
- Bộ nhớ ngoài: nh¤ ĩa tÿ, bng tÿ ... Ðá l¤u tră thông tin và có thá chuyán các tin này qua
máy tính khác, ng¤ßi ta sā dÿng các ĩa, bng tÿ nh¤ là các bộ nhớ ngoài. Các bộ nhớ này có
dung l¤ợng chứa lớn, không bß mÃt i khi không có ngußn ián. Trên các máy vi tính phá biến
hián nay có các lo¿i ĩa tÿ sau:
+ Ðĩa cứng (hard disk) : có nhißu lo¿i dung l¤ợng tÿ vài trm MB ến vài chÿc GB, hián nay ã có ĩa cứng h¢n 80 GB.
+ Ðĩa mßm (floppy disk) : phá biến có 2 lo¿i ĩa có ¤ßng kính 5.25 inches (dung l¤ợng 360 KB
hoặc 1.2 MB) và lo¿i 3.5 inches (dung l¤ợng 720 KB hoặc 1.44 MB) 33
Downloaded by Rot Ca (rotca780@gmail.com) lOMoARcPSD| 37922327
Phan Thị Hà-Khoa CNTT1-Học viện CNBCVT
Ðĩa máy tính lo¿i 3.5 in và 5.25 in.
Đĩa quang (tiếng Anh: optical disc): là thuÁt ngă dùng á chỉ chung các lo¿i ĩa mà dă
liáu ¤ợc ghi/ác bằng tia ánh sáng hội tÿ. Tuỳ thuộc vào tÿng lo¿i ĩa quang (CD, DVD...)
mà chúng có các khÁ nng chứa dă liáu với dung l¤ợng khác nhau. Đĩa quang là d¿ng l¤u tră
dă liáu không mÃt dă liáu khi ngÿng cung cÃp ián
Trên thực tế, tốc ộ quay cāa ĩa mßm 5.25 in. khoÁng 300 vòng/phút, ĩa 3.5 in. khoÁng 600
vòng/phút. Tốc ộ quay cāa ĩa cứng rÃt cao th¤ßng ¿t trên 3600 vòng/phút. Vì vÁy, thông tin
chứa trên ĩa cứng sẽ ¤ợc truy cÁp nhanh h¢n trên ĩa mßm rÃt nhißu.
Hián nay trên thß tr¤ßng còn có lo¿i ĩa nén, có kích th¤ớc nh¤ lo¿i ĩa 1.44 MB, nh¤ng có dung
l¤ợng ến 100 MB và dß dàng mang i các n¢i. 34
Downloaded by Rot Ca (rotca780@gmail.com) lOMoARcPSD| 37922327
Phan Thị Hà-Khoa CNTT1-Học viện CNBCVT
c/ Các thi¿t bị vào/ra và l¤u trữ dữ liáu Các thiÁt bß vào ra
Các thi¿t bị nhÁp thông tin ầu vào bao gồm :
là thiết bß nhÁp dă liáu và câu lánh, bàn phím máy vi tính phá
biến hián nay là một bÁng chứa 104 phím có các tác dÿng khác nhau.
Có thá chia làm 3 nhóm phím chính:
Bàn phím IBM/Windows (kiÅu Mỹ)
+ Nhóm phím ánh máy: gßm các phím chă, phím số và phím các ký tự ặc biát (~, !, @,
#, $, %, ^,&, ?, ...).
+ Nhóm phím chức nng (function key): gßm các phím tÿ F1 ến F12 và các phím khác nh¤
±²³´(phím di chuyán tÿng iám), phím PgUp (lên trang màn hình), PgDn (xuống trang màn
hình), Insert (chèn), Delete (xóa), Home (vß ầu), End (vß cuối), ...
+ Nhóm phím ám số (numeric keypad) nh¤ NumLock (cho các ký tự số), CapsLock (t¿o các
chă in), ScrollLock (chế ộ cuộn màn hình) thá hián á các èn chỉ thß.
Ngoài 3 phím có èn chỉ thß trên ta còn các nút ißu khián sau:
+ Phím Shift: kèm với các phím chă sẽ t¿o ra chă in hoa hoặc th¤ßng, ái phím số thành các ký
hiáu t¤¢ng ứng trên nó.
+ Phím ±BackSpace: lùi iám nháy ßng thßi xóa ký tự ứng tr¤ớc nó.
+ Phím Enter: nút thi hành lánh hoặc xuống hàng. 35
Downloaded by Rot Ca (rotca780@gmail.com) lOMoARcPSD| 37922327
Phan Thị Hà-Khoa CNTT1-Học viện CNBCVT
+ Phím Space: thanh dài nhÃt, t¿o ký tự rãng.
+ Phím PrintScreen: nút in nội dung màn hình ra giÃy.
+ Phím Pause: dÿng thi hành ch¤¢ng trình.
+ Phím Ctrl (Control) và Alt (Alternate): là phím dùng á phối hợp các phím khác tùy ch¤¢ng trình sā dÿng.
+ Phím Esc (Escape): phím thoát, ¤ợc dùng khi có chỉ ßnh rõ.
+ Phím Tab: phím nhÁy cách, th¤ßng 8 khoÁng (khoÁng nhÁy có thá khác i tùy ch¤¢ng trình hay ng¤ßi sā dÿng ßnh). -
Con chuột (Mouse): là thiết bß cần thiết phá biến hián nay, nhÃt là các máy tính ch¿y
trong môi tr¤ßng Windows.Con chuột có kích th¤ớc vÿa nắm tay di chuyán trên một tÃm
phẳng (mouse pad) theo h¤ớng nào thì dÃu nháy hoặc mũi tên trên màn hình sẽ di chuyán
theo h¤ớng ó t¤¢ng ứng với vß trí cāa cāa viên bi hoặc tia sáng (optical mouse) nằm d¤ới bÿng
cāa nó. Một số máy tính có con chuột ¤ợc gắn trên bàn phím. Con chußt máy tính -
Máy quét (scanner): là thiết bß dùng á nhÁp vn bÁn hay hình vẽ, hình chÿp vào máy
tính. Thông tin nguyên thāy trên giÃy sẽ ¤ợc quét thành các tín hiáu số t¿o thành các tÁp tin
Ánh (image file). Scanner i kèm với phần mßm á nhÁn dián các tÁp tin Ánh hoặc vn bÁn.
Máy quét Scanner
- Digitizer: dùng á nhÁp dă liáu ß háa theo táa ộ X-Y vào máy tính, th¤ßng ¤ợc dùng trong vẽ bÁn ß.
- Bút quang (Light pen): dùng nhÁp iám bằng cách chÃm lên màn hình. 36
Downloaded by Rot Ca (rotca780@gmail.com) lOMoARcPSD| 37922327
Phan Thị Hà-Khoa CNTT1-Học viện CNBCVT
- Touch screen: màn hình ặc biát có thá dùng ngón tay á ch¿m lên các iám.
Các thi¿t bị xuất thông tin ầu ra bao gồm:
- Màn hình (Screen hay Monitor): là thiết bß xuÃt chuẩn, dùng á hián thß thông tin cho ng¤ßi
sā dÿng xem.Thông tin ¤ợc hián thß ra màn hình bằng ph¤¢ng pháp ánh x¿ bộ nhớ (memory
mapping), với cách này màn hình chỉ viác ác liên tÿc bộ nhớ và hián thß (display) bÃt kỳ thông tin
nào hián có trong vùng nhớ ra màn hình. Vì vÁy á xuÃt thông tin ra màn hình ta chỉ cần xuÃt ra vùng nhớ t¤¢ng ứng. Màn hình
Có 2 chế ộ hián thß màn hình :
+ Trong chế ộ vn bÁn, màn hình thá hián 80 cột ký tự ( ánh số tÿ 0 - 79) và 25 dòng ( ánh số tÿ 0 - 24).
+ Trong chế ộ ß háa, màn hình ¤ợc chia thành các phần tā Ánh (pixel: picture element). Ðộ
phân giÁi màn hình ¤ợc xác ßnh bằng tích số kích th¤ớc chißu ngang và chißu cao tính theo
phần tā Ánh. Tích số này càng lớn thì màn hình càng mßn, rõ nét.
Màn hình phá biến hián nay trên thß tr¤ßng là màn hình màu SVGA và LCD. Lo¿i màn hình màu Ðß phân giÁi (pixel) CCA : Color Graphics Adapter 320 x 200
EGA : Enhanced Graphics Adapter 640 x 350 VGA : Video Graphics Array 640 x 480 SVGA : Super VGA 1020 x 768
- Máy in (printer): là thiết bß xuÃt á ¤a thông tin ra giÃy. Máy in phá biến hián nay là lo¿i
máy in ma trÁn iám (dot matrix) lo¿i 9 kim và 24 kim, máy in phun mực, máy in laser trắng
en hoặc màu. GiÃy in th¤ßng dùng là lo¿i giÃy in 80 cột (in ¤ợc 80 ký tự, in nén ¤ợc 132 ký
tự) và lo¿i giÃy in khá rộng in ¤ợc 132 cột (in 132 ký tự, in nén 256 ký tự). CÁ 2 lo¿i giÃy
in ßu có khÁ nng in 66 dòng/trang. 37
Downloaded by Rot Ca (rotca780@gmail.com) lOMoARcPSD| 37922327
Phan Thị Hà-Khoa CNTT1-Học viện CNBCVT Máy in -
Máy vẽ (plotter): lo¿i máy ặc biát dùng các bút màu á vẽ ß háa, chă ... -
Ðĩa từ, băng từ (diskette, tape) ... : dùng á chứa thông tin xuÃt
1.2.3.2 Phần mềm máy tính
Phần mßm là tên gái khi nói tới các ch¤¢ng trình chỉ thß máy tính ho¿t ộng xā lý dă liáu
thành nhăng hình thái mà ta mong muốn. Ch¤¢ng trình là một chuãi các chỉ thß lánh có liên
quan nhằm thực hián tÿng b¤ớc t¿i mãi thßi iám á hoàn thành một vài công viác nào ó d¤ới sự
ißu khián cāa CPU. Các ch¤¢ng trình sẽ xác ßnh viác các máy tính tiếp nhÁn ầu vào nh¤ thế
nào và ¤ợc hián thß hoặc ¤a tới ầu ra cái gì. Thông th¤ßng có 3 kiáu ch¤¢ng trình là : phần
mßm há thống, trình dßch ngôn ngă và các ch¤¢ng trình ứng dÿng.
a/ Phần mÁm há thống:
Phần mßm há thống là một thuÁt ngă bao gßm tÃt cÁ các ch¤¢ng trình quÁn lý và ißu khián quá
trình ho¿t ộng cāa phần cứng máy tính. Nó có 2 lo¿i chính - ó là: - Phần mßm há ißu hành. -
Các ch¤¢ng trình tián ích. */ Hß iÃu hành:
Há ißu hành là một phần mßm ißu khián quá trình ho¿t ộng cāa máy tính tÿ khi khái t¿o há
thống, nó ¤ợc coi nh¤ là một yếu tố liên kết giăa phần cứng và phần mßm máy tính. Há ißu hành
bao gßm các ch¤¢ng trình quÁn lý ißu khián truyßn thông giăa các bộ phÁn cāa phần cứng nh¤
card màn hình, card âm thanh, máy in, bÁng m¿ch chính và các ứng dÿng. Nó ißu khián tÃt cÁ ầu
vào, ầu ra tÿ các thiết bß ngo¿i vi cũng nh¤ sự ho¿t ộng cāa các ch¤¢ng trình khác. Nó cho phép
ng¤ßi sā dÿng làm viác và quÁn lý các táp tin mà không cần biết cÿ thá dă liáu ¤ợc l¤u tră và lÃy
ra trong các há thống a ng¤ßi dùng; ngoài ra há ißu hành còn quÁn lý ng¤ßi dùng truy nhÁp tới bộ
xā lý, các thiết bß ngo¿i vi và lßch trình công tác.
Các chức nng cāa há ißu hành : -
Đßnh vß các tài nguyên há thống : ißu khián sự vÁn chuyán bên trong máy tính, có tác
dÿng quyết ßnh ến tài nguyên nào sẽ ¤ợc sā dÿng và trong thßi gian bao lâu. -
Thßi gian : ßnh thßi trong CPU ¤ợc phân chia thành các khoÁng thßi gian có ¢n vß tính là
ms. Đối với mãi tác vÿ ¤ợc thực thi, CPU sẽ Ãn ßnh ích xác một khoÁng thßi gian nhÃt ßnh cho
nó. Khi thßi gian kết thúc, các tác vÿ khác sẽ ¤ợc ¤a vào á tiếp tÿc quay vòng. -
Bộ nhớ : bộ nhớ máy tính cũng ¤ợc quÁn lý bái há ißu hành. Chúng ¤ợc CPU sā dÿng luân
phiên á rßi chuyán dă liáu thông qua các bộ nhớ ám. Chẳng h¿n, các khoÁng không gian cāa ĩa
cứng cũng ¤ợc coi nh¤ là một phần cāa bộ nhớ chính. Đißu ó có nghĩa là, viác ¤a dă liáu thẳng tÿ
ĩa cứng lên bộ nhớ chính mãi khi CPU yêu cầu sẽ rÃt chÁm trong khi dă liáu ó phÁi th¤ßng xuyên
cÁp nhÁt lên bộ nhớ. Vì vÁy khi bộ nhớ chính bß ầy, một vài dă liáu sẽ ¤ợc phân trang ¤a ra ngoài
ĩa cứng và nó ¤ợc gái là vùng nhớ trao ái (swapping). Trong há ißu hành Windows, viác sā dÿng
táp tin swap cũng chính là cho mÿc ích này. 38
Downloaded by Rot Ca (rotca780@gmail.com) lOMoAR cPSD| 37922327
Phan Thị Hà-Khoa CNTT1-Học viện CNBCVT -
QuÁn lý vào/ra (input/output) : ißu khián lußng l¤u l¤ợng cũng là một phần khÁ nng áp
ứng cāa há ißu hành. Há ißu hành phÁi quÁn lý tÃt cÁ các yêu cầu nh¤ ác dă liáu tÿ á ĩa và bng
tÿ hay ghi dă liáu vào chúng hoặc ¤a ra máy in. -
Giám sát ho¿t ộng há thống : há ißu hành thực hián 2 công viác giám sát chā yếu là thi hành
há thống và bÁo mÁt há thống. Thi hành há thống ¤a ra các thông tin nh¤ tên các tác vÿ ang thi
hành trên há thống, thßi gian chiếm giă CPU, bộ nhớ... hay ng¤ßi quÁn trß há thống cũng có thá
theo dõi, kiám tra xem các máy tính trên m¿ng có bß quá tÁi không á có nhăng can thiáp kßp thßi.
VÃn ß bÁo mÁt há thống khá quan tráng, ặc biát khi sā dÿng cho chế ộ a ng¤ßi dùng. Khi ng¤ßi
sā dÿng muốn truy nhÁp vào há thống cần phÁi thực hián thā tÿc ng nhÁp user và mÁt khẩu (gái là ID). -
QuÁn lý táp tin và á ĩa : viác l¤u tră và bÁo vá các táp tin trên thiết bß á ĩa, bng tÿ là một
công viác chính, quan tráng trong mãi há ißu hành. Hián nay, hầu hết các há ißu hành ßu sā dÿng
các há thống táp tin nh¤ FAT, NFS. Ngoài viác quÁn lý các thiết bß nhớ vÁt lý nh¤ FDD, HDD,
CDROM,... há ißu hành còn quÁn lý các bộ nhớ Áo (virtual memory) ¤ợc t¿o ra trên c¢ sá phần
còn rãi (free) cāa các thiết bß nhớ ká trên.
Các há ißu hành c¢ bÁn hián nay: -
Microsoft Windows: Windows XP, Windows 7(8) và Windows Server 2008/2012,... - Apple Macintosh. - OS/2 cāa hãng IBM. -
UNIX : SCO Unix, SUN Solaris, AIX (IBM) -
LINUX: Red Hat, Fedora, Ubuntu, CentOS */ Các ch¤¢ng trình tißn ích:
Các ch¤¢ng trình tián ích thực hián các công viác có liên quan ến bÁo trì máy tính nh¤
phần cứng và dă liáu. Các há ißu hành hián nay, hầu hết ßu xây dựng phần mßm các ch¤¢ng trình tián ích nh¤ : -
Ch¤¢ng trình quÁn lý táp tin: t¿o ra cho ng¤ßi dùng dß dàng quÁn lý các táp tin cāa mình
nh¤ : viết các ch¤¢ng trình trợ giúp tìm kiếm táp tin, t¿o ra và tá chức các th¤ mÿc, sao chép, chuyán ái tên táp tin. -
Ch¤¢ng trình quÁn lý ĩa : bao hàm cÁ ßnh d¿ng và chống phân mÁnh các ĩa. Ch¤¢ng trình
chống phân mÁnh thực hián sắp xếp l¿i vß trí các táp tin trên ĩa theo một dãy liên tÿc. Một số
ch¤¢ng trình quÁn lý ĩa còn ßnh rõ sắp ặt cho b¿n khi có táp tin th¤ßng xuyên ¤ợc truy cÁp. Ngoài
ra, có nhăng há ißu hành còn có thêm một số chức nng mới nh¤ cho phép chuyán ái kiáu há thống
táp tin tÿ FAT32 sang NTFS và ng¤ợc l¿i... -
Phần mßm quÁn lý bộ nhớ : thực hián ißu khián bộ nhớ khi các dă liáu hián thßi ¤ợc ¤a
lên RAM. Chúng chuyán dßch các ối t¤ợng nội trú bộ nhớ nào ó ra ngoài và ißu này có thá làm
tng hiáu quÁ sā dÿng bộ nhớ. -
Ch¤¢ng trình sao l¤u (Backup) dă liáu cho phép ng¤ßi sā dÿng có thá phÿc hßi l¿i dă liáu khi cần thiết. -
Ch¤¢ng trình nén dă liáu : cho phép ng¤ßi sā dÿng thông qua các phần mßm nén dă liáu
tr¤ớc khi l¤u tră nhằm tiết kiám không gian nhớ cāa ĩa. 39
Downloaded by Rot Ca (rotca780@gmail.com) lOMoAR cPSD| 37922327
Phan Thị Hà-Khoa CNTT1-Học viện CNBCVT -
Ch¤¢ng trình phòng chống Virus: là các phần mßm khác nhau ¤ợc cài ặt vào bộ nhớ máy
tính nhằm giám sát sự ho¿t ộng cāa virus trong máy tính và m¿ng. Nó có nhiám vÿ phát hián sự
ho¿t ộng cāa virus trong bộ nhớ máy tính và thực hián phần mßm phòng chống virus hău hiáu ¤ợc sā dÿng rộng rãi nh¤ CMC
AntiVirus, Norton AntiVirus, Symantec AntiVirus, Trend Micro Security, Kaspersky Internet
Security, BkavPro,... b/ Trình dịch và ngôn ngữ:
Trong quá trình ho¿t ộng cāa các thế há máy tính ián tā, tÃt cÁ các chỉ thß lánh ¤ợc ho¿t
hóa bái máy tính ßu phÁi cung cÃp tới CPU d¤ới d¿ng mã máy (machine code). Tuy nhiên,
con ng¤ßi không phÁi t¤¢ng tác với máy tính t¿i mức này mà các nhà lÁp trình có thá viết
phần mßm bằng ngôn ngă Assembler cho phép can thiáp trực tiếp tới các thanh ghi cāa CPU.
Hián nay, hầu hết các ch¤¢ng trình ¤ợc viết trên c¢ sá các tiêu chuẩn ngôn ngă bÁc cao nh¤
Pascal, Basic, C, C++ hay Java, Visual Studio 2008/2012....
Trình dßch là một ch¤¢ng trình ¤ợc thiết kế nhằm chuyán hóa một ch¤¢ng trình ¤ợc viết
bái ngôn bÁc cao thành các chỉ thß lánh máy cāa há thống tính toán riêng biát. Đầu ra cāa một
trình dßch C cho máy tính IBM hầu nh¤ không có gì chung với ầu ra cāa một trình dßch C
cho máy chā VAX. Mặc dù các ngôn ngă bÁc cao ¤ợc dùng chung á phát trián các gói ứng
dÿng nh¤ GIS, nó th¤ßng ¤ợc dßch cho các nßn (platform) riêng biát tr¤ớc khi phân phối tới ng¤ßi dùng.
c/ Phần mÁm āng dụng:
Các phần mßm ứng dÿng thông dÿng hián nay ngày càng phong phú và a d¿ng. Nó bao gßm
nhăng ch¤¢ng trình ¤ợc viết ra phÿc vÿ cho một hay nhißu mÿc ích cÿ thá nh¤ ứng dÿng vn
phòng, tính toán, phân tích dă liáu, tá chức há thống, bÁo mÁt thông tin, xā lý ß háa, trò ch¢i
ián tā, dßch vÿ thông tin m¿ng,... 1.2.4 Lịch sử phát triển cÿa há thống máy tính
Do nhu cầu cần tng ộ chính xác và giÁm thßi gian tính toán, con ng¤ßi ã quan tâm chế t¿o
các công cÿ tính toán tÿ x¤a: bàn tính tay cāa ng¤ßi Trung quốc, máy cộng c¢ hác cāa nhà
toán hác Pháp Blaise Pascal (1623 - 1662), máy tính c¢ hác có thá cộng trÿ nhân chia cāa nhà
toán hác Ðức Gottfried Wilhelmvon Leibniz (1646 - 1716), máy sai phân á tính các a thức
toán hác, máy phân giÁi ißu khián bằng phiếu ÿc lã cāa Charles Babbage (1792 - 1871) ...
Tuy nhiên, máy tính ián tā thực sự hình thành bắt ầu vào thÁp niên 1950 và ến nay ã trÁi
qua 5 thế há ¤ợc phân lo¿i theo sự tiến bộ vß công nghá ián tā và vi ián tā cũng nh¤ các cÁi
tiến vß nguyên lý, tính nng và lo¿i hình cāa nó. *
Thế há 1 (1950 - 1958): máy tính sā dÿng các bóng èn ián tā chân không, m¿ch riêng
rẽ, vào số liáu bằng phiếu ÿc lã, ißu khián bằng tay. Máy có kích th¤ớc rÃt lớn, tiêu thÿ nng
l¤ợng nhißu, tốc ộ tính chÁm khoÁng 300 - 3.000 phép tính mãi giây. Lo¿i máy tính ián hình
thế há 1 nh¤ EDVAC (Mā) hay BESM (Liên xô cũ), ... *
Thế há 2 (1958 - 1964): máy tính dùng bộ xā lý bằng èn bán d¿n, m¿ch in. Máy ã có
ch¤¢ng trình dßch nh¤ Cobol, Fortran và há ißu hành ¢n giÁn. Kích th¤ớc máy còn lớn, tốc ộ
tính khoÁng 10.000 ến 100.000 phép/s. Ðián hình nh¤ lo¿i IBM-1070 (Mā) hay MINSK (Liên xô cũ), ... 40
Downloaded by Rot Ca (rotca780@gmail.com) lOMoARcPSD| 37922327
Phan Thị Hà-Khoa CNTT1-Học viện CNBCVT *
Thế há 3 (1965 - 1974): máy tính ¤ợc gắn các bộ xā lý bằng vi m¿ch ián tā cỡ nhỏ có
thá có ¤ợc tốc ộ tính khoÁng 100.000 ến 1 triáu phép/s. Máy ã có các há ißu hành a ch¤¢ng
trình, nhißu ng¤ßi dùng ßng thßi hoặc theo kiáu chia thßi gian. Kết quÁ tÿ máy tính có thá in
ra trực tiếp á máy in. Ðián hình nh¤ lo¿i IBM 360 (Mā) hay EC (Liên Xô cũ), ... *
Thế há 4 (1974 ến nay): máy tính bắt ầu có các vi m¿ch a xā lý có tốc ộ tính hàng chÿc
triáu ến hàng tÿ phép/giây. Giai o¿n này hình thành 2 lo¿i máy tính chính : máy tính cá nhân
á bàn (Personal Computer - PC) hoặc xách tay (Laptop hoặc Notebook computer) và các lo¿i
máy tính chuyên nghiáp thực hián a ch¤¢ng trình, a vi xā lý ... hình thành các há thống m¿ng
máy tính (Computer Networks), và các ứng dÿng phong phú a ph¤¢ng tián. *
Thế há 5 (1990 - nay): bắt ầu có các nghiên cứu t¿o ra các máy tính mô phỏng các ho¿t
ộng cāa não bộ và hành vi con ng¤ßi, có trí khôn nhân t¿o với khÁ nng tự suy dißn phát trián
các tình huống nhÁn ¤ợc và nhăng há quÁn lý kiến thức c¢ sá á giÁi quyết các bài toán a d¿ng.
1.3 THUÀT TOÁN VÀ S¡ Đæ KHäI
Muốn giÁi một bài toán trên máy tính ián tā ng¤ßi ta cần một ch¤¢ng trình hay phần mßm
h¤ớng d¿n máy tính thực hián các thao tác cần thiết. Tr¤ớc khi giới thiáu phần mßm ta cần
hiáu các b¤ớc á giÁi một bài toán trên máy tính.
a/ Các giai oạn giải một bài toán trên máy tính ián tử
Ðá giÁi quyết một bài toán trên máy tính ián tā, cần qua các giai o¿n:
· Tìm hiáu mÿc tiêu chính cāa bài toán: số liáu nhÁp và kết quÁ xuÃt.
· Xây dựng một chuãi thao tác tính toán theo tuần tự, gái là thuÁt giÁi.
· LÁp ch¤¢ng trình dißn tÁ chi tiết các b¤ớc tính theo thuÁt giÁi
· NhÁp ch¤¢ng trình vào máy tính, thông dßch và ch¿y thā á sāa chăa lãi
· Thực hián giÁi bài toán với số liáu thu thÁp ¤ợc và ghi nhÁn kết quÁ
· Thā nghiám với nhißu tr¤ßng hợp khác nhau cāa bài toán
· Phân tích kết quÁ và hoàn chỉnh ch¤¢ng trình
Trong các b¤ớc trên, viác thiết kế thuÁt toán là giai o¿n quan tráng nhÃt. b/
ThuÁt toán (algorithm)
Ðßnh nghĩa: ThuÁt toán là một ph¤¢ng pháp trình bày các b¤ớc giÁi quyết một hay nhißu
bài toán theo một tiến trình xác ßnh.
ThuÁt toán có các ặc tính sau:
- Tính xác ịnh: Các thao tác cāa thuÁt toán là rõ ràng và chắc chắn thực hián ¤ợc á d¿n ến kết quÁ nào ó.
- Tính hữu hạn và dừng: thuÁt toán phÁi có một số b¤ớc giÁi nhÃt ßnh và cuối cùng phÁi có kết thúc á iám dÿng.
- Tính kết quả: Với dă liáu hợp lý, thuÁt toán phÁi cho kết quÁ thỏa yêu cầu. 41
Downloaded by Rot Ca (rotca780@gmail.com) lOMoARcPSD| 37922327
Phan Thị Hà-Khoa CNTT1-Học viện CNBCVT
- Tính phổ dụng: ThuÁt toán phÁi giÁi ¤ợc nhißu bài toán có cùng cÃu trúc với các dă liáu khác
nhau và ßu d¿n ến một kết quÁ mong muốn.
- Tính hiệu quả: ThuÁt giÁi phÁi ¢n giÁn, dá hiáu trong các b¤ớc giÁi, tối thiáu hoá bộ nhớ và thßi gian thực hián.
-Tính hình thức: Các b¤ớc trong thuÁt toán là máy móc, nghĩa là nó phÁi thực hián úng nh¤
quy ßnh mà không cần biết ến mÿc tiêu cuối cùng.
ThuÁt toán có thá dißn giÁi một cách trực quan bằng l¤u ß (flowchart). L¤u ß ¤ợc sā dÿng
thông dÿng trong viác trình bày các b¤ớc cần thiết á giÁi quyết vÃn ß qua các hình khối khác
nhau và dòng dă liáu giăa các b¤ớc ¤ợc chỉ ßnh i theo các ¤ßng mũi tên.
Một số qui ¤ớc ký hiáu l¤u ß: Ký hißu Mô tÁ
Điám bắt ầu và kết thúc một thuÁt toán
Thao tác nhÁp hay xuÃt dă liáu Khối xā lý công viác
Khối quyết ßnh chán lựa Điám nối Chuẩn bß
TÁp hợp các tÁp tin dă liáu Khối ch¤¢ng trình con Các ghi chú, giÁi thích
Dòng tính toán, thao tác cāa ch¤¢ng trình
Ví dÿ: ThuÁt toán giÁi ph¤¢ng trình bÁc nhÃt : ax + b = 0, ta i qua các b¤ớc:
- B¤ớc 1: NhÁp vào 2 há số a và b. 42
Downloaded by Rot Ca (rotca780@gmail.com) lOMoARcPSD| 37922327
Phan Thị Hà-Khoa CNTT1-Học viện CNBCVT
- B¤ớc 2: Xét ißu kián a = 0 ?
Nếu úng là a = 0, thì i ến b¤ớc 3. Nếu không, nghĩa là a ≠ 0, thì i ến b¤ớc 4.
- B¤ớc 3: Xét ißu kián b = 0 ?
Nếu b = 0, thì báo ph¤¢ng trình có vô số nghiám. Ði ến b¤ớc 5.
Nếu b ≠ 0, thông báo ph¤¢ng trình vô nghiám. Ði ến b¤ớc 5.
- B¤ớc 4: Thông báo ph¤¢ng trình có một nghiám duy nhÃt là x = - b/a.
- B¤ớc 5: Ng¤ng dứt thuÁt toán
Ví dÿ: Với bài toán nh¤ trong ví dÿ 2.1, ta có thá trình bày với l¤u ß sau: Bắt ầu NhÁp a, b a = 0 ? Đ ¤¢ng trình vô nghiám Đ
¤¢ng trình vô số nghiám ¤
Hệ thống A
Hệ thống B
Giao thức tầng Āng dụng Trình diễn Giao vận Mạ g n Liên kết dữ l iệu
Downloaded by Rot Ca (rotca780@gmail.com) Vật lý lOMoARcPSD| 37922327
Phan Thị Hà-Khoa CNTT1-Học viện CNBCVT
1.4 M¾NG MÁY TÍNH (COMPUTER NETWORK)
1.4.1 Giới thiáu mô hình tham chi¿u OSI
Mô hình OSI (Open Systems Interconnection) là một c¢ sá cho viác chuẩn hóa các há thống
truyßn thông, nó ¤ợc nghiên cứu và xây dựng vào nm 1971 bái Tá chức tiêu chuẩn
Quốc tế ISO (International Standards Organization). Mÿc tiêu chính cāa mô hình OSI là nhằm
tới viác kết nối giăa các sÁn phẩm cāa các hãng sÁn xuÃt khác nhau và phối hợp các ho¿t
ộng chuẩn hóa trong các lĩnh vực vißn thông và há thống thông tin. Theo mô hình OSI, ch¤¢ng
trình truyßn thông ¤ợc chia thành 7 tầng chức nng khác nhau. Hai tầng ßng mức khi liên kết
với nhau phÁi sā dÿng một giao thức chung. Trong mô hình OSI có hai lo¿i giao thức chính
¤ợc áp dÿng: giao thức có liên kết (connection-oriented) và giao thức không liên kết (connectionless) -
Giao thức có liên kết: tr¤ớc khi truyßn dă liáu hai tầng ßng mức cần thiết lÁp một liên
kết logic và các gói tin ¤ợc trao ái thông qua liên kết này; viác có liên kết logic sẽ nâng cao ộ
an toàn trong truyßn dă liáu. -
Giao thức không liên kết: tr¤ớc khi truyßn dă liáu không thiết lÁp liên kết logic và mãi
gói tin ¤ợc truyßn ộc lÁp với các gói tin tr¤ớc hoặc sau nó.
Chức nng cāa các tầng trong mô hình OSI :
• TÅng ąng dāng (Application layer): tầng ứng dÿng qui ßnh giao dián giăa ng¤ßi sā dÿng
và môi tr¤ßng OSI, nó cung cÃp các ph¤¢ng tián cho ng¤ßi sā dÿng truy cÁp và sā dÿng
các dßch vÿ cāa mô hình OSI.
• TÅng trình bày (Presentation layer): tầng trình bày chuyán ái các thông tin tÿ cú pháp
ng¤ßi sā dÿng sang cú pháp á truyßn dă liáu. Ngoài ra nó còn có thá nén dă liáu truyßn
và mã hóa chúng tr¤ớc khi truyßn á Ám bÁo tính báo mÁt cho dă liáu.
• TÅng phiên (Session layer): tầng phiên qui ßnh một giao dián ứng dÿng cho tầng vÁn
chuyán sā dÿng. Nó xác lÁp ánh x¿ giăa các tên ặt ßa chỉ, t¿o ra các tiếp xúc ban ầu giăa
các máy tính khác nhau trên c¢ sá các phiên truyßn thông. Nó ặt tên nhÃt quán cho
mái thành phần muốn ối tho¿i riêng với nhau.
• TÅng vÁn chuyÅn (Transport layer): tầng vÁn chuyán xác ßnh ßa chỉ trên m¿ng, cách
thức chuyán giao gói tin trên c¢ sá trực tiếp giăa hai iám (end-to-end). Đá Ám bÁo ¤ợc
viác truyßn án ßnh trên m¿ng tầng vÁn chuyán th¤ßng ánh số các gói tin và Ám bÁo
chúng chuyán theo thứ tự.
• TÅng m¿ng (Network layer): tầng m¿ng có nhiám vÿ xác ßnh viác chuyán h¤ớng, v¿ch
¤ßng các gói tin trong m¿ng, các gói tin này có thá phÁi i qua nhißu chặng tr¤ớc khi ến ¤ợc ích cuối cùng. 44
Downloaded by Rot Ca (rotca780@gmail.com) lOMoARcPSD| 37922327
Phan Thị Hà-Khoa CNTT1-Học viện CNBCVT
• TÅng liên kÁt dữ lißu (Data link layer): tầng liên kết dă liáu có nhiám vÿ xác ßnh c¢
chế truy nhÁp thông tin trên m¿ng, các d¿ng thức chung trong các gói tin, óng các gói tin,…
• TÅng vÁt lý (Physical layer): tầng vÁt lý cung cÃp ph¤¢ng thức truy cÁp vào ¤ßng
truyßn vÁt lý á truyßn các dòng Bit không cÃu trúc. Ngoài ra, nó cung cÃp các chuẩn
vß ián, dây cáp, ầu nối, kā thuÁt nối m¿ch ián, ián áp, tốc ộ cáp truyßn d¿n, giao dián
kết nối và các mức kết nối,…
1.4.2 Khái niám vÁ mạng và k¿t nối mạng
Xét á mức ộ ¢n giÁn nhÃt, m¿ng (network) bao gßm hai máy tính nối với nhau bằng cáp
(cable) sao cho chúng có thá dùng chung dă liáu. Mái m¿ng máy tính dù có phức t¿p ến mÃy
cũng ßu bắt ngußn tÿ há thống ¢n giÁn ó. Ý t¤áng nối hai máy tính bằng cáp tho¿t nghe có
vẻ không có gì là phi th¤ßng, nh¤ng nếu nhìn l¿i, ó chính là một thành tựu lớn lao trong công nghá truyßn thông.
M¿ng máy tính ¤ợc phát sinh tÿ nhu cầu muốn chia sẻ và dùng chung tài nguyên dă liáu.
Máy tính cá nhân là công cÿ tuyát vßi giúp ta t¿o dă liáu, bÁng tính, hình Ánh và nhißu d¿ng
thông tin khác, nh¤ng nó l¿i không cho phép ta thuÁn tián chia sẻ dă liáu ta ã t¿o. Khi không
có há thống m¿ng, dă liáu phÁi ¤ợc in ra giÃy á ng¤ßi khác xem và hiáu chỉnh. Hay một cách
tốt h¢n là dùng ĩa mßm á sao chép rßi chuyán ến các máy tính khác. Tuy nhiên nếu ng¤ßi
khác thay ái tài liáu thì chúng ta không thá hợp nhÃt các thay ái này. Ph¤¢ng thức làm viác
kiáu này gái là làm viác trong môi tr¤ßng ộc lÁp. Mßt m¿ng ¢n giÁn
Nếu ng¤ßi dùng làm viác trong môi tr¤ßng m¿ng và nối máy tính cāa mình với các máy
tính khác, ng¤ßi này có thá sā dÿng dă liáu trên các máy khác và thÁm chí cÁ máy in. Một
nhóm máy tính và nhăng thiết bß ngo¿i vi kết nối với nhau ¤ợc gái là m¿ng, còn viác Ãu nối
các máy tính với nhau á sā dÿng chung tài nguyên gái là nối m¿ng (Networking).
Trên thực tế, hián nay có rÃt nhißu m¿ng khác nhau với qui mô phát trián và các dßch vÿ
ứng dÿng. Đá phân biát ¤ợc các lo¿i m¿ng này, ta có nhißu cách phân lo¿i m¿ng khác nhau
tùy thuộc vào yếu tố chính ¤ợc chán á làm chỉ tiêu phân lo¿i, chẳng h¿n ó là "khoÁng cách
ßa lý", "kā thuÁt chuyán m¿ch" hay */ Phân lo¿i theo khoÁng cách ßa lý, m¿ng máy tính gçm có: -
M¿ng cÿc bộ (Local Area Networks viết tắt là LAN) là m¿ng máy tính ¤ợc tá chức
trong ph¿m vi nhỏ khoÁng vài chÿc ki lô mét trá l¿i, ví dÿ m¿ng nội bộ c¢ quan, tr¤ßng hác, xí nghiáp, vn phòng ... -
M¿ng ô thß (Metropolitan Area Networks viết tắt là MAN) là m¿ng máy tính ¤ợc tá
chức trong ph¿m vi 100 ki lô mét trá l¿i, ví dÿ m¿ng thành phố, trung tâm kinh tế, khu công nghá cao... 45
Downloaded by Rot Ca (rotca780@gmail.com) lOMoARcPSD| 37922327
Phan Thị Hà-Khoa CNTT1-Học viện CNBCVT -
M¿ng dián rộng (Wide Area Network viết tắt là WAN) là m¿ng máy tính ¤ợc tá chức
trong ph¿m vi rộng, nh¤ m¿ng quốc gia, liên bang, châu lÿc . -
M¿ng toàn cầu (Global Area Network viết tắt là GAN) là m¿ng máy tính ¤ợc tá chức rộng khắp toàn cầu.
*/ Phân lo¿i theo kỹ thuÁt chuyÅn m¿ch, m¿ng máy tính gçm có: -
M¿ng chuyán m¿ch kênh (Circuit-switched Networks) là m¿ng thực hián viác kết nối
hai thực thá á hai ầu theo một kênh cố ßnh trong thßi gian truyßn tin. -
M¿ng chuyán m¿ch thông báo (Message-Switched Networks) thông tin truyßn i theo
một khuôn d¿ng quy ßnh, trong ó ¤ợc chỉ ßnh ích ến. Cn cứ vào thông tin ích ến các thông
báo có thá ¤ợc truyßn qua nhißu con ¤ßng khác nhau á ến ích. -
M¿ng chuyán m¿ch gói (Packet-Switched Networks) là m¿ng trong ó thông báo cần
gāi i ¤ợc chia nhỏ thành các gói (packet) có số l¤ợng bytes cố ßnh. Mãi gói tin có ßa chỉ ích
và ánh dÃu thứ tự và có thá i theo nhißu ¤ßng khác nhau á tới ích. Khi tới ích, chúng ¤ợc kết
nối l¿i với nhau theo theo thứ tự ã ¤ợc ánh số.
*/ Phân lo¿i theo kiÁn trúc m¿ng:
Chúng ta th¤ßng nghe nói ến m¿ng SNA cāa IBM, ISO cāa ISO hay m¿ng TCP/IP...Trong
m¿ng LAN và thÁm chí cÁ m¿ng WAN ng¤ßi ta còn phân chia m¿ng theo TOPO m¿ng:
M¿ng hình sao(STAR), m¿ng hình BUS, m¿ng hình vòng. Ngoài ra còn một số d¿ng biến
t¤ớng khác nh¤ m¿ng hình cây (TREE), m¿ng hình sao vòng, m¿ng hãn hợp...
1.4.3 Mạng cục bộ (Local Area Network - LAN)
M¿ng khái ầu với quy mô rÃt nhỏ, với khoÁng 10 máy tính ¤ợc nối với nhau và máy in.
Công nghá tin hác ã làm h¿n chế qui mô phát trián m¿ng nh¤ số l¤ợng máy tính kết nối với
nhau, khoÁng cách vÁt lý mà m¿ng có thá bao phā. Chẳng h¿n, á nhăng nm ầu thÁp kÿ 80,
ph¤¢ng pháp lắp ặt cáp phá biến nhÃt cũng chỉ cho phép chÿng 30 ng¤ßi với chißu dài cáp
tối a khoÁng 600 fít (xÃp xỉ 183m).
M¿ng cÿc bộ (LAN - Local Area Network) là một lo¿i m¿ng máy tính ¤ợc cài ặt trong
ph¿m vi ßa lý t¤¢ng ối nhỏ, chẳng h¿n một toà nhà, tr¤ßng hác, công sá .v.v. KhoÁng cách
lớn nhÃt giăa các máy tính trong m¿ng chỉ khoÁng d¤ới vài chÿc ki-lô-mét.
*/ Lÿi ích căa m¿ng cāc bß
Cũng giống nh¤ m¿ng nói chung, m¿ng cÿc bộ có một số lợi ích chính sau:
- Chia sẻ thông tin, tài nguyên:
M¿ng cÿc bộ cho phép nhißu ng¤ßi dùng truy cÁp vào CSDL chung, ¤ợc quÁn lý tÁp
trung trong các thiết bß l¤u tră. Ví nh¤ trong một công ty, các bộ phÁn khác nhau cùng sá
hău một bộ tài liáu nào ó, và t¿i bÃt kì thßi iám nào m¿ng cũng cho phép chia sẻ bộ tài liáu này .
- Truyßn dă liáu với tốc ộ cao: 46
Downloaded by Rot Ca (rotca780@gmail.com) lOMoARcPSD| 37922327
Phan Thị Hà-Khoa CNTT1-Học viện CNBCVT
Khi không sā dÿng m¿ng cÿc bộ, ng¤ßi ta sā dÿng con ng¤ßi và các dßch vÿ th¤ tín á gāi
tài liáu ến các n¢i khác nhau. Nhß có m¿ng cÿc bộ mà th¤ ián tā ¤ợc truyßn qua m¿ng tÿ một
tr¿m á n¢i này ến một tr¿m á n¢i khác. Đißu này làm tng tốc ộ truyßn thông tin và giÁm bớt chi phí công viác.
- GiÁm chi phí nhß viác chia sẻ tài nguyên, thiết bß:
Chức nng truyßn thông tốc ộ cao cāa m¿ng cÿc bộ cho phép tÃt cÁ các tr¿m chia sẻ các á
ĩa ( ĩa tÿ và ĩa quang), máy in, và các thiết bß khác, bái vÁy có thá giÁm bớt chi phí.
*/ Phân lo¿i m¿ng cāc bß M¿ng
cÿc bộ ¤ợc chia làm 2 lo¿i:
- M¿ng ngang hàng (Peer-to-Peer).
- M¿ng dựa trên máy chā (Server-based).
Sự phân biát giăa 2 lo¿i m¿ng nói trên là rÃt quan tráng do mãi lo¿i có nhăng khÁ nng
khác nhau. Lo¿i m¿ng b¿n sā dÿng sẽ phÿ thuộc vào một số yếu tố, nh¤ là:
- Quy mô tá chức (công ty, vn phòng).
- Mức ộ bÁo mÁt cần có. - Lo¿i hình công viác.
- Mức ộ hã trợ sẵn có trong công tác quÁn trß.
- Nhu cầu cāa ng¤ßi dùng m¿ng. - Ngân sách m¿ng. (-) M¿ng ngang hàng
M¿ng cÿc bộ kiáu ngang hàng không có sự phân biát giăa máy khách và máy chā. Các máy
có mối quan há bình ẳng với nhau. Nói cách khác, ó là một m¿ng cÿc bộ mà mãi máy ßu có
thá là máy khách hoặc máy chā. L¤u l¤ợng th¤ßng không bß tÁp trung trong há thống này.
M¿ng ngang hàng t¤¢ng ối ¢n giÁn. Vì mãi máy tính vÿa kiêm các chức nng máy chā và
máy khách, nên không cần có một máy phÿc vÿ trung tâm thÁt m¿nh và cũng không bắt buộc
phÁi có nhăng bộ phÁn cần thiết cho m¿ng máy tính công suÃt cao. Viác xây dựng m¿ng
ngang hàng có thá kinh phí sẽ thÃp h¢n so với m¿ng dựa trên máy chā. Máy chā / máy khách 47
Downloaded by Rot Ca (rotca780@gmail.com) lOMoARcPSD| 37922327
Phan Thị Hà-Khoa CNTT1-Học viện CNBCVT
Các máy tính ở m¿ng ngang hàng kiêm cÁ vai trò máy khách và máy chă (- ) M¿ng dựa trên máy chā
M¿ng cÿc bộ dựa trên máy chā bao gßm các máy khách và các máy chā chuyên dÿng.
Máy chā chuyên dÿng là máy chỉ ho¿t ộng nh¤ một máy chā chứ không kiêm luôn vai trò
máy khách hay tr¿m làm viác. Các máy khách nhÁn ¤ợc các dßch vÿ khác nhau do máy chā cung cÃp.
Viác truyßn thông trong há thống này chā yếu ¤ợc tiến hành giăa nhißu máy khách và
một vài máy chā, do vÁy l¤u l¤ợng thông tin sẽ tÁp trung vào ra các máy chā rÃt lớn.
M¿ng dựa trên máy chă
1.4.4 Cấu trúc liên k¿t mạng (Topology)
ThuÁt ngă cÃu trúc liên kết (hay còn gái là Topology) m¿ng máy tính chỉ sự sắp xếp các
tr¿m cuối ¤ợc gắn vào m¿ng. Các cÃu trúc liên kết th¤ßng dùng là hình sao (star), bus, và
vòng (ring). a/ Cấu trúc liên k¿t hình sao (Star)
M¿ng hình sao bao gßm một bộ ißu khián trung tâm, mãi tr¿m cuối ¤ợc kết nối vào bộ ißu
khián trung tâm này bằng các ¤ßng truyßn theo d¿ng hình sao. Bộ ißu khián Tr¿m cuối
CÃu trúc liên kÁt hình sao
Trong hình 4.4 á trên, mãi tr¿m cuối trong m¿ng hình sao ¤ợc kết nối tới bộ ißu khián
trung tâm (Hub/Switch) bằng một ¤ßng truyßn riêng biát (UTP), do ó nó t¿o ra d¿ng hình sao.
Bộ ißu khián trung tâm này ißu khián viác truyßn thông cho mãi tr¿m cuối. Viác truyßn thông 48
Downloaded by Rot Ca (rotca780@gmail.com) lOMoARcPSD| 37922327
Phan Thị Hà-Khoa CNTT1-Học viện CNBCVT
á ây bao gßm truyßn thông giăa tr¿m cuối với bộ ißu khián trung tâm hoặc giăa tr¿m cuối này
với tr¿m cuối khác thông qua bộ ißu khián trung tâm.
b/ Cấu trúc liên k¿t dạng BUS
M¿ng d¿ng BUS bao gßm một ¤ßng truyßn dă liáu tốc ộ cao duy nhÃt. Фßng truyßn này
¤ợc gái là bus và ¤ợc chia sẻ bái nhißu nút. BÃt cứ khi nào muốn truyßn dă liáu, tr¿m truyßn
Ãn ßnh ßa chỉ tr¿m ích và truyßn dă liáu lên bus.
Thông tin ¤ợc truyßn tÿ bÃt kì tr¿m cuối nào ßu ¤ợc gāi tới tÃt cÁ các nút. Một nút chỉ
nhÁn dă liáu khi nó nhÁn úng ßa chỉ dă liáu gāi cho nó. Mãi ầu cāa BUS ¤ợc gắn 1 bộ kết
cuối (terminator). Bộ kết cuối có tác dÿng chặn tín hiáu á tránh tình tr¿ng phÁn hßi tín hiáu.
Vì trong tr¤ßng hợp có tín hiáu phÁn hßi, ¤ßng truyßn sẽ bß nhißu và sẽ xuÃt hián lãi trong quá trình truyßn.
Bus (Фßng truyßn chia sẻ) Tr¿m nhÁn Tr¿m gāi
CÃu trúc liên kÁt hình BUS
Chú ý: Đối với Bus một chißu (có nghĩa là tín hiáu chỉ ¤ợc truyßn theo một h¤ớng) thì viác
phÁn hßi tín hiáu là cần thiết. 49
Downloaded by Rot Ca (rotca780@gmail.com) lOMoARcPSD| 37922327
Phan Thị Hà-Khoa CNTT1-Học viện CNBCVT
c/ Cấu trúc liên k¿t dạng vòng (Ring)
CÃu trúc liên kÁt d¿ng vòng
M¿ng có cÃu trúc liên kết d¿ng vòng có hình d¿ng một vòng tròn khép kín, các nút ¤ợc
nối với vòng t¿i các iám cách nhau một khoÁng nào ó. Thông tin ¤ợc truyßn trên vòng theo
một h¤ớng nhằm tránh xung ột. Do mãi nút có thá tái t¿o và lặp l¿i tín hiáu nên cÃu trúc liên
kết kiáu này phù hợp với các m¿ng có ph¿m vi rộng h¢n so với kiến trúc kiáu bus.
1.4.5 Ph¤¢ng tián truyÁn d¿n
Ngày nay, phần lớn m¿ng ¤ợc nối bằng dây d¿n hoặc cáp thuộc lo¿i nào ó, óng vai trò
nh¤ ph¤¢ng tián truyßn d¿n giăa các máy tính trong m¿ng. RÃt nhißu lo¿i cáp có thá áp ứng
các yêu cầu và qui mô m¿ng khác nhau, tÿ nhỏ ến lớn.
Đá tránh nhầm l¿n, Belden, một hãng sÁn xuÃt cáp hàng ầu, xuÃt bÁn một catalog liát kê
h¢n 2200 lo¿i cáp. Tuy nhiên chỉ có 3 nhóm cáp chính ¤ợc dùng á nối hầu hết các m¿ng. -Cáp ßng trÿc (coaxial)
-Cáp xoắn ôi (twisted-pair)
+ Cáp xoắn ôi trần (unshielded twisted-pair)
+ Cáp xoắn ôi có bác (shielded twisted-pair)
-Cáp sợi quang (fiber-optic) a/
Cáp ồng trục
Có một thßi gian, cáp ßng trÿc là cáp m¿ng thông dÿng nhÃt. Sá dĩ cáp ßng trÿc ¤ợc sā
dÿng rộng rãi là do: cáp ßng trÿc t¤ng ối rẻ tißn, nhẹ, mßm và dß kéo dây. Cáp ßng trÿc phá
biến ến mức nó trá thành ph¤¢ng tián lắp ặt an toàn và dß chÃp nhÁn.
á d¿ng ¢n giÁn nhÃt, cáp ßng trÿc gßm một lõi ßng nguyên chÃt ¤ợc bác chÃt cách ly,
một lớp bo vá bằng l¤ới kim lo¿i và một lớp vỏ bác ngoài (hình 4.7). Lớp chÃt cách ly và lớp
l¤ới kim lo¿i ¤ợc xem là lớp bác ôi. Tuy nhiên còn có lo¿i cáp bác 4 lớp dành cho môi tr¤ßng hay bß nhißu. Lớp vỏ bác ChÃt cách ly Lõi d¿n ián
Downloaded by Rot Ca (rotca780@gmail.com) lOMoARcPSD| 37922327
Phan Thị Hà-Khoa CNTT1-Học viện CNBCVT L¤ới ßng hay ống nhôm
b/ Cáp xoắn ôi
á d¿ng ¢n giÁn, cáp xoắn ôi gßm hai sợi dây ßng cách ly cuốn vào nhau. Cáp xoắn ôi
có hai lo¿i: cáp xoắn ôi không bác (UTP) và cáp xoắn ôi có bác (STP).
Một số dây xoắn ôi th¤ßng ¤ợc nhóm chung với nhau và ¤ợc quÃn kín trong vỏ bác bÁo
vá á t¿o thành sợi cáp. Số l¤ợng dây xoắn ôi trong các lo¿i cáp là khác nhau. Sự xoắn này làm
vô hiáu nhißu ián tÿ ây xoắn ôi kế cÁn và tÿ nhăng ngußn khác nh¤ mô t¢, máy biến thế.
c/ Cáp sợi quang
Cáp sợi quang gßm một sợi thuÿ tinh cực mÁnh, gái là lõi, ¤ợc bao bác bái một lớp thuÿ
tinh ßng tâm gái là lớp vỏ bác. Đôi khi các sợi ¤ợc làm bằng chÃt dẻo. ChÃt dẻo dß lắp ặt
hn nh¤ng không thá mang xung ánh sáng i xa nh¤ thuÿ tinh. Vỏ bác thuÿ tinh Lõi (sợi quang) Vỏ bÁo vá ngoài
Lõi sợi thuÿ tinh chỉ truyßn tín hiáu theo một h¤ớng nhÃt ßnh, do ó cáp có hai sợi nằm
trong vỏ bác riêng biát. Một sợi truyßn và một sợi nhÁn.
Cáp sợi quang có thá truyßn tín hiáu i xa h¢n và với tốc ộ cực nhanh (vß lý thuyết cáp
quang có thá truyßn tín hiáu với tốc ộ tối a 200.000Mb/s).
1.4.6 Các thi¿t bị liên k¿t mạng
Trên thực tế, mãi chuẩn m¿ng cÿc bộ ßu có nhăng giới h¿n vß khoÁng cách m¿ng, vß số
l¤ợng tr¿m tối a trong m¿ng. Đá có thá má rộng ¤ợc m¿ng, cần có các thiết bß á kết nối các
o¿n m¿ng l¿i với nhau. Các thiết bß liên kết m¿ng tiêu biáu - ó là: bộ lặp (repeater), HUB, cầu
nối (bridge), bộ ßnh tuyến (router) và bộ chuyán m¿ch LAN (LAN switche).
a/ Bộ lặp (repeater)
Bộ lặp là thiết bß tầng vÁt lý ¤ợc sā dÿng á kết nối các o¿n m¿ng l¿i với nhau. Bộ lặp cho
phép nhißu o¿n m¿ng có thá ho¿t ộng nh¤ một o¿n m¿ng ¢n lẻ. Bộ lặp nhÁn tín hiáu tÿ một
o¿n m¿ng, tái t¿o và truyßn tín hiáu này ến o¿n m¿ng khác. Nhß có bộ lặp mà tín hiáu bß suy
yếu do phÁi truyßn qua một o¿n cáp dài có thá trá l¿i d¿ng ban ầu và truyßn i ¤ợc xa h¢n. 51
Downloaded by Rot Ca (rotca780@gmail.com) lOMoARcPSD| 37922327
Phan Thị Hà-Khoa CNTT1-Học viện CNBCVT Bß lặp
Bộ lặp không dßch hoặc lác bÃt kỳ tín hiáu nào, nó không có khÁ nng xā lý l¤u l¤ợng.
TÃt cÁ các tín hiáu ián, bao gßm cÁ nhißu ián tÿ và các lãi khác cũng ¤ợc lặp và khuếch ¿i.
Đá bộ lặp ho¿t ộng, cÁ hai o¿n m¿ng nối tới bộ lặp phÁi sā dÿng cùng một ph¤¢ng thức truy
nhÁp ¤ßng truyßn. Ví dÿ, bộ lặp không thá nối một o¿n m¿ng sā dÿng ph¤¢ng thức CSMA/CD
(Carrier Sense Multiple Access/Collision Detection: Đa truy nhập cảm nhận sóng mang có
phát hiện xung ột) và một o¿n m¿ng sā dÿng ph¤¢ng thức chuyán thẻ bài (Token Ring).
Bộ lặp có thá di chuyán gói dă liáu tÿ ph¤¢ng tián truyßn d¿n này sang ph¤¢ng tián truyßn
d¿n khác. Chẳng h¿n, chúng có thá nhÁn một gói dă liáu tÿ một o¿n m¿ng dùng cáp ßng trÿc
và chuyán gói ó sang o¿n m¿ng sā dÿng b/ HUB
Một thiết bß liên kết m¿ng ¤ợc sā dÿng rÃt rộng rãi là HUB và viác sā dÿng HUB nh¤
thành phần trung tâm trong cÃu trúc hình sao. HUB */ HUB chă ßng
Hầu hết các HUB ßu là HUB chā ộng, chúng tái t¿o và truyßn l¿i tín hiáu giống nh¤ bộ
lặp. HUB th¤ßng có nhißu cáng nên thỉnh thong chúng còn ¤ợc gái là bộ lặp a cáng. */ HUB thā ßng
Các HUB thÿ ộng ho¿t ộng nh¤ các iám kết nối, chúng không tái t¿o hoặc khuếch ¿i tín
hiáu. BÁng phối dây là một ví dÿ vß HUB thÿ ộng. */ HUB lai
Các HUB thích ứng với nhißu lo¿i cáp khác nhau ¤ợc gái là HUB lai.
c/ Cầu nối (bridge)
Cầu nối là thiết bß ho¿t ộng á tầng liên kết dă liáu. Cũng giống nh¤ bộ lặp, cầu nối có thá
kết hợp nhißu o¿n m¿ng hoặc nhóm các m¿ng LAN khác nhau. Điám h¢n cāa cầu nối là chúng
có thá phân chia m¿ng nhằm cô lÁp l¤u l¤ợng. Ví dÿ, nếu l¤u l¤ợng tÿ một hoặc một nhóm
máy tính trá nên quá tÁi và làm giÁm hiáu suÃt toàn m¿ng thì cầu nối có thá cô lÁp máy tính hoặc bộ phÁn này.
Cầu nối ¤ợc sā dÿng á:
- Má rộng khoÁng cách cāa phân o¿n m¿ng, tng số l¤ợng máy tính trên m¿ng. 52
Downloaded by Rot Ca (rotca780@gmail.com) lOMoARcPSD| 37922327
Phan Thị Hà-Khoa CNTT1-Học viện CNBCVT
- Làm giÁm hián t¤ợng tắc nghẽn do số l¤ợng máy tính nối vào m¿ng quá lớn:
Cầu nối có thá tiếp nhÁn một m¿ng quá tÁi và chia nó thành hai m¿ng riêng biát, nhằm
giÁm bớt l¤u l¤ợng truyßn trên mãi o¿n m¿ng và do ó mãi m¿ng sẽ ho¿t ộng hiáu quÁ h¢n.
- Kết nối các ph¤¢ng tián truyßn d¿n khác nhau, chẳng h¿n cáp xoắn ôi và cáp quang.
- Kết nối các o¿n m¿ng sā dÿng ph¤¢ng thức truy nhÁp ¤ßng truyßn khác nhau, chẳng
h¿n CSMA/CD và chuyán thẻ bài.
c/ Bộ ịnh tuy¿n (router)
Trong môi tr¤ßng gßm nhißu o¿n m¿ng với giao thức và kiến trúc m¿ng khác nhau, cầu
nối không thá Ám bÁo truyßn thông nhanh trong tÃt cÁ các o¿n m¿ng. M¿ng có ộ phức t¿p
nh¤ vÁy cần một thiết bß không nhăng biết ßa chỉ cāa mãi o¿n m¿ng, mà còn quyết ßnh tuyến
¤ßng tốt nhÃt á truyßn dă liáu và lác l¤u l¤ợng quÁng bá trên các o¿n m¿ng cÿc bộ. Thiết bß
nh¤ vÁy ¤ợc gái là bộ ßnh tuyến.
Bộ ßnh tuyến là thiết bß ho¿t ộng á tầng m¿ng trong mô hình OSI. Đißu này nghĩa là chúng
có thá chuyán ái và ßnh tuyến gói dă liáu qua nhißu m¿ng. Bộ ßnh tuyến ác thông tin ßa chỉ
m¿ng trong gói tin và vì chúng ho¿t ộng t¿i tầng cao h¢n so với cầu nối trong mô hình OSI,
nên chúng truy cÁp nhißu thông tin khác.
Bộ ßnh tuyến có thá cung cÃp các chức nng cāa cầu nối:
- Lác gói và cô lÁp l¤u l¤ợng m¿ng
- Kết nối nhißu o¿n m¿ng
Tuy nhiên do bộ ßnh tuyến truy cÁp nhißu thông tin trong gói dă liáu h¢n so với cầu nối,
nên chúng dùng các thông tin này á cÁi thián viác phân phát gói dă liáu. Bộ ßnh tuyến ¤ợc sā
dÿng trong các tr¤ßng hợp m¿ng phức t¿p vì chúng cung cÃp chức nng quÁn lý l¤u l¤ợng tốt
h¢n cầu nối và không thực hián phát quÁng bá (chúng không truyßn các gói tin quÁng bá).
Các bộ ßnh tuyến có thá chia sẻ thông tin tr¿ng thái và thông tin ßnh tuyến với nhau và sā
dÿng thông tin này á bỏ qua các kết nối hỏng hoặc chÁm.
1.4.7 TruyÁn tín hiáu
M¿ng cÿc bộ sā dÿng hai kā thuÁt truyßn tín hiáu chính - ó là : truyßn bng c¢ sá (baseband)
và truyßn bng rộng (broadband). Tuy nhiên, hầu hết các m¿ng cÿc bộ ßu sā dÿng kā thuÁt truyßn bng c¢ sá. 53
Downloaded by Rot Ca (rotca780@gmail.com) lOMoARcPSD| 37922327
Phan Thị Hà-Khoa CNTT1-Học viện CNBCVT
a/ TruyÁn băng c¢ sở
Há thống bng c¢ sá truyßn tín hiáu số á một tần số ¢n lẻ. Tín hiáu ¤ợc truyßn d¤ới d¿ng
xung ián hoặc xung ánh sáng rßi r¿c. Đối với truyßn bng c¢ sá, toàn bộ dung l¤ợng kênh
thông cāa cáp, bng thông này t¿o thành một kênh.
Thiết bß truyßn tín hiáu n gin và rẻ tißn.
Vì kā thuÁt này sā dÿng tín hiáu số nên nó t¤ng thích với há thống máy tính. Tín hiáu số Tín hiáu số Tín hiáu số Фßng truyßn
Kỹ thuật truyền bă
ơ sở
Há thống bng rộng truyßn tín hiáu t¤¢ng tự á một khoÁng tần số biến thiên. Với công
nghá truyßn t¤¢ng tự, tín hiáu ¤ợc truyßn liên tÿc. Tín hiáu ¤ợc truyßn qua ph¤¢ng tián vÁt
truyßn ¤ợc dùng á truyßn một tín hiáu dă liáu. Tín hiáu số sā dÿng toàn bộ bng Kā thuÁt này có một số ặc iám sau:
b/ TruyÁn băng rộng
lý d¤ới d¿ng sóng ián tÿ hoặc sóng ánh sáng.
Khi sā dÿng kā thuÁt truyßn bng rộng, tín hiáu số tÿ máy tính phÁi ¤ợc ißu chế tr¤ớc khi truyßn i. 54
Downloaded by Rot Ca (rotca780@gmail.com) lOMoARcPSD| 37922327
Phan Thị Hà-Khoa CNTT1-Học viện CNBCVT Tín hiáu số Tín hiáu t¤¢ng tự Tín hiáu số Фßng truyßn Tần số
Kỹ thuật truyền băng rộng
Kā thuÁt này có nhăng ặc iám sau:
- Chi phí cao do cần một MODEM ặc biát á ißu chế tín hiáu.
- Cung cÃp nhißu kênh truyßn d¿n khác nhau do sā dÿng các tần số sóng mang khác nhau á ißu chế.
Vì kā thuÁt này sā dÿng nhißu kênh nên viác truyßn tín hiáu theo bng rộng cho phép truyßn
ßng thßi nhißu d¿ng dă liáu khác nhau, ngoài dă liáu còn cho phép truyßn tho¿i và hình Ánh
cho hội nghß truyßn hình và truyßn hình cáp.
1.4.8 Ph¤¢ng thāc truyÁn d¿n
Viác truyßn dă liáu trong m¿ng máy tính ¤ợc thực hián một trong 3 lo¿i sau: unicast,
multicast, và broadcast. Trong các lo¿i truyßn này, một gói dă liáu ¢n ¤ợc chuyán tới một hoặc nhißu nút.
à ph¤¢ng thức truyßn unicast (truyßn tới một iám), một gói dă liáu ¢n ¤ợc gāi tÿ ngußn ến
một ích trên một m¿ng nào ó. Đầu tiên, nút ngußn ặt ßa chỉ cho gói dă liáu bằng cách sā dÿng
ßa chỉ unicast. Sau ó gói dă liáu này ¤ợc chuyán tới m¿ng và cuối cùng m¿ng chuyán gói dă
liáu này ến úng ích cāa nó.
à ph¤¢ng thức truyßn multicast (truyßn tới nhißu iám), một gói dă liáu ¢n ¤ợc sao chép và
gāi tới một nhóm các nút trên một m¿ng nào ó. Đầu tiên, nút ngußn ặt ßa chỉ cho gói dă liáu
bằng cách sā dÿng ßa chỉ multicast. Sau ó gói dă liáu ¤ợc gāi ến m¿ng, m¿ng sao chép gói dă
liáu này và gāi nó ến mãi nút thành viên cāa ßa chỉ multicast này.
à ph¤¢ng thức truyßn broadcast (truyßn quÁng bá), một gói dă liáu ¢n ¤ợc sao chép và gāi
cho tÃt cÁ các nút trên một m¿ng nào ó. Đầu tiên, nút ngußn ặt ßa chỉ cho gói dă liáu bằng
cách sā dÿng ßa chỉ broadcast. Sau ó gói dă liáu ¤ợc gāi ến m¿ng, m¿ng sao chép và gāi gói
dă liáu ến tÃt cÁ các máy tính á m¿ng ích.
1.4.9 Mạng Internet/Intranet a/ Lịch sử
phát triển cÿa mạng Internet
Nm 1968 C¢ quan các dự án nghiên cứu cÃp cao (Advanced Research Project
AgencyARPA) cāa Bộ quốc phòng Mā ã ß ra dự án kết nối m¿ng giăa Bộ quốc phòng Mā
với một số c¢ sá nghiên cứu khoa hác lớn á Mā. Mùa thu 1969 viác kết nối giăa 4 tr¿m (Vián
nghiên cứu Stanford, Đ¿i hác California á Los Angeles, Đ¿i hác California á Santa Barbara 55
Downloaded by Rot Ca (rotca780@gmail.com) lOMoARcPSD| 37922327
Phan Thị Hà-Khoa CNTT1-Học viện CNBCVT
và Đ¿i hác Utah) thành công ánh dÃu sự ra ßi cāa ARPANET, tißn thân cāa INTERNET hôm
nay. Giao thức truyßn thông lúc ó ¤ợc dùng là NCP (Network Control Protocol). Các nhà
thiết kế ngay tÿ buái ban ầu ó cũng ã nhÁn thức ¤ợc rằng cần xây dựng m¿ng=. Giăa nhăng nm 70 há giao thức TCP/IP ¤ợc Vin cerf ( ¿i hác Stanford) và Robert
Kahn phát trián, ến nm 1983 thì há giao thức này hoàn toàn thay thế NCP trong ARPANET.
ARPANET thành công vang dội và ến nm 1983 thì ¤ợc tách làm 2 : một gái là MILNET
dành cho các ßa iám quân sự còn ARPANET mới dành cho các ßa iám phi quân sự. Tuy nhiên
2 m¿ng này v¿n còn liên kết với nhau nhß vào giao thức IP (Internet Protocol – Giao thức
Internet) và TCP (transmission Control Protocol – Giao thức ißu khián truyßn tin). Giao thức
TCP là một giao thức trong ó các thông tin ¤ợc số hóa và phân chia thành hàng lo¿t các gói á
truyßn i, sau ó các gói này ¤ợc lắp ráp l¿i t¿i n¢i nhÁn. Há thống các gói ¤ợc t¿o ra nh¤ vÁy
nhằm Ám bÁo cho thông tin ¤ợc truyßn i ká cÁ khi một phần cāa m¿ng máy tính không ho¿t
ộng. Giao thức IP nhằm Ám bÁo các thông tin ến úng ßa chỉ ng¤ßi nhÁn . Nh¤ vÁy bÃt kỳ
một máy tính nào tuân thā các giao thức TCP và IP ßu có thá liên há với nhau trong INTERNET.
Sau một thßi gian, kế ho¿ch sā dÿng ARPAnet không thực hián ¤ợc nh¤ mong muốn vì
một số lý do kā thuÁt và chính trß. Do vÁy, nm 1986, NSF (National Science Foundation –
Hội ßng khoa hác Quốc gia) ã xây dựng m¿ng riêng lÃy tên là NSFNet, m¿ng này ho¿t ộng
nhanh h¢n nhißu và ã nối với các trung tâm tính toán lớn (tốc ộ ¤ßng truyßn là 1.5 Mb/s thay
vì 560Kb/s trong ARPANet). Sự xuÃt hián m¿ng x¤¢ng sống NSFNet ã thúc ẩy sự tng tr¤áng
cāa Internet. Một xa lộ thông tin mới hình thành và nhißu tr¤ßng ¿i hác, vián nghiên cứu ã
tham gia vào cộng ßng Internet. Và sau ó các tá chức chính phā và giới kinh doanh cũng vào
cuộc và ngày càng chiếm tÿ tráng áng ká trong thế giới Internet. Vß mặt ßa lý Internet cũng
ã nhanh chóng v¤ợt ra khỏi n¤ớc Mā và trá thành m¿ng toàn cầu với vài chÿc triáu ng¤ßi
dùng nh¤ hián nay. Đến nm 1990 thì quá trình chuyán ái sang Internet hoàn tÃt và ARPANet
ngÿng ho¿t ộng. NSFNet giß ây cũng chỉ còn là một m¿ng x¤¢ng sống cāa m¿ng Internet.
Vß kiến trúc, Internet cũng ã có nhăng thay ái. Tr¤ớc ây ng¤ßi ta còn có thá ßnh nghĩa
còn chính xác năa vì nhißu m¿ng với kiến trúc khác (không dùng IP) nhß có cầu nối a giao
thức (multiprotocol gateway) nên v¿n có thá nối kết ¤ợc vào Internet và sā dÿng ầy ā các dßch
vÿ trông tin trên Internet.
b/ Internet và Intranet
Internet (th¤ßng ¤ợc ác theo khẩu âm tiếng Viát là "in-t¢-nét") là một há thống thông tin
toàn cầu có thá ¤ợc truy nhÁp công cộng gßm các m¿ng máy tính ¤ợc liên kết với nhau dựa
trên bộ giao thức sā dÿng chā yếu là TCP/IP. Há thống này truyßn thông tin theo kiáu nối
chuyán gói dă liáu (packet switching) dựa trên một giao thức liên m¿ng ã ¤ợc chuẩn hóa (giao
thức IP). Há thống này bao gßm hàng ngàn m¿ng máy tính nhỏ h¢n cāa các doanh nghiáp,
cāa các vián nghiên cứu và các tr¤ßng ¿i hác, cāa ng¤ßi dùng cá nhân và các chính phā trên toàn cầu.
M¿ng Internet mang l¿i rÃt nhißu tián ích hău dÿng cho ng¤ßi sā dÿng, một trong các tián
ích phá thông cāa Internet là há thống th¤ ián tā (email), trò chuyán trực tuyến (chat), máy 56
Downloaded by Rot Ca (rotca780@gmail.com) lOMoAR cPSD| 37922327
Phan Thị Hà-Khoa CNTT1-Học viện CNBCVT
truy tìm dă liáu (search engine), các dßch vÿ th¤¢ng m¿i và chuyán ngân và các dßch vÿ vß y
tế giáo dÿc nh¤ là chăa bánh tÿ xa hoặc tá chức các lớp hác Áo. Chúng cung cÃp một khối
l¤ợng thông tin và dßch vÿ kháng lß trên Internet.
Ngußn thông tin kháng lß kèm theo các dßch vÿ t¤¢ng ứng chính là há thống các trang
Web liên kết với nhau và các tài liáu khác trong WWW (World Wide Web). Trái với một số
cách sā dÿng th¤ßng ngày, Internet và WWW không ßng nghĩa. Internet là một tÁp hợp các
m¿ng máy tính kết nối với nhau bằng dây ßng, cáp quang, v.v.; còn WWW, hay Web, là một
tÁp hợp các tài liáu liên kết với nhau bằng các siêu liên kết (hyperlink) và các ßa chỉ URL và
nó có thá ¤ợc truy nhÁp bằng cách sā dÿng Internet. Trong tiếng Anh, sự nhầm l¿n cāa a số
dân chúng vß hai tÿ này th¤ßng ¤ợc châm biếm bằng nhăng tÿ nh¤ "the intarweb". Tuy nhiên
viác này không có gì khó hiáu bái vì Web là môi tr¤ßng giao tiếp chính cāa ng¤ßi sā dÿng
trên internet. Đặc biát trong thÁp kÿ ầu cāa thế kÿ 21 nhß sự phát trián cāa các trình duyát
web và há quÁn trß nội dung ngußn má ã khiến cho website trá nên phá biến h¢n, thế há web
2.0 cũng góp phần ẩy cuộc cách m¿ng web lên cao trào, biến web trá thành một d¿ng phần
mßm trực tuyến hay phần mßm nh¤ một dßch vÿ.
Các cách thức thông th¤ßng á truy cÁp Internet là quay số, bng rộng, không dây, vá tinh
và qua ián tho¿i cầm tay.
Bên c¿nh khái niám liên m¿ng (Internet), khái niám m¿ng nội bộ (Intranet) cũng xuÃt hián.
Intranet là m¿ng dùng riêng cho các yêu cầu ho¿t ộng nội bộ cāa một ¢n vß xã hội. Nó có thá
là m¿ng cÿc bộ hay m¿ng dián rộng, trong ó sā dÿng các công nghá cốt lõi cāa Internet dựa
trên nßn tÁng bộ giao thức TCP/IP. Tính chÃt rÃt quan tráng cāa Intranet là phÁi có kế ho¿ch
á bÁo vá thông tin nội bộ, không cho phép nhăng ng¤ßi không ¤ợc quyßn truy nhÁp c¢ sá dă
liáu cāa mình. Có nhißu cách ngn chặn nh¤: dùng mÁt khẩu, các bián pháp mã hoá hay bức
t¤ßng lāa (nh¤ng bức t¤ßng lāa rÃt khó ngn chặn "ng¤ßi nhà"). Một bián pháp bÁo vá hău
hiáu truyßn thống là chính sách và há thống quyết ßnh cho ai ¤ợc vào lĩnh vực dă liáu nào.
Một câu hỏi ặt ra: Ai là ng¤ßi quÁn lý Internet?
Thực tế là không có một c¢ quan quÁn lý tối cao cho toàn bộ m¿ng Internet. Một tá chức
có vai trò ißu phối tối cao các ho¿t ộng cāa Internet là Hiáp hội Internet viết tắt là ISOC
(Internet Society), là tá chức phi lợi nhuÁn tÁp hợp một số tá chức và cá nhân tự nguyán
tham gia vào các ho¿t ộng nhằm khuyến khích và phát trián sā dÿng Internet. C¢ quan lãnh
¿o cao nhÃt cāa ISOC là ban kiến trúc Internet viết tắt là IAB (Internet Architecture bÁoard).
Viác phân phối ßa chỉ cho các máy tính cāa ng¤ßi sā dÿng (host) nối vào Internet ban ầu do
chính ISOC trực tiếp làm. Nh¤ng tÿ nm 1992 do sự tng tr¤áng quá nhanh cāa Internet nên
công viác ó ¤ợc phân cÃp cho các Trung tâm thông tin m¿ng viết tắt là NIC
(Network Information Center). NIC cāa khu vực Châu á - Thái Bình d¤ng - gái là APNIC có
trÿ sá t¿i Tokyo, NhÁt bÁn. Hián nay á khu vực Châu á - Thái Bình D¤¢ng chỉ có 2 NIC quốc
gia cāa NhÁt bÁn và cāa Hàn Quốc. Hián t¿i APNIC á Tokyo v¿n chßu trách nhiám ißu
hành và phân phối ßa chỉ cho các Host á Viát nam. 57
Downloaded by Rot Ca (rotca780@gmail.com) lOMoARcPSD| 37922327
Phan Thị Hà-Khoa CNTT1-Học viện CNBCVT
c/ Một số dịch vụ c¢ bản cÿa Internet */
Th¤ ißn tā (E-mail)
Th¤ ián tā (Electronic Mail gái tắt là E-mail) là dßch vÿ thông dÿng nhÃt trên Internet. Đá
gāi hay nhÁn th¤, b¤ớc ầu tiên là xác ßnh chính xác ßa chỉ cāa th¤ cần gāi ến. CÃu trúc cāa th¤ ián tā nh¤ sau:
Tên người sử dụng @ Tên ầy ủ của vùng (domain)
Ví dÿ : hungnt@nitaco.com.vn
Trong ó tÿ phÁi sang trái theo thứ tự <
. vn: chỉ vùng ßa lý, vn viết tắt cāa Viát nam; phần cuối cāa tên vùng th¤ßng ßnh nghĩa
cho ho¿t ộng: EDU, NET, COM ... t¿i quốc gia nào (tÿ viết tắt cho quốc gia).
. com: chỉ m¿ng ho¿t ộng dßch vÿ Internet là ào t¿o (EDU), kinh doanh (COM),...
. nitaco: chỉ tên một máy chā cāa công ty NITACO
. hungnt: chỉ tên hộp th¤ cāa một Account truy nhÁp cāa thuê bao.
Đá gāi th¤ ián tā máy gāi th¤ và máy nhÁn th¤ không cần phÁi liên kết trực tiếp. Email
là một dßch vÿ kiáu l¤u (POP3) và chuyán tiếp (SMTP). Th¤ ián tā ¤ợc chuyán tÿ máy này
qua máy khác cho tới máy ích (giống nh¤ trong há thống b¤u chính thông th¤ßng: th¤ ¤ợc
chuyán ến tay ng¤ßi nhÁn sau khi ã i qua một số b¤u cÿc trung chuyán). Mãi ng¤ßi dùng
(client) ßu phÁi kết nối với một E-mail Server gần nhÃt ( óng vai trò b¤u cÿc ßa ph¤¢ng).
Sau khi so¿n tho xong th¤ và ß rõ ßa chỉ ích (ng¤ßi nhÁn), ng¤ßi sā dÿng sẽ gāi th¤ tới E-
mail Server cāa mình. E-mail Server này có nhiám vÿ chuyán th¤ ến ích hoặc ến một E-mail
Server trung gian khác. Th¤ sẽ chuyán ến E-mail Server cāa ng¤ßi nhÁn và ¤ợc l¤u t¿i ó. Đến
khi ng¤ßi nhÁn thiết lÁp một cuộc gái nối tới máy E-mail Server ó thì th¤ sẽ ¤ợc chuyán vß
máy cāa ng¤ßi nhÁn và ßng thßi v¿n còn l¿i trên máy chā cho ến khi máy chā ¤ợc dán dẹp.
Giao thức truyßn thống sā dÿng cho E-mail cāa Internet là SMTP
(Simple Mail Transfer Protocol). CÃu trúc cāa một th¤ ián tā th¤ßng gßm 2 phần: phần ầu
th¤ (header) và phần thân th¤ (body)
*/ M¿ng thông tin toàn cÅu (World Wide Web; viÁt tÃt là WWW):
Đây là dßch vÿ mới và m¿nh nhÃt trên Internet. WWW ¤ợc xây dựng trên kā thuÁt siêu
vn bÁn (Hypertext). Trong các trang vn bÁn có chứa nhăng tÿ mà khi ta chán có thá gái ra
thành một trang thông tin mới có nội dung chi tiết h¢n. Trên cùng một trang thông tin có thá
có nhißu d¿ng thông tin khác nhau nh¤ vn bÁn, Ánh hay âm thanh. Đá xây dựng các trang dă
liáu với các kiáu dă liáu khác nhau nh¤ vÁy, WWW sā dÿng một ngôn ngă có tên là ngôn ngă
siêu vn bÁn HTML (HyperText Markup Language)
HTML là một ngôn ngă ßnh d¿ng (hay ánh dÃu - Markup). Mãi táp tin vn bÁn ¤ợc ánh
dÃu bằng các thẻ (tag) HTML cho phép ng¤ßi sā dÿng có thá ác ¤ợc chúng trên máy tính cāa
mình hay qua m¿ng bằng một phần mßm gái là trình duyát Web (Web browser). 58
Downloaded by Rot Ca (rotca780@gmail.com) lOMoAR cPSD| 37922327
Phan Thị Hà-Khoa CNTT1-Học viện CNBCVT
Thẻ HTML là một o¿n mã ¤ợc giới h¿n bái các dÃu ngoặc nhán <<= và <>=. Ch¤ng trình
Web browser sẽ ác các thẻ khi thực hián ßnh d¿ng các táp tin trên màn hình. Các tài liáu có
trong WWW ßu là các táp tin HTML.
Đá thực hián viác truy nhÁp, liên kết các tài nguyên thông tin khác nhau theo kā thuÁt
siêu vn bÁn, WWW sā dÿng khái niám URL (Uniform Resource Locator). Đây chính là một
d¿ng tên á ßnh danh duy nhÃt cho một tài liáu hoặc một dßch vÿ trong Web. CÃu trúc cāa
một URL th¤ßng bao gßm các thành phần: Giao thức Internet ¤ợc sā dÿng, vß trí cāa Server
(domain name), tài liáu cÿ thá trên Server (path name) và có thá có thêm các thông tin ßnh danh khác.
Ví dÿ một tài liáu Web có thá có URL nh¤ sau:
http://www.nitaco.com/?ncms=about&nid=3 Trong ó:
- "http:" là chỉ Giao thức
- "www.nitaco.com" là chỉ tên Domain cāa máy chā WWW
- "?ncms=about&nid=3" là chỉ ¤ßng d¿n ến tài liáu trên server
http (HyperText Transfer Protocol) là một giao thức truyßn thông sā dÿng cho Web. Nh¤ng
vì Web có thá chÃp nhÁn các giao thức Internet khác nh¤ ftp, gopher, WAISE,...) nên URL
có thá có một tißn tố khác với http, chẳng h¿n:
gopher://gopher.msu.edu/...
Nh¤ vÁy, với ßa chỉ URL, Web cho phép b¿n truy nhÁp ến các tài nguyên thông tin tÿ các
dßch vÿ khác cāa Internet á trên các Server khác nhau.
Ho¿t ộng cāa Web cũng dựa trên mô hình client/server. T¿i tr¿m client, ng¤ßi sā dÿng sẽ
dùng Web browser á gāi yêu cầu tìm kiếm các táp tin HTML ến Web server á xa trên m¿ng
Internet nhß có ßa chỉ URL. Web server nhÁn các yêu cầu ó và thực hián rßi gāi kết quÁ vß
cho Web client. á ây Web browser sẽ biên dßch các thẻ HTML và hián thß nội dung các trang tài liáu trên màn hình.
Cho ến nay, nhißu hãng phần mßm ã chế tác các browser cho Web, thí dÿ: Mosaic cāa
NSCA, Nevigator cāa Netscape, Internet Explorer cāa Microsoft, Web Access cāa Novell,...
Trong khi ó nhißu hãng, nhißu tá chức và c ng¤ßi sā dÿng cũng ang rầm rộ phát trián các c¢
sá dă liáu cho Web với nhißu chā ß khác nhau, hứa hẹn nhăng khÁ nng ứng dÿng ngày càng
phong phú cāa Web trong t¤ng lai.
*/ Dßch vā truyÃn tßp (File Transfer Protocol viÁt tÃt là FTP)
Dßch vÿ truyßn táp trên Internet ¤ợc ặt tên theo giao thức mà nó sā dÿng là FTP (File Transfer Protocol).
FTP cho phép chuyán các táp tÿ một tr¿m này sang một tr¿m khác, bÃt ká các tr¿m ó á âu
và dùng há ißu hành gì, chỉ cần chúng ßu ¤ợc nối với Internet và có cài ặt FTP.
FTP là một ch¤¢ng trình phức t¿p vì có nhißu cácch khác nhau á xā lý táp và cÃu trúc táp,
ch¤a nói ến có nhißu cách l¤u tră táp khác nhau (Binary hay ASCII, nén hay không 59
Downloaded by Rot Ca (rotca780@gmail.com) lOMoARcPSD| 37922327
Phan Thị Hà-Khoa CNTT1-Học viện CNBCVT nén,v.v...)
Đá khái ộng FTP, tÿ tr¿m làm viác ta gõ ftp
ftp sẽ thiết lÁp liên kết với tr¿m xa và lúc ó b¿n sẽ phÁi làm các thao tác quen thuộc á ng
nhÁp vào há thống (login/password).
Sau khi trên màn hình hián thß dÃu nhắc ftp> b¿n có thá gõ tiếp các lánh cho phép truyßn
táp theo cÁ 2 chißu. Đá chuyán một táp tÿ máy cāa b¿n ến tr¿m xa thì dùng lánh put, ng¤ợc
l¿i muốn lÃy một táp tÿ tr¿m xa vß thì dùng lánh get với cú pháp t¤¢ng ứng nh¤ sau: ftp> put ftp> get
Nếu không chỉ ra tên táp ích thì bÁn sao sẽ lÃy cùng tên nh¤ táp ngußn. Ngoài put và get,
ftp còn nhißu lánh tián ích khác
Trong tr¤ßng hợp b¿n ch¤a ng ký (ch¤a có account) trên Internet thì b¿n sẽ không thá sā
dÿng ftp nh¤ trên ¤ợc vì b¿n ch¤a có login name/password á ng nhÁp vào máy. Tuy nhiên
các tác giÁ cāa ftp ã nghĩ ến ißu ó và cung cÃp dßch vÿ gái là FTP) cho phép nhăng ng¤ßi sā dÿng không có login name/password có thá truy nhÁp tới một
số táp nhÃt ßnh trên máy. TÃt nhiên là có sự h¿n chế: nhăng ng¤ßi ó chỉ có thá sao chép các
táp chứ không thá t¿o ¤ợc các táp mới hoặc biến ái các táp ã có. Khi dßch vÿ này ¤ợc cung
cÃp thì sẽ có một login name ặc biát gái là anonymous và nếu b¿n dùng nó làm login name
cāa b¿n thì ftp chÃp nhÁn một xâu ký tự bÃt kỳ nh¤ là password cāa b¿n. Sau khi ã ng nhÁp nh¤ một vô danh.
*/ Dßch vā truy nhÁp tÿ xa TELNET
TELNET là một giao thức á truy nhÁp vào một máy tính á xa á khai thác tài nguyên á máy
ó giống nh¤ ngßi làm viác á máy mình. Đißu cần thiết là máy tính cần nối vào Internet và có
ch¤¢ng trình TELNET. Giống với FTP khi cần vào một máy tính nào ó cần nhÁp tên truy
nhÁp và mÁt khẩu hoặc khai báo ßa chỉ e-mail.
Đá sā dÿng giao thức TELNET có nhißu phần mßm, phá biến nhÃt là ch¤¢ng trình
TELNET.EXE cāa WINDOWS95 (hoặc WINDOWS NT). M¿u lánh ¢n giÁn cāa ch¤¢ng trình TELNET có d¿ng: Telnet
Khi truy nhÁp ¤ợc vào máy tÿ xa, trÁ lßi ID và mÁt khẩu, lúc ó có thá khai thác máy chā
nh¤ là làm viác trên máy chā vÁy.
*/ Dßch vā nhóm tin-USENET (USER NETWORK)
Đây là dßch vÿ cho phép nhißu ng¤ßi sā dÿng á nhißu n¢i khác nhau có cùng mối quan
tâm có thá tham gia vào một nhóm tin khác nhau nh¤: nhóm tin nh¿c cá ián, nhóm tin vß hội háa, nhóm tin vß thá thao...Tên
( ßa chỉ) cāa các nhóm tin ¤ợc cÃu trúc theo kiáu phân cÃp. Nhóm rộng nhÃt sẽ ¤ớng ầu tên,
theo sau là một số tuỳ ý các nhóm 60
Downloaded by Rot Ca (rotca780@gmail.com) lOMoARcPSD| 37922327
Phan Thị Hà-Khoa CNTT1-Học viện CNBCVT music.classic
Dßch vÿ các nhóm tin sā dÿng giao thức NNTP (Network News Transfer Protocol) cāa Internet.
Trên Internet có nhißu Server tin (news server) khác nhau, trong ó tin tức ¤ợc thu thÁp tÿ
nhißu ngußn khác nhau. Ng¤ßi sā dÿng t¤ng tác với một server tin thông qua một ch¤¢ng
trình ¤ợc ặt tên là một server tin duy nhÃt, ó là server mình kết nối vào. Mái sự trao ái, t¤ng tác giă các server
tin và nhóm tin là hoàn toàn sā dÿng có thá nhÁn ¤ợc các thông tin mà mình quan tâm cāa nhißu ng¤ßi tÿ khắp mái n¢i,
ßng thßi có thá gāi thông tin cāa mình i cho nhăng ng¤ßi có cùng mối quan tâm. 61
Downloaded by Rot Ca (rotca780@gmail.com) lOMoARcPSD| 37922327
Phan Thị Hà-Khoa CNTT1-Học viện CNBCVT TÓM TÂT CH£¡NG I
1. KHÁI NIÞM THÔNG TIN
Thông tin là một khái niám trÿu t¤ợng, nó ¤ợc thá hián d¤ới nhißu d¿ng thức khác nhau.
Thông tin có thá ¤ợc phát sinh, ¤ợc l¤u tră, ¤ợc biến ái trong nhăng vÁt mang tin (gái là giá).
Thông tin ¤ợc biến ái bái các dă liáu và các dă liáu này có thá ¤ợc truyßn i, ¤ợc sao chép, ¤ợc
xā lý hoặc bß phá hāy. Thông tin ¤ợc thá hián bằng các d¿ng tín hiáu vÁt lý. 2. XĀ LÝ THÔNG TIN
S¢ ồ tổng quát cÿa một quá trình xử lý thông tin
3. TIN HàC
Tin hác là một ngành khoa hác công nghá nghiên cứu các ph¤¢ng pháp xā lý thông tin một
cách tự ộng dựa trên các ph¤¢ng tián kā thuÁt mà chā yếu hián t¿i là máy tính ián tā.Tin hác
hián ang ¤ợc ứng dÿng rộng rãi trong tÃt cÁ các ngành nghß khác nhau cāa xã hội tÿ khoa
hác kā thuÁt, y hác, kinh tế, công nghá sÁn xuÃt ến khoa hác xã hội, nghá thuÁt 4. HÞ ĐÀM
Há ếm là tÁp hợp các ký hiáu và qui tắc sā dÿng tÁp ký hiáu ó á biáu dißn và xác ßnh các
giá trß các số. Mãi há ếm có một số ký số (digits) hău h¿n và táng số ký số cāa mãi há ếm ¤ợc
gái là c¢ số (base hay radix), ký hiáu là b.
5. CÂU TRÖC TèNG QUÁT CĂA MÁY TÍNH ĐIÞN TĀ
Mãi lo¿i máy tính có thá có các hình d¿ng hoặc cÃu trúc khác nhau tùy theo mÿc ích sā
dÿng. Tuy nhiên, một máy tính muốn ho¿t ộng ¤ợc phÁi hội tÿ ā các yếu tố sau :
- Phần cứng : bao gßm các thiết bß vÁt lý mà ng¤ßi dùng có thá quan sát ¤ợc. Đó là
các bÁng m¿ch ián tā ¤ợc lắp ghép l¿i với nhau và ¤ợc cung cÃp ián nng á ho¿t ộng.
Phần cứng máy tính th¤ßng ¤ợc chia ra làm ba phần c¢ bÁn - ó là : Thiết bß nhÁp,
thiết bß xā lý và thiết bß xuÃt
- Phần mßm : bao gßm các ch¤¢ng trình ¤ợc viết bái các nhà lÁp trình nhằm mÿc ích
ißu khián các m¿ch ián tā cũng nh¤ thực hián các phép tính toán. Phần mßm th¤ßng
chia làm ba lo¿I c¢ bÁn - ó là : Há ißu hành, phần mßm ứng dÿng và phần mßm tián ích.
6. KHÁI NIÞM VÂ M¾NG MÁY TÍNH 62
Downloaded by Rot Ca (rotca780@gmail.com) lOMoARcPSD| 37922327
Phan Thị Hà-Khoa CNTT1-Học viện CNBCVT
à mức ộ ¢n giÁn nhÃt, m¿ng (network) bao gßm hai máy tính nối với nhau bằng cáp
(cable) theo một chuẩn nào ó sao cho chúng có thá dùng chung dă liáu. Mái m¿ng máy tính
dù phức t¿p ến âu i năa cũng ßu bắt ngußn tÿ há thống ¢n giÁn ó. Ch¤¢ng 2
Hà ĐIÀU HÀNH GIàI THIÞU
Ch¤¢ng này cung cÃp cho sinh viên các kiến thức sau: -
Khái niám và phân lo¿i há ißu hành. -
Giới thiáu vß há ißu hành (HĐH) MS-DOS, các lánh c¢ bÁn cāa HĐH MS-DOS. -
HĐH Windows, các khái niám, môi tr¤ßng làm viác, chi tiết vß h¤ớng d¿n sā dÿng Windows. -
Giới thiáu các há ißu hành khác. 63
Downloaded by Rot Ca (rotca780@gmail.com) lOMoARcPSD| 37922327
Phan Thị Hà-Khoa CNTT1-Học viện CNBCVT
2.1 KHÁI NIÞM VÀ PHÂN LO¾I
2.1.1 Khái niám
Há ißu hành là công cÿ á t¤¢ng tác giăa ng¤ßi sā dÿng và máy tính. Máy tính muốn ho¿t
ộng ¤ợc phÁi có ch¤¢ng trình hay còn gái là phần mßm. Thông th¤ßng phần mßm chúng ta
cÁm thÃy dùng nhißu nhÃt và nhìn thÃy rõ hiáu quÁ nhÃt là phần mßm ứng dÿng: Các phần
mßm quÁn trß c¢ sá dă liáu viết bằng Foxpro giúp ta quÁn lý nhăng c¢ sá dă liáu lớn một cách
tián lợi, Winword giúp chúng ta so¿n thÁo các vn bÁn, dùng trang tính ián tā excel chúng ta
có thá t¿o các báo cáo kế toán rÃt ẹp và chính xác... Tuy nhiên chúng ta không biết rằng các
phần mßm ó ã ¤ợc sự hã trợ rÃt ắc lực cāa một phÅn mÃm hß thång là hß iÃu hành (OS -
Operating System). Thực ra các phần mßm ứng dÿng th¤ßng chỉ có thá khái ộng tÿ há ißu
hành. Nghĩa là sau khi há ißu hành ã làm chiếc cầu nối với phần cứng máy tính, ã kiám tra và
¤a hàng lo¿t thiết bß nh¤ bộ nhớ , màn hình, máy in, á ĩa, bàn phím... vào tr¿ng thái sẵn sàng
làm viác. Ngay cÁ khi ang ho¿t ộng các ch¤¢ng trình ứng dÿng v¿n th¤ßng xuyên cần ến sự
trợ giúp cāa OS. OS nh¤ một ng¤ßi ầy tớ cần m¿n: chỉ cần ch¤¢ng trình ứng dÿng chuông là anh ta có mặt ngay=. OS có rÃt nhißu dßch vÿ có ánh số thứ tự, các ch¤¢ng trình
ứng dÿng có thá gái các dßch vÿ này thông qua các lánh ngắt t¤¢ng ứng. Nhăng lánh nh¤ má
file, óng file, copy file... các ch¤¢ng trình ứng dÿng ßu gái ến dßch vÿ OS. Có rÃt nhißu thao
tác cāa ng¤ßi sā dÿng cần làm bên ngoài các ch¤¢ng trình ứng dÿng: t¿o các th¤ mÿc, copy
các file, xóa file trên ĩa á lÃy chã trống... nghĩa là OS không nhăng là cầu nối giăa phần cứng
và các phần mßm ứng dÿng, mà còn là cầu nối giăa ng¤ßi sā dÿng với máy tính.
Tóm l¿i chúng ta có thÅ hiÅu hß iÃu hành nh¤ sau:
Hệ iều hành - theo nghĩa ầy ủ nhất của từ này - là phần mềm ầu tiên và quan trọng nhất
của hệ thống máy tính, là cầu nối giữa phần cứng và các phần mềm khác, giữa người sử dụng
với máy tính. Hệ iều hành quản lý các tài nguyên của máy tính: bộ nhớ, ĩa, máy in... ể các
phần mềm khác có thể sử dụng. Nói một cách ngắn gọn hơn, hệ iều hành là một tập hợp các
chương trình lo việc iều khiển hoạt ộng của máy tính và tạo môi truờng ể các phần mềm khác chạy ược.
2.1.2.Phân loại há iÁu hành.
Ng¤ßi ta phân lo¿i há ißu hành theo khÁ nng thực hián cùng lúc một hay nhißu ch¤¢ng
trình hoặc khÁ nng quÁn lý một hay nhißu máy tính.
Theo tiêu chí thứ nhÃt ta có 2 lo¿i há ißu hành: -
HĐH ơn nhiệm : t¿i một thßi iám chỉ có một ch¤¢ng trình ¤ợc thực hián. Các há ißu
hành trên máy tính cá nhân: PC-DOS cāa IBM và MS-DOS cāa Microsoft (DOS = Disk Operating System) -
HĐH a nhiệm: t¿i một thßi iám có thá thực hián nhißu ch¤¢ng trình (multitasking) và
các ch¤¢ng trình có thá trao ái thông tin cho nhau. Ví dÿ các há ißu hành Windows cāa
Microsoft, Linux, UNIX... Theo tiêu chí thứ 2 ta có: -
Hệ iều hành cho máy ơn lẻ : nh¤ PC-DOS, MS-DOS, WINDOWS 3.1,... - Hệ iều hành
mạng: nh¤ NOVELL NETWARE, LINUX, UNIX, WINDOWS NT, 64
Downloaded by Rot Ca (rotca780@gmail.com) lOMoARcPSD| 37922327
Phan Thị Hà-Khoa CNTT1-Học viện CNBCVT
WINDOWS SERVER 2000/2003/2008/2012...
2.2 HÞ ĐIÂU HÀNH MS - DOS
2.2.1. Các khái niám c¢ bÁn cāa MS-DOS
2.2.1.1 Các thành phần cơ bản của MS-DOS a)
Boot record: Mô un này chính là thẻ khái ộng sẽ khái ộng há ißu hành. Nhiám vÿ cāa
Boot Record là kiám tra trong th¤ mÿc cāa ĩa xem có các táp há thống IO.SYS, MSDOS.SYS
không? Hai táp há thống này ßu ¤ợc bÁo vá chống xoá, chống ghi è, mang dÃu hiáu há thống
và ¤ợc ẩn dÃu. Nếu DOS tìm thÃy thì n¿p hai táp IO.SYS, MSDOS.SYS vào bộ nhớ trong, sau
ó chuyán ißu khián cho IO.SYS b)
Táp há thống IO.sys : IO.SYS là sự má rộng cāa ROM-BIOS. CÁ ROM-BIOS và IO.SYS
ßu chứa các ch¤¢ng trình con ißu khián và xā lí các thiết bß vào ra ngo¿i vi.
Nh¤ng t¿i sao l¿i cần chia thành hai mo un: một ch¤¢ng trình thì ghi cứng trong ROMBIOS,
ch¤¢ng trình kia l¿i á trong táp ghi lên ĩa mßm? Đây là một ặc tr¤ng khá khôn ngoan, mßm
dẻo cāa các chuyên gia Microsoft nhằm dành một phần ch¤¢ng trình ißu khián ngo¿i vi cho
vào táp IO.SYS á dß sāa ái và cÁi cách chúng một cách ¢n giÁn. Ba nhiám vÿ chính cāa
IO.SYS mà ROM-BIOS không Ám nhiám là: -
Nhiám vÿ 1: Phÿc vÿ yêu cầu riêng ặc biát cāa tÿng há ißu hành. Các há ißu
hành khác DOS nh¤ CP/M-86, UCSD-p System ßu có thá sā dÿng ROM-BIOS trong
máy tính PC. Nói cách khác, IO.SYS là một táp ißu khián vào ra ặc thù cāa nhăng nhà
viết ch¤¢ng trình há ißu hành khác nhau, dß sāa ái và cÁi tiến, nâng cÃp. -
Nhiám vÿ 2: Sāa lãi xuÃt hián trong ROM-BIOS. Mặc dù ng¤ßi ta ã kiám tra
cực kì cẩn thÁn các ch¤¢ng trình n¿p trong ROM-BIOS vì nó là cố ßnh, tuy nhiên cũng
không tránh khỏi sai sót (ví dÿ sự cố Y2K). Vì thế cách thông th¤ßng nhÃt và ¢n giÁn
là sāa và cÁp nhÁt trên táp IO.SYS h¢n là sāa nội dung trong phần cứng ROM-BIOS.
Viác sāa lãi này bằng cách cho thực hián ặt có hiáu chỉnh các véc t¢ ngắt, còn các thao
tác vào ra c¢ sá thì l¿i gái thực hián các ch¤¢ng trình tÿ ROM-BIOS. (Há thống gái các
ch¤¢ng trình liên quan ến các ch¤¢ng trình trong ROM-BIOS luôn ho¿t ộng thông qua
sự ngắt, không thông qua ßa chỉ ROM). Thực ra á sāa lãi trong ROM-BIOS chúng ta có
thá ái ROM-BIOS với ch¤¢ng trình mới, nh¤ng sā dÿng ph¤¢ng pháp vÿa nêu có ¤u iám h¢n. -
Nhiám vÿ thứ 3: Đißu khián các ngo¿i vi mới ¤ợc nối với máy tính PC, máy vẽ,
máy quét. Viác quÁn lý và ißu khián các thiết bß mới dß giÁi quyết nếu các nhà lÁp
trình há thống sāa IO.SYS h¢n là sāa ch¤¢ng trình trong ROM-BIOS. Cùng với viác
xuÃt hián các thiết bß vào ra mới có trên thß tr¤ßng nối với máy tính PC, ng¤ßi ta
phÁi liên tÿc sāa các táp IO.SYS (thÁm chí sāa cÁ ch¤¢ng trình khác cāa DOS) cho nên
táp IO.SYS (và cÁ MSDOS.SYS ) luôn thay ái vß nội dung (thá hián bái số Byte và ngày
tháng t¿o táp). Sự sāa ái này cāa hãng làm phần mßm há thống Microsoft hay IBM
không có gì khó cÁ nh¤ng với ng¤ßi sā dÿng thì không thá làm ¤ợc vì khÁ nng và vì
sự thiếu thông tin há thống th¤ßng ¤ợc giă bí mÁt bái các nhà sÁn xuÃt.
Tuy nhiên, á ¿t ¤ợc sự thành công trong viác chiếm lĩnh thß tr¤ßng há ißu hành thì các
nhà sÁn xuÃt phÁi chißu ý khách hàng á cho ng¤ßi dùng khÁ nng tự má rộng, thay ái cÃu 65
Downloaded by Rot Ca (rotca780@gmail.com) lOMoARcPSD| 37922327
Phan Thị Hà-Khoa CNTT1-Học viện CNBCVT
hình máy tính PC ghép nối với ngo¿i vi. Khi nhÁn thức ¤ợc ißu này ká tÿ DOS 2.0 trá i, ng¤ßi
ta ã sāa ái DOS sao cho khi IO.SYS bắt ầu làm viác ầu tiên nó cÁp nhÁt thông tin tÿ táp cÃu
hình (CONFIG.SYS) trên ĩa (nếu có). Trong táp CONFIG.SYS, ng¤ßi dùng dß dàng ¤a vào
các thiết bß ngo¿i vi mới, các chế ộ ặt, các tham số há thống. Ngoài nhăng ißu ã nói, táp cÃu
hình còn chứa nhăng ch¤¢ng trình ißu khián thiết bß mà trong quá trình thao tác vào ra c¢ sá
phÁi có sẵn á dùng ến chúng. Đißu này có thá hiáu rằng nhăng ch¤¢ng trình ißu khián thiết
bß khi ặt trong CONFIG.SYS mà ¤ợc gái ến sẽ á vào bộ nhớ trong cāa máy tính PC nh¤ là
các ch¤¢ng trình phÿ lÿc cāa IO.SYS. Theo cách ó, há thống máy tính có thá phát trián theo
kiáu mô un với nhăng ngo¿i vi mới mà không cần ộng vào các táp há thống cāa DOS. Tuy
nhiên, thông th¤ßng bÃt kỳ một ch¤¢ng trình nào ch¿y trên IBM-PC ßu cần ến kiáu DOS
truyßn thống với các thao tác c¢ sá vào ra. c)
Táp há thống MSDOS.SYS: Trong hai táp há thống thì táp thứ hai này óng vai trò
trung tâm bao gßm các ch¤¢ng trình con dßch vÿ còn l¿i cāa DOS. Ng¤ßi ta có thá ghép
IO.SYS với MSDOS.SYS thành một táp nh¤ng á Ám bÁo mô un hoá nên chúng ¤ợc chia riêng á dß sāa ái.
Viác sā dÿng các ch¤¢ng trình con này ¤ợc thực hián bái ngắt mßm. Mãi một dßch vÿ DOS
th¤ßng là một ch¤¢ng trình con và ứng với nó ¤ợc ặt tên thành một hàm cāa DOS nhằm thực
hián một số các dßch vÿ (nhiám vÿ) trực tiếp và c¢ bÁn nh¤: ác ầu vào tÿ bàn phím, viết ầu
ra tới màn hình, viết thông tin qua kênh thông tin không ßng bộ, xā lý ầu ra máy in. Trong số
các dßch vÿ ó, th¤ßng chứa các thao tác con mang tính logic nh¤: má óng các táp trên ĩa, tìm
bÁng th¤ mÿc, xoá, t¿o táp song song với viác viết, ác các số liáu. à mức lÁp trình, ng¤ßi
lÁp trình có thá sā dÿng các dßch vÿ DOS thay vì phÁi viết ch¤¢ng trình á thực hián các thao tác hay dßch vÿ ã nêu.
Các ch¤¢ng trình DOS á mức cao h¢n th¤ßng làm nh¤ vÁy (ví dÿ các lánh DIR, COPY cāa DOS
thực hián dßch vÿ tìm bÁng th¤ mÿc).
Nếu chúng ta cũng nghiên cứu các dßch vÿ cāa ROM-BIOS thì có một số phần chức nng trùng
nhau nh¤ng không áng ká. Vß c¢ bÁn các dßch vÿ trong ROM-BIOS và các dßch vÿ chức nng trong DOS là khác nhau.
d) Ch¤¢ng trình COMMAND.COM và các lánh nội trú
COMMAND.COM có một vài chức nng:
Chức nng chính: Command.com là bộ xā lí lánh.Ch¤¢ng trình này ác các lánh ¤a vào tÿ bàn
phím và bộ xā lí lánh cāa COMMAND. COM sẽ quuyết ßnh cần phÁi làm gí với lánh
ó.Command.com sā dÿng một bÁng bên trong nó á chứa tên gái cāa các lánh nội trú.
Các lánh nội trú là các lánh mà ng¤ßi dùng hay dùng nh¤ CLS, DIR, CD, MD, RD, DEL,
COPY, TYPE, DATE, TIME, VER, VOL, PROMPT, REN, ...Chính vì lý do ¤ợc dùng
th¤ßng xuyên nên ng¤ßi ta bố trí chúng trong COMMAND.COM và l¤u trú á bộ nhớ trong á
tiết kiám thßi gian tìm kiếm trên ĩa. Khi ta gõ lánh thì tr¤ớc hết Command.com sẽ tìm tên
lánh trong bÁng lánh nội trú, nếu có thì cho thực hián lánh ó ngay; nếu không thì DOS sẽ tìm
tên file t¤¢ng ứng á á ĩa bên ngoài trong th¤ mÿc hián thßi hoặc trong các th¤ mÿc ã ặt ¤ßng
d¿n. Ba lo¿i uôi ch¤¢ng trình mà DOS có thá thực hián theo thứ tự ¤u tiên là: .COM,.EXE và .BAT. 66
Downloaded by Rot Ca (rotca780@gmail.com) lOMoAR cPSD| 37922327
Phan Thị Hà-Khoa CNTT1-Học viện CNBCVT
Khi ch¤¢ng trình COMMAND.COM tìm thÃy táp ch¤¢ng trình trên ĩa theo một trong ba
lo¿i ßnh hình trên, nó sẽ á táp ó xuống bộ nhớ và chuyán ißu khián cho ch¤¢ng trình tức là cho ch¤¢ng trình ch¿y.
e) Lánh ngoại trú: Là các lánh còn l¿i cāa há ißu hành ¤ợc bố trí trên ĩa á d¿ng các táp
ch¤¢ng trình. Tên các lánh ngo¿i trú có uôi .COM hoặc .EXE. Ví dÿ các lánh: SYS,
FORMAT, LABEL, FDISK, XCOPY, ATTRIB, SCANDISK, DEFRAG, UNDELETE,
DISKCOPY... Theo một quan iám nào ó (vß phía ng¤ßi dùng) thì các lánh ngo¿i trú là phần chā
yếu cāa há ißu hành ặc biát là nhăng lánh nếu thiếu nó chúng ta khó sā dÿng há ißu hành nh¤
FORMAT, FDISK. Một quan niám khác, thì các lánh ngo¿i trú chỉ là các ch¤¢ng trình làm
nhiám vÿ nh¤ các công cÿ thông th¤ßng, nh¤ các ch¤¢ng trình khác do
DOS quÁn lý; mãi khi gái ến, nó ¤ợc á xuống bộ nhớ trong và ch¿y, sau ó có thá ¤ợc các
ch¤¢ng trình gái sau ó ghi è lên.
2.2.1.2 . Tổ chức ĩa từ:
Tên é ĩa: Há ißu hành nhÁn biết ĩa mßm hay á ĩa cứng thông qua tên cāa chúng. Ví dÿ á ĩa
mßm có tên A hay B , á ĩa cứng ặt tên là C, D, á ĩa CD có tên là E,...
TÁp tin (file):TÁp (táp) tin là n¢i l¤u tră thông tin bao gßm ch¤¢ng trình, dă liáu, vn bÁn,...
Mãi tÁp tin có một tên riêng phân biát. Tên tÁp tin th¤ßng có 2 phần: phần tên (name) và
phần má rộng (extension). Phần tên là bắt buộc phÁi có cāa một tÁp tin, còn phần má rộng
thì có thá có hoặc không.
- Phần tên là một dãy có tÿ 1 ến tối a 8 ký tự có thá là: các ký tự chă tÿ A ến Z, các chă
số tÿ 0 ến 9, các ký tự khác nh¤ #, $, %, ~, ^, @, (, ), !, _
- Phần má rộng có tÿ 0 ến tối a 3 ký tự trong số các ký tự nêu á trên.
- Giăa phần tên và phần má rộng có một dÃu chÃm (.) ngn cách.
Tên tÁp tin không chÃp nhÁn các tr¤ßng hợp sau:
- Có khoÁng trống trong tên file
- Trùng tên với các lánh cāa DOS và lánh ißu khián thiết bß: CON, PRN, ...
- Có chứa các ký tự nh¤ ., ?, *, :, >, <, /, \, [, ], +, ;,
Phần má rộng có thá ¤ợc xem gần nh¤ há trong tên ng¤ßi. Ta có thá cn cứ vào phần má
rộng á xác ßnh kiáu cāa file: · COM, EXE, BAT : Các file khÁ thi và lánh bó ch¿y trực tiếp ¤ợc trên MS-DOS
· TXT, DOC, ... : Các file vn bÁn · PAS, BAS, ...
: Các file ch¤¢ng trình PASCAL, BASIC, ... · WK1, XLS, ...
: Các file ch¤¢ng trình bÁng tính LOTUS, EXCEL ... · DBF, DAT, ... : Các file dă liáu 67
Downloaded by Rot Ca (rotca780@gmail.com) lOMoARcPSD| 37922327
Phan Thị Hà-Khoa CNTT1-Học viện CNBCVT
Các ký tự ặc biát trên file: DOS dùng các ký tự sao (*) và chÃm hỏi (?) á mô tÁ một tÁp
hợp file. Ý nghĩa nh¤ sau:
· DÃu * dùng á ¿i dián cho một chuãi ký tự bÃt kỳ và thay cho phần còn l¿i cāa tên file
hoặc phần má rộng cāa file t¿i vß trí nó xuÃt hián trá vß sau.
· DÃu ? dùng á ¿i dián cho một ký tự bÃt kỳ t¿i vß trí nó xuÃt hián. Ví dÿ:
Trong ĩa cāa b¿n có các tÁp tin:
BAOCAO1.TXT, BAOCAO2.TXT, VANBAN.TXT, VANCAO.THO, SOLIEU.DAT
+ Ký hiáu BAOCAO?.TXT ¿i dián cho các tÁp tin BAOCAO1.TXT, BAOCAO2.TXT
+ Ký hiáu *.TXT ¿i dián cho BAOCAO1.TXT, BAOCAO2.TXT, VANBAN.TXT
+ Ký hiáu ???CAO?.* ¿i dián cho BAOCAO1.TXT, BAOCAO2.TXT, VANCAO.THO
+ Ký hiáu *.* hoặc duy nhÃt một dÃu chÃm . ¿i dián cho tÃt cÁ các tÁp tin trên ĩa
Th¤ māc (directory): Th¤ mÿc là n¢i cÃt giă các tÁp tin theo một chā ß nào ó theo ý
ng¤ßi sā dÿng. Ðây là bián pháp giúp ta quÁn lý ¤ợc tÁp tin, dß dàng tìm kiếm chúng khi cần
truy xuÃt. Các tÁp tin có liên quan với nhau có thá ¤ợc xếp trong cùng một th¤ mÿc.
BÁn thân mãi ĩa mang một th¤ mÿc chung gái là th¤ mÿc gốc (root directory). Th¤ mÿc
gốc không có tên riêng và ¤ợc ký hiáu là \ (dÃu xá phÁi: backslash). D¤ới mãi th¤ mÿc gốc
có các file trực thuộc và các th¤ mÿc con (sub-directory). Trong các th¤ mÿc con cũng có các
file trực thuộc và th¤ mÿc con cāa nó. Th¤ mÿc chứa th¤ mÿc con gái là th¤ mÿc cha (parent directory).
Th¤ mÿc ang làm viác gái là th¤ mÿc hián hành hay th¤ mÿc hián thßi (current directory).
â ĩa ang làm viác gái là á ĩa hián thßi.
Ta có thá dißn tÁ cÃu trúc th¤ mÿc và file chứa trong nó qua hình Ánh cây th¤ mÿc
(directory tree). Ví dÿ trên ĩa C, ta có 2 th¤ mÿc con cāa th¤ mÿc gốc là VANBAN và PASCAL, một táp là VB.TXT
Фãng d¿n (path): Фßng d¿n dùng á chỉ d¿n lộ trình tới th¤ mÿc hoặc truy nhÁp tới 68
Downloaded by Rot Ca (rotca780@gmail.com) lOMoARcPSD| 37922327
Phan Thị Hà-Khoa CNTT1-Học viện CNBCVT ộ áp nào ó. Ð¤ß ¿ ột dãy các th¤ ÿ á à , th¤ mÿc ứ
āa th¤ mÿc ứng tr¤ớc. Nói cách khác, ¤ß ¿n dùng á ỉ ßnh ¤ßng i tới th¤ ÿ ần ế
ãi táp nằm trong bộ nhớ ¤ợc xác ßnh bằng tên táp và <¤ßng d¿n= d¿n ến táp ó.
Ví dÿ: Ta có cây th¤ mÿc s Trong cây th¤ mÿc trên ây ta gái C: là ¤ßng d¿n cāa táp
GiÁ sā ¤ợc chỉ ra nh¤ sau
[ Tên á ĩa ] [ tên th¤ mÿc 1] [ tên th¤ mÿc 2]
[ Tên th¤ mÿc N ] < Tên táp >
trong ó th¤ mÿc sau là th¤ mÿc con cāa th¤ mÿc tr¤ớc. Khi ó
[Tên á ĩa]\[tên th¤ mÿc 1]\[tên th¤ mÿc 2]\...\[Tên th¤ mÿc N]\ ¤ợc gái là ußng d¿n cāa .
2.2.2 Quá trình làm viác cÿa MS-DOS:
Đá có thá yêu cầu máy tính thực hián ¤ợc các ứng dÿng ( các ch¤¢ng trình), thao tác ầu
tiên ta cần là khái ộng máy. Khi khái ộng máy HĐH ¤ợc n¿p vào bộ nhớ cāa máy tính, sau ó
chúng ta có thá khai thác các khÁ nng cāa há ißu hành.
Muốn khái ộng máy ta phÁi có ĩa há thống hay còn gái là ĩa khái ộng. Đĩa há thống là ĩa
có tối thiáu 3 táp tin io.sys , msdos.sys, command.com, trong ó hai táp tin ầu cần chiếm một vß trí ặc biát trên ĩa
Khi khái ộng máy tính th¤ßng th¤ßng máy sẽ tìm ĩa há thống theo thứ tự sau: ĩa mßm, ĩa
CD-ROM, ĩa cứng. Khi ó MS-DOS sẽ n¿p ba táp tin COMMAND.COM, IO.SYS và MSDOS.SYS
vào bộ nhớ RAM cāa máy tính. Sau khi DOS ã ¤ợc ¤a vào bộ nhớ á sẵn sàng làm viác dÃu
mßi sẽ xuÃt hián trên màn hình chß á ng¤ßi sā dÿng ánh lánh vào. Nhăng phần chính cāa DOS
sẽ l¤u trú trong bộ nhớ cho ến khi ta tắt máy.
2.2.3. Các lánh c¢ bản cÿa MS-DOS
2.2.3.1. Lệnh nội trú (internal command)
Lánh nội trú là nhăng lánh nằm th¤ßng trực trong bộ nhớ máy khi ã ¤ợc khái ộng và sẵn
sàng thực hián lánh khi ta gái ến. Lánh nội trú nằm trong phần khái ộng cāa MS-DOS chứa
trong các file COMMAND.COM, IO.SYS và MSDOS.SYS. 69
Downloaded by Rot Ca (rotca780@gmail.com) lOMoARcPSD| 37922327
Phan Thị Hà-Khoa CNTT1-Học viện CNBCVT
+ TÁp tin COMMAND.COM là tÁp tin quan tráng nhÃt, có nhiám vÿ thông dßch lánh và
xā lý các lánh nội trú. Khi khái ộng máy, COMMAND.COM ¤ợc n¿p vào bộ nhớ RAM. Khi
nhÁn ¤ợc lánh tÿ bàn phím, tÁp tin này sẽ nhÁn dián và ißu khián viác thi hành các lánh tÿ ng¤ßi sā dÿng.
+ Hai tÁp tin IO.SYS và MSDOS.SYS là hai tÁp tin ẩn, nó cũng ¤ợc n¿p vào RAM khi khái
ộng máy. Chúng có nhiám vÿ quÁn lý và ißu khián các thiết bß ngo¿i vi và các tÁp tin trên ĩa.
TÁp lánh nội trú gßm các lánh chính th¤ßng dùng nh¤:
· Các lánh liên quan ến th¤ mÿc: DIR, CD, MD, RD, PATH, TREE, ...
· Các lánh liên quan ến file: TYPE, DEL, COPY, REN, ...
· Các lánh thßi gian: TIME, DATE
· Các lánh khác: PROMPT, CLS, VER, VOL,...
Các lßnh nßi trú c¢ bÁn:
Chú ý: Trong phần này chúng tôi có sā dÿng một số qui ¤ớc nh¤ sau: drive: Tên á ĩa path: Фßng d¿n ÿ: Phím Enter : Bắt buộc phÁi có
[Nhăng thông tin nằm trong phần ngoặc vuông]: Không bắt buộc (tùy thuộc vào tÿng yêu cầu cāa câu lánh) * ChuyÅn é ĩa:
Cú pháp: Ký tự á ĩa : > hoặc < drive : > Với
drive: là á ĩa cần chuyán ến.
Muốn chuyán tÿ á ĩa C sang á ĩa A ta gõ C:\> A: rßi nhÃn nút Enter. T¤¢ng tự chuyán tÿ A: sang U: ta gõ lánh U:
* Lißt kê th¤ māc (DIR)
Hián thß danh sách các tÁp tin và các th¤ mÿc con có trong th¤ mÿc. Cú pháp:
DIR [drive :] [path][/P][/W][/A : attribs][/O : sortorder] Ghi chú:
/P : hián thß tÿng trang màn hình (Page)
/W : hián thß theo hàng ngang (Wide), l¤ợt bỏ bớt số liáu vß
kích th¤ớc byte, ngày, giß. 70
Downloaded by Rot Ca (rotca780@gmail.com) lOMoARcPSD| 37922327
Phan Thị Hà-Khoa CNTT1-Học viện CNBCVT /A :
hián thß thuộc tính (Attribut) cāa file /O:
các ý ßnh hián thß trÁt tự sắp xếp:
N : theo alphabetic tên file;
E : theo alphabetic tên phần má rộng S :
theo kích th¤ớc bytes (tÿ nhỏ ến lớn) D :
theo ngày tháng và giß (tÿ tr¤ớc ến nay) G :
theo nhóm th¤ mÿc tr¤ớc
*T¿o th¤ māc mái (Make Directory - MD)
T¿o một th¤ mÿc mới trong á ĩa hoặc th¤ mÿc hián hành.
Cú pháp: MD [drive :][path]
*Ðéi th¤ māc (Change Directory - CD)
Cú pháp: CD [drive :] [path] Ví dÿ C:\>CD PASCAL sẽ có C:\PASCAL>_ Ghi chú:
- Tÿ th¤ mÿc con, muốn trá vß th¤ mÿc cha, ta gõ: CD..
- Nếu muốn vß thẳng th¤ mÿc gốc, ta gõ: CD\
- Ðá hián thß ¤ßng d¿n hián hành, ta gõ: CD
*Xem nßi dung tÁp tin trên màn hình (TYPE) Cú pháp: TYPE [drive:][path] Ghi chú:
- Lánh TYPE dùng hián thß một tÁp tin vn bÁn chứa mã ASCII mới ác ¤ợc.
- Các file chứa mã nhß phân cāa ch¤¢ng trình nh¤ các file *.EXE, *.COM,*.BIN,... thì
khi gõ lánh TYPE sẽ không ác bình th¤ßng ¤ợc.
*Xóa th¤ māc (Remove Directory - RD)
Xoá bỏ một th¤ mÿc con rãng (không chứa các tÁp tin và th¤ mÿc con). Cú pháp: RD [drive :]
*Sao chép tÁp tin (COPY)
Cú pháp 1: sao chép tÁp tin sang một vß trí khác.
COPY [drive1 :][path1] [drive2:][path2][] Ghi chú: 71
Downloaded by Rot Ca (rotca780@gmail.com) lOMoARcPSD| 37922327
Phan Thị Hà-Khoa CNTT1-Học viện CNBCVT -
Muốn copy một nhóm tÁp tin, ta có thá dùng các ký tự ¿i dián cāa tÁp tin là dÃu * hoặc ? trong -
Nếu không viết thì máy sẽ hiáu là sao chép mà không ái tên tÁp tin. Khi
ó á ĩa [drive1:] phÁi khác [drive2:] hoặc ¤ßng d¿n khác -
Khi không chỉ rõ à ĩa và ¤ßng d¿n thì máy sẽ hiáu ang thực hián trên á ĩa và th¤ mÿc hián hành.
Cú pháp 2: cho phép nối các tÁp tin có sẵn thành một tÁp tin mới chung. COPY + [+ ... + ] [] Ghi chú: -
Nếu không ặt tên tÁp tin mới thì tÃt cÁ các tÁp tin sẽ ghép chung vào - Nếu
ã có thì nội dung cũ sẽ ¤ợc thay bằng nội dung mới. -
Tên không ¤ợc trùng với tên các tÁp tin cần ghép.
Cú pháp 3: sao chép tÁp tin ra máy in. COPY [path] PRN
Cú pháp 4: dùng lánh COPY á t¿o ra một tÁp tin vn bÁn ¢n giÁn COPY CON [path] Ghi chú: -
Sau khi gõ Enter, ta có thá ánh vào một vài o¿n vn trên bàn phím tùy ý. Muốn kết thúc,
ánh tá hợp phím Ctrl+Z hay F6 và Enter á l¤u tră. -
Khi gõ Enter á xuống dòng, ta không di chuyán con trỏ trá lên dòng trên ¤ợc. -
Lãi vn bÁn sai không thá sāa nội dung trực tiếp khi ã l¤u, ngo¿i trÿ phÁi dùng các
trình so¿n thÁo vn bÁn khác.
* Xoá tÁp tin (Delete - DEL)
Cú pháp: DEL [drive:][path][/P] Ghi chú:
- Có thá xoá một lo¿t nếu dùng các ký tự * và ?
- [/P] t¿o nhắc á xác ßnh tÿng tÁp tin muốn xóa
- Xóa tÃt cÁ các tÁp tin thì dùng lánh DEL *.* khi ó máy sẽ hỏi l¿i :
All files in directory will be deleted !
(TÃt cÁ các tÁp tin sẽ bß xóa !) Are you sure (y/n) ? _
(B¿n có chắc không (y/n) ?)
Gõ y (yes) nếu muốn xóa tÃt cÁ và n (no) khi không muốn dùng lánh xóa tÃt cÁ. 72
Downloaded by Rot Ca (rotca780@gmail.com) lOMoARcPSD| 37922327
Phan Thị Hà-Khoa CNTT1-Học viện CNBCVT
- Lánh DEL không xóa các tÁp tin ẩn (hiden) và tÁp tin chỉ ác (read only).
Muốn xoá các tÁp tin này ta phÁi dùng lánh ATTRIB ngo¿i trú á thay ái thuộc tính cāa nó.
- Nếu DEL một th¤ mÿc thì xóa hết các tÁp tin trong th¤ mÿc ó.
*Ðéi tên tÁp tin (Rename - REN) Cú pháp: REN [drive:][path] Ghi chú:
- : tên tÁp tin cũ cần ái : tên tÁp tin mới
- Tr¤ßng hợp tÁp tin mới ã có tên rßi hoặc không có tÁp tin cũ, máy sẽ báo:
Duplicate file name or file not found
*Xóa màn hình (ClearScreen - CLS) Cú pháp: CLS
*DÃu ÿi lßnh (PROMPT) Cú pháp: PROMPT [$text] Ghi chú:
- Lánh này ßnh d¿ng l¿i dÃu ợi lánh cāa MS-DOS theo ý riêng cāa ng¤ßi sā dÿng.
- $text là chuãi các ký tự liên tiếp nhau, tr¤ớc mãi ký tự có ký hiáu $ $P
: á ĩa và th¤ mÿc hián hành $G : dÃu > $L : dÃu < $Q : dÃu = $T : giß hián hành $D : ngày hián hành $N : á ĩa hián hành $V : phiên bÁn cāa MS-DOS $_ : xuống hàng
*Xem và chỉnh thãi gian (TIME) Cú pháp: TIME [hh:mm:ss] Ghi chú:
- Sau khi Enter, trên màn hình sẽ xuÃt hián giß phút giây hián t¿i cāa há thống. Ví dÿ : TIME Current Time is 9 : 30 : 15 73
Downloaded by Rot Ca (rotca780@gmail.com) lOMoAR cPSD| 37922327
Phan Thị Hà-Khoa CNTT1-Học viện CNBCVT ế u không c ần thay á ß Ãn Enter á Á ố ỉ ß Á ß ợ ¿ ß ỏ ỉ ẽ án ngày tháng nm hiá ¿ ā á ố ng.
áu ngày tháng nm do ng¤ß ā ÿ ế Á Enter new time : _ Cú pháp: Ghi chú: Ví dÿ :
- Nếu không muốn thay ái ngày tháng cāa há thống, ta gõ Enter á xác nhÁn.
- Nếu muốn thay ái ngày tháng, ta gõ theo thứ tự số : tháng-ngày-nm
Chú ý: khi gõ sai, máy sẽ báo : Invalid date (ngày tháng không hợp lá). Khi ó ngày tháng
cāa há thống v¿n giă nguyên và ta phÁi dùng lánh DATE á nhÁp l¿i ngày tháng cho há thống.
Các máy tính Pentium hián nay ßu thá hián phần nm là 4 con số, ví dÿ :
Current date is Fri 08-04-2000
2.2.3.2 Lệnh ngoại trú ( external command) 74
Downloaded by Rot Ca (rotca780@gmail.com) lOMoARcPSD| 37922327
Phan Thị Hà-Khoa CNTT1-Học viện CNBCVT
Nh¤ ta ã biết lánh ngo¿i trú cũng là nhăng lánh chứa các chức nng nào ó cāa há ißu hành
nh¤ng ít ¤ợc sā dÿng h¢n lánh nội trú nên ¤ợc á trên ĩa hay th¤ mÿc riêng á ỡ tốn bộ nhớ. Các
lánh ngo¿i trú phÁi ¤ợc n¿p tÿ ĩa vào trong bộ nhớ mới ch¿y ¤ợc. Khi thực hián xong câu lánh,
vùng bộ nhớ có chứa câu lánh ngo¿i trú ó sẽ bß thu hßi. Các tÁp lánh ngo¿i trú có phần má
rộng là EXE hay COM hoặc BAT. Khi gái lánh mà máy không tìm thÃy trên màn hình hình sẽ
xuÃt hián câu báo lãi Bad command or file name (Sai lánh hoặc không có tên tÁp tin). Các lánh ngo¿i trú nh¤:
· Các lánh liên quan ến á ĩa: FORMAT, LABEL, CHKDSK, DISKCOPY, ...
· Các lánh liên quan ến tá chức há thống: SYS, TREE, DELTREE, ...
· Các lánh liên quan ến tÁp tin: UNDELETE, ATTRIB, FIND, ...
· Các lánh khác: PRINT, GRAPHICS, SORT, ...
Mßt så lßnh ngáai trú th¤ãng dùng:
* T¿o khuôn ĩa (FORMAT)
Lánh FORMAT có tác dÿng khái t¿o khuôn cho một ĩa mới hay t¿o l¿i d¿ng khuôn cho ĩa
cũ. Khi thực hián lánh FORMAT xong thì toàn bộ dă liáu trong ĩa cũ hoàn toàn bß xoá s¿ch. Cú pháp:
FORMAT [drive :][/S][/U][/Q][/V[:label]] Ghi chú:
- Tham số /S dùng á t¿o ra ĩa há thống. DOS sẽ t¿o d¿ng và chép vào ĩa 3 file há thống là
COMMAND.COM (file hián), IO.SYS và MSDOS.SYS (file ẩn).
- Tham số /U thực hián format không ißu kián (Unconditional)
- Tham số /Q thực hián format nhanh (Quick)
- Tham số /V[:label ] á chỉ ßnh tên nhãn (label) cāa ĩa Ví dÿ 4.7: muốn format bình th¤ßng á ĩa A: C:\>format A:
Insert new diskette for drive A :
(Фa ĩa mới vào á A: and
press ENTER when ready ... và Ãn phím Enter khi sẵn sàng ..)
Sau ó là quá trình format. Ta có thá quan sát quá trình này qua số % ã thực hián. Khi format
xong, máy sẽ hián thß dòng yêu cầu cho tên ĩa và b¿n có thá cho tên ĩa với tối a 11 ký tự và
¤ợc quyßn sā dÿng ký tự trống, nếu không cần ặt tên, ta có thá nhÃn Enter cho qua luôn.
*Thay éi thußc tính căa file (ATTRIB)
Mãi tÁp tin ßu có 4 thuộc tính (attribute) : R, S, H, A.
Read Only(R) : Thuộc tính chỉ ác, không thá thay ái nội dung System (S)
: Thuộc tính há thống, há ißu hành DOS sẽ chú ý ặc biát. 75
Downloaded by Rot Ca (rotca780@gmail.com) lOMoARcPSD| 37922327
Phan Thị Hà-Khoa CNTT1-Học viện CNBCVT Hidden (H)
: Thuộc tính ẩn, khi dùng lánh DIR sẽ không thÃy. Archive(A)
: Thuộc tính l¤u tră, th¤ßng dùng với các lánh nh¤ BACKUP,
XCOPY ... á t¿o ra các file dự phòng. Cú pháp:
ATTRIB [-R|+R] [-S|+S] [-H|+H] [-A|+A] [drive:][path]
Với dÃu | là hoặc, hoặc chán ặt (+) thuộc tính hoặc xóa (-) thuộc tính cāa tÁp tin.
*Lißt kê cây th¤ māc TREE Cú pháp:
TREE [dirve :] [path] [/F] [/A] Ghi chú:
/F : Thá hián tên các tÁp tin trong tÿng th¤ mÿc /A:
Dùng ASCII thay cho các ký tự má rộng *Xóa
cây th¤ māc DELTREE
Lánh này xóa th¤ mÿc ¤ợc chỉ ßnh và tÃt cÁ các th¤ mÿc con, tÁp tin cāa nó. Cú pháp: DELTREE [/y] [dirve :] [path]
Ghi chú: directory name là tên th¤ mÿc ¿i dián cho một cây (nhánh) th¤ mÿc cần xóa.
Nếu có tùy chán /y có nghĩa là ng¤ßi sā dÿng ã xác nhÁn viác xóa cây th¤ mÿc này là chắc chắn.
*Phāc hçi file ã bß xóa (UNDELETE)
Ta có thá khôi phÿc l¿i các file ã lỡ bß xóa do dùng lánh DEL, mißn là vùng chứa file này
trong ĩa ch¤a bß các file khác chép chßng lên và nhÃt thiết ta phÁi nhớ ký tự ầu tiên cāa tên file. Cú pháp: UNDELETE [drive:][path] *Di chuyÅn file MOVE
Ðá dßi file tÿ n¢i này sang n¢i khác (thay vì dùng COPY và DEL) Cú pháp 1: Di chuyán tÁp tin MOVE [drive:][path] Với
destination là n¢i di chuyán các files ến. Cú pháp 2: Ðái tên th¤ mÿc MOVE [drive:][path] 76
Downloaded by Rot Ca (rotca780@gmail.com) lOMoARcPSD| 37922327
Phan Thị Hà-Khoa CNTT1-Học viện CNBCVT
*In vn bÁn ra máy in (PRINT)
Có thá in trực tiếp các file vn bÁn chứa mã ASCII ra máy in. Cú pháp: PRINT [drive:][path]
Nếu muốn in trực tiếp các thông tin hián thß trên màn hình ta có thá dùng tá hợp phím
Shift + PrintScreen sau khi bÁt máy in lên.
Tùy chán Device dùng á khai báo cáng máy in COM1, COM2, ... hoặc LPT1, LPT2, ...
2.3 HÞ ĐIÂU HÀNH WINDOWS
2.3.1 Giới thiáu vÁ há iÁu hành WINDOWS
Nh¤ ta thÃy MS-DOS là HĐH ¢n nhiám nghĩa là t¿i mãi thßi iám chỉ có một phần mßm
ứng dÿng ch¿y ¤ợc, màn hình giao dián ng¤ßi-máy là màn hình vn bÁn, tức là chỉ hián thß
¤ợc các ký tự trong bÁng ASCII má rộng. KhÁ nng vß ß háa và âm thanh rÃt ¢n iáu. Tÿ khi
ra ßi với phiên bÁn MS-DOS 1.0 ến nay với MS-DOS 6.22 ã trÁi qua nhißu lần cÁi tiến nâng
cÃp nh¤ng v¿n ch¤a thay ái ¤ợc một số nh¤ợc iám nói trên. Nm 1984 hãng Apple Computer
cho ra ßi máy tính Macintosh có tính nng giao dián ng¤ßi-máy bằng ß háa, trang bß nhißu
chức nng cāa sá, sā dÿng các trình ¢n kéo xuống và con chuột, có khÁ nng âm thanh bằng số,
có các kiáu chă a d¿ng, các dÿng cÿ vn phòng ( ßng hß, máy tính, lßch, sá ghi chép...). Chính
hàng lo¿t nhăng ái mới cāa Macintosh ã truyßn cÁm hứng cho Microsoft xây dựng Windows sau này.
Nm 1982, IBM ã phối hợp với Microsoft xây dựng há ißu hành a nhiám OS/2 (Operating
System/2) cho các máy t¤¢ng thích IBM PC, ã phá vỡ hàng rào 640K RAM, cung cÃp sự an
toàn cho các ch¤¢ng trình ch¿y ßng thßi, và cho phép trao ái ộng dă liáu giăa các ch¤¢ng
trình ứng dÿng. IBM và Microsoft tin chắc rằng OS/2 sẽ thay thế MS-DOS và sẽ là há ißu hành
cāa t¤¢ng lai. Ng¤ßi dùng ¤ợc khuyến khích dùng OS/2 á thay thế
MS-DOS. Tuy vÁy phần lớn ng¤ßi dùng sā dÿng OS/2 một cách mißn c¤ỡng vì há không muốn
thay hẳn nhăng gì há ã quen thuộc. RÃt ít hãng sÁn xuÃt phần mßm chßu xây dựng các
ch¤¢ng trình ứng dÿng OS/2 và các phiên bÁn ầu tiên cāa OS/2 ã ch¿y các ch¤¢ng trình
MS-DOS rÃt kém. Microsoft ã xây dựng Windows dựa trên nhăng ý t¤áng cāa Macintosh.
Microsoft Windows lúc ó cũng chỉ ¤ợc xem nh¤ là một giao dián ng¤ßi - máy bằng ß háa cho
MS-DOS. Ng¤ßi sā dÿng v¿n có thá lựa chán là há có thá ch¿y các ch¤¢ng trình ứng dÿng
trong môi tr¤ßng DOS hoặc khái ộng Windows. Lúc ầu Microsoft chỉ có ý ßnh xem Windows
là bián pháp lÃp chã trống cho ến khi nào thß tr¤ßng chÃp nhÁn OS/2. Windows 3.0 ã gây
kinh ng¿c cho nßn công nghiáp do sự kết hợp hoàn toàn với quá trình xā lý trong chế ộ ¤ợc
bÁo vá; ột nhiên, lý do cn bÁn cāa viác nâng cÃp lên OS/2 bß xóa bỏ gần nh¤ toàn bộ, và
Windows 3.0 ã bán ra ¤ợc hàng triáu bÁn. Microsoft ã i ến xác nhÁn rằng t¤¢ng lai thuộc vß
Windows. Không áng ng¿c nhiên lắm khi nhăng sự kián này có vẻ nh¤ ã dội một gáo n¤ớc
l¿nh lên mối quan há vốn thân mÁt và gần gũi tr¤ớc ây giăa IBM và Microsoft. IBM ã tuyên
bố nâng cÃp một cách triát á OS/2. OS/2 phiên bÁn 2.0 ra ßi nm 92 ã khắc phÿc ¤ợc các
nh¤ợc iám tr¤ớc ây và ch¿y các ch¤¢ng trình MSDOS và Windows một cách hoàn hÁo và ã
¤ợc nhißu ng¤ßi hoan nghênh nh¤ là một thành tựu kā thuÁt lớn. Tuy vÁy OS/2 có làm ng¤ng
¤ợc à phát trián áng kinh ng¿c cāa Windows hay không còn phÁi chß xem. 77
Downloaded by Rot Ca (rotca780@gmail.com) lOMoAR cPSD| 37922327
Phan Thị Hà-Khoa CNTT1-Học viện CNBCVT
Windows tÿ khi ra ßi ến nay ã trÁi qua nhißu phiên bÁn:
Windows 3.0, 3.1, 3.11 là các há ißu hành 16 bit (tức dă liáu ¤ợc truyßn thành các chùm
16 bit) và v¿n ch¿y trên nßn DOS. Các há này dùng FAT 16 bit.
Windows 95 là há ißu hành ộc lÁp 32 bit, nh¤ng v¿n dùng FAT 16 bit. So với các HĐH
tr¤ớc Windows 95 có nhißu ¤u iám: Giao dián thân thián và trực quan, hã trợ nhißu phần
cứng, Plug and Play (cắm là ch¿y), t¤¢ng thích với DOS 16 và Win 16.
Sau Windows 95 là Windows NT (for workstation and for server): Độ bÁo mÁt cao h¢n
nh¤ng hã trợ ít phần cứng h¢n và ch¿y chÁm h¢n.
Windows 98 thực chÃt là Windows 95 cÁi tiến, cũng là HĐH 32 bit nh¤ng dùng FAT 32
và có chức nng chuyán ái FAT 16 -> FAT 32. Windows 98 có nhißu ¤u iám:
- Hã trợ nhißu c¿c màn hình (tối a là 9), hã trợ a ph¤¢ng tián, tích hợp internet và các dßch
vÿ trực tuyến, ch¿y nhanh h¢n Windows 95, FAT 32 giúp l¤u tră tốn ít dung l¤ợng ĩa h¢n.
- Đß ho¿ 3 chißu nhanh và tốt h¢n nhß vÁy các trò ch¢i trá nên hÃp d¿n h¢n.
- Nâng cao khÁ nng giÁi trí cāa máy tính: giúp có ¤ợc phim hoàn chỉnh với âm thanh nái,
chÃt l¤ợng sân khÃu trên máy PC trang bß DVD. Thiết bß l¤u tră mới này có thá chứa tới
17GB dă liáu với hã trợ a ngôn ngă trên một ĩa.
Windows 2000 ¤ợc ra ßi kết hợp các ¤u iám cāa Win 95, 98 và Windows NT. Tiếp theo,
Microsoft phát trián há ißu hành Windows 2000 Professional. Windows Me. Tuy nhiên, há
ißu hành ¤ợc ng¤ßi dùng chß ợi nhÃt ó là Windows XP.
Windows XP là một dòng há ißu hành do Microsoft sÁn xuÃt dành cho các máy tính cá
nhân ch¿y trên các bộ xā lý x86 và IA-64 (mã phiên bÁn là 5.1) , bao gßm các máy tính dùng
cho gia ình và kinh doanh, máy tính xách tay, và trung tâm ph¤¢ng tián. Tên "XP" là cách viết
ngắn gán cāa "experience"[3]. Windows XP là há ißu hành kế tÿc cāa cÁ Windows 2000
Professional và Windows Me, và là há ißu hành ầu tiên cāa Microsoft h¤ớng ến ng¤ßi tiêu
dùng ¤ợc xây dựng trên nhân và kiến trúc cāa Windows NT. Windows XP ¤ợc ra mắt vào
ngày 25 tháng 10 nm 2001, và trên 400 triáu bÁn ã ¤ợc dùng trong tháng 1 nm 2006, theo
nh¤ ¤ớc tính cāa một chuyên gia IDC. Há ißu hành này ¤ợc kế tÿc bái Windows Vista, ¤ợc phát
hành cho ng¤ßi tiêu dùng vào ngày 8 tháng 11 nm 2006, và toàn cầu cho công chúng vào ngày
30 tháng 1 nm 2007. Viác bán trực tiếp Windows XP qua kênh bán lẻ và OEM ã ng¤ng vào
ngày 30 tháng 6 nm 2008, mặc dù v¿n có thá mua ¤ợc
Windows XP tÿ các Nhà xây dựng há thống (OEM nhỏ h¢n bán máy tính lắp ráp) cho ến ngày
31 tháng 7 nm 2009 hoặc bằng cách mua Windows Vista Ultimate hoặc Business rßi giáng cÃp xuống Windows XP.
Windows 7 là thế há há ißu hành kế tiếp cāa dòng há há ißu hành Microsoft Windows, nó
¤ợc phát trián dành cho các lo¿i máy tính cá nhân, bao gßm máy tính á bàn, xách tay, Tablet
PC, netbook và các máy tính trung tâm ph¤¢ng tián (media center PC) cho gia ình hoặc doanh
nghiáp, ¤ợc phát hành trên toàn thế giới vào ngày 22/10/2009
Trong nm 2011, Microsoft ra mắt các phiên bÁn beta cāa Windows 8, còn các bÁn RTM
¤ợc phát hành trong nm 2012. Tuy nhiên, Microsoft cũng ã phát trián Windows 8 Genuine
Center á ối phó với sự phát tán các phiên bÁn lÁu cāa Windows 8. 78
Downloaded by Rot Ca (rotca780@gmail.com) lOMoAR cPSD| 37922327
Phan Thị Hà-Khoa CNTT1-Học viện CNBCVT
Microsoft cho biết sẽ ra mắt Windows 8 vào cuối tháng 10/2012 và bÁn cho các nhà sÁn
xuÃt phần cứng (RTM) sẽ ¤ợc chuyán cho các ối tác vào ầu tháng 8/2012. RTM xác nhÁn há
ißu hành ã sẵn sàng á Microsoft cung cÃp cho các nhà sÁn xuÃt thiết bß gốc (OEM) - nh¤
Hewlett-Packard, Dell và Lenovo - á há có thá bắt ầu cài ặt trên các máy tính mới.
Có thá nói, ặc iám cāa Windows nh¤ tên gái cāa nó là ch¿y tÃt cÁ các ứng dÿng trong tÿng
cāa sá riêng biát mà kích cỡ có thá ¤ợc sāa ái bái ng¤ßi sā dÿng. Bên c¿nh ó, nó cũng t¿ ự án ặ
ế ới ng¤ß i dùng khi thao tác làm vi á
ần sau ây chúng tôi chỉ ớ
á u Windows 7, là phiên b Án ã ¤ợ á á ể ượ ặ ề ể ượ ườ ắ ā ụ ạ
và dùng rộng rãi á Viát nam.
2.3.2. Các khái niám trong Windows:
2.3.2.1.Màn hình giao diện: 79
Downloaded by Rot Ca (rotca780@gmail.com) lOMoAR cPSD| 37922327
Phan Thị Hà-Khoa CNTT1-Học viện CNBCVT
Màn hình giao dián là khoÁng không gian trên màn hình cāa máy tính, màn hình giao
dián gßm có màn hình nÁn (Desktop), trên màn hình nßn là các biáu t¤ợng. Số l¤ợng các
biáu t¤ợng tuỳ theo các ch¤¢ng trình ¤ợc cài ặt, ta có thá thêm và xóa các biáu t¤ợng. Có hai
lo¿i biáu t¤ợng: biểu t¤ợng mặc nhiên (sẵn có ngay sau khi cài ặt Windows 7), biểu t¤ợng
¤ờng tắt (có dÃu mũi tên á góc d¤ới bên trái hình vẽ biáu t¤ợng, ví dÿ nh¤ biáu t¤ợng WinZip á màn hình trên).
Một số biáu t¤ợng quan tráng trên màn hình nßn:
Computer (máy tính): là biáu t¤ợng cho phép xem các tài nguyên có trong máy tính
ang dùng, quÁn lý các táp và th¤ mÿc.
Network: Là biáu t¤ợng cho phép xem tài nguyên ang có trên m¿ng máy tính nếu máy
tính ó ang kết nối vào một m¿ng.
Recycle Bin (thùng rác):Là biáu t¤ợng cho phép l¤u tră t¿m thßi các táp bß xoá, có thá
dùng nó á phÿc hßi các táp bß xoá nhầm.
Internet Explorer:Là biáu t¤ợng cho phép kết nối với Internet.
Control Panel: Là ch¤¢ng trình dùng á thực hián một số xác lÁp há thống cho Windows.
Phía d¤ới màn hình là thanh Taskbar. Phía trái thanh Taskbar là nút Start, n¢i khái ầu
cāa hầu hết các công viác trong Windows 7, phía phÁi nút Start là các nút ứng với các ứng dÿng ang ch¿y.
Thiết lÁp màn hình nßn: nháy nút phÁi chuột trên Desktop, hián menu tắt, chán
Personalize, hián hộp tho¿i, chán biáu t¤ợng Desktop Background, duyát xem các Ánh nßn
trong khung Picture Location, chán một Ánh, bÃm nút Save Changes.
Thiết lÁp màn hình chß (màn hình hián khi không dùng máy tính): nháy nút phÁi chuột
trên Desktop hián menu tắt, chán Personalize, hián hộp tho¿i, chán lớp Screen Saver, duyát
xem qua các màn hình chß trong hộp ißu khián kéo xuống Screen Saver, chán một màn
hình chß, trong mÿc Wait ặt là số phút chß, chán OK
2.3.2.2.Chuột và cách sử dụng
Công cÿ làm viác chính trong môi tr¤ßng Windows là chuột và bàn phím. Trên màn
hình luôn luôn nhìn thÃy một mũi tên hay con trỏ nhỏ, ó chính là con trỏ chuột; sā dÿng
chuột á ißu khián con trỏ này; di chuyán chuột sẽ làm cho con trỏ t¤¢ng ứng trên màn hình
di chuyán theo. Các thao tác c¢ bÁn với chuột:
Nháy chuột (Click): bÃm nút trái chuột (hoặc nút phÁi chuột nếu có) một lần rßi thÁ ra.
Nháy úp nút chuột (Double Click): bÃm nhanh hai lần liên tiếp nút trái chuột. 80
Downloaded by Rot Ca (rotca780@gmail.com) lOMoAR cPSD| 37922327
Phan Thị Hà-Khoa CNTT1-Học viện CNBCVT
Rê chuột (Drag): bám và giă nguyên tay nút chuột rßi di chuyán chuột, nhÁ tay khi vÿa ý.
2.3.2.3.Cửa sổ, iều khiển cửa sổ
Cāa sá là màn hình cāa một ứng dÿng khi ¤ợc khái ộng. Trên ỉnh cāa sá là thanh tiêu ß,
phía trái thanh tiêu ß là Biáu t¤ợng cāa ứng dÿng, Tên táp và tên ứng dÿng ang ch¿y. Phía
phÁi thanh tiêu ß có 3 nút á ißu khián cāa sá: Nút cực tiáu á cực tiáu hoá cāa sá ứng dÿng
¤a vß thành một nút trên thanh Taskbar, Nút cực ¿i á phóng to cāa sá ra toàn màn hình (khi
nút có một hình chă nhÁt) hoặc thu nhỏ cāa sá vß kích th¤ớc lúc tr¤ớc khi phóng (khi trên
nút có 2 hình chă nhÁt, nút cực ¿i ã trá thành nút Restore), Nút Close á óng cāa sá ứng
dÿng. D¤ới thanh tiêu ß là Thanh menu chính cāa ứng dÿng. Nœt cực tiể u Biể u TŒn TŒn Thanh tiŒu ề ực tượng ệ āng ạNœt i c cÿ a Thanh menu ch nh cụ ÿ a āng Nœt ng dụ ng Thanh cuố n ngang Thanh cuố n dọ c
Có thá dùng chuột á thay ái kích th¤ớc cāa cāa sá. Di chuyán chuột tới c¿nh phÁi, c¿nh áy
hay góc d¤ới bên phÁi cāa cāa sá á con trỏ chuột chuyán thành mũi tên hai ầu, kéo các c¿nh
á phóng to hay thu nhỏ cāa sá theo ý muốn. Di chuyán cāa sá trên màn hình: kéo thanh tiêu ß
tới vß trí mới. Nếu cāa sá không ā rộng á hián tÃt cÁ các thông tin, xuÃt hián các thanh cuốn
á c¿nh bên phÁi và c¿nh áy cāa sá, ta có thá kéo nút cuốn hay nháy các nút mũi tên á trên
thanh cuốn á hián thông tin cần xem.
Toàn bộ các thao tác trên ối với cāa sá có thá thao tác qua Menu ißu khián nhỏ á góc trên
bên trái cāa sá. Đá kích ho¿t menu này ta nháy vào Biáu t¤ợng cāa ứng dÿng nằm á phía kßch
trái cāa Thanh tiêu ß. Menu gßm các mÿc: Restore (trá vß kích th¤ớc ban ầu cāa cāa sá), Move
(di chuyán cāa sá), Size (thay ái kích th¤ớc cāa sá), Minimize (cực tiáu hóa cāa sá thành một
biáu t¤ợng trên thanh Taskbar), Maximize (phóng to cāa sá ra toàn màn hình), Close ( óng cāa sá).
Một số ch¤¢ng trình dùng các cāa sá ¤ợc chia dác hay chia ngang (ví dÿ cāa sá Windows
Explorer), các bộ phÁn cāa cāa sá gái là các khung. Ta có thá thay ái kích th¤ớc t¤¢ng ối cāa
các khung bằng cách kéo ¤ßng phân chia khung.
2.3.2.4. Hộp thoại trong Windows
Hộp tho¿i trong Windows giúp cho ng¤ßi dùng có thá thực hián các lựa chán và ra quyết
ßnh hành ộng, hộp tho¿i chiếm một vùng màn hình cũng t¤¢ng tự nh¤ cāa sá. Mÿc 1.7 á d¤ới
cho hộp tho¿i Shut Down Windows xuÃt hián khi tắt máy tính. Dòng trên cùng cāa hộp tho¿i
là Thanh tiêu ề mà trên nó ghi tên hộp tho¿i.
Trên hộp tho¿i th¤ßng có các nút sau: 81
Downloaded by Rot Ca (rotca780@gmail.com) lOMoARcPSD| 37922327
Phan Thị Hà-Khoa CNTT1-Học viện CNBCVT
Nút óng hộp thoại á ầu bên phÁi thanh tiêu ß dùng á óng hộp tho¿i.
Nút ấn (Push button) là nhăng nút hình chă nhÁt trên ó có ß chă (xem hộp tho¿i Shut
Down Windows trong mÿc 1.7). Các nút th¤ßng dùng: OK (khẳng ßnh các lựa chán), Cancel
(hāy bỏ các lựa chán và thoát khỏi hộp tho¿i), Help (xem h¤ớng d¿n sā dÿng cho hộp tho¿i),
các nút có chă với 3 dÃu chÃm (sinh ra hộp tho¿i mới).
Nút kiểm tra (Check Box) là các ô nhỏ bên c¿nh có chă, khi nháy chuột á lựa chán thì
ô ¤ợc ánh dÃu bái ký tự giống chă V. Có thá lựa chán nhißu Nút kiám tra trong một hộp tho¿i.
Nút ài (Radio button), còn gái là nút lựa chán ¢n, là nhăng ô hình tròn bên c¿nh có
chă, khi nháy chuột vào ô này á lựa chán thì ô ¤ợc ánh dÃu bái một chÃm to màu en. Khi
xuÃt hián nhißu nút ài thì chỉ có thá ¤ợc chán một (các khÁ nng lo¿i trÿ nhau). Ví dÿ trong
hộp tho¿i á mÿc 3.1 Ch¤¢ng 2 có 7 nút ài.
Nút iÁu khiển kéo xuống (Control Box) là nhăng nút mà bên phÁi có nút mũi tên,
bên trái là xâu ký tự thuyết minh vß nút. Khi nháy chuột vào Mũi tên bên phÁi nút sẽ xuÃt
hián một menu kéo xuống cho phép ta lựa chán một mÿc, hoặc ta cũng có thá nháy chuột vào
khung vn bÁn cāa nút và nhÁp trực tiếp vn bÁn nh¤ ối với Hộp vn bÁn.
Nút tăng giảm là nhăng nút mà á phía phÁi có 2 mũi tên lên và xuống, giăa nút chứa
dă liáu số. Nháy vào mũi tên lên hay xuống sẽ làm tng hay giÁm giá trß cāa số trong ô. Ta
cũng có thá nháy chuột vào giăa ô và nhÁp trực tiếp giá trß số mới.
Hộp văn bản (Text Box): khi nháy chuột vào hộp ta có thá nhÁp vn bÁn. Ví dÿ hộp
vn bÁn dùng á nhÁp mÁt khẩu cho tài liáu: 82
Downloaded by Rot Ca (rotca780@gmail.com) lOMoAR cPSD| 37922327
Phan Thị Hà-Khoa CNTT1-Học viện CNBCVT
Các lớp. Một số hộp tho¿i ¤ợc tá chức thành nhißu lớp giống nh¤ các tÃm bìa xếp
chống lên nhau, tên các lớp nằm á phía trên ỉnh hộp tho¿i. Mãi lớp l¿i t¤¢ng ứng với các mÿc
lựa chán riêng, có thá coi mãi lớp nh¤ là một hộp tho¿i con. Ví dÿ hộp tho¿i Options bao gßm 10 lớp.
Nút trợ giúp nằm á phía trên bên phÁi cāa sá, khi nháy nút này dÃu chÃm hỏi sẽ dính
vào con trỏ chuột, di con trỏ chuột tới bÃt kỳ mÿc nào trong hộp tho¿i và nháy chuột thì ta sẽ
¤ợc h¤ớng d¿n trực tiếp cāa chính mÿc này.
2.3.2.5.Các loại menu
Khi một ứng dÿng ¤ợc má phía d¤ới Thanh tiêu ß là Thanh menu chính cāa ứng dÿng. Nếu
nháy vào một mÿc trên Thanh menu chính sẽ xuÃt hián một Menu dác gßm các mÿc Cut,
Copy, Paste, Select All. Một mÿc bß mß trên một menu là lánh không ¤ợc dùng trong ngă
cÁnh hián hành. Khi nháy vào mÿc có dÃu mũi tên á phía phÁi sẽ xuÃt hián một Menu mới.
Khi nháy nút phải chuột vào màn hình nßn, hoặc vào nßn cāa Thanh Taskbar, hoặc vào
tên các táp ã chán trong Windows Explorer, hoặc vào o¿n vn bÁn ã ánh dÃu khối trong
Microsoft Word, trên màn hình sẽ xuÃt hián một menu nhỏ (gái là Menu tắt) chứa các lánh
mà ta cần dùng trong tình huống này.
2.3.2.6.Tệp và thư mục
Táp (File) là tÁp các mã 0 và 1 ¤ợc ghi trên ĩa cứng, ĩa mßm hay ĩa CD-ROM á mã hóa
một vn bÁn, một ch¤¢ng trình, một bức Ánh hay một o¿n âm thanh. Mãi táp cần có một tên
riêng á phân biát, trong Windows 2000 tên táp và tên th¤ mÿc có thá dài tới 250 ký tự và cho
phép chứa cÁ dÃu cách. Trong môi tr¤ßng DOS tr¤ớc ây tên táp gßm 3 phần và không chứa
dÃu cách: tên chính không quá 8 ký tự, dÃu chÃm, phẩy má rộng không quá 3 ký tự.
Th¤ mục (Folder): Th¤ mÿc trên ĩa là một vùng dùng á chăa các táp và th¤ mÿc con khác.
Khi khái t¿o một ĩa, một th¤ mÿc không có tên ¤ợc t¿o tự ộng gái là th¤ mÿc gốc và ¤ợc chỉ
ßnh bằng dÃu g¿ch chéo ng¤ợc \, các th¤ mÿc con khác phÁi có tên. Trong cùng một th¤
mÿc không ¤ợc có hai th¤ mÿc hay hai táp trùng tên.
2.3.2.7.Menu Start và thanh Taskbar
Trong Windows 2000, Windows 98 và Windows 95 menu Start óng vai trò nh¤ Program
Manager cāa Windows 3.1, Taskbar (Thanh công viác) óng vai trò nh¤ cāa sá Task List cāa
Windows 3.1. Menu Start dùng á quÁn lý các ứng dÿng, các ch¤¢ng trình ã cài ặt; Taskbar
dùng á quÁn lý các ch¤¢ng trình hián ang ch¿y và chuyán ái giăa chúng. 2.3.3 C¢ bản vÁ
cách cài ặt và sử dụng Windows 7
2.3.3.1 Cơ bản về cài ặt: 83
Downloaded by Rot Ca (rotca780@gmail.com) lOMoARcPSD| 37922327
Phan Thị Hà-Khoa CNTT1-Học viện CNBCVT
Trong khuôn khá cāa tài liáu này, chúng ta cùng tìm hiáu vß một số vÃn ß cài ặt há ißu
hành Windows7. Trên thực tế, há ißu hànhWindows 7 có ¤u iám là nó cho phép b¿n cài ặt tÿ
á cứng, CDROM,... Khi b¿n có một bộ cài bÁn Windows 7 á d¿ng chuẩn .iso thì b¿n có thá
giÁi nén nó vào một th¤ mÿc. Sau ó, b¿n sẽ ch¿y file setup.exe có trong th¤ mÿc ó á cài ặt
Windows 7. Viác cài ặt tiến hành bình th¤ßng giống nh¤ cài trên CDROM/DVD nh¤ng có 3 ißu chú ý quan tráng: -
Khi chán phân vùng cài Windows 7 thì phân vùng ó cần ¤ợc ßnh d¿ng NTFS tÿ tr¤ớc. -
Dung l¤ợng trống cāa phân vùng cài Windows 7 ó cần phÁi ít nhÃt là 6,3 Gb. -
Lựa chán cài ặt Windows 7 32 bit hay 64 bit tùy thuộc vào cÃu hình và ứng dÿng khai thác cāa máy tính.
B¿n có thá cài theo cách này vào cài vào phân vùng b¿n ang dùng Windows hoặc một phân vùng khác.
Tuy nhiên cách cài Windows 7 nh¤ trên có một nh¤ợc iám là nó không thá cài ¤ợc với
nhăng BIOS không t¤¢ng thích với nó hoặc không t¤¢ng thích ACHI compliant. Nh¤ợc iám
năa là khi phân vùng b¿n chán á cài nó vào không phÁi là NTFS thì b¿n sẽ không thá cài ¤ợc.
Vì vÁy, tốt nhÃt b¿n nên lựa chán cách cài ặt á chế ộ Boot tÿ ĩa DVD Windows 7.
2.3.3.2 Sử dụng WINDOWS:
a) Khởi ộng: Khi khái ộng sẽ xuÃt hián các hộp tho¿i =Welcome To Windows= và On To Windows= yêu cầu ta nhÁp vào tên ng¤ßi dùng và mÁt khẩu truy nhÁp .
b)Thoát khái Windows và tắt máy
Nháy nút Start, xuÃt hián menu dác, chán mÿc Shut Down, xuÃt hián hộp tho¿i: 84
Downloaded by Rot Ca (rotca780@gmail.com) lOMoAR cPSD| 37922327
Phan Thị Hà-Khoa CNTT1-Học viện CNBCVT
Nháy vào nút mũi tên cāa hộp ißu khián kéo xuống do?= á lựa chán một trong các cách thoát:
: tắt máy tính (chß cho ến khi xuÃt hián câu your computer= xuÃt hián thì tắt công tắc ngußn).
: khái ộng l¿i máy tính, n¿p l¿i há ißu hành.
Nháy nút OK á xác nhÁn tùy chán, muốn bỏ qua tùy chán á trá l¿i làm viác với
Windows 2000 thì nháy nút Cancel.
c).Sử dụng MENU START và thanh TASKBAR
Khi nháy nút Start xuÃt hián menu Start: 85
Downloaded by Rot Ca (rotca780@gmail.com) lOMoARcPSD| 37922327
Phan Thị Hà-Khoa CNTT1-Học viện CNBCVT - Menu Start
Trong menu này có các mÿc:
Programs: khi trỏ chuột vào mÿc này sẽ xuÃt hián menu dác cÃp hai Programs chứa
tÃt cÁ các ch¤¢ng trình có thá ch¿y.
Documents: má các tài liáu ã ¤ợc má gần ây nhÃt.
Settings: sāa ái màn hình nßn hoặc các thiết lÁp há thống.
Search: tìm táp hoặc th¤ mÿc.
Help: khi chán mÿc này cāa sá trợ giúp xuÃt hián. Cāa sá trợ giúp có 3 nút: Contens
(h¤ớng d¿n phân theo chā ß), Index (các chā ß h¤ớng d¿n liát kê theo thứ tự tÿ vựng),
Search (tìm mái chā ß có chứa một tÿ hay câu, sau ó lựa chán chā ß cần xem h¤ớng d¿n).
Run: má (ch¿y) các ch¤¢ng trình
Shut Down: tắt hoặc khái ộng l¿i máy.
Trong các há thống menu dác xuÃt phát tÿ nút Start, nếu ta trỏ chuột (không cần nháy) vào
mÿc có dÃu mũi tên thì sẽ xuÃt hián một menu dác mới.
Muốn chuyán menu Start sang d¿ng với các biáu t¤ợng nhỏ h¢n ta dùng lánh: Start /
Settings / Taskbar & Start Menu, xuÃt hián hộp tho¿i, chán mÿc Show Small Icon in Start Menu.
Sử dụng các menu cá nhân hóa. Với các menu cá nhân hóa, Windows chỉ hián thß các
mÿc menu mà ta dùng th¤ßng xuyên nhÃt, dÃu i các mÿc menu khác. Đá hián các mÿc bß
dÃu cần nháy vào mũi tên ôi á d¤ới menu con, hoặc ta chß vài giây Windows cũng tự ộng má
rộng menu. Đá kích ho¿t hoặc vô hiáu các menu cá nhân hóa dùng lánh: Start / Settings /
Taskbar & Start Menu, xuÃt hián hộp tho¿i, chán hoặc xóa bỏ hộp kiám Use Personalized Menus. 86
Downloaded by Rot Ca (rotca780@gmail.com) lOMoAR cPSD| 37922327
Phan Thị Hà-Khoa CNTT1-Học viện CNBCVT
- Khởi ßng mßt ch¤¢ng trình ąng dāng
Dùng nút Start có thá khái ộng bÃt kỳ một ch¤¢ng trình ứng dÿng nào, nh¤ Word, Excel,
Paint, Solitaire…. Đầu tiên nháy nút Start, trỏ chuột vào mÿc Programs á xuÃt hián menu
Programs…, vào menu dác chứa ch¤¢ng trình cần ch¿y, nháy vào mÿc ch¤¢ng trình muốn
khái ộng (các mÿc không có dÃu mũi tên á sau là các ch¤¢ng trình có thá ch¿y ¤ợc). Khi một
ch¤¢ng trình khái ộng thì trên thanh Taskbar xuÃt hián một nút mới chứa biáu t¤ợng và tên
ch¤¢ng trình vÿa khái ộng.
Khi ang làm viác với một ch¤¢ng trình ứng dÿng, muốn ch¿y một ch¤¢ng trình ứng dÿng
khác ta l¿i nháy vào nút Start và làm nh¤ trên. Nh¤ vÁy Windows 2000 cho phép ch¿y nhißu
ứng dÿng cùng một lúc, tên các ứng dÿng hián trên thanh Taskbar. TÃt cÁ các cāa sá ứng
dÿng khi cÿc tiáu hóa (không á d¿ng cāa sá) ßu chuyán vß thành một nút trên thanh Taskbar.
Khi ang làm viác với một ứng dÿng, muốn chuyán sang làm viác với một ứng dÿng khác ( ã
¤ợc kích ho¿t) ta chỉ viác nháy vào nút t¤¢ng ứng trên Taskbar, khi ó cāa sá ứng với ứng dÿng
này sẽ xuÃt hián á tr¤ớc các ứng dÿng khác.
Dùng lßnh Start / Run á ch¿y một ch¤¢ng trình hay má một tài liáu nếu biết tr¤ớc ¤ßng
d¿n cùng tên táp: nháy nút Start, chán mÿc Run, xuÃt hián hộp tho¿i Run, gõ tên ch¤¢ng trình
hay một tài liáu cùng ¤ßng d¿n (nếu không biết chắc chắn ch¤¢ng trình á âu thì nháy nút
Browse á xác ßnh n¢i cÃt táp).
Dùng lßnh Start / Documents á má tài liáu mà ta má tr¤ớc ó không lâu: nháy nút Start,
chán mÿc Documents, xuÃt hián menu dác My Documents, nháy tên tài liáu cần má (tài liáu
có thá t¿o bái Word, Excel, Paint, Notepad…), kết quÁ là tài liáu ¤ợc má cùng với ch¤¢ng
trình ứng dÿng t¿o ra nó cũng ¤ợc khái ộng theo.
Thoát khãi ch¤¢ng trình ứng dÿng ang ch¿y: nháy vào nut Close á góc trên bên phÁi cāa
sá ứng dÿng. Khi ứng dÿng óng, nút t¤¢ng ứng với nó trên thanh Taskbar cũng biến mÃt.
- Bé xung mßt ch¤¢ng trình vào menu Start
Bổ xung một ch¤¢ng trình vào các menu dßc xuÃt phát tÿ nút Start tiến hành các b¤ớc sau:
Dùng lánh Start / Settings / Taskbar & Start menu…, xuÃt hián hộp tho¿i Taskbar and
Start Menu Properties, chán lớp Advanced, chán nút Add, gõ vào ¤ßng d¿n ến mÿc mà ta
muốn thêm vào menu hoặc sā dÿng nút Browse á tìm ¤ßng d¿n tới nó.
Nháy nút Next, sā dÿng hộp tho¿i Select Program Folder á báo cho Windows biết n¢i sẽ ặt mÿc mới.
Nháy nút Next, ặt tên cho mÿc thêm vào menu, cuối cùng nháy nút Finish.
Loại bá một ch¤¢ng trình từ các menu dßc tiến hành theo các b¤ớc: nháy nút Start, trỏ
chuột tới mÿc cần xóa và nháy nút phÁi chuột, xuÃt hián menu tắt, chán mÿc Delete, nháy
Yes á d¤a mÿc này vào Thùng rác.
Sắp x¿p lại các mục trong các menu con cāa menu Programs: Start / Settings / Taskbar
& Start menu, chán lớp Advanced, nháy nút Re-Sort. 87
Downloaded by Rot Ca (rotca780@gmail.com) lOMoARcPSD| 37922327
Phan Thị Hà-Khoa CNTT1-Học viện CNBCVT
- Các thao tác trên thanh Taskbar
SÃp xÁp các cāa sé ąng dāng. Nháy nút phải chuột lên nền của Taskbar, xuất hiện menu
tắt gồm các mục sau:
Cascade Windows: các cāa sá ứng dÿng ang má xếp lợp lên nhau.
Tile Windows Horizontally: các cāa sá ứng dÿng xếp c¿nh nhau theo chißu ngang.
Tile Windows Vertically: các cāa sá ứng dÿng xếp c¿nh nhau theo chißu ứng.
Minimize all Windows: cÿc tiáu hóa tÃt cÁ các cāa sá ang má và ¤a vß Taskbar.
ĐiÁu khiển một cửa sổ āng dụng ã mở. Mãi ứng dÿng ã má sinh ra một Nút trên thanh
Taskbar, khi nháy nút phÁi chuột vào Nút này sẽ xuÃt hián một menu tắt với các mÿc:
Restore, Move, Size, Minimize, Maximize, Close Alt+F4 (giống menu ißu khián á góc trên
bên trái cāa sá, xem mÿc 1.3).
Cho ẩn thanh Taskbar. Nháy nút phÁi chuột lên trên nßn cāa Taskbar, xuÃt hián menu
tắt, chán mÿc Properties, xuÃt hián hộp tho¿i Taskbar and Start Menu Properties, chán lớp
General, trong lớp này có các nút kiám: Always on top (thanh Taskbar luôn luôn hián), Auto
hide (thanh Taskbar chỉ hián khi con trỏ chuột nằm á vß trí cāa nó), Show Clock (hián ßng hß trên thanh Taskbar).
Thay ổi vị trí ặt và kích th¤ớc thanh Taskbar. Thanh Taskbar có thá ặt á một trong 4 c¿nh
cāa màn hình bằng cách nháy vào nßn cāa Taskbar và kéo i. Thông th¤ßng thanh Taskbar á á
c¿nh áy màn hình. Thay ái ộ rộng cāa thanh Taskbar bằng cách nháy và kéo lên các biên phía
trong cāa nó (t¿i n¢i có xuÃt hián mũi tên hai chißu).
Thanh công cụ Quick Launch trên Thanh Taskbar bao gßm các biáu t¤ợng: Show
Desktop (cực tiáu các cāa sá ang má á hián màn hình nßn), Internet Explorer (truy nhÁp
Internet), Outlook Express (ch¿y ch¤¢ng trình gāi th¤ ián tā). Bên trái Thanh Quick Launch
có một v¿ch ứng gái là Tay cầm cāa thanh, khi nháy vào tay cầm và kéo thanh vào màn hình
nßn thì Thanh công cÿ Quick Launch chuyán thành một cāa sá nhỏ.
e) WINDOWS EXPLORER
Windows Explorer là công cÿ trợ giúp cāa Windows 2000 giúp ta biết ¤ợc toàn bộ máy
tính có nhăng gì, cho phép xem nội dung máy tính nh¤ một há thống thứ bÁc hay cÃu trúc
cây. Ta có thá xem dß dàng nội dung mãi á ĩa, mãi th¤ mÿc, cũng nh¤ bÃt kỳ á ĩa nào trong m¿ng.
- Khởi ßng Windows Explorer
Dùng lánh Start / Programs / Accessories / Windows Explorer á khái ộng Windows
Explorer, xuÃt hián cāa sá cāa ch¤¢ng trình Windows Explorer và nó ¤ợc chia thành hai phần:
khung bên trái và khung bên phÁi.
Khung bên trái là cây th¤ mÿc liát kê tÃt cÁ các tài nguyên cāa máy: các á ĩa, Control
Panel, thùng rác, m¿ng…. Trong khung này có các thao tác:
Nháy lên ối t¤ợng (á ĩa, th¤ mÿc con …) thì nội dung bên trong cāa ối t¤ợng sẽ hián
lên á khung bên phÁi. Động tác này gái là má một th¤ mÿc. 88
Downloaded by Rot Ca (rotca780@gmail.com) lOMoARcPSD| 37922327
Phan Thị Hà-Khoa CNTT1-Học viện CNBCVT
Nháy vào dÃu (+) ứng tr¤ớc một ối t¤ợng thì trong cây th¤ mÿc sẽ hián tiếp các th¤
mÿc con cāa ối t¤ợng này.
Nháy vào dÃu (-) ứng tr¤ớc một ối t¤ợng thì trong cây th¤ mÿc sẽ không hián các th¤
mÿc con cāa các ối t¤ợng này.
Khung bên phÁi cāa cāa sá liát kê chi tiết (gßm các th¤ mÿc con và táp) cāa ối t¤ợng có
hộp sáng trong Khung bên trái. Các ối t¤ợng á Khung bên phÁi có 5 cách hián, dùng lánh
View và chán một trong 5 khÁ nng:
List: hián biáu t¤ợng và tên th¤ mÿc, tên táp.
Details: hián biáu t¤ợng, tên táp, số byte, kiáu táp, ngày giß t¿o.
Large Icons: hián biáu t¤ợng to.
Small Icons: biáu t¤ợng nhỏ xếp hàng ngang.
Thumbnails: hián thß một hình Ánh chứa ựng các nội dung cāa táp nếu có thá.
- T¿o mßt th¤ māc con mái
Trong khung trái cāa sá Windows Explorer nháy vào tên th¤ mÿc cần t¿o một th¤ mÿc con
mới. Tÿ menu chính cāa cāa sá Windows Explorer ra lánh File / New / Folder, trong hộp vn
bÁn New Folder á Khung bên phÁi cāa sá gõ vào tên th¤ mÿc mới. Tên th¤ mÿc mới xuÃt
hián trong cây th¤ mÿc á Khung bên trái
- Lựa chán tßp và th¤ māc
Lựa chán một ối t¤ợng (một táp hay một th¤ mÿc): nháy chuột vào biáu t¤ợng th¤ mÿc hay táp.
Chán nhißu biáu t¤ợng nằm kế tiếp nhau á Khung bên phÁi cāa sá: nháy vào ối t¤ợng
ầu, Ãn và giă phím Shift ßng thßi nháy vào ối t¤ợng cuối.
Chán nhißu ối t¤ợng nằm rßi r¿c trên Khung bên phÁi cāa sá: Ãn và giă phím Ctrl
ßng thßi nháy vào tÿng ối t¤ợng.
Chán tÃt cÁ các ối t¤ợng trong Khung bên phÁi cāa sá: dùng lánh Edit / Select All. 89
Downloaded by Rot Ca (rotca780@gmail.com) lOMoAR cPSD| 37922327
Phan Thị Hà-Khoa CNTT1-Học viện CNBCVT
- Di chuyÅn hay sao chép các tßp và th¤ māc
Dùng bÁng chán chính căa cāa sé Windows Explorer
Lựa chán các ối t¤ợng (th¤ mÿc, táp) cần di chuyán hay sao chép.
Nháy Edit. Tiếp theo nháy Cut á di chuyán các ối t¤ợng hoặc nháy Copy á sao chép các ối t¤ợng.
Trong cây th¤ mÿc á Khung bên trái, nháy vào tên th¤ mÿc ích là n¢i mà các ối t¤ợng
sẽ ¤ợc ặt vào. Nháy Edit, rßi chán Paste.
Dùng nút phÁi chußt Å sao chép tßp hay nhóm tßp
Lựa chán táp hay nhóm táp.
Nháy nút phÁi chuột vào một tên táp ã lựa chán, xuÃt hián một Menu tắt.
Chán Cut á di chuyán táp, hoặc chán Copy á sao chép táp.
Má th¤ mÿc muốn ặt táp vào, dùng nút phÁi chuột nháy vào chá trống trên Khung bên
phÁi á xuÃt hián một menu dác, chán Paste.
Có thá cần sắp xếp l¿i các biáu t¤ợng bằng lánh View / Arrange Icons / by Name. Dùng kéo và thÁ
Đôi khi cách nhanh nhÃt á di chuyán và sao thông tin là di thÁ nó tÿ chã này sang chã
khác bằng chuột. Ta có thá di chuyán hay sao chép th¤ mÿc và táp sang một th¤ mÿc khác
hay á ĩa khác bằng cách:
Trong cāa sá Windows Explorer, má th¤ mÿc có chứa táp cần di chuyán hay sao chép.
Lựa chán táp hay nhóm táp, dùng nút phÁi chuột á kéo táp tÿ Khung bên phÁi sang
tên th¤ mÿc cāa Khung bên trái, khi tên th¤ mÿc này ¤ợc chiếu sáng thì nhÁ nút chuột ra, xuÃt hián một menu tắt.
Chán Move Here nếu muốn di chuyán táp, hoặc chán Copy Here á sao chép táp.
- Xóa tßp và th¤ māc Có hai cách:
Cách 1. Lựa chán các táp hay th¤ mÿc cần xóa, dùng lánh File / Delete, xuÃt hián hộp
tho¿i Confirm File Delete, chán Yes á ¤a các ối t¤ợng ã chán vào thùng rác (Recycle Bin).
Cách 2. Lựa chán các táp hay th¤ mÿc cần xóa, nháy nút phÁi chuột vào tên một ối
t¤ợng ã chán, xuÃt hián một Menu tắt, chán Delete, xuÃt hián hộp tho¿i Confirm File Delete, chán Yes.
- Sao chép tßp hay th¤ māc vào ĩa mÃm Các b¤ớc tiến hành:
Lựa chán các táp hay th¤ mÿc cần sao chép ra ĩa mßm.
Dùng lánh File / Send To, nháy vào tên á ĩa ta muốn sao táp hay th¤ mÿc vào ó.
- Cho phép các máy trên m¿ng truy nhÁp vào mßt th¤ māc 90
Downloaded by Rot Ca (rotca780@gmail.com) lOMoARcPSD| 37922327
Phan Thị Hà-Khoa CNTT1-Học viện CNBCVT
Chán tên th¤ mÿc trong Khung bên trái cāa sá Windows Explorer, nháy nút phÁi chuột
vào tên th¤ mÿc, hián menu tắt, chán Sharing, hián hộp tho¿i Properties, chán lớp Sharing,
chán mÿc Do not share this folder (các máy khác trên m¿ng nội bộ không vào ¤ợc th¤ mÿc
này) hoặc chán Share this folder (cho phép các máy khác trên m¿ng truy nhÁp ¤ợc vào th¤
mÿc, cho phép copy, má táp …).
f) DESKTOP và các biểu t¤ợng
Khái ộng xong máy tính, xuÃt hián màn hình nßn (Desktop), trên ó có các biáu t¤ợng.
Trong khi làm viác bÃt kỳ lúc nào ta muốn xuÃt hián Desktop thì chỉ cần cực tiáu hóa tÃt
cÁ các ứng dÿng ang ch¿y vß thành các biáu t¤ợng trên thanh Taskbar (xem Mÿc 2.4), hoặc
nháy chuột vào biáu t¤ợng Show Desktop trên Thanh công cÿ Quick Launch.
Các biáu t¤ợng trên Desktop chia thành hai lo¿i: biáu t¤ợng mặc nhiên là biáu t¤ợng có
sẵn cāa Windows 2000 nh¤ My Computer và Recycle Bin, biáu t¤ợng ¤ßng tắt (Shortcut) có
dÃu mũi tên á góc d¤ới bên trái hình vẽ biáu t¤ợng. Biáu t¤ợng ¤ßng tắt cung cÃp cách truy
nhÁp vào các tài liáu và ch¤¢ng trình th¤ßng hay sā dÿng một cách dß dàng bằng cách nháy
úp lên biáu t¤ợng. Ví dÿ ta có thá lÁp một biáu t¤ợng ¤ßng tắt tới ch¤¢ng trình
C:\NC\NC.EXE. Biáu t¤ợng ¤ßng tắt không làm thay ái vß trí táp, nó chỉ là một con trỏ mà
cho phép ta nhanh chóng má táp, không phÁi vào há thống menu. Ta có thá t¿o một biáu
t¤ợng ¤ßng tắt cho một ối t¤ợng bÃt kỳ nh¤ táp ch¤¢ng trình, táp vn bÁn, th¤ mÿc, các á ĩa,
các máy tính khác hay máy in.
- T¿o mßt biÅu t¤ÿng ¤ãng tÃt
Có hai cách t¿o một biáu t¤ợng ¤ßng tắt:
I. Cách 1: dùng menu và hộp tho¿i
Nháy nút phÁi chuột lên màn hình nßn, xuÃt hián menu tắt, chán New, xuÃt hián
menu dác thứ hai, chán Shortcut, xuÃt hián hộp tho¿i Create Shortcut.
Trong hộp tho¿i vn bÁn Type the Location of the Item nhÁp ¤ßng d¿n cùng tên táp
ch¤¢ng trình hay táp vn bÁn. Có thá nháy nút Browse á dò tìm ch¤¢ng trình trên ĩa.
Nháy nút Next, nhÁp tên biáu t¤ợng ch¤¢ng trình (do ng¤ßi dùng ặt tùy ý) vào hộp
Type a Name for this Shortcut.
Nháy nút Finish á hoàn tÃt viác t¿o biáu t¤ợng ¤ßng tắt. II. Cách 2: kéo và thÁ
Trong cāa sá Windows Explorer lựa chán mÿc cần t¿o biáu t¤ợng ¤ßng tắt.
Chán hián màn hình nßn cāa Windows 2000: kéo c¿nh d¤ới cāa cāa sá Windows
Explorer lên phía trên á xuÃt hián một phần cāa Desktop.
Dùng nút phÁi chuột á kéo mÿc ã chán vào Desktop rßi thÁ nút chuột, xuÃt hián menu tắt.
Nháy Create Shortcut Here. 91
Downloaded by Rot Ca (rotca780@gmail.com) lOMoARcPSD| 37922327
Phan Thị Hà-Khoa CNTT1-Học viện CNBCVT
Khi ta nháy nút phÁi chuột lên biáu t¤ợng ¤ßng tắt sẽ xuÃt hián một menu tắt với các
mÿc: Delete (xóa biáu t¤ợng và ¤a vào Thùng rác, khi xóa biáu t¤ợng táp gốc không bß
xóa), Rename (ái tên biáu t¤ợng), Properties (thay ái các thuộc tính cāa biáu t¤ợng, xem
¤ợc n¢i chứa ch¤¢ng trình ứng với biáu t¤ợng, thay ái hình Ánh cāa biáu t¤ợng).
Thi¿t ặt một ch¤¢ng trình chạy ngay hay một táp văn bản mở ngay khi khởi ộng cho hián th¤ mÿc C:
g bên trái cāa cāa sá Windows Explorer, chán tên ch¤¢ng
trình hay táp vn bÁn trong Khung bên phÁi, nháy nút phÁi chuột vào tên táp ã chán và kéo
táp sang Khung bên trái sao cho th¤ mÿc StartUp ¤ợc chiếu sáng, thÁ nút chuột, xuÃt hián menu tắt, chán mÿc
Thay éi màn hình nÃn
Dùng lánh Start / Settings / Control Panel, xuÃt hián cāa sá Control Panel, nháy úp lên
biáu t¤ợng Display, xuÃt hián hộp tho¿i Display Properties với nhißu lớp. Lớp Background:
chán cách trang trí màn hình nßn theo các m¿u sẵn, hoặc lÃy một Ánh bÃt kỳ (dùng nút
Browse á xác ßnh n¢i chứa táp Ánh). Lớp Screen Saver: thiết lÁp màn hình chß (màn hình
này xuÃt hián nếu sau một khoÁng thßi gian nhÃt ßnh ta không sā dÿng bàn phím hay chuột).
BiÅu t¤ÿng My Computer
er là rÃt hău dÿng nếu ta muốn xem nội dung riêng một th¤ mÿc hay một á
ĩa. Khi ta nháy úp My Computer trên màn hình nßn, các á ĩa ang dùng hián lên trong
cāa sá My Computer. Nháy úp lên biáu t¤ợng á ĩa, cāa sá sẽ hián lên các th¤ mÿc chứa
trong á ĩa này. Sau ó ta có thá nháy úp vào th¤ mÿc á xem các táp có trong th¤ mÿc này.
Sā dÿng mÿc View trên menu chính ta có thá thay ái cách trình bày các táp và th¤ mÿc
trong cāa sá. TÃt cÁ các thao tác ối với táp và th¤ mÿc trong My Computer cũng t¤¢ng tự nh¤ trong Windows Explorer. 92
Downloaded by Rot Ca (rotca780@gmail.com) lOMoAR cPSD| 37922327
Phan Thị Hà-Khoa CNTT1-Học viện CNBCVT
Trên thanh công cÿ Standard Buttons cāa cāa sá My Computer nếu ta không chán mÿc
Folders thì cāa sá My Computer sẽ chia thành Khung bên trái (chứa cây th¤ mÿc) và Khung
bên phÁi hoàn toàn giống với cāa sá Windows Explorer.
-BiÅu t¤ÿng Recycle Bin (Thùng rác)
Thùng rác là n¢i chứa các táp, các ối t¤ợng bß xóa bỏ khi ta thao tác trong Windows 2000.
Các táp không thực sự bß lo¿i khỏi ĩa cứng cho ến khi ta làm rãng Thùng rác. Windows
Explorer xem thùng rác nh¤ một th¤ mÿc con, do ó có thá phÿc hßi các táp và biáu t¤ợng
Phÿc hßi: nháy tên táp cần phÿc hßi, dùng lánh File / Restore, Windows sẽ tự ộng
khôi phÿc táp hay biáu t¤ợng ch¤¢ng trình theo ngußn gốc ban ầu.
Xóa khỏi Thùng rác: nháy tên ch¤¢ng trình cần xóa bỏ, dùng lánh File / Delete.
Làm rãng Thùng rác: dùng lánh File / Empty Recycle Bin. Theo ßnh kỳ cần làm
rãng Thùng rác á giÁi phóng không gian ĩa.
ch¤¢ng trình bß xóa bằng thao tác sao chép giăa các th¤ mÿc.
Các thao tác ối với Thùng rác. Nháy úp chuột lên biáu t¤ợng Recycle Bin, xuÃt hián cāa
sá Recycle Bin, trong cāa sá này có thá làm các thao tác: g) PAINT 93
Downloaded by Rot Ca (rotca780@gmail.com) lOMoAR cPSD| 37922327
Phan Thị Hà-Khoa CNTT1-Học viện CNBCVT
Paint là một công cÿ cāa Windows 2000 cho phép t¿o và hiáu chỉnh các hình Ánh ß háa:
một bức vẽ trong Paint, thông tin ß háa l¤u trong Clipboard, một bức Ánh ghi á d¿ng BMP, GIF, JPEG. -Khởi ßng Paint
Dùng lánh Start / Programs / Accessories / Paint á má cāa sá Paint.
Vùng trắng á giăa là vùng vẽ. 16 nút bên trái cāa sá là hộp công cÿ (Tool box), công cÿ
chính á vẽ là bút lông (Brush) và bút chì (Pencil). Góc d¤ới bên trái là Hộp màu (Color Box)
dùng á chán màu, kßch trái cāa hộp màu là một ô cho thông tin vß màu mặt tißn (foreground
color) và màu mặt hÁu (background color) hián hành.
Trên vùng vẽ là các iám Ánh (pixel) xếp theo hàng và cột, góc trên bên trái vùng vẽ có táa
ộ (0, 0), trÿc X h¤ớng sang phÁi, trÿc Y h¤ớng xuống d¤ới. Phía d¤ới cāa sá Paint là thanh
tr¿ng thái (status bar), trên ó có hai ô chứa hai cặp số. Cặp số thứ nhÃt có d¿ng (x, y) thông
báo vß trí cāa con trỏ, hoặc là táa ộ bắt ầu cāa ối t¤ợng ang vẽ (ví dÿ mút ầu tiên cāa ¤ßng
thẳng, góc trên trái cāa hình chă nhÁt, ...). Cặp số thứ hai có d¿ng (dx × dy) thông báo kích
th¤ớc cāa ối t¤ợng ang vẽ. Ví dÿ khi ang kéo chuột vẽ hình chă nhÁt hai cặp số là (87, 47) và
(180 155) sẽ có nghĩa: táa ộ góc trên trái hình chă nhÁt là x = 87, y = 47, chißu ngang hình
chă nhÁt là dx = 180, chißu cao là dy = 155. Sā dÿng các táa ộ này á vẽ chính xác hình.
Thi¿t lÁp kích th¤ớc bāc vẽ dùng lánh Image / Attributes, xuÃt hián hộp tho¿i Attributes.
Các mÿc trong hộp tho¿i: Width - thay ái ộ rộng bức vẽ, Height - thay ái ộ cao bức vẽ, Units
- thay ái ¢n vß o là Cm hay Inches, Color - á chán màu cāa bức vẽ là trắng en hay có màu,
Default - trÁ l¿i tr¿ng thái mặc ßnh.
Các b¤ớc chung ể tạo một bāc vẽ: •
Chán công cÿ vẽ: nháy vào nút. Hình vẽ trên nút mô tÁ công dÿng cāa nút, song nếu
không biết chính xác hãy á con trỏ lên nút một lát tên nút xuÃt hián. •
Chán ộ rộng ¤ßng, kiáu bút lông hay lo¿i hình chă nhÁt tÿ nhóm các lựa chán phía d¤ới hộp công cÿ. •
Chán màu mặt tißn: nháy nút trái chuột lên màu cần chán trong hộp màu. Có thá t¿o
một màu theo ý thích bằng lánh Colors / Edit Colors / Define Custom Colors. •
Chán màu mặt hÁu: nháy nút phÁi chuột vào màu cần chán trong hộp màu. •
Tiến hành vẽ. Trong khi vẽ nếu dùng nút trái chuột sẽ lÃy màu mặt tißn, dùng nút
phÁi chuột sẽ lÃy màu mặt hÁu. Muốn hāy nhăng gì vÿa vẽ dùng lánh Edit / Undo (có thá
dùng tới 3 lần), muốn khôi phÿc nhăng gì ã bß Undo dùng lánh Edit / Repeat (có thá dùng tới 3 lần).
Xem các bāc vẽ lớn. Với nhăng bức vẽ lớn cần nhißu chã trên màn hình á xem, ta có thá
không cho hián hộp công cÿ, hộp màu và thanh tr¿ng thái bằng cách dùng lánh View, bỏ áng
dÃu vào các mÿc Tool box, Color box, Status bar. Muốn rộng h¢n năa dùng lánh View / View
Bitmap (Ãn phím bÃt kỳ vß tr¿ng thái bình th¤ßng).
Ghi một bāc vẽ dùng lánh File / Save hay lánh File / Save As, hộp tho¿i Save As xuÃt
hián. Trong hộp Save As Type hãy chán một trong các d¿ng bitmap: Monochrome Bitmap 94
Downloaded by Rot Ca (rotca780@gmail.com) lOMoAR cPSD| 37922327
Phan Thị Hà-Khoa CNTT1-Học viện CNBCVT
(l¤u bức vẽ trắng en), 16 Color Bitmap (bức vẽ 16 màu), 256 Color Bitmap (bức vẽ nhißu phá
màu), 24 Bit Bitmap (l¤u bức vẽ bằng phá màu ầy ā, chiếm nhißu không gian ĩa nhÃt). Gõ
tên táp vào hộp File Name, nháy Save.
Mở một bāc vẽ ã l¤u trữ dùng lánh File / Open.
- Sā dāng các công cā v¿
Vẽ tự do bằng công cụ Pencil. Pencil là công cÿ vẽ mặc ßnh khi khái ộng Paint.
Nháy nút trái (nút phÁi) chuột vào iám bắt ầu vẽ, giă chuột và kéo á vẽ theo màu mặt tißn
(màu mặt hÁu). Muốn vẽ các ¤ßng hoàn toàn ứng, ngang hay xiên 45 ộ thì phÁi giă phím Shift khi vẽ.
Vẽ tự do bằng công cụ Brush. Khi ã chán Brush, ta cần chán kiáu cāa bút lông trong hộp
á lißn phía d¤ới hộp công cÿ. NhÃn giă nút trái (nút phÁi) chuột và kéo á vẽ theo màu mặt tißn (màu mặt hÁu).
S¢n xịt bằng công cụ Airbrush. Chán Airbrush, chán một trong ba m¿u bình xßt á phía
d¤ới hộp công cÿ, di con trỏ vào vùng vẽ, Ãn nút trái (nút phÁi) chuột và kéo á t¿o các ám
chÃm hình tròn có màu mặt tißn (màu mặt hÁu). Các ám chÃm mau hay th¤a phÿ thuộc vào kéo chuột nhanh hay chÁm.
Vẽ các ¤ờng thẳng bằng công cụ Line. Chán Line, chán ộ rộng ¤ßng trong hộp á phía
d¤ới hộp công cÿ, di chuột vào vùng vẽ, nhÃn giă nút trái (nút phÁi) chuột và kéo á vẽ ¤ßng
thẳng theo màu mặt tißn (màu mặt hÁu). Đá vẽ các ¤ßng hòan toàn ứng, ngang hay chéo cần Ãn phím Shift khi vẽ.
Vẽ các ¤ờng cong l¤ợn sóng bằng công cụ Curve: •
Chán công cÿ Curve, chán ộ rộng nét vẽ á hộp phía d¤ới Hộp công cÿ. 95
Downloaded by Rot Ca (rotca780@gmail.com) lOMoARcPSD| 37922327
Phan Thị Hà-Khoa CNTT1-Học viện CNBCVT •
Đßnh vß con trỏ vào n¢i bắt ầu ¤ßng cong, nhÃn giă nút trái (nút phÁi) chuột và kéo
tới n¢i kết thúc ¤ßng cong, nhÁ nút chuột, ta ¤ợc một ¤ßng thẳng theo màu mặt tißn (màu mặt hÁu). •
Фa con trỏ vào một phía cāa ¤ßng thẳng, nhÃn giă nút chuột và kéo á ánh cong ¤ßng
thẳng vß một phía, nhÁ chuột (ta có ¤ßng với một nét cong). Фa con trỏ sang phía ng¤ợc l¿i,
nháy chuột và kéo á ¤ợc ¤ßng cong d¿ng l¤ợn sóng. Trong lúc ang uốn cong ¤ßng nếu ta Ãn
ßng thßi cÁ hai nút chuột thì ¤ßng cong bß hāy bỏ.
Vẽ hình chữ nhÁt và hình vuông bằng công cụ Rectangle. GiÁ sā dùng nút trái chuột á
vẽ, chán công cÿ Rectangle, chán một trong ba lo¿i hình chă nhÁt á phía d¤ới hộp công cÿ:
Loại thứ nhất là hình chă nhÁt chỉ có vißn và ¤ợc vẽ theo màu mặt tißn; Loại thứ hai là hình
chă nhÁt có vißn ¤ợc tô bằng màu mặt tißn, phần bên trong ¤ợc tô bằng màu mặt hÁu; Loại
thứ ba là hình chă nhÁt ặc ¤ợc tô ầy bằng màu mặt tißn. Di con trỏ ến vùng vẽ, nhÃn giă nút
chuột và kéo á t¿o hình chă nhÁt.
Nếu dùng nút phÁi chuột á vẽ thì sẽ dùng màu mặt hÁu á vẽ, các hình chă nhÁt có màu
ng¤ợc l¿i. Muốn ¤ợc hình vuông thì giă phím Shift trong khi kéo chuột.
Đá xác ßnh ộ rộng ¤ßng vißn cāa hình chă nhÁt, hình chă nhÁt có góc tròn, ellipse, hay a
giác, tr¤ớc tiên chán công cÿ Line, chán ộ rộng ¤ßng, tiép theo mới chán công cÿ Rectangle, Ellipse hay Polygon.
Vẽ hình chữ nhÁt với các góc tròn dùng công cÿ Rounded Rectangle, thao tác giống công cÿ Rectangle.
Vẽ hình Ellipse và hình tròn bằng công cụ Ellipse: thao tác giống công cÿ Rectangle.
Vẽ các hình a giác bằng công cụ Polygon: GiÁ sā dùng nút trái chuột á vẽ một a giác có
N c¿nh, chán công cÿ Polygon, chán một trong ba lo¿i a giác trong hộp phía d¤ới hộp công
cÿ: a giác chỉ có vißn và ¤ợc vẽ bằng màu mặt tißn, a giác có vißn tô bằng màu mặt tißn và
ruột tô bằng màu mặt hÁu, a giác tô ặc bằng màu mặt tißn. NhÃn giă nút trái chuột và kéo á
vẽ c¿nh ầu tiên, nháy nút trái chuột vào iám cuối cāa c¿nh thứ hai (Paint sẽ nối diám này với
iám cuối cāa c¿nh ầu tiên), tiếp tÿc á ¤ợc N-1 c¿nh, nháy úp vào iám cuối cāa c¿nh N-1 ta
nhÁn ¤ợc c¿nh cuối cùng.
Nếu dùng nút phÁi chuột á vẽ thì ta sẽ dùng màu mặt hÁu và a giác có màu ng¤ợc l¿i.
Tô ầy một hình óng kín bằng Fill with Color. Chán công cÿ Fill with Color, ¤a con trỏ
vào bên trong vùng óng kín ßnh tô, nháy nút trái chuột á tô bằng màu mặt tißn (hoặc nháy nút
phÁi chuột nếu tô bằng màu mặt hÁu).
Thêm văn bản bằng công cụ Text: •
Chán công cÿ Text, chán một trong hai cách hián vn bÁn nhß hai biáu t¤ợng á phía
d¤ới hộp công cÿ. Cách á trên: nßn cāa khung vn bÁn là màu mặt hÁu, màu chă là màu mặt
tißn. Cách á d¤ới: màu chă là màu mặt tißn, khung vn bÁn không có nßn, do ó v¿n nhìn thÃy
nhăng gì ã vẽ á phía d¤ới khung vn bÁn. •
Nháy giă nút trái chuột và kéo á t¿o khung vn bÁn hình chă nhÁt, xuÃt hián con trỏ
nhÁp vn bÁn và thanh công cÿ Fonts: 96
Downloaded by Rot Ca (rotca780@gmail.com) lOMoARcPSD| 37922327
Phan Thị Hà-Khoa CNTT1-Học viện CNBCVT
Chán phông chă, cỡ chă và kiáu chă. Nếu không xuÃt hián thanh công cÿ Fonts thì dùng lánh View / Text Toolbar. •
NhÁp vn bÁn tÿ bàn phím, hoặc dán vn bÁn có sẵn trong Clipboard bằng lánh Edit /
Paste. NhÃy bên ngoài khung vn bÁn á chÃp nhÁn, sau khi chÃp nhÁn ta không thá sāa ¤ợc.
- Sā dāng các công cā hißu chỉnh
Xóa bằng công cụ Eraser: Chán công cÿ Eraser / Color Eraser, chán một trong 4 kích
th¤ớc cÿc tẩy xuÃt hián phía d¤ới hộp công cÿ, chán màu mặt hÁu. Đßnh vß con trỏ chuột
vào n¢i bắt ầu xóa, nhÃn giă nút trái chuột và kéo, vùng bß xóa ¤ợc thay bằng màu mặt hÁu.
Chßn màu bằng công cụ Pick Color: Chán màu mặt tißn: chán Pick Color, nháy nút trái
chuột vào vß trí trên bức vẽ có màu ma ta muốn làm màu mặt tißn. Chán màu mặt hÁu: chán
Pick Color, nháy nút phÁi chuột vào vß trí trên bức vẽ có màu ma ta muốn làm màu mặt hÁu.
Công cụ Magnifier dùng ể phóng một phần hay toàn bộ bāc vẽ: •
Đá phóng một phần bức vẽ chán công cÿ Magnifier, di con trỏ (là khung chă nhÁt
lớn) lên phần cāa bức vẽ muốn phóng to, nháy chuột. Ta có thá xem và sāa chăa hình vẽ. Kết
thúc phóng to: nháy l¿i công cÿ Magnifier, nháy vào iám bÃt kỳ trên bức vẽ. •
Phóng to toàn bộ bức vẽ: chán công cÿ Magnifier, chán mức phóng 2 lần, 6 lần hay 8
lần á d¤ới hộp công cÿ. Xem hay sāa bÁn vẽ, trá vß không phóng: nháy l¿i vào nút Magnifier,
chán mức phóng một lần á d¤ới hộp công cÿ. - Làm vißc vái các m¿u cÃt Tạo một m¿u cắt:
Cách 1: T¿o m¿u cắt hình chă nhÁt. Chán công cÿ Select, di chuyán con trỏ chuột vào
ỉnh trên trái m¿u cắt, Ãn giă nút trái và di chuyán xuống ỉnh d¤ới phÁi thì nhÁ chuột. M¿u
cắt ¤ợc ánh dÃu bằng ¤ßng vißn g¿ch hình chă nhÁt.
Cách 2: T¿o m¿u cắt theo hình bÃt kỳ. Chán công cÿ Free Form Select, di chuyán con
trỏ chuột vào vùng vẽ rßi rê chuột á vẽ một ¤ßng bao quanh m¿u cắt, nhÁ nút chuột, xuÃt
hián ¤ßng chă nhÁt có chÃm bao quanh m¿u cắt. Nếu làm sai, có thá nháy t¿i một vß trí bÃt
kỳ trên màn hình á làm l¿i.
Lựa chán một trong hai cách thức m¿u cắt có thá ¤ợc di chuyán, sao chép hay quét nhß hai
tùy chán á ngay d¤ới hộp công cÿ. Chán cách ầu tiên (dạng mờ ục): phần mặt hÁu cāa m¿u
cắt cũng mang tới n¢i mới, che lÃp nhăng gì ã vẽ cũ á ây. Chán cách thứ hai (dạng trong
suốt): bÃt kỳ phần nào cāa m¿u cắt có màu trùng với màu mặt hÁu hián hành ßu biến mÃt,
cho phép hình Ánh nằm phía d¤ới hián thß.
Xóa m¿u cắt: Dùng lánh Edit / Cut (hoặc Ãn Ctrl + X). Chú ý, với cách xóa này, m¿u cắt
vẽ ch¤a bß mÃt hẳn, có thá khôi phÿc l¿i bằng lánh Edit / Paste, m¿u cát sẽ hián l¿i t¿i ỉnh
bên trái cāa sá vẽ, dùng chức nng di chuyán m¿u cắt á ặt l¿i vß trí mong muốn.
Di chuyển m¿u cắt: Đặt con trỏ chuột vào phần trong m¿u cắt, Ãn giă nút trái chuột và di
chuyán vùng Ánh ến vß trí mới thì nhÁ chuột. 97
Downloaded by Rot Ca (rotca780@gmail.com) lOMoARcPSD| 37922327
Phan Thị Hà-Khoa CNTT1-Học viện CNBCVT
Sao chép m¿u cắt: Dùng lánh Edit / Copy á sao chép m¿u cắt vào vùng ám. Dùng lánh
Edit / Paste dán m¿u cắt tÿ vùng ám lên ỉnh bên trái cāa sá vẽ, dùng chức nng di chuyán á ¤a
m¿u cắt vào vß trí mong muốn. Chú ý: thao tác dán có thá lặp l¿i nhißu lần. Trong tr¤ßng hợp
Ánh có nhißu vùng giống nhau thì ta chỉ vẽ một lần rßi thực hián thao tác dán. Phần Ánh cắt
hoặc sao chép ¤ợc l¤u giă trong vùng ám, ta có thá lợi dÿng ißu này á dán nó vào các cāa sá ch¤¢ng trình khác.
Quét một m¿u cắt: Có nghĩa là t¿o ra một vết các bÁn sao cāa m¿u cắt khi bng qua bức
vẽ. Đầu tiên di chuyán m¿u cắt tới n¢i muốn bắt ầu quét, cho con trỏ vào trong khung chă
nhÁt cāa m¿u cắt, nhÃn giă phím Shift và kéo chuột, số l¤ợng bÁn sao phÿ thuộc vào tốc ộ kéo chuột.
Kéo dãn và kéo nghiêng một m¿u cắt: Dùng lánh Image / Stretch-Skew, xuÃt hián hộp
tho¿i Stretch and Skew, nhÁp vào số phần trm á thay ái kích th¤ớc theo chißu ngang và chißu
dác, nhÁp vào số ộ (âm hay d¤¢ng) á kéo nghiêng m¿u cắt theo chißu ngang hay chißu dác.
LÁt hay quay một m¿u cắt: Dùng lánh Image / Flip-Rotate, xuÃt hián hộp tho¿i Flip and
Rotate, lựa chán lÁt nó theo chißu ngang hay chißu dác, quay nó một góc 90 ộ, 180 ộ hay 270 ộ.
Sao chép m¿u cắt thành táp riêng trên ĩa: Đánh d¿u vùng Ánh, dùng lánh Edit / Copy to
…. Hộp tho¿i xuÃt hián cho phép ặt tên táp Ánh và chán tên th¤ mÿc sẽ l¤u Ánh, kết thúc chán OK.
Dán ảnh từ một táp vào bản vẽ: Dùng lánh Edit / Paste From…, Hộp tho¿i xuÃt hián cho
phép chán tên táp Ánh và th¤ mÿc chứa nó rßi chán OK. Kết quÁ nội dung Ánh mới sẽ ¤ợc
¤a vào màn hình t¿i ỉnh trên trái cāa sá vẽ. Dùng chức nng di chuyán á ặt Ánh vào vß trí mong muốn trên bÁn vẽ.
h). Ch¤¢ng rình soạn thảo văn bản Notepad
Notepad là một ch¤¢ng trình so¿n thÁo vn bÁn t¤¢ng ối ¢n giÁn, ch¿y tốc ộ nhanh, nó
tián dùng trong nhißu tr¤ßng hợp: so¿n thÁo vn bÁn mã ASCII thông th¤ßng, không có hình
Ánh, không có ßnh f¿ng phức t¿p.
Muốn kích ho¿t ch¤¢ng trình saán thÁo vn bÁn Notepad ta làm nh¤ sau: Dùng lánh
Start/Program/Accessories/Notepad, xuÃt hián cāa sá màn hình cāa Notepad.trên menu chính
gßm có 3 mÿc c¢ bÁn, mãi mÿc ứng với 1 menu dác: -
Menu File gßm các mÿc: New(t¿o táp mới), Open( má táp), Save(ghi táp vào ĩa), Save
as(ghi táp với tên khác), Page setup( chán khá giÃy và ặt lß), Print( in vn bÁn), Exit( thoát). -
Menu Edit gßm các mÿc: Undo( hāy thao tác vÿa làm ), (Xóa khối ¤a vào vùng
ám), Copy( chép khối ¤a vào vùng ám) ,Paste( dán khối tÿ vùng ám vào chã con trỏ) , Delete(
xóa khối), Find( Tìm kiếm một xâu kí tự), Find Next( tìm tiếp), Replace( Tìm kiếm một xâu
kí tự và thay thế bằng xâu khác), Go to ( ¤a con trỏ vß dòng nhÃt ßnh), Select All (lựa chán
khối là cÁ vn bÁn), Time/date ( chèn ngày, tháng hián t¿i vào vn bÁn). -
Menu Format: gßm có hai mÿc: WordWrap( con trỏ tÿ ộng xuống dòng khi nhÁp),
Font ( Đth Font chă cho toàn vn bÁn, cho khối ã chán). 98
Downloaded by Rot Ca (rotca780@gmail.com) lOMoARcPSD| 37922327
Phan Thị Hà-Khoa CNTT1-Học viện CNBCVT
i) CONTROL PANEL
Ch¤¢ng trình ứng dÿng Control Panel dùng á cài ặt hay thay ái cÃu hình cāa há thống. Có thá kích ho¿t
Control Panel bằng lánh Start / Settings / Control Panel. XuÃt hián cāa sá Control Panel:
Trong cāa sá Control Panel có các biáu t¤ợng với các chức nng sau:
Accessibility Options: Thiết lÁp các thông số cÃu hình thiết bß nh¤ bàn phím, màn
hình, chuột, âm thanh làm cho máy tính dß dàng sā dÿng với nhăng ng¤ßi khuyết tÁt.
Add / Remove Hardware: Cài ặt và ặt cÃu hình phần cứng nh¤ máy in, modem, máy
quét, bộ ißu khián trò ch¢i.
Add / Remove Programs: Cài ặt hay gỡ bỏ các phần mßm ứng dÿng. Chức nng này
có ba mÿc chính: Change or Remove Programs (thay ái hay gỡ bỏ ứng dÿng), Add New 99
Downloaded by Rot Ca (rotca780@gmail.com) lOMoARcPSD| 37922327
Phan Thị Hà-Khoa CNTT1-Học viện CNBCVT
Programs (bá xung ứng dÿng mới), Add / Remove Windows Components (bá xung hay gỡ
bỏ các thành phần cāa Windows).
Administrative Tools: Các công cÿ quÁn trß.
Date / Time: Thiết lÁp ngày gßi há thống và ặt l¿i múi giß. 100
Downloaded by Rot Ca (rotca780@gmail.com) lOMoAR cPSD| 37922327
Phan Thị Hà-Khoa CNTT1-Học viện CNBCVT
Display: Thiết lÁp màn hình nßn và màn hình chß.
Folder Options: Thiết lÁp cách hián các táp và th¤ mÿc.
Fonts: Hián và quÁn lý các phông chă.
Game Controllers: Cài ặt và cÃu hình bộ ißu khián trò ch¢i.
Internet Options: Cài ặt cách hián thß Internet và các thiết lÁp kết nối.
Keyboard: thiết lÁp các thông số cāa bàn phím, ộ nhÃp nháy cāa con trỏ.
Mail: Thiết lÁp cho Microsoft Outlook.
Mouse: Thay ái các thông số cāa chuột. Cāa sá Mouse Properties có ba mÿc: Buttoms
(hoán ái các nút trái và phÁi, qui ßnh tốc ộ thao tác và nháy úp chuột), Poiters (thay ái các
kiáu hình d¿ng cāa con trỏ chuột), Motion (qui ßnh tốc ộ di chuyán con trỏ chuột và bÁt
tắt viác t¿o vết cāa chuột).
Network and Dial-up connections: T¿o các kết nối m¿ng.
Phone and modem Options: Cài ặt và cÃu hình modem.
Power Options: QuÁn lý ngußn nng l¤ợng.
Printers: Cài ặt máy in.
Regional Options: Thiết ặt cách hián thß ngôn ngă, số, thßi gian và ngày tháng.
Scanners and Cameras: Cài ặt và cÃu hình một máy quét hay máy ghi hình.
Scheduled Tasks: Ch¿y các ch¤¢ng trình theo lßch trình.
Sound and Multimedia: Gắn âm thanh cho các sự kián và cài ặt các thiết bß âm thanh.
System: Xem các thông tin vß há thống và thay ái các thiết lÁp môi tr¤ßng.
Users and Passwords: QuÁn lý các ng¤ßi dùng và mÁt khẩu ối với máy tính ang dùng.
Cài ặt các phông chữ
Trong cāa sá Control Panel nháy úp lên biáu t¤ợng Fonts á má cāa sá Fonts. Trong cāa sá
Fonts các biáu t¤ợng có chă O ứng với d¿ng phông chă OpenType (là phông chă co giãn ¤ợc
cāa Windows 2000), các biáu t¤ợng có chă T ứng với d¿ng phông chă TrueType (phông chă
co giãn ¤ợc cāa các phiên bÁn Windows tr¤ớc ây), các biáu t¤ợng có chă A ứng với d¿ng
phông chă Vector (là phông vẽ có chÃt l¤ợng thÃp) và Raster (còn gái là Font Bitmap ¤ợc
l¤u tră nh¤ các hình Ánh với các kích cỡ nhÃt ßnh, có chÃt l¤ợng tốt). Trong cāa sá này có thá làm các thao tác:
Xem các kiểu Fonts: nháy úp lên biáu t¤ợng hoặc tên Font t¤¢ng ứng, xuÃt hián cāa
sá cho m¿u chă á các kích cỡ khác nhau. 101
Downloaded by Rot Ca (rotca780@gmail.com) lOMoAR cPSD| 37922327
Phan Thị Hà-Khoa CNTT1-Học viện CNBCVT
Xóa bớt phông chữ: nháy tên phông chă cần xóa, bÃm phím Delete, chán nút Yes.
Thay ổi các thuộc tính cÿa phông chữ:
nháy nút phÁi chuột lên tên phông chă,
xuÃt hián menu dác nhỏ, chán mÿc Properties á thay ái.
Thay ổi cách hiển thị trong cửa sổ Fonts:
dùng lánh View, chán các mÿc Large
Cài ặt máy in: Trong cāa sá Control Panel, nháy úp lên biáu t¤ợng Printer, xuÃt hián
cāa sá Printer, trong cāa sá này có thá làm các thao tác:
Cài thêm Fonts mới: dùng lánh File / Install New Fonts … Sau ó cần chỉ ra á ĩa và
¤ßng d¿n chỉ ến các táp l¤u tră phông chă, lựa chán tên phông chă cần thêm trong hộp List of Fonts. 102
Downloaded by Rot Ca (rotca780@gmail.com) lOMoARcPSD| 37922327
Phan Thị Hà-Khoa CNTT1-Học viện CNBCVT
Cài thêm một máy in mới: nháy vào biáu t¤ợng Add Printer, nháy nút Next, chán
cáng nối máy in (mặc nhiên là LPT1), nháy nút Next, chán hãng máy in trong hộp
Manufactures, kiáu máy in trong hộp Printers. Khi cài ặt máy in th¤ßng cần tới ĩa gốc CD cāa bộ Windows 2000.
Hÿy bá một máy in ã cài ặt: nháy biáu t¤ợng máy in cần xóa, nháy nút Delete.
Thay ổi các thông số cÿa máy in: nháy nút phÁi chuột lên biáu t¤ợng cāa máy in.
2.4 CÁC HÞ ĐIÄU HÀNH KHÁC (HÞ ĐIÂU HÀNH UNIX)
Trong phần phân láai há ißu hành chúng tôi ã ¤a ra một số há ißu hành ặc tr¤ng cho mãi
lo¿i há ißu hành, ví dÿ nh¤ há ißu hành PC-DOS, MS-DOS, WINDOWS, WINDOWNT,
LINUX, UNIX, MACINTOSH…. Tr¤ớc kia há ißu hành MS-DOS là há ißu hành hay ¤ợc
sā dÿng nh¤ng ngày nay do nhu cầu cāa con ng¤ßi cùng với sự bùng ná cāa công nghá thông
tin, MS-DOS không còn áp ứng ¤ợc các yêu cầu mới năa và WINDOWS trá thành há ißu
hành ¤ợc sā dÿng rộng rãi nhÃt. Bên c¿nh ó, UNIX cũng là há ißu hành ¤ợc ¤a chuộng và sā
dÿng rộng rãi. Phần này sẽ giới thiáu các ặc iám và các lánh c¢ bÁn cāa há ißu hành UNIX.
2.4.1. Tổng quan vÁ há iÁu hành UNIX 2.4.1.1. Lịch sử
Nm 1969 Ken Thompson ã lần ầu tiên cài ặt há ißu hành UNIX. Mÿc tiêu khái ầu là cung
cÃp một môi tr¤ßng máy tính hoá á mô phỏng trò ch¢i không gian. Nm 1973 Ritchie và
Thompson ã viết l¿i há ißu hành bằng ngôn ngă C, khác hẳn với các há ißu hành truyßn thống
ghi bằng ngôn ngă máy, do ó UNIX rÃt dß cài ặt trên các há máy khác. Tÿ ó ã khai sinh ra
há ißu hành UNIX. Nm 1974 há thống UNIX ã ¤ợc cài ặt trên các máy DEC PDP-11 á h¢n 100
tr¤ßng ¿i hác. Mÿc tiêu chā yếu là cung cÃp môi tr¤ßng cho các lÁp trình viên chuyên nghiáp.
Ngày nay, 20 nm ã qua, có hàng trm ngàn há thống UNIX cài ặt trên khắp thế giới. Hầu
hết các hãng sÁn xuÃt máy ßu có một phiên bÁn cho UNIX.
Tuy nhiên hián nay á chuẩn hoá há ißu hành UNIX, ng¤ßi ta quy ¤ớc các tÁp lánh chuẩn
và gái là UNIX System V Release 4. Trên máy PC hián nay phá biến hai há ißu hành là SCO UNIX và SUN Solaris.
2.4.1.2. Các ặc iểm cơ bản
Há ißu hành UNIX có một số ặc iám sau: - Đa nhiám - Nhißu ng¤ßi sā dÿng - BÁo mÁt - Độc lÁp phần cứng 103
Downloaded by Rot Ca (rotca780@gmail.com) lOMoAR cPSD| 37922327
Phan Thị Hà-Khoa CNTT1-Học viện CNBCVT - Kết nối má - Dùng chung thiết bß
- Tá chức tÁp tin phân cÃp a/ NhiÁu ng¤ời sử dụng:
Nhißu ng¤ßi sā dÿng có thá sā dÿng máy tính có cài UNIX t¿i một thßi iám. Ví dÿ: 104
Downloaded by Rot Ca (rotca780@gmail.com) lOMoARcPSD| 37922327
Phan Thị Hà-Khoa CNTT1-Học viện CNBCVT UNIX Server: - User A: dùng Oracle
- User B: ch¤¢ng trình biên dßch - User C: gāi th¤
Há ißu hành UNIX quÁn lý nhăng ng¤ßi sā dÿng theo cÃu trúc phân cÃp, ng¤ßi sā dÿng
có thá giao tiếp với nhau theo các nhóm. Ng¤ßi sā dÿng cao nhÃt (super user) có thá can thiáp
ến các ng¤ßi sā dÿng khác nếu cần.
b/ Đa ch¤¢ng trình
T¿i một thßi iám một ng¤ßi sā dÿng có thá thực hián ßng thßi nhißu tác vÿ. Với há ißu
hành ¢n ch¤¢ng trình nh¤ MS-DOS một lánh thực hián sẽ chiếm toàn bộ thßi gian CPU xā
lý, b¿n chỉ có thá thực hián lánh kế khi lánh tr¤ớc ó ã ¤ợc thực hián xong. Còn trong há ißu
hành UNIX b¿n có thá ặt lánh ch¿y á chế ộ nßn (background) ßng thßi khi ó có thá thực hián
các lánh kế. c/ Tổ chāc tÁp tin phân cấp
Các tÁp tin cāa UNIX ¤ợc tá chức theo d¿ng cây có chung th¤ mÿc gốc ¤ợc biáu dißn bái ký tự /.
Bên trong th¤ mÿc có thá là các th¤ mÿc con hay các tÁp tin . UNIX có 3 lo¿i tÁp tin:
- TÁp tin bình th¤ßng (ordinary file): là một tÁp tin chứa các dă liáu ASCII hay nhß phân.
- TÁp tin th¤ mÿc (directory file): chứa danh sách các phần tā (th¤ mÿc, tÁp tin, thiết
bß) có thá truy xuÃt tới.
- TÁp tin ặc biát (special file): là các tÁp tin liên quan ến các thiết bß phần cứng và truyßn thông. Ví dÿ:
- bàn phím là một tÁp tin nhÁp (input).
- màn hình là một tÁp tin xuÃt (output). / UMUNIX - bin - users - dev user1 user2 (n á ĩa)
Đối với Unix toàn bộ há thống tÁp tin chỉ có một root. Có thá sā dÿng lánh mount á kết
nối các á ĩa trong một há thống tÁp tin duy nhÃt. à 1 : / LIB BIN USR à 2: /- ETC 105
Downloaded by Rot Ca (rotca780@gmail.com) lOMoARcPSD| 37922327
Phan Thị Hà-Khoa CNTT1-Học viện CNBCVT ORACLE mount => /- LIB BIN USR- ETC - ORACLE
d/ Độc lÁp phần cāng
Vì há ißu hành UNIX ¤ợc viết bằng ngôn ngă cÃp cao cho nên nó rÃt dß cài ặt trên các
cÃu hình phần cứng khác. H¢n năa với cách tá chức các thiết bß là các tÁp tin ặc biát nên
viác thêm vào hay lo¿i bỏ các thiết bß rÃt dß dàng.
e/ Dùng chung thi¿t bị
Vì Unix là môi tr¤ßng nhißu ng¤ßi sā dÿng do ó các thiết bß ngo¿i vi nh¤ máy in,v.v... có
thá ¤ợc dùng chung bái nhißu ng¤ßi sā dÿng.
f/ Bảo mÁt
Unix cung cÃp rÃt nhißu c¢ chế bÁo mÁt khác. Trong ó mãi ng¤ßi sā dÿng có một số
quyßn trên các tÁp tin nhÃt ßnh và chỉ ¤ợc phép ch¿y một số ch¤¢ng trình nhÃt ßnh. Ngoài
ra c¢ chế mã hoá và giÁi mã cũng là một phần cāa há ißu hành.
g/ K¿t nối mở
Unix cung cÃp các thiết bß m¿ng qua Ethernet, Modem, X25. Với nhißu thā tÿc truyßn
thông khác nhau UUCP (Unix-to-Unix Copy), TCP/IP, và các ứng dÿng E-mail,FTP, NFS (Network File System).
2.4.1.3. Các thành phần chính của hệ iều hành UNIX:
- Windows & Graphic User Interface - Shell - Lánh và tián ích
- Các bộ ißu khián thiết bß
- Kernel a/ Kernel:
Là thành phần chā yếu hay trái tim cāa há ißu hành. Nó chiếm khoÁng 500KB --> 2MB
tùy theo tính chÃt phức t¿p cāa há thống. Nhiám vÿ chā yếu cāa Kernel là:
- QuÁn lý tài nguyên: nh¤ bộ nhớ, v.v...
- QuÁn lý há thống tÁp tin: có thá là các tÁp tin, th¤ mÿc cÿc bộ hay tÿ xa.
- QuÁn lý các quá trình th¤ßng trú (deamon). 106
Downloaded by Rot Ca (rotca780@gmail.com) lOMoAR cPSD| 37922327
Phan Thị Hà-Khoa CNTT1-Học viện CNBCVT
- QuÁn lý bộ nhớ Áo: á thực thi nhißu quá trình ßng thßi trong khi số l¤ợng bộ nhớ có
h¿n, Unix tá chức một vùng trên ĩa nh¤ là một vùng bộ nhớ (bộ nhớ Áo). Kernel phÁi bộ nhớ Áo RAM Kernel Vùng làm viác Swap Đĩa cứng Swap bộ nhớ Áo - QuÁn lý quá trình :
Nh¤ ã biết vì Unix là một há ißu hành a ch¤¢ng do ó viác quÁn lý các quá trình ßng thßi
rÃt phức t¿p. Nó phÁi quÁn lý viác khái t¿o và kết thúc các quá trình cũng nh¤ các tranh chÃp có thá xÁy ra.
- QuÁn lý các bộ ißu khián thiết bß.
- QuÁn lý m¿ng: bao gßm nhißu thiết bß phần cứng khác và các thā tÿc khác.
- QuÁn lý viác khái ộng và dÿng máy.
b/ Bộ iÁu khiển thi¿t bị:
UNIX thá hián các thiết bß vÁt lý nh¤ các tÁp tin ặc biát. Mộ tÁp tin ặc biát sẽ có 1 iám
vào trong th¤ mÿc và có 1 tên tÁp tin. Do ó Unix cho phép ng¤ßi sā dÿng ßnh nghĩa tên thiết bß.
Các thiết bß ¤ợc chia làm hai lo¿i: ký tự và khối.
- Thiết bß ký tự ác và ghi dòng các ký tự (ví dÿ các thiết bß ầu cuối).
- Thiết bß khối ác và ghi dă liáu trong các khối có kích th¤ớc cố ßnh (ví dÿ á ĩa).
Thiết bß có thá ái tên nh¤ ái tên tÁp tin. Th¤ mÿc chứa các bộ ißu khián thiết bß là /dev.
c/ Lánh và tián ích:
Các lánh và tián ích cāa Unix rÃt a d¿ng.
Một lánh UNIX có d¿ng: $lánh [các chán lựa] [các
ối số] lánh th¤ßng là chă nhỏ. Unix phân biát chă lớn, nhỏ. Ví dÿ: $ls -c /dev
Ta có thá chia lánh thành các nhóm sau: */ Các lánh khái t¿o: 107
Downloaded by Rot Ca (rotca780@gmail.com) lOMoAR cPSD| 37922327 exit
thoát khỏi há thống (Bourne-Shell) logout
thoát khỏi há thống C-Shell
Phan Thị Hà-Khoa CNTT1-Học viện CNBCVT id
chỉ danh cāa ng¤ßi sā dÿng
logname tên ng¤ßi sā dÿng login man giúp ỡ newgrp
chuyán ng¤ßi sā dÿng sang một nhóm mới psswd
thay ái password cāa ng¤ßi sā dÿng set xác ßnh các biến tên cāa há thống (host) môi
cho biết nhăng ai ang thâm nhÁp há thống tr¤ßng tty ặt các
hián thß dòng ký tự hay biến thông số
ặt màu nßn và chă cāa màn hình terminal uname tính biáu thức số hác who */ Trình báo màn hình: hián thß và ặt ngày echo setcolor gāi nhÁn th¤ tín ián tā */ Desktop: bc cal date mail
mesg cÃm/ cho phép hián thß thông báo trên màn hình (bái write/ hello) spell kiám tra lãi chính tÁ vi so¿n thÁo vn bÁn
write/ hello cho phép gāi dòng thông báo ến nhăng ng¤ßi sā dÿng trong há thống */ Th¤ mÿc: cd ái th¤ mÿc
copy sao chép 2 th¤ mÿc mkdir t¿o th¤ mÿc rmdir
lo¿i bỏ th¤ mÿc pwd trình bày th¤ mÿc hián hành */ TÁp tin: 108
Downloaded by Rot Ca (rotca780@gmail.com) lOMoAR cPSD| 37922327
Phan Thị Hà-Khoa CNTT1-Học viện CNBCVT
cas/ more trình bày nội dung tÁp tin cp
sao chép một hay nhißu tÁp tin find tìm vß trí cāa tÁp tin grep
tìm vß trí cāa chuãi ký tự trong tÁp tin
ls, l, lf, lc trình bày tên và thuộc tính cāa các tÁp tin trong th¤ mÿc
mv chuyán/ ái tên một tÁp tin sort sắp thứ tự nội dung tÁp tin wc hāy bỏ một quá trình ếm
trình bày tình tr¿ng cāa các quá trình số tÿ
ng¤ng ho¿t ộng một thßi gian trong tÁp tin */ QuÁn
chuyán chā quyßn tÁp tin, th¤ mÿc tÿ một nhóm sang một nhóm khác lý quá trình:
thay ái quyßn sá hău cāa tÁp tin hay th¤ mÿc kill
thay ái ng¤ßi sá hău tÁp tin hay th¤ mÿc ps sleep ng¤ng in */ Kiám soát chā quyßn: chgrp chmod chown */ Kiám soát in: cancel lp in tài liáu ra máy in lpstat tr¿ng thái cāa hàng chß in d/ Shell:
Là bộ xā lý lánh cāa ng¤ßi sā dÿng, nó cho phép ng¤ßi sā dÿng t¿o các lánh rÃt phức t¿p
tÿ các lánh ¢n giÁn. Chúng ta có thá coi shell nh¤ một ngôn ngă lÁp trình cÃp cao. Các chức nng chính cāa shell là: 109
Downloaded by Rot Ca (rotca780@gmail.com) lOMoAR cPSD| 37922327
Phan Thị Hà-Khoa CNTT1-Học viện CNBCVT UNIX Shell:
- Kiám soát I/O và ái h¤ớng - Các biến môi tr¤ßng - Thực hián lánh - Th¤ vián lánh nội t¿i - Tên tÁp tin má rộng
- Ngôn ngă lÁp trình và môi tr¤ßng
Thực hián lánh: Lánh có thá ¤ợc thực hián á chế ộ t¤¢ng tác với ng¤ßi sā dÿng hay chế ộ nßn (background).
Th¤ vián lánh nội t¿i: Các lánh nội trú trong shell.
Ngôn ngă lÁp trình và môi tr¤ßng: Cho phép t¿o các tÁp tin shell-script và các cÃu trúc
ißu khián nh¤ Do, While, Until, If, Case.
Tên tÁp tin má rộng: Cho phép biên dßch tên tÁp tin á d¿ng ?, *.
Các biến môi tr¤ßng: Cho phép ặt các biến môi tr¤ßng. Ví dÿ: PATH=/USR/BIN
Kiám soát I/O và ái h¤ớng: Shell ßnh nghĩa các thiết bß xuÃt/ nhÁp chuẩn và cho phép ta
á h¤ớng thiết bß xuÃt/ nhÁp cāa các quá trình.
Hián nay ng¤ßi ta sā dÿng ba lo¿i shell, tùy theo lo¿i mà có cú pháp khác nhau:
Bourne-Shell : là shell c¢ bÁn nhÃt, nhanh, hiáu quÁ, nh¤ng ít lánh.
C-Shell : giống nh¤ Bourne-Shell nh¤ng cung cÃp thêm các cÃu trúc ißu khián, history, bí danh.
Korn-Shell : Kết hợp cÁ Bourne-Shell và C-Shell.
e/ Windows và Graphic User Interface:
Giao tiếp ß ho¿ và cāa sá là một khÁ nng rÃt m¿nh cāa há ißu hành UNIX, nó cho phép
há ißu hành giao tiếp thân thián h¢n với ng¤ßi sā dÿng. Hián nay UNIX cài ặt XWINDOW
(X11) là một môi tr¤ßng quÁn lý ß ho¿ lý t¤áng. Trong Sun Solaris thì sā dÿng với tên gái là OpenWin. 110
Downloaded by Rot Ca (rotca780@gmail.com) lOMoARcPSD| 37922327
Phan Thị Hà-Khoa CNTT1-Học viện CNBCVT 1. KHÁI NIÞM VÀ PHÂN LO¾I HÞ ĐIÂU HÀNH Khái niám: há ißu hành là một tÁp hợp các ch¤¢ng trình lo viác ißu khián ho¿t ộng cāa máy tính và t¿o môi trußng á các phần mßm khác ch¿y ¤ợc. Phân lo¿i há ißu hành: Ng¤ßi ta phân lo¿i há ißu hành theo khÁ nng thực hián cùng lúc một hay nhißu ch¤¢ng trình
ÂT CH£¡NG 2 hoặc khÁ nng quÁn lý một hay nhißu máy tính. - Theo tiêu chuẩn thứ nhÃt ta có 2 lo¿i há ißu
hành: HĐH ¢n nhiám, HĐH a nhiám
- Theo tiêu chuẩn thứ 2 ta có: Há ißu hành cho máy ¢n lẻ ,há ißu hành m¿ng
2. HÞ ĐIÂU HÀNH MS-DOS
2.1 Các thành phần c¢ bản cÿa MS-DOS a) Boot record b) Táp há thống IO.sys
c) Táp há thống MSDOS.SYS:
d) Ch¤¢ng trình COMMAND.COM và các lánh nội trú e) Lánh ngo¿i trú
2.2. Các lánh c¢ bản cÿa MS-DOS
a) Lßnh nßi trú (internal command)
TÁp lánh nội trú gßm các lánh chính th¤ßng dùng nh¤:
· Các lánh liên quan ến th¤ mÿc: DIR, CD, MD, RD, PATH, TREE, ...
· Các lánh liên quan ến file: TYPE, DEL, COPY, REN, ...
· Các lánh thßi gian: TIME, DATE
· Các lánh khác: PROMPT, CLS, VER, VOL,... b. Lßnh
ngo¿i trú ( external command) 111
Downloaded by Rot Ca (rotca780@gmail.com) lOMoARcPSD| 37922327
Phan Thị Hà-Khoa CNTT1-Học viện CNBCVT Các lánh ngo¿i trú nh¤:
· Các lánh liên quan ến á ĩa: FORMAT, LABEL, CHKDSK, DISKCOPY, ...
· Các lánh liên quan ến tá chức há thống: SYS, TREE, DELTREE, ...
· Các lánh liên quan ến tÁp tin: UNDELETE, ATTRIB, FIND, ...
· Các lánh khác: PRINT, GRAPHICS, SORT, ...
3 HÞ ĐIÂU HÀNH WINDOWS
3.1 Giới thiáu vÁ há iÁu hành WINDOWS:
Là há ißu hành a nhiám, có tính nng giao dián ng¤ßi-máy bằng âm thanh, ß háa, trang bß
nhißu chức nng cāa sá, sā dÿng các trình ¢n kéo xuống và con chuột, có các kiáu chă a d¿ng,
các dÿng cÿ vn phòng ( ßng hß, máy tính, lßch,sá ghi chép...).
3.2 C¢ bản vÁ cách cài ặt HĐH WINDOWS
Có thá cài ặt Windows 2000 theo hai cách: Nâng cÃp tÿ Windows 95 hay Windows 98
lên Windows 2000 (ch¤¢ng trình Setup tự ộng chuyán các thiết lÁp há thống tr¤ớc ây và các
ch¤¢ng trình ứng dÿng cũ ã cài ặt vào Windows 2000), cài Windows 2000 hoàn toàn mới
(máy tính tr¤ớc ây và há ißu hành không phÁi là Windows, ĩa cứng hoàn toàn mới, các ch¤¢ng
trình ứng dÿng cũng phÁi cài l¿i tÿ ầu).
3.3 Sử dụng MENU START và thanh TASKBAR - Menu Start
Khi nháy nút Start xuÃt hián menu Start:
Trong menu này có các mÿc:
Programs: khi trỏ chuột vào mÿc này sẽ xuÃt hián menu dác cÃp hai Programs chứa
tÃt cÁ các ch¤¢ng trình có thá ch¿y.
Documents: má các tài liáu ã ¤ợc má gần ây nhÃt.
Settings: sāa ái màn hình nßn hoặc các thiết lÁp há thống.
Search: tìm táp hoặc th¤ mÿc.
Help: khi chán mÿc này cāa sá trợ giúp xuÃt hián. Cāa sá trợ giúp có 3 nút: Contens
(h¤ớng d¿n phân theo chā ß), Index (các chā ß h¤ớng d¿n liát kê theo thứ tự tÿ vựng),
Search (tìm mái chā ß có chứa một tÿ hay câu, sau ó lựa chán chā ß cần xem h¤ớng d¿n).
Run: má các mÿc nh¤ trang Web, ch¤¢ng trình và các tài nguyên máy tính khác.
Shut Down: tắt hoặc khái ộng l¿i máy.
3.4 Windows Expolorer
Windows Explorer là công cÿ trợ giúp cāa Windows 2000 giúp ta biết ¤ợc toàn bộ máy
tính có nhăng gì, cho phép xem nội dung máy tính nh¤ một há thống thứ bÁc hay cÃu trúc 112
Downloaded by Rot Ca (rotca780@gmail.com) lOMoARcPSD| 37922327
Phan Thị Hà-Khoa CNTT1-Học viện CNBCVT
cây. Ta có thá xem dß dàng nội dung mãi á ĩa, mãi th¤ mÿc, cũng nh¤ bÃt kỳ á ĩa nào trong m¿ng.
3.5 Desktop và các biểu t¤ợng
Các biáu t¤ợng trên Desktop chia thành hai lo¿i: biáu t¤ợng mặc nhiên là biáu t¤ợng có
sẵn cāa Windows 2000 nh¤ My Computer và Recycle Bin, biáu t¤ợng ¤ßng tắt (Shortcut) có
dÃu mũi tên á góc d¤ới bên trái hình vẽ biáu t¤ợng. Biáu t¤ợng ¤ßng tắt cung cÃp cách truy
nhÁp vào các tài liáu và ch¤¢ng trình th¤ßng hay sā dÿng một cách dß dàng bằng cách nháy úp lên biáu t¤ợng.
- BiÅu t¤ÿng My Computer
My Computer là rÃt hău dÿng nếu ta muốn xem nội dung riêng một th¤ mÿc hay một á ĩa.
Khi ta nháy úp My Computer trên màn hình nßn, các á ĩa ang dùng hián lên trong cāa sá My
Computer. Nháy úp lên biáu t¤ợng á ĩa, cāa sá sẽ hián lên các th¤ mÿc chứa trong á ĩa này.
Sau ó ta có thá nháy úp vào th¤ mÿc á xem các táp có trong th¤ mÿc này.
4. HÞ ĐIÂU HÀNH LINUX
4.1 Các ặc iểm c¢ bản
Há ißu hành UNIX có một số ặc iám sau: - Đa ch¤¢ng - Nhißu ng¤ßi sā dÿng - BÁo mÁt - Độc lÁp phần cứng - Kết nối má - Dùng chung thiết bß
- Tá chức tÁp tin phân cÃp
4.2 Các thành phần chính cÿa há iÁu hành UNIX:
- Windows & Graphic User Interface - Shell - Lánh và tián ích
- Các bộ ißu khián thiết bß - Kernel Ch¤¢ng 3
CÁC PHÄN MÂM ĄNG DĀNG THÔNG DĀNG 113
Downloaded by Rot Ca (rotca780@gmail.com) lOMoARcPSD| 37922327
Phan Thị Hà-Khoa CNTT1-Học viện CNBCVT GIàI THIÞU
Ch¤¢ng này cung cÃp cho sinh viên các kiến thức sau: -
Các kā nng c¢ bÁn trong viác sā dÿng phần mßm ứng dÿng so¿n thÁo vn bÁn Word. -
Các thao tác c¢ bÁn trong viác sā dÿng và thực hián các hàm cāa bÁng tính Excel
cũng nh¤ cách chèn hình Ách, biáu ß bÁng tính. -
Các cách c¢ bÁn á t¿o ra một trình dißn báo cáo bằng POWERPOINT, thiết lÁp
cách hián thß cāa các Slide cùng một số công cÿ phÿ trợ. -
Khái niám vß VIRUS tin hác và cách phòng chống VIRUS.
3.1.CH£¡NG TRÌNH SO¾N THÀO VN BÀN WORD
Word 2010 là phần mßm so¿n thÁo vn bÁn cao cÃp ch¿y d¤ới môi tr¤ßng Windows,
chuyên dùng á so¿n thÁo các lo¿i vn bÁn, sách vá, t¿p chí,… phÿc vÿ cho công tác vn phòng.
Word có các tính nng m¿nh nh¤ sau: giao dián ß háa thông qua há thống menu và các hộp
tho¿i với hình thức thẩm mā rÃt cao; có khÁ nng giao tiếp dă liáu với các ứng dÿng khác; có
các ch¤¢ng trình tián ích và phÿ trợ giúp t¿o các vn bÁn d¿ng ặc biát; có ch¤¢ng trình kiám
tra, sāa lãi chính tÁ, gõ tắt, macro… giúp ng¤ßi sā dÿng so¿n thÁo các vn bÁn tiếng n¤ớc
ngoài và tng tốc ộ xā lý vn bÁn; chức nng t¿o biáu bÁng m¿nh và dß dùng; so¿n các công
thức Toán, Lý, Hóa; dß dàng thiết kế các trang Web.
3.1.1.Các thao tác iÁu khiển căn bản
3.1.1.1.Khởi ộng Word 2010 và các thành phần của màn hình
Đá khái ộng Word dùng lánh Start / Programs / Microsoft Office. Màn hình chính cāa
Word xuÃt hián gßm các phần sau:
Title bar (thanh tiêu ß): nút á mút trái thanh là biáu t¤ợng cāa Word (nháy vào ây cho hián
menu ißu khián), tiếp theo là tên táp vn bÁn và tên ứng dÿng Microsoft Word, mút phÁi thanh
là 3 nút: Minimize, Maximize hay Restore, Close. Nháy vào nút Close sẽ làm thoát khỏi Word
nếu hián t¿i ta chỉ má một táp vn bÁn, nếu má nhißu táp vn bÁn thì ta chỉ óng táp vn bÁn hián hành.
Menu bar (thanh menu chính): dòng chứa các lánh cāa Word, mãi thẻ với một menu. Thao
tác á má một menu: nháy chuột vào tên mÿc hoặc gõ Alt + Ký tự ¿i dián cāa tên mÿc. Nếu
hián t¿i ta chỉ má một táp vn bÁn thì cuối thanh này có nút Close, nháy vào nút này thì ta óng
táp vn bÁn duy nhÃt hián t¿i mà không ra khỏi Word. 114
Downloaded by Rot Ca (rotca780@gmail.com) lOMoAR cPSD| 37922327
Phan Thị Hà-Khoa CNTT1-Học viện CNBCVT
Standard toolbar (thanh công cÿ chuẩn): chứa một số nút và ô ißu khián thá hián một số
lánh thông dÿng. Thay vì phÁi vào các menu á chán lánh, chỉ cần nháy chuột lên nút lánh
t¤¢ng ứng. Ví dÿ: muốn l¤u vn bÁn lên ĩa thay vì vào menu File chán Save, chỉ cần nháy
chuột lên nút Save. Muốn biết tên cāa một nút hay một ô ißu khián nào ó trên các thanh công
cÿ ta chỉ cần rà mũi tên chuột lên nút hay ô ó và chß vài giây (nếu ch¤a có tính chÃt này thì
ta dùng nháy chuột vào nút hình mũi tên cuối cùng Customize Quick Access Toolbar / More
command / Display / Show document tooltips on hover).
Thanh Standard có các nút th¤ßng dùng: New, Open, Save, Print, Print Preview, Cut, Copy, Paste, Undo Paste..
Formatting Bar (thanh ßnh d¿ng): chứa các hộp và biáu t¤ợng dành cho viác ßnh d¿ng vn
bÁn nh¤ liáu, lo¿i font, cn lß… Thanh Formatting có các hộp ißu khián: Style, Font,
Font Size và các nút: Bold, Italic, Underline, Align Left, Center, Align Right, Justify,
Numbering, Bullets, Decrease Indent, Increase Indent, Border, Font Color…
Rulers (th¤ớc): một th¤ớc theo chißu ngang á phía trên cāa vùng vn bÁn, một th¤ớc theo
chißu dác á bên trái màn hình. Đá thay ái ¢n vß o (Inches / Cm / Points / Picas) trên Ruler, ta
thực hián Customize Quick Access Toolbar / More command / Advanced / Display / Show
measurements in units of á thay ái. Nên chán ¢n vß là Cm.
Text Area (vùng vn bÁn): ây là vùng lớn nhÃt dùng á nhÁp vn bÁn.
Hai thanh tr¤ợt (Scrool Bars): thanh tr¤ợt dác bên phÁi màn hình (di chuyán theo chißu
dác toàn bộ vn bÁn), thanh tr¤ợt ngang phía d¤ới màn hình (di chuyán theo chißu ngang cāa
vn bÁn khi màn hình vn bÁn hián thß lớn h¢n màn hình window). Mút trái thanh tr¤ợt ngang
có 4 nút Normal View, Web Layout View, Page Layout View, Outline View dùng á ißu khián chế ộ hián thß vn bÁn.
Status bar (thanh tr¿ng thái, nằm á dòng cuối cāa cāa sá Word) hián thß tình tr¿ng cāa cāa
sá hián t¿i: số trang cāa trang hián t¿i, số thứ tự cāa Section hián t¿i, trang hián t¿i là trang
thứ mÃy trong táng số bao nhiêu trang, vß trí con trỏ (khoÁng cách so với mép trên trang
giÃy, vß trí dòng, cột), mức ộ zoom cāa vn bÁn...
Các loại con trá trên màn hình: -
Con trỏ nhÁp vn bÁn là dÃu v¿ch ứng |. Khi gõ một ký tự trên bàn phím, ký tự sẽ ¤ợc
chèn vào chã con trỏ nhÁp. -
Con trỏ chuột trong vùng vn bÁn có d¿ng dÃu v¿ch ứng với hai v¿ch ngang á hai ầu,
con trỏ chuột á vùng menu có d¿ng mũi tên rãng. Muốn chuyán con trỏ nhÁp tới một vß trí
mới trong vn bÁn á nhÁp, ta ¤a con trỏ chuột ến vß trí mới và nháy nút trái chuột.
Word có sẵn 16 thanh công cÿ chuẩn, ta có thá tự làm thêm các thanh công cÿ mới.
Thông th¤ßng ta chỉ cần cho hián hai thanh công cÿ: thanh Standard và thanh Formatting.
Đá cho hián (không cho hián) một thanh công cÿ trên màn hình ta dùng lánh Customize Quick
Access Toolbar, xuÃt hián menu dác, hãy ánh dÃu (bỏ ánh dÃu) tr¤ớc tên cāa thanh công cÿ.
Thông th¤ßng không ā chã á hián thß tÃt cÁ các nút trên thanh công cÿ, ví dÿ thanh
Standard. Đá hián thß nhißu nút h¢n, nháy vào nút Customize Quick Access Toolbar / More
Command / Quick Access Toolbar , xuÃt hán một thanh các nút khác là phần má rộng cāa 115
Downloaded by Rot Ca (rotca780@gmail.com) lOMoARcPSD| 37922327
Phan Thị Hà-Khoa CNTT1-Học viện CNBCVT
thanh Standard, ta có thá nháy vào các nút này á sā dÿng, trong thanh má rộng này có nút Add
or Remove Buttons, nháy vào nút này sẽ xuÃt hián một menu dác cho phép ta lựa chán các
nút nào ¤ợc hián trên thanh Standard.
Cách tạo thêm thanh công cụ: Và á t¿o mới customized tab, các b¿n nhÃn nút New Tab:
Đặt tên cho tab mới này:
Viác tiếp theo khá ¢n giÁn, chúng ta chỉ cần kéo và thÁ các lánh chức nng t¤¢ng ứng
tÿ cột bên trái vào bên phÁi:
Lựa chán cách thức hián thß t¤¢ng ứng tÿ menu dropdown theo nhóm hoặc tÃt cÁ các lánh. Sā dāng các menu
Thanh menu chính nằm d¤ới thanh tiêu ß chứa các lánh làm viác với Word.
Khi nháy vào một mÿc cāa Thanh menu chính sẽ xuÃt hián một menu. Đá má rộng menu
ta click chuột vào hình mũi tên á góc bên phÁi. Đá ẩn/hián thanh menu i ta click vào nút
Minimize Quick Toolbar á phía d¤ới nút X-close.
3.1.1.2.Tạo một tài liệu mới, mở một tài liệu sẵn có trên ĩa
Word cho phép làm viác ßng thßi với nhißu vn bÁn trên các cāa sá khác nhau. Khi vÿa
khái ộng, Word má một cāa sá với tên mặc dián là Document1. Mãi lần má một tài liáu mới
hay một tài liáu ã có trên ĩa Word sẽ dành một cāa sá á hián tài liáu. -
Để mở một tài liáu mới dùng lánh File / New, hián hộp tho¿i New, chán Blank
Document, chán Create. Hoặc nháy nút New Blank Document trên thanh công cÿ Standard.
Hoặc sā dÿng tá hợp phím Ctrl + N. -
Để mở một tài liáu ã có trên ĩa dùng lánh File / Open (hoặc nháy vào nút
Open trên thanh Standard), hián hộp tho¿i Open, chán táp cần má. Ngoài ra dùng tá hợp phím Ctrl + O. -
T¿i một thßi iám chỉ có một cāa sá ¤ợc kích ho¿t. Muốn óng một cāa sá thì
nó phÁi ang ¤ợc kích ho¿t, vào mÿc menu File, chán Close.
Chia ôi cửa sổ soạn thảo: Màn hình so¿n thÁo một táp cāa Word có thá chia làm hai
nāa theo chißu ngang, mãi nāa có một thanh tr¤ợt dác giúp cho viác xem l¤ớt vn bÁn.
Chức nng này giúp cho viác sao chép, di chuyán trong nội bộ một táp vn bÁn ¤ợc dß
dàng, ta có thá ßng thßi nhìn thÃy hai phần vn bÁn á xa nhau. Thực hián, chán thẻ
View / Split hay Remove Split.
Mở một tài liáu trên hai cửa sổ giúp ta hián thß cùng một tài liáu trên hai cách: một
cāa sá hián d¿ng bố cÿc và một cāa sá hián d¿ng ầy ā, hoặc một cāa sá hián d¿ng Print
Layout và một cāa sá hián d¿ng Normal. Đá má cāa sá thứ hai cāa tài liáu hián hành
chán thẻ View / New Window, hián cāa sá thứ hai, trên thanh tiêu ß sau tên táp thêm
dÃu hai chÃm và một con số (chỉ táp má á cāa sá nào).
3.1.1.3. Lưu trữ văn bản 116
Downloaded by Rot Ca (rotca780@gmail.com) lOMoAR cPSD| 37922327
Phan Thị Hà-Khoa CNTT1-Học viện CNBCVT
Ghi văn bản ã soạn lên ĩa: dùng lánh File / Save hoặc nháy vào nút Save trên thanh
Standard. Lần ầu ghi vn bÁn, hộp tho¿i Save As xuÃt hián, yêu cầu ng¤ßi sā dÿng
nhÁp vào: tên táp (hộp File Name), lựa chán th¤ mÿc á chứa táp (hộp Save in), kiáu
lo¿i táp (nháy vào hộp Save as Type, chán Word Document), cuối cùng chán OK á
l¤u. Ká tÿ ó, mãi khi thực hián thao tác l¤u tră táp thì vn bÁn sẽ ¤ợc l¤u vào tên táp ã
ặt theo d¿ng cāa lần ghi ầu tiên. Hoặc dùng tá hợp phím Ctrl+S.
Mặc ßnh l¤u tài lißu d¿ng Word 2003 trở và tr¤ác
Mặc ßnh, tài liáu cāa Word 2010 ¤ợc
l¤u với ßnh d¿ng là *.DOCX, khác với
*.DOC mà b¿n ã quen thuộc. Với ßnh
d¿ng này, b¿n sẽ không thá nào má
¤ợc trên Word 2003 trá vß tr¤ớc nếu
không cài thêm bộ chuyán ái. Đá
t¤¢ng thích khi má trên Word 2003
mà không cài thêm ch¤¢ng trình,
Word 2007 cho phép b¿n l¤u l¿i với
ßnh d¿ng Word 2003 (trong danh
sách Save as type cāa hộp tho¿i Save As, b¿n chán Word 97-2003 Document).
Muốn Word 2010 mặc ßnh l¤u với ßnh d¿ng cāa Word 2003, b¿n nhÃn Microsoft
Office Button (hoặc Tab File), chán Word Options á má hộp tho¿i Word Options. Trong
khung bên trái, chán Save. T¿i mÿc Save files in this format, b¿n chán Word 97-2003 Document (*.doc). NhÃn OK. 117
Downloaded by Rot Ca (rotca780@gmail.com) lOMoARcPSD| 37922327
Phan Thị Hà-Khoa CNTT1-Học viện CNBCVT
Đặt mÁt khẩu cho tài liáu :khi ghi táp vào ĩa chán
Ghi vào ĩa với một tên khác : vào menu File chán Save
As, sau ó các thao tác tiến hành t¤¢ng tự nh¤ lần ghi táp ầu tiên. Khi ó tên cāa sá
so¿n thÁo (trên Thanh tiêu ß) sẽ là tên táp mới.
Ghi táp vào ĩa và tạo bản dự phòng : chán Customize Quick Access Toolbar / More
command / Advanced / Save / Always create backup copy . Mãi lần má một táp cũ,
sāa chăa, khi ghi l¿i Word chuyán nội dung táp cũ thành bÁn Backup, nội dung mới
ghi vào táp mang tên cũ. Lựa chán này ¤ợc Word l¤u l¿i cho các phiên làm viác
GiÁm thiÅu khÁ nng mÃt dữ lißu khi
ch¤¢ng trình bß óng bÃt ngã Đá ß phòng tr¤ß ợ máy, cúp iá à ă á ¿ Át tính nng sao l¤u tự ộ ỳ à ặ á
3.1.1.4.Kết thúc làm việc với Word 2000 và trở về Windows
Muốn kết thúc làm viác với Word ta có thá dùng các cách: dùng lánh File /
Exit, hoặc nháy vào biáu t¤ợng cāa Word á mút trái thanh tiêu ß và chán Close, hoặc
nháy vào nút Close á mút phÁi thanh tiêu ß. Nếu có thực hián bÃt kỳ sāa ái nào trong
các vn bÁn ang má mà ch¤a l¤u vào ĩa (cho ến thßi iám thoát) thì Word sẽ hỏi l¿i you want to save the changes you made to tên-táp ?=, trÁ lßi YES nếu muốn l¤u, NO nếu không muốn l¤u.
3.1.2. Các thao tác soạn thảo c¢ bản
3.1.2.1. Soạn thảo văn bản bằng tiếng Việt: 118
Downloaded by Rot Ca (rotca780@gmail.com) lOMoARcPSD| 37922327
Phan Thị Hà-Khoa CNTT1-Học viện CNBCVT
Muốn t¿o vn bÁn tiếng Viát ta cần một ch¤¢ng trình bàn phím tiếng Viát á gõ tiếng Viát,
có thá dùng Unikey. Các ch¤¢ng trình bàn phím tiếng Viát th¤ßng cho phép gõ tiếng Viát theo kiáu Telex nh¤ sau:
aa - â ow [ - ¢ DD - Đ aw - uw ] - ¤ UW W } - £ ee - ê oo - ô OW { - ¡
DÃu gõ á cuối tÿ: s - dÃu sắc, f - huyßn, r - hỏi, x - ngã,
j - nặng, z - xóa dÃu ã ánh.
Các phím th¤ãng dùng khi so¿n thÁo Các
phím di chuyển con trá:
- Phím ²: Di chuyán con trỏ lên một dòng.
- Phím ´: Di chuyán con trỏ xuống một dòng.
- Phím ³: Di chuyán con trỏ sang phÁi một ký tự.
- Phím ±: Di chuyán con trỏ sang trái một ký tự.
- Các phím xóa ký tự:
- Phím Delete: Xoá ký tự t¿i ví trí con trỏ (bên phÁi con trỏ).
- Phím Backspace: Xoá ký tự lißn trái vß trí con trỏ.
- Phím Insert: Đá chuyán ái giăa chế ộ chèn (Insert) và thay thế (Overwrite) ký tự. -
Các phím iÁu khiển:
- Phím Home: Chuyán vß trí con trỏ vß ầu dòng vn bÁn chứa con trỏ.
- Phím End: Chuyán vß trí con trỏ vß cuối dòng vn bÁn chứa con trỏ.
- Phím Page Up: Chuyán vß trí con trỏ lên trên một trang màn hình.
- Phím Page Down: Chuyán vß trí con trỏ xuống d¤ới một trang màn hình. -
Muốn vß ầu vn bÁn: Ãn ßng thßi Ctrl+Home.
- Muốn vß cuối vn bÁn: Ãn ßng thßi Ctrl+End.
- Shift+F5: tới n¢i làm viác trong lần ißu chỉnh con trỏ gần ây nhÃt.
Phím Insert: dùng á chuyán ái giăa chế ộ chèn ký tự (Insert) và è ký tự (Overwrite). Trong
chế ộ chèn, khi nhÁp vào một ký tự nó sẽ chèn vào t¿i vß trí hián thßi cāa con trỏ nhÁp và ẩy
ký tự hián thßi sang bên phÁi. Trong chế ộ è, khi nhÁp vào một ký tự nó sẽ thay thế ký tự hián thßi.
Phím Alt: Cộng với chă cái ầu cāa các thẻ dùng á chán các nhanh thẻ dác bằng bàn phím,
ví dÿ Alt+H á chán thẻ Home.
Phím Esc: dùng á ngắt một công viác ang thực hián.
Phím Enter: Mãi khi Ãn Enter con trỏ nhÁp sẽ xuống dòng và t¿o ra một o¿n (Paragraph)
mới, o¿n mới sẽ theo phông chă và các ßnh d¿ng cāa o¿n tr¤ớc. Viác xuống dòng là do trình
so¿n thÁo quyết ßnh, tùy thuộc vào lß ang ßnh hián thßi. Muốn cố ý cho con trỏ nhÁp xuống
dòng mà không cần t¿o một o¿n mới thì ta Ãn Shift+Enter. Paragraph là một khái niám rÃt
quan tráng trong Word. Customize Quick Access Toolbar / More Command / Display / …
3.1.2.2.Thao tác trên văn bản và khối văn bản 119
Downloaded by Rot Ca (rotca780@gmail.com) lOMoARcPSD| 37922327
Phan Thị Hà-Khoa CNTT1-Học viện CNBCVT
-Lựa chßn một khối văn bản
Khối là một phần vn bÁn ¤ợc lựa chán (trên màn hình nßn cāa vn bÁn thuộc khối có màu
xanh). Sau khi xác ßnh khối ta có thá di chuyán khối, sao chép khối, ßnh d¿ng l¿i vn bÁn
trong khối, óng khung… Đá lựa chán một khối ta có thá dùng chuột và bàn phím. Dùng chuột
Nháy chuột vào vß trí ầu cāa khối, kéo chuột ến vß trí cuối khối.
Nháy chuột vào vß trí ầu cāa khối, giă phím Shift và ¤a con trỏ chuột ến vß trí cuối
rßi nháy nút trái chuột.
Chán một tÿ: nháy úp vào tÿ.
Chán một dòng: nháy chuột vào khoÁng trống bên trái dòng.
Chán một số dòng: rê chuột á khoÁng trống bên trái các dòng.
Chán một Paragraph: nháy úp vào khoÁng trống bên trái Paragraph.
Chán một câu: giă phím Ctrl và nháy vào câu ó.
Chán toàn bộ vn bÁn: giă phím Ctrl và nháy chuột vào khoÁng trống bên trái vn bÁn.
Dùng bàn phím
Фa con trỏ nhÁp vào ầu khối, giă phím Shift, bÃm các phím ü ý þ ÿ, PgUp, PgDn,
Home, End á ến vß trí cuối khối.
Chán toàn bộ vn bÁn: gõ Ctrl+A.
Chán tÿ vß trí con trỏ ến cuối vn bÁn: gõ Shift+Ctrl+End.
Chán tÿ vß trí con trỏ ến ầu vn bÁn: gõ Shift+Ctrl+Home.
Chán tÿ vß trí con trỏ ến ầu dòng: gõ Shift+Home. Chán tÿ vß trí con trỏ ến cuối dòng: gõ Shift+End.
NhÃn phím F8, trên dòng tr¿ng thái chă EXT chuyán sang màu en. NhÃn F8 lần thứ
hai: lựa chán một tÿ chứa con trỏ chèn. NhÃn F8 lần thứ ba: lựa chán một câu chứa con trỏ
chèn. NhÃn F8 lần thứ t¤: lựa chán một o¿n… NhÃn ESC khi lựa chán xong khối.
Lựa chán khối là vùng chă nhÁt trên màn hình: Ãn Ctrl+Shift+F8 và thÁ, dùng các
phím mũi tên á xác ßnh khối, sau ó có thá nháy chuột phÁi chán Copy. Sau khi xác ßnh khối
nếu Ãn ESC thì thôi không ánh dÃu khối.
Hai thao tác ¢n giản sau khi chßn khối
Hāy ánh dÃu khối: nháy chuột vào một iám ngoài khối.
Xóa khối: Ãn phím Delete.
- Sao chép và di chuyÅn khåi Lßnh BiÅu t¤ÿng Phím t¤¢ng ¤¢ng Ý nghĩa 120
Downloaded by Rot Ca (rotca780@gmail.com) lOMoARcPSD| 37922327
Phan Thị Hà-Khoa CNTT1-Học viện CNBCVT Cut Ctrl + X
Chuuyán o¿n vn bÁn ã chán vào bộ nhớ Clipboard Copy Ctrl + C
Chép o¿n vn bÁn ã chán vào bộ nhớ Clipboard Paste Ctrl + V
Dán o¿n vn bÁn có trong Clipboard vào vß trí con trỏ text
- Đánh dÃu chán o¿n vn bÁn
- Vào menu Edit chán Copy hoặc Cut
- Đặr con trỏ á vß trí kết quÁ chán Paste
Clipboard (vùng ám): Khi cắt, sao chép hay dán vn bÁn, Word 2010 sā dÿng một
vùng nhớ ặc biát, có tên là Clipboard chứa tới 24 phần tā và một thanh công cÿ có d¿ng nh¤ hình bên.
Có thá tắt má thanh công cÿ này bằng cách nháy chuột vào hình mũi tên á góc (nh¤
hình bên). Các thao tác trên thanh Clipboard:
Фa một ối t¤ợng ã chán (vn bÁn, ß háa) vào Clipboard: nháy nút Copy.
Xem nội dung một phần tā: trỏ chuột vào nút, chß vài giây, hián thông báo.
Dán nội dung một phần tā vào chã con trỏ trên vn bÁn: nháy vào nút phần tā.
Dán tÃt cÁ các phần tā trên Clipboard vào chã con trỏ: nháy nút Paste All.
Xóa s¿ch Clipboard: nháy nút Clear Clipboard.
Xóa thanh công cÿ Clipboard: nháy nút x trên thanh tiêu ß cāa Clipboard.
3.1.2.3 Các thao tác ịnh dạng văn bản
Trong Windows lo¿i chă ¤ợc dùng có bß rộng ký tự không cố ßnh, do ó khi so¿n thÁo
không ¤ợc dùng dÃu khoÁng cách á chỉnh dòng, chỉnh o¿n. Không nên á hai dÃu
cách hoặc h¢n lißn nhau. Đầu dòng thứ nhÃt cāa một o¿n không ¤ợc gõ các dÃu
khoÁng cách mà dùng chức nng ßnh d¿ng o¿n á lùi ầu dòng.
Word là một bộ xā lý tÿ có ßnh d¿ng, tức là sau khi nhÁp nội dung ta có thá quy ßnh
hình thức trình bày cho các nội dung ó tùy ý. Hai yếu tố c¢ bÁn á ßnh d¿ng cho vn
bÁn là ßnh d¿ng ký tự (quy ßnh hình d¿ng tÿng ký tự trong vn bÁn). Vß c¢ bÁn thuộc
tính cāa ký tự bao gßm: font chă, kiáu chă (th¤ßng, Ám, nghiêng, g¿ch chân, chỉ số
trên, chỉ số d¤ới), cỡ chă tính theo chißu cao cāa ký tự và màu chă. Thuộc tính cāa
o¿n bao gßm: lß trái và lß phÁi cāa o¿n, khoÁng cách lùi vào cāa dòng ầu tiên trong
một o¿n, cách dóng o¿n (dóng trái, dóng phÁi, dóng giăa và dóng ßu hai bên) và
khoÁng cách các dòng trong o¿n.
Đá ßnh d¿ng cho các ký tự hay nhißu o¿n, tr¤ớc tiên ta cần chán các ký tự hay các 121
Downloaded by Rot Ca (rotca780@gmail.com) lOMoARcPSD| 37922327
Phan Thị Hà-Khoa CNTT1-Học viện CNBCVT
o¿n. Trong tr¤ßng hợp ßnh d¿ng cho một o¿n thì chỉ cần ¤a con trỏ nhÁp vào bên trong ph¿m vi cāa o¿n ó.
a.Định dạng ký tự - Định dạng bằng hộp thoại Font
Đối với một o¿n vn bÁn, ta có thá ßnh d¿ng l¿i nó theo font mới, cỡ mới, kiáu mới. Tr¤ớc
tiên hãy chán khối vn bÁn cần ßnh d¿ng l¿i nháy chuột phÁi chán Font, xuÃt hián hộp tho¿i
Font. Hộp tho¿i Font có 2 thẻ, chán thẻ Font.
Font Style: chán kiáu bình th¤ßng, chă Ám,
nghiêng, vÿa Ám vÿa nghiêng.
Underline Style: chán các kiáu g¿ch chân.
Font Color: chán màu cho chă.
Effects: chán một số hiáu ứng ặc biát cho font
chă. Chán Superscript: chỉ số trên, chán Subscript: chỉ
Preview: khung m¿u á quan sát sự lyựa chán.
t: các thông số ßnh d¿ng sẽ ¤ợc lÃy
làm trß mặc nhiên cho mãi lần khái ộng Word hoặc má một tài liáu mới.
Lớp Character Spacing ( chán thẻ advanced ) có các lựa chán sau :
Scale: ßnh tÿ lá co giãn bß ngang cāa ký tự.
Spacing dùng á chán khoÁng cách giăa các ký tự: Normal (bình th¤ßng), Expanded
( các ký tự cách xa nhau thêm một khoÁng), Condensed (các ký tự xít l¿i với nhau). Mÿc By
bên c¿nh quy ßnh khoÁng cách giãn ra hoặc xít l¿i cāa các ký tự.
Position dùng á nâng lên hay h¿ xuống ký tự so với bình th¤ßng: Normal (bình
th¤ßng), Raised (nâng ký tự lên), Lowered (h¿ ký tự xuống). Mÿc By bên c¿nh quy ßnh số
iám nâng lên hay h¿ xuống.
Lớp Font có các lựa chán sau: Font: chán phông chă.
Size: chán cỡ chă. số d¤ới. 122
Downloaded by Rot Ca (rotca780@gmail.com) lOMoARcPSD| 37922327
Phan Thị Hà-Khoa CNTT1-Học viện CNBCVT
Chāc năng Text Effect
Với tính nng Text Effect b¿n có thá sā dÿng hoàn toàn các hiáu ứng ẹp mắt cāa WordArt
trong Excel hay Powerpoint 2007 trong Word 2010. ThÁt ¢n giÁn b¿n chỉ cần lựa chán o¿n
vn bÁn cần áp dÿng hiáu ứng sau ó nhÃp chuột vào biáu t¤ợng cāa Text Effect trên thanh
công cÿ t¿i thẻ Menu Home, một menu á xuống cho phép b¿n lựa chán các hiáu ứng cần áp dÿng
Và b¿n hoàn toàn có thá áp dÿng các hiáu ứng có trong Text Effect với vn bÁn cāa mình.
Ng¤ßi dùng có thá chèn, xóa hay thay ái Font, kích th¤ớc Font, màu sắc, ánh dÃu… với vn
bÁn mang hiáu ứng cāa WordArt
Chú ý: Chức nng này chỉ sā dÿng cho nhăng file Word ¤ợc t¿o ra tÿ Word 2010 và có ßnh
d¿ng *.docx nếu ng¤ßi dùng l¤u file d¤ới d¿ng *.doc thì các hiáu ứng này sẽ tự ộng bß gỡ bỏ
khỏi vn bÁn. Định dạng văn bản
In Ám
- Chán o¿n text mà b¿n muốn in Ám, ¤a con trỏ chuột vào vùng chán cho ến khi
xuÃt hián thanh công cÿ Mini. 123
Downloaded by Rot Ca (rotca780@gmail.com) lOMoAR cPSD| 37922327
Phan Thị Hà-Khoa CNTT1-Học viện CNBCVT NhÃn nút Bold (B).
B¿n cũng có thá sā dÿng phím tắt Ctrl+B.
L¤u ý, nhÃn Bold (hoặc Ctrl+B) lần năa nếu b¿n muốn bỏ in Ám.
Thực hián t¤¢ng tự nh¤ in Ám, nh¤ng thay vì nhÃn nút Bold thì b¿n
nhÃn nút Italic (phím tắt Ctrl+I).
Gạch d¤ới oạn text NhÃn Ctrl+U á g¿ch d¤ới o¿n text ang chán. NhÃn Ctrl+U
lần năa á bỏ g¿ch d¤ới.
Ngoài ra còn có nhißu kiáu g¿ch d¤ới khác:
* Gạch dưới các từ, trừ khoảng trắng:
Chán o¿n text b¿n muốn g¿ch d¤ới.
T¿i thẻ Home, nhóm Font, b¿n nhÃn nút mũi tên á góc d¤ới bên phÁi.
- Trong hộp Underline style, b¿n chán Word only. NhÃn OK.
* Gạch ôi ở dưới từ:
Thực hián b¤ớc 1, 2 t¤¢ng tự trên.
Trong hộp Underline style, b¿n chán biáu t¤ợng dòng ôi. NhÃn OK.
* Đường gạch dưới trang trí:
Thực hián b¤ớc 1, 2 t¤¢ng tự trên.
- Trong hộp Underline style, b¿n chán kiáu mình thích. 124
Downloaded by Rot Ca (rotca780@gmail.com) lOMoARcPSD| 37922327
Phan Thị Hà-Khoa CNTT1-Học viện CNBCVT
- Đá ái màu cāa ¤ßng g¿ch d¤ới, nhÃn chuột vào hộp Underline color và chán màu mình thích. NhÃn OK.
Đổi màu chữ
- Chán o¿n text b¿n muốn ái màu, di chuyán con trỏ chuột vào vùng chán á xuÃt hián thanh công cÿ Mini.
- NhÃn nút Font Color và chán màu mình thích.
Đổi kích cỡ chữ
- Chán o¿n text, di chuyán con trỏ chuột vào á xuÃt hián thanh công cÿ Mini.
- Đá tng kích cỡ chă, b¿n nhÃn nút Grow Font (phím tắt Ctrl+Shift+>). Đá giÁm
kích cỡ chă, nhÃn nút Shrink Font (phím tắt Ctrl+Shift+<).
Đánh dấu (Highlight) oạn text
- Đánh dÃu o¿n text á làm nó trông nái bÁt h¢n. Cách thực hián:
- T¿i thẻ Home, nhóm Font, b¿n nhÃn vào mũi tên bên c¿nh nút Text Highlight Color .
- Chán một màu dùng á tô sáng mà b¿n thích (th¤ßng là màu vàng).
- Dùng chuột tô chán o¿n text muốn ánh dÃu.
- Muốn ngÿng chế ộ ánh dÃu, b¿n nhÃn chuột vào mũi tên c¿nh nút Text Highlight
Color, chán Stop Highlighting, hoặc nhÃn ESC.
Gỡ bá ch¿ ộ ánh dấu text
- Chán o¿n text muốn gỡ bỏ chế ộ ánh dÃu.
- Trong thẻ Home, nhóm Font, b¿n nhÃn chuột vào mũi tên c¿nh nút Text Highlight Color. - Chán No Color.
Định dạng chỉ số trên (Superscript), chỉ số d¤ới (Subscript) -
Chỉ số trên (Superscript); - Chỉ số d¤ới (Subscript).
Chán o¿n text cần ßnh d¿ng. Trong thẻ Home, nhóm Font, b¿n nhÃn nút Superscript (phím
tắt Ctrl+Shift+=) á ßnh d¿ng chỉ số trên, hoặc nhÃn nút Subscript (phím tắt Ctrl+=) á ßnh d¿ng chỉ số d¤ới. o¿n. Các mÿc trong lớp:
Định dạng bằng các Style có sẵn
Style là một nhóm các ßnh d¿ng có tên và ta có thá áp dÿng cho vn bÁn cùng một
lúc. Một tài liáu th¤ßng có một nhóm các Style ã ¤ợc ßnh nghĩa sẵn (một số do
Word làm sẵn, một số ta tự làm). Đá hián danh sách Style có sẵn ta nháy vào nút mũi
tên á bên phÁi hộp ißu khián Style trên thanh Formatting:
b. Định dạng Paragraph
Lớp Indents and Spacing dùng á hiáu chỉnh dóng và khoÁng cách dòng trong 125
Downloaded by Rot Ca (rotca780@gmail.com) lOMoARcPSD| 37922327
Phan Thị Hà-Khoa CNTT1-Học viện CNBCVT -
Alignment: chán cách dóng hai lß. -
Indentation dùng chỉnh lß cho o¿n. Left: chán lß trái cāa o¿n so với lß trang. Right:
chán lß phÁi cāa o¿n. Mÿc Special dùng á chỉnh lß ặc biát: None (bình th¤ßng), First
Line (dòng ầu thÿt vào), Hanging (cÁ o¿n thÿt vào), mÿc By quy ßnh khoÁng thÿt vào. -
Spacing quy ßnh khoÁng cách dòng: Before: khoÁng trống phía trên mãi o¿n. After:
khoÁng trống phía sau mãi o¿n. Line Spacing quy ßnh khoÁng cách các dòng trong
o¿n: Single (cách dòng ¢n), Double (cách dòng ôi), 1.5 lines (cách 1 dòng r¤ỡi), At
Least (cách dòng nhỏ nhÃt), Exactly (cách dòng chính xác theo giá trß cāa con số do
ng¤ßi dùng nhÁp, ¢n vß là pt), Multiple (cách dòng theo bội số cāa nāa dòng). -
Lớp Line and Page Breaks quy ßnh cách ngắt dòng và ngắt trang trong o¿n. Ô kiám
tra Widow / Orphan Control: tránh dòng ầu tiên cāa o¿n á cuối trang, tránh dòng
cuối một o¿n á ầu trang. Ô kiám tra Keep lines together: tránh ngắt trang á giăa o¿n.
Keep with Next: tránh ngắt trang á giăa o¿n ang chán và o¿n kế tiếp. Page Break
before: chèn dÃu ngắt trang vào ầu o¿n ang chán. Suprress Line Number: không in
con số chỉ dòng trong o¿n (lựa chán này áp dÿng chỉ khi ánh dÃu tự ộng dòng ¤ợc
ßnh). Don’t Hephenate: không dùng dÃu nối khi ngắt dòng trong một o¿n
(lựa chán này áp dÿng chỉ khi viác dùng dÃu nối ¤ợc chán)
Canh trái, phải, giữa, hoặc canh Áu hai bên
- Chán o¿n vn bÁn b¿n muốn canh chỉnh.
- Trong thẻ Home, nhóm Paragraph, nhÃn nút Align Left á canh lß trái, nhÃn Align
Right á canh phÁi, nhÃn nút Center á canh giăa (giăa 2 lß trái và phÁi), hay nhÃn
nút Justify á canh ßu hai bên.
Canh chỉnh nhiÁu ch¿ ộ trên cùng 1 dòng
- Chuyán chế ộ xem vn bÁn là Print Layout hoặc Web Layout (Trong thẻ View, nhóm
Document Views, chán nút Print Layout hoặc Web Layout).
- NhÃn chuột vào dòng mới và thực hián nh¤ sau:
- Chèn o¿n text canh trái: Di chuyán con trỏ chuột chă I sang trái cho ến vß trí cần gõ
text, nhÃn úp chuột và gõ vào o¿n text.
- Chèn o¿n text canh giăa: Di chuyán con trỏ chuột chă I vào khoÁng giăa dòng cho ến
vß trí cần gõ text. NhÃn úp chuột và gõ vào o¿n text.
- Chèn o¿n text canh phÁi: Di chuyán con trỏ chuột chă I sang phÁi cho ến vß trí cần
gõ text, nhÃn úp chuột và gõ vào o¿n text.
Thay ổi các canh chỉnh theo chiÁu dßc oạn text
- Trong thẻ Page Layout, nhóm Page Setup, nhÃn chuột
vào nút mũi tên á góc d¤ới bên phÁi.
- Trong hộp tho¿i Page Setup, nhÃn vào thẻ Layout. T¿i
mÿc Vertical alignment, b¿n chán một lo¿i canh chỉnh
mình thích (Top, Center, Justified, Bottom).
- T¿i mÿc Apply to, b¿n chán ph¿m vi áp dÿng là 126
Downloaded by Rot Ca (rotca780@gmail.com) lOMoARcPSD| 37922327
Phan Thị Hà-Khoa CNTT1-Học viện CNBCVT
Whole document (toàn vn bÁn), This section (vùng
hián t¿i), hay This point forward (ká tÿ ây trá vß sau). NhÃn OK.
Canh giữa lÁ trên và lÁ d¤ới
- Chán o¿n vn bÁn b¿n muốn canh giăa so với lß trên và lß d¤ới.
- Trong thẻ Page Layout, nhóm Page Setup, nhÃn chuột vào nút mũi tên á góc d¤ới bên phÁi.
- Trong hộp tho¿i Page Setup, nhÃn vào thẻ Layout. T¿i mÿc Vertical alignment, b¿n chán Center.
- T¿i mÿc Apply to, chán Selected text. NhÃn OK.
Thụt lÁ dòng ầu tiên cÿa oạn
- NhÃn chuột vào o¿n mà b¿n muốn thÿt lß dòng ầu tiên.
- Trong thẻ Page Layout, nhÃn vào nút mũi tên góc d¤ới bên phÁi cāa nhóm Paragraph.
- à hộp tho¿i Paragraph, chán thẻ Indents and Spacing. T¿i mÿc Special, b¿n chán First
line. T¿i mÿc By, chán khoÁng cách thÿt vào. NhÃn OK.
ĐiÁu chỉnh khoảng cách thụt lÁ cÿa toàn bộ oạn
- Chán o¿n vn bÁn muốn ißu chỉnh.
- T¿i thẻ Page Layout, nhóm Paragraph, nhÃn chuột vào mũi tên lên, xuống bên c¿nh
mÿc Left á tng, giÁm khoÁng cách thÿt lß trái, hay t¿i mÿc Right á ißu chỉnh thÿt lß phÁi.
Thụt dòng tất cả, trừ dòng ầu tiên cÿa oạn
- Chán o¿n vn bÁn mà b¿n muốn ißu chỉnh.
- Trên thanh th¤ớc ngang, hãy nhÃn chuột vào dÃu Hanging Indent và rê ến vß trí b¿n
muốn bắt ầu thÿt dòng.
- Nếu b¿n không thÃy thanh th¤ớc ngang âu cÁ, hãy nhÃn nút View Ruler á phía trên
cāa thanh cuộn dác á hián thß nó.
Tạo một thụt âm
Thay vì thÿt dòng vào trong, b¿n có thá ißu chỉnh thÿt ra ngoài so với lß trái bằng cách:
- Chán o¿n vn bÁn mà b¿n muốn má rộng sang trái.
- T¿i thẻ Page Layout, nhóm Paragraph, nhÃn nút mũi tên h¤ớng xuống trong mÿc Left
cho ến khi o¿n vn bÁn nằm á vß trí b¿n vÿa ý.
Định lÁ cho oạn bằng thanh Ruler: chán o¿n hay các o¿n cần ßnh lß, kéo các nút ßnh lß
t¤¢ng ứng á ißu chỉnh.
c.Tạo khung và làm nÁn Đóng
khung cho các oạn văn bản
Đá t¿o khung cho o¿n vn bÁn hay một nhóm ký tự, tr¤ớc tiên chán vn bÁn cần t¿o khung,
sau ó trong thẻ Home chán vùng Paragraph, nháy vào nút Borders and Shading, hộp tho¿i
Borders and Shading xuÃt hián, chán lớp Borders. 127
Downloaded by Rot Ca (rotca780@gmail.com) lOMoARcPSD| 37922327
Phan Thị Hà-Khoa CNTT1-Học viện CNBCVT
Các mÿc lựa chán trong hộp tho¿i:
- Style: chán kiáu ¤ßng á kẻ khung.
- Color: chán màu kẻ ¤ßng.
- Width: chán ộ rộng ¤ßng kẻ.
- Settings: chán các m¿u kẻ khung. None: không kẻ khung. Box: kẻ khung 4 c¿nh xung
quanh o¿n. Shadow: khung có bóng. M¿u 3-D: khung nái kiáu 3 chißu. Custom:
tự t¿o kiáu khung, nháy vào các nút trong mÿc Preview á lựa chán c¿nh cần kẻ (nháy nút lần
thứ hai á xóa c¿nh ã kẻ).
- Nút Options: quy ßnh khoÁng cách cāa vn bÁn với các ¤ßng kẻ khung Top, Bottom, Left, Right.
d. Tạo màu nÁn cho văn bản
Đá t¿o màu nßn cho vn bÁn hay một nhóm ký tự, tr¤ớc tiên chán vn bÁn cần t¿o nßn, sau
ó dùng lánh Format / Borders and Shading, hộp tho¿i Border and Shading xuÃt hián, chán lớp Shading. -
Chán màu nßn cāa vn bÁn: chán màu trong mÿc Fill (No Fill là không có màu nßn),
chán mÿc More Colors á hián bÁng 120 màu hoặc tự thiết kế màu. -
Chán m¿u tô cho nßn: nháy vào nút mũi tên trong mÿc Style và chán m¿u tô, có nhißu
m¿u tô có ¤ßng kẻ. Mÿc Color dùng á chán màu cāa ¤ßng kẻ trong m¿u tô.
e. Tạo khung cho các trang văn bản: dùng lánh Format / Borders and Shading, chán lớp
Page Border. Các mÿc cāa lớp này giống với các mÿc cāa lớp Borders, song thêm vào mÿc
mới Art á chán các m¿u óng khung nghá thuÁt.
f. Định khoảng cách Tab Stop với Ruler
Đá cho viác cài ặt tab ¤ợc thuÁn tián, nên cho hián thß th¤ớc ngang trên ỉnh tài liáu bằng
cách nhÃn nút View Ruler á ầu trên thanh cuộn dác.
B¿n có thá nhanh chóng chán tab bằng cách lần l¤ợt nhÃn vào ô tab selector – là ô giao nhau
giăa th¤ớc dác và th¤ớc ngang (á góc trên bên trái trang tài liáu) cho ến khi chán ¤ợc kiáu
tab mong muốn, sau ó nhÃn chuột vào thanh th¤ớc ngang n¢i b¿n muốn ặt tab.
Tùy tÿng tr¤ßng hợp cÿ thá mà b¿n có thá sā dÿng một trong các lo¿i tab sau: • Tab trái:
Đặt vß trí bắt ầu cāa o¿n text mà tÿ ó sẽ ch¿y sang phÁi khi b¿n nhÁp liáu. • Tab giữa:
Đặt vß trí chính giăa o¿n text. Đo¿n text sẽ nằm giăa vß trí ặt tab khi b¿n nhÁp liáu. • Tab phải:
Nằ m á bên phÁi cuối o¿n text. Khi b¿n nhÁp liáu, o¿n text sẽ di chuyán
sang trái ká tÿ vß trí ặt tab. • Tab thập phân:
Khi ặt tab này, nhăng dÃu chÃm phân cách phần thÁp phân sẽ
nằm trên cùng một vß trí. 128
Downloaded by Rot Ca (rotca780@gmail.com) lOMoARcPSD| 37922327
Phan Thị Hà-Khoa CNTT1-Học viện CNBCVT • Bar Tab:
Lo¿i tab này không ßnh vß trí cho text. Nó sẽ chèn một thanh thẳng ứng t¿i vß trí ặt tab. - th¤ßng là 0.5= - - -
KhoÁng cách dÿng cāa default tab, thông - Các gõ táa ộ iám dÿng Tab nút lßnh:
chán một lo¿i tab là Left – – –
– Bar (lo¿i tab chỉ có tác dÿng t¿o một ußng kẻ dác á một táa ộ ã ßnh)
Leader chán cách thÅ hißn tab
o 1 None Tab t¿o ra khoÁng trắng o
4 Tab t¿o ra là các dÃu chÃm, dÃu g¿ch hoặc g¿ch lißn nét
o Set : Đặt iám dÿng tab, táa ộ ã gõ ¤ợc ¤a vào danh sách
o Clear : xóa táa ộ ã chán
o Clear all : xóa tÃt cÁ táa ộ iám dÿng tab ã ặt
Nếu b¿n muốn ặt iám dÿng tab t¿i vß trí phù hợp mà không thá xác ßnh chính xác khi nhÃn
chuột lên thanh th¤ớc ngang, hoặc b¿n muốn chèn ký tự ặc biát tr¤ớc tab, b¿n có thá dùng
hộp tho¿i Tabs bằng cách nhÃn úp chuột vào bÃt kỳ iám dÿng tab nào trên thanh th¤ớc.
Sau khi cài ặt iám dÿng tab xong, b¿n có thá nhÃn phím Tab á nhÁy ến tÿng iám dÿng trong tài liáu.
g.Định số cột cho văn bản
Cách thą nhÃt: gõ vn bÁn tr¤ớc, chia cột sau: 129
Downloaded by Rot Ca (rotca780@gmail.com) lOMoAR cPSD| 37922327
Phan Thị Hà-Khoa CNTT1-Học viện CNBCVT
- B¤ớc 1: b¿n nhÁp vn bÁn một cách bình th¤ßng, hết o¿n nào thì nhÃn Enter á xuống
hàng. Sau khi ã gõ hết nội dung vn bÁn, b¿n hãy nhÃn Enter á con trỏ xuống hàng t¿o một khoÁng trắng.
- B¤ớc 2: tô khối nội dung cần chán (không tô khối dòng trắng á trên), t¿i thẻ Page
Layout, nhóm Page Setup b¿n chán các m¿u cột do Word mặc nhiên Ãn ßnh.
NhÃn vào More Columns hián thß hộp tho¿i; : các m¿u chia cột – –
: Các cột có ộ rộng bằng nhau –
: Các cột có ộ rộng khác nhau
: Số cột (nếu muốn số cột chă
: Фßng kẻ giăa các cột
: Đißu chỉnh ộ rộng và khoÁng
: Các cột có ộ rộng cột bằng nhau nếu nhắp chán vào ô vuông phía tr¤ớc
Cách thą hai: chia cột tr¤ớc, gõ vn bÁn sau (dùng trong tr¤ßng hợp toàn
bộ vn bÁn ¤ợc chia theo d¿ng cột báo).
T¿i thẻ Page Layout, nhóm Page Setup b¿n chán các m¿u cột do Word
mặc nhiên Ãn ßnh NhÁp vn bÁn vào.
T¿i thẻ Page Layout, nhóm Page Setup b¿n chánBreaks, Column Break:
á ngắt cột khi b¿n muốn sang các cột còn l¿i.
h.ĐiÁn các dấu hình tròn hay số tự ộng ở ầu mỗi oạn
có thá ißn tự ộng các dÃu chÃm hình tròn, hình quÁ trám, dÃu sao, dÃu
mũi tên, các số th¤ßng, các số La mã, các chă cái hoa, chă cái th¤ßng vào ầu - Presets - - - >3) - - cách - 130
Downloaded by Rot Ca (rotca780@gmail.com) lOMoARcPSD| 37922327
Phan Thị Hà-Khoa CNTT1-Học viện CNBCVT mãi o¿n bằng cách:
Đánh dÃu khối phần vn bÁn có các o¿n cần ánh thêm dÃu tự ộng.
• Trong nhóm Paragraph trên tab Home, kích vào nút danh sách Bulleted hoặc Numbered
Đá t¿o một thứ tự tự ộng mới:
• Đặt con trỏ vào n¢i b¿n muốn chèn thứ tự tự ộng trong tài liáu
• Chán nút danh sách Bulleted hoặc Numbered
• Rßi nhÁp nội dung bình th¤ßng
Khi á chế ộ t¿o Bullet hay Number tự ộng, mãi khi Ãn Enter xuống dòng sẽ t¿o tiếp một
Bullet hay Number mới. Đá hāy chế ộ này và trá vß chế ộ thông th¤ßng ta nháy vào nút Bullets hay Number.
Số thứ tự tự ộng lßng là danh sách có một vài cÃp ộ. Đá t¿o một thứ tự tự ộng lßng:
• T¿o thứ tự tự ộng cāa b¿n theo sự h¤ớng d¿n phía trên • Chán nút Increase
Indent hay Decrease Indent
i.Tạo chữ cái lớn ầu dòn
M icrosoft Word có tính nng t¿o chă nhÃn m¿nh gái là Drop Cap. Đó là chă cái ầu câu ¤ợc
phóng to và thÁ xuống. Kiáu trình bày vn bÁn này có tính mā thuÁt cao.
NhÃp chuột lên tab Insert trên thanh Ribbon và chán lánh Drop Cap trong nhóm Text. Khi
b¿n nhÃn lên nút lánh Drop Cap, một menu xá xuống xuÃt hián. B¿n nhÃn lên dòng Dropped
lÁp tức m¿u tự ầu tiên cāa dòng ầu tiên trên vn bÁn sẽ ¤ợc nhÃn m¿nh. Có 2 ch¿ ộ: 1. Dropped cap. 2. In-margin dropped cap.
Đá có thá tùy biến chă cái nhÃn m¿nh này, b¿n nhÃn chuột lên
lánh Drop Cap Options… trên menu cāa Drop Cap.
Trên hộp tho¿i Drop Cap, b¿n có thá chán vß trí cāa chă nhÃn m¿nh, font
chă, số dòng thÁ xuống và khoÁng cách tÿ chă nhÃn m¿nh tới cÿm text.
NhÃn OK á hoàn tÃt.
Sau này, nếu không muốn nhÃn m¿nh kiáu Drop Cap năa, b¿n chỉ viác vào
l¿i màn hình Drop Cap và chán lánh None là xong. 131
Downloaded by Rot Ca (rotca780@gmail.com) lOMoARcPSD| 37922327
Phan Thị Hà-Khoa CNTT1-Học viện CNBCVT
i.Xóa tất cả các ịnh dạng cũ cÿa một khối văn bản
Trong so¿n thÁo vn bÁn nhißu khi ta muốn xóa tÃt cÁ các ßnh d¿ng cũ cāa một phần vn
bÁn, nhÃt là khi ta muốn sāa một vn bÁn cāa ng¤ßi khác ã ánh. Các thao tác xóa:
Đánh dÃu khối toàn bộ phần vn bÁn ßnh xóa các ßnh d¿ng.
Trên thanh Formatting: chán phông chă là .Vn Time cỡ 12 nếu so¿n tiếng Viát bằng
phông chă ABC hoặc chán phông chă Times New Roman cỡ 12 nếu so¿n tiếng Anh; nháy
vào các nút Bold, Italic, Underline á bỏ các kiáu chă Ám, nghiêng và g¿ch chân; nháy
vào nút Justify á canh vn bÁn cÁ bên trái và bên phÁi.
Dùng lánh Bullets and Numbering, chán mÿc None á xóa các Bullet hay
Number ißn tự ộng á ầu mãi o¿n.
Trong vùng Paragraph, làm xuÃt hián hộp tho¿i Paragraph, chán lớp Indents
and Spacing. Trong hộp tho¿i này ta lựa chán Left: 0 cm, Right: 0 cm, Special: none,
Before: 0 pt, After: 0 pt, Line: Single, chán OK.
Sau ó ta có thá tiến hành ßnh d¿ng hoàn toàn mới cho o¿n vn bÁn.
Trong các tr¤ßng hợp ¢n giÁn, có thá xóa các ßnh d¿ng cũ cāa vn bÁn ã lựa chán bằng
Ctrl+Q (xóa ßnh d¿ng Paragraph) và Ctrl+Spacebar (xóa ßnh d¿ng Font).
3.1.3. LÁp bảng biểu (TABLE)
3.1.3.1.Tạo một bảng mới Đá t¿o một bÁng:
• Đặt con trỏ vào trang n¢i b¿n muốn t¿o bÁng
• Chán tab Insert trên vùng Ribbon.
• Chán vào nút Tables trên nhóm Tables.
B¿n có thá t¿o một bÁng theo một trong 4 cách sau: -
Đánh dÃu số dòng và cột -
Chán Insert Table và nhÁp số dòng và cột -
Chán vào Draw Table, t¿o bÁng bằng cách kích và nhÁp số dòng và cột -
Chán Quick Tables và chán bÁng.
NhÁp dữ lißu trong mßt bÁng Đặt con trỏ vào ô b¿n muốn nhÁp thông tin. Và bắt ầu nhÁp.
3.1.3.2.Các thao tác sửa ổi trong bảng
Chán các ô, hàng hay cßt -
Chọn một ô: di chuyán con trỏ chuột ến mép trái ô ó cho ến khi thÃy mũi tên màu en
xuÃt hián thì nháy chuột. -
Chọn một hàng: rê chuột tÿ ô ầu ến ô cuối dòng (hoặc dùng lánh Table / Select / Row). 132
Downloaded by Rot Ca (rotca780@gmail.com) lOMoAR cPSD| 37922327
Phan Thị Hà-Khoa CNTT1-Học viện CNBCVT -
Chọn một cột: di chuyán con trỏ chuột lên mép trên cāa bÁng ến khi thÃy mũi tên en
chỉ xuống thì nháy chuột. -
Chọn nhiều ô trong bảng theo một vùng chă nhÁt: ¤a con trỏ nhÁp vào ô ầu tiên, sau
ó di chuyán chuột ến ô cuối, giă phím Shift ßng thßi nháy chuột; hoặc nháy chuột vào ô ầu
tiên và kéo; hoặc bÃm Shift kèm với các phím mũi tên.
-Muốn chọn toàn bộ bảng: ¤a con trỏ vào trong bÁng, nháy chuột phÁi Select/Table.
Chèn thêm các ô, hàng, cßt vào bÁng di chuyán chuột vào vùng bÁng, nháy chuột phÁi chán Insert …
Xóa các ô, hàng hay cột cÿa bảng: chán các ô, hàng hay cột cần xóa, nháy chuột phÁi Delete
/ Cells (hay Columns, Rows), xuÃt hián hộp tho¿i Delete Cells. Các lựa chán trong hộp tho¿i:
Shift cells left (xóa các ô ã chán và chuyán các ô còn l¿i trong dòng sang trái), Shift cells up
(xóa các ô ã chán và chuyán các ô còn l¿i lên phía trên), Delete entire row (xóa tÃt cÁ các
dòng chứa các ô ã chán và chuyán các dòng còn l¿i lên trên), Delete entire column (xóa tÃt
cÁ các cột chứa các ô ã chán và chuyán các cột còn l¿i sang trái).
Gßp, tách các ô trong bÁng -
Gộp nhißu ô l¿i thành một: chán các ô cần gộp, nháy chuột phÁi chán Merge Cells.
Khi ó, các ¤ßng ngn cách giăa các ô sẽ mÃt i, t¿o thành một ô duy nhÃt. -
Tách một ô thành nhißu ô nhỏ: chán ô cần tách, dùng Split Cells, hộp tho¿i Split Cells
xuÃt hián. Các mÿc lựa chán: Number of columns (số phần chia theo chißu dác), Number of
row (số phần chia theo chißu ngang), Merge cells before split (trong tr¤ßng hợp chán nhißu
ô Word sẽ gộp các ô thành một ô tr¤ớc khi chia nhỏ).
Di chuyển, sao chép các ô, hàng, cột trong bảng: Chán các ô, hàng hay cột cần di chuyán
hoặc sao chép. Фa con trỏ chuột ến phần ¤ợc chán, giă nút bên trái, rßi thực hián một trong các thao tác sau: -
Rê chuột ến vß trí mới rßi thÁ nút trái chuột: di chuyán phần ¤ợc chán. -
Giă phím Ctrl, ßng thßi rê chuột ến vß trí mới rßi thÁ nút trái: sao chép phần ¤ợc chán.
Ta cũng có thá di chuyán, sao chép dă liáu cāa các ô, hàng hay cột trong bÁng bằng các
nút Cut, Copy, Paste trên thanh Standard nh¤ vn bÁn thông th¤ßng.
Thay éi chiÃu rßng cßt -
Dùng chuột: di chuyán con trỏ chuột ến biên phÁi cột, khi trỏ chuột có d¿ng mũi tên
hai chißu thì rê chuột á thay ái chißu rộng cột. -
Dùng menu: chán cột cần thay ái, nháy chuột phÁi Table Properties, xuÃt hián hộp
tho¿i, chán lớp Column, lựa chán chißu rộng cột trong hộp c¿nh mÿc Preferred width. Nháy
vào các nút Previous Column và Next Column á xem và thay ái ộ rộng cāa các cột khác.
Thay ổi ộ cao cÿa hàng: Dùng chuột: trỏ chuột tới c¿nh d¤ới cāa hành á con trỏ thành mũi
tên hai kép và kéo c¿nh xuống phía d¤ới.
Dùng menu: chán Table properties, hián hộp tho¿i, chán lớp Row. 133
Downloaded by Rot Ca (rotca780@gmail.com) lOMoARcPSD| 37922327
Phan Thị Hà-Khoa CNTT1-Học viện CNBCVT
Lựa chán ộ cao dòng trong hộp bên c¿nh mÿc Specify height. Các nút Previous Row và
Next Row á xem và thay ái ộ cao cāa các dòng khác.
Thay ổi h¤ớng vi¿t văn bản trong các ô: lựa chán các ô, nháy nút phÁi chuột vào một ô
ã chán, xuÃt hián menu dác nhỏ, chán mÿc Text Direction, xuÃt hián hộp tho¿i Text
Direction, lựa chán một trong 3 h¤ớng theo m¿u trong hộp tho¿i.
Dóng văn bản trong ô: Ta có thá dóng vn bÁn cho các ô ã chán trong bÁng theo chißu
ngang (trái, phÁi, giăa) và theo chißu dác (trên, d¤ới, giăa) bằng cách: nháy nút phÁi chuột
vào một trong các ô ã chán, hián menu tắt, chán Cell Alignment, hián một bÁng các m¿u
dóng vn bÁn, chán một trong 9 cách.
Xác ịnh khoảng cách cÿa văn bản so với bốn cạnh cÿa ô: chán các ô, nháy nút phÁi chuột
vào một trong các ô ã chán, hián menu tắt, chán Table Properties, hián hộp tho¿i, chán lớp
Table, nháy nút Options, hián hộp tho¿i Table Options, nhÁp các khoÁng cách vào các mÿc
Top (cách c¿nh trên), Bottom (cách c¿nh d¤ới), Left (cách c¿nh trái), Right (cách c¿nh phÁi),
khoÁng cách tối thiáu nên là 0.05 cm.
Chßn Heading cho bảng: lựa chán các hàng sẽ làm Heading cho bÁng (th¤ßng là các
hàng ầu), nháy chuột vào bÁng, chán Layout/Repeat Header Row. Khi bÁng dài cần cắt sang
trang sau thì phần bÁng á trang sau cũng có các dòng Heading. Muốn bỏ Heading thì làm l¿i
thao tác trên một lần năa.
Tách bảng làm ôi: ặt iám chèn vào hàng muốn tách bắt ầu tÿ ó, chuột phÁi chán Split Cell.
Di chuyển bảng và thay ổi kích th¤ớc bảng: Khi ¤a con trỏ chuột vào bên trong một bÁng
(con trỏ nhÁp có thá á n¢i khác), góc trên bên trái và góc d¤ới bên phÁi cāa bÁng xuÃt hián
hai nút. Nếu nháy vào nút trên bên trái (có dÃuc hă thÁp với 4 mũi tên á ầu) và kéo thì sẽ di
chuyán toàn bộ bÁng i n¢i khác (giă nguyên kích th¤ớc). Nháy vào nút d¤ới bên phÁi và kéo
sẽ thay ái kích th¤ớc cāa toàn bÁng.
3.1.3.3.Dùng thanh công cụ Tables and Borders khi tạo bảng Tạo bảng
Chán vào bÁng và b¿n sẽ thÃy có hai tab mới trên vùng Ribbon là: Design và Layout.
Hai tab này dùng á thiết kế và bố trí bÁng. 134
Downloaded by Rot Ca (rotca780@gmail.com) lOMoAR cPSD| 37922327
Phan Thị Hà-Khoa CNTT1-Học viện CNBCVT b¿n có thá chán: • Table Style Options • Draw Borders
Đá ßnh d¿ng bÁng, Chán vào bÁng và chán tab . Tab Layout này cho phép b¿n thực hián:
• Xem Gridlines và Các thuộc tính (có trên nhóm Table).
• Chèn dòng và cột (có trên nhóm Row & Columns).
• Xóa bÁng, Dòng và cột (nhóm Rows & Columns).
• Trộn hoặc tách các ô (có trên nhóm Merge).
• Tng và giÁm kích th¤ớc ô (có trong nhóm Cell Size).
• Canh lß vn bÁn trong các ô và thay ái h¤ớng vn bÁn (nhóm Alignment).
3.1.3.4 Sắp xếp dữ liệu trên một bảng
Có thá sắp xếp các hàng trong bÁng theo một cột nào ó (tối a xếp theo ba cột cùng với
thứ tự ¤u tiên). Dă liáu trong cột phÁi có cùng kiáu gßm một trong ba kiáu sau: Text (vn 135
Downloaded by Rot Ca (rotca780@gmail.com) lOMoAR cPSD| 37922327
Phan Thị Hà-Khoa CNTT1-Học viện CNBCVT
bÁn) – Number (kiáu số) – Date (kiáu ngày tháng). Nếu dă liáu á các hàng trong một cột
khác kiáu nhau thì chỉ ¤ợc phép sắp xếp theo kiáu Text.
Các b¤ớc sắp xếp trên bÁng: -
Chán các hàng cần sắp xếp. Nếu sắp xếp toàn bộ bÁng thì chỉ cần ¤a con trỏ
vào một ô bÃt kỳ trong bÁng. -
Chán Layout / Sort, hộp tho¿i Sort xuÃt hián. Trong hộp tho¿i này cần chán:
các khóa sắp xếp trong hộp Sort By và Then By; chán sắp xếp theo kiáu dă liáu nào:
kiáu ký tự (Text), kiáu số (Number) hay kiáu ngày (Date); chán thứ tự sắp xếp: tng
dần (Ascending) hoặc giÁm dần (Descending).
3.1.3.5.Tính toán trên một bảng: -
Kích chuột vào ô ầu tiên của cột cÅn tính, chán lánh Layout, nhóm Data, chán Formula (fx).
NhÁp công thức tính theo hai cách t¿
+ Tính trực tiếp theo cách dùng ßa chỉ theo dòng và cột cāa Excel
+ Hoặc có thá sā dÿng các hàm có trong ô Paste Function á bên d¤ới hoặc gõ tên hàm
vào. Trong Word có thá sā dÿng các hàm c¢ bÁn nh¤: Sum (tính téng), Count ( Ám),
Average (tính trung bình cßng), Max (giá trß lán nhÃt), Min (giá trß nhã nhÃt),
Product (nhân) … và có thá sā dÿng ßa chỉ ô và vùng nh¤ Excel. Đá tính Thành tißn
có thá viết nh¤ sau: = Product(left) hoặc = Product(c2:d2)
Hián thß hàm, công thức tính toán. Bắt ầu mãi hàm hay công thức ßu phÁi bắt ầu tÿ
dÃu <==. B¿n phÁi ißn úng công thức cāa mãi hàm. -
Number format: Các ßnh d¿ng kiáu số -
Paste Function: Các hàm c¢ bÁn: -
Chọn chế ộ ịnh dạng tại ô Number Format (ví dÿ: #,##0)
B¤ác 3. Sao chép xuống các ô bên d¤ới: Bôi en kết quÁ vÿa tính, chán copy và paste
xuống các ô bên d¤ới cāa cột thành tißn rßi bÃm F9 á cÁp nhÁt theo dòng. 136
Downloaded by Rot Ca (rotca780@gmail.com) lOMoARcPSD| 37922327
Phan Thị Hà-Khoa CNTT1-Học viện CNBCVT
B¤ác 4. Tính táng: kích chuột vào ô cuối cùng cāa dòng Thành tißn và chán
Layout/Formula, nhÁp công thức =sum(above) và chán chế ộ ßnh d¿ng t¿i ô Number Format rßi OK.
Trong quá trình làm viác, nếu dă liáu t¿i các cột dă liáu có ißu chỉnh thì chỉ cần bôi en
cột l¤u kết quÁ và bÃm F9 thì máy sẽ tự ộng cÁp nhÁp kết quÁ theo số liáu mới.
Chú ý: nếu ng¤ßi dùng nhÁp sai kiáu số liáu hoặc trong bÁng có các ô d¿ng Merge
Cells thì có thá kết quÁ tính toán sẽ không chính xác.
3.1.4. Định dạng trang và in ấn
Khái niám section: Bình th¤ßng một tài liáu ¤ợc chia thành nhißu trang, các trang có
ßnh d¿ng giống nhau. Nh¤ng ôi khi ta muốn một số phần vn bÁn có ßnh d¿ng trang
khác (nh¤ in theo chißu ngang khá giÃy A4) hoặc trình bày theo nhißu cột, khi ó cần
phÁi chia vn bÁn thành nhißu vùng (Section), mãi Section có thá có ßnh d¿ng trang
khác nhau. Nếu không chia Section thì Word mặc nhiên coi toàn bộ vn bÁn là một Section duy nhÃt.
. NhÃn chuột vào vß trí muốn ặt một vùng mới. Trong thẻ Page Layout, nhóm Page
Setup, nhÃn nút Breaks và chán một kiáu ngắt vùng phù hợp trong Section Breaks.
Chán nút Page Break á chèn một ngắt trang, chán Column Break á chèn một ngắt cột
trong tr¤ßng hợp so¿n vn bÁn theo nhißu cột. Khung Section Break Types á t¿o một
ngắt Section, nó có 4 lựa chán: Next Page (section mới sẽ sang trang tiếp theo),
Continuous (section mới v¿n nằm liên tÿc với section tr¤ớc ó), Even Page (section mới
sẽ bắt ầu á một trang ánh số chẵn), Odd Page (section mới sẽ bắt ầu á một trang ánh số lẻ).
Xóa các ngắt trang và ngắt Section: Chán thẻ Insert, khi ó ngắt trang là một ¤ßng g¿ch
ngang chÃm chÃm á giăa có chă Page Break, di con trỏ tới các ¤ßng này và Ãn phím Delete.
Chán cỡ giÃy và ặt lÃ
Tr¤ớc khi bắt tay vào so¿n thÁo một vn bÁn ta phÁi chán cỡ giÃy ßnh in và ặt lß
cho trang in bằng cách chán thẻ Page Layout/Page Setup, xuÃt hián hộp tho¿i Page Setup.
Chßn cỡ giấy: trong hộp tho¿i Page Setup chán lớp Paper size. Nháy chuột vào mũi tên
xuống á mÿc Paper size á chán cỡ giÃy. Có thá lựa một trong các cỡ ¤ợc ßnh nghĩa
sẵn. Muốn t¿o trang in có kích th¤ớc tùy ý thì thay ái các con số quy ßnh chißu rộng
(Width) và chißu cao (Height). Khi ó cỡ giÃy ¤ợc gái là Custome size (cỡ cāa ng¤ßi
dùng tự ßnh nghĩa). Đối với các công vn giÃy tß ta th¤ßng chán khá giÃy A4, 210 x
297 cm. Chán h¤ớng in là Portrait (h¤ớng in dác) hoặc Lanscape (h¤ớng in ngang).
Trong mÿc Apply To (áp dÿng cho) chán một trong ba khÁ nng: This Section ( á áp
dÿng cho Section vn bÁn hián t¿i), This Point Forward (áp dÿng cho vùng tÿ vß trí
hián t¿i trá vß sau), Whole Document (áp dÿng cho toàn bộ tài liáu). Chán OK á xác
nhÁn các thông số mới thiết lÁp. Có thá chán Default á l¤u các thông số vào táp khuôn
m¿u sā dÿng cho nhißu tài liáu vß sau. 137
Downloaded by Rot Ca (rotca780@gmail.com) lOMoARcPSD| 37922327
Phan Thị Hà-Khoa CNTT1-Học viện CNBCVT
Đặt lÁ cho trang in: Trong hộp tho¿i Page Setup chán lớp Margins, hộp tho¿i Page Setup
có d¿ng nh¤ trang sau. Thay ái khoÁng cách tÿ mép giÃy ến phần vn bÁn gßm các phần:
Trên (Top) - D¤ới (Bottom) - Trái (Left) - PhÁi (Right). Con số trong hộp Gutter á chỉ
khoÁng cách chÿa lß cho viác óng tÁp tài liáu. Mÿc Gutter Position: chán Gutter nằm
bên trái trang (Left) hay bên trên trang (Top). Mÿc Header: khoÁng cách tÿ mép trên
trang giÃy tới phần Tiêu ß ầu trang. Mÿc Footer: khoÁng cách tÿ mép d¤ới trang giÃy
tới phần tiêu ß cuối trang. Sau khi thay ái một trong các thông số quy ßnh lß, phần
Preview sẽ cho thÃy hình d¿ng t¤¢ng ối cāa vn bÁn so với kích th¤ớc giÃy. Mÿc Apply
To và các b¤ớc tiếp theo thao tác t¤¢ng tự nh¤ phần Page size. Chán mÿc Mirror Margins:
lß trái và lß phÁi cāa hai trang chẵn và lẻ ối xứng nhau qua gáy cuốn sách, phần Preview hián hai trang giÃy.
Các số liáu trong hộp tho¿i Page Setup là một m¿u ặt lß cho các công vn giÃy tì¤ so¿n trên khá giÃy A4.
In hai trang trên một tờ giấy: ó là tr¤ßng hợp ta muốn in hai trang trên tß giÃy A4 ặt nằm
ngang, ¤ßng phân chia theo chißu dác chính giăa (hoặc tß giÃy A4 ặt dác, ¤ßng phân chia hai
trang nằm ngang chính giăa). Khi chèn số trang máy sẽ tự ộng ißn số trang liên tÿc theo các trang nhỏ.
Đá in hai trang trên tß giÃy A4 nằm ngang chán hộp tho¿i Page Setup. Trong lớp Paper
Size chán cỡ giÃy A4 29.7 x 21 cm, h¤ớng in là Landscape, mÿc Apply To chán Whole
Document. Trong lớp Margins chán Top 2 cm, Bottom 2.5 cm, Outside 1.9 cm, Inside 1.99
cm, Gutter 0 cm, Header 1.2 cm, Footer 1.5 cm, ánh dÃu kiám tra vào hộp 2 pages Sheet,
mÿc Gutter Position chán Left, mÿc Apply To chán Whole Document. Nháy OK.
Đặt tiêu à Åu trang và cuåi trang
Tiêu ß ầu trang và cuối trang là phần vn bÁn ¤ợc in trên ầu (hoặc cuối) mãi trang cāa
tài liáu. Th¤ßng sā dÿng mÿc này á thêm vào tài liáu tên tác giÁ, tên tài liáu, c¢ quan phát
hành… Có thá áp dÿng các kiáu ặt tiêu ß sau: tiêu ß giống nhau trên toàn bộ các trang cāa
tài liáu, tiêu ß cāa các trang ầu tiên khác với các trang còn l¿i, một tiêu ß dành cho các
trang chẵn, tiêu ß kia dành cho các trang lẻ.
Trong thẻ Insert chán Header & Footer, hoặc có thá nháy úp chuột vào ầu hay cuối trang giÃy. 138
Downloaded by Rot Ca (rotca780@gmail.com) lOMoARcPSD| 37922327
Phan Thị Hà-Khoa CNTT1-Học viện CNBCVT
T¿o các chú thích ở cuåi trang hoặc cuåi vn bÁn
Đối với một vn bÁn, ta có thá t¿o các chú thích cho các cÿm tÿ, chú thích này có thá á cuối
tÿng trang (gái là Footnote) hoặc có thá á tÃt cÁ á cuối vn bÁn (gái là Endnote). Các chú
thích này sẽ ¤ợc ánh số tự ộng. Dùng tá hợp phím Ctrl+Alt+F á ghi chú (Footnotes) á chân trang.
Xóa một chú thích: lựa chán số chú thích á sau chă, Ãn phím Delete, chú thích bß xóa cùng
với vn bÁn kèm theo, ßng thßi các chú thích còn l¿i tự ộng ánh số thứ tự l¿i.
Đánh så trang: Trong thẻ Insert chán Page Number.
Xem tr¤ác trên màn hình cách bå trí các trang in
GiÁ sā toàn bộ vn bÁn ã ¤ợc ßnh d¿ng xong và ã ánh số trang. Đá xem tr¤ớc cách trình
bày các trang ta dùng lánh File / Print Preview (hoặc nháy nút Print Preview trên thanh
Standard). Nếu các trang phân không hợp lý ta có thá sāa ái. Khi màn hình so¿n thÁo biến
mÃt, xuÃt hián màn hình mới với các trang ã phân, ỉnh màn hình có một thanh công cÿ giúp ta xem các trang một cách thuÁn tián:
Standard), xuÃt hián hộp tho¿i Print: In vn bÁn Muốn in vn bÁn dùng lánh File / Print (hoặc nháy chuột vào nút Print trên thanh 139
Downloaded by Rot Ca (rotca780@gmail.com) lOMoARcPSD| 37922327
Phan Thị Hà-Khoa CNTT1-Học viện CNBCVT Xā lý hộp tho¿i: -
Mÿc Printer: thông báo máy in ang dùng và lựa chán máy in khác. Máy in này có thá
là một máy in kim hay laser ang nối với máy tính, có thá là một máy in trên m¿ng. Trong
tr¤ßng hợp ta chỉ muốn in ra file PRN thì máy in trong mÿc này phÁi là tên máy in mà sau
này ta sẽ dùng á in táp PRN. -
Mÿc Print What: chán lo¿i ối t¤ợng cần in (Document, Comments, Styles,…), chán lo¿i Document. -
Mÿc Copies: nhÁp vào số bÁn cần in, ngầm ßnh là 1 bÁn. -
Mÿc Page Range: quy ßnh các trang vn bÁn cần in. Có các lựa chán: All (in hết),
Current Page (chỉ in một trang hián t¿i), Pages (quy ßnh in các trang nào, ví dÿ 1, 3, 5-12),
Selection (in khối vn bÁn ang chán). -
Mÿc Print: chán All Page in range, Odd pages hay Even Pages. -
Ô kiám tra Collate: trong khi in nhißu bÁn, in toàn bộ tài liáu mãi lần hay là cùng một trang nhißu lần. -
Mÿc Pages per Sheet: in cùng một bÁn tài liáu trên cùng một trang giÃy, chẳng h¿n nh¤ Card visit. -
Mÿc Scale to paper size: tự ộng phóng to hay thu nhỏ mội dung cāa tài liáu á phù hợp với nội dung vài trang. -
Nút Options: xuÃt hián hộp tho¿i Print với nhißu lựa chán in cao cÃp khác. Trong
hộp tho¿i này cần chán các mÿc: Allow A4 / Letter page resizing ( ßnh kích th¤ớc cāa tài liáu
l¿i á vÿa vặn trên kích cỡ A4), Background Printing (in tài liáu nhanh chóng vào vùng ám á
có thá tiếp tÿc công viác khác trong khi in), Drawing Objects (in ß háa khi tài liáu có chứa nó). -
Nút Properties: khi nháy nút này sẽ xuÃt hián hộp tho¿i ứng với máy in ã chán, chán
lớp Graphics, chán mÁt ộ in cao nhÃt, chán chÃt l¤ợng in là Fine, di chuyán trong mÿc
Indensity á ißu chỉnh ộ Ám nh¿t. -
Ô kiám tra Print to File: nếu ¤ợc ánh dÃu thì vn bÁn sẽ in ra táp. -
Nút OK: khi nháy nút này thì vn bÁn bắt ầu ¤ợc in. Trong tr¤ßng hợp nếu lựa chán in
ra File thì Word cho xuÃt hián hộp tho¿i mới Print To File, trong hộp tho¿i này ta phÁi lựa
chán th¤ mÿc sẽ chứa táp, tên táp có uôi là PRN và nháy OK. Ta có thá ghi l¿i táp PRN ra ĩa
và màn sang máy khác có máy in á in với ißu kián máy in phÁi có úng tên nh¤ ta ã lựa chán, lánh in: COPY táp.PRN PRN
Đây là lánh cāa DOS, ta không cần Windows và Word năa.
3.1.5. Chèn hình ảnh và công thāc toán
Chèn thêm các ký tự ặc bißt 140
Downloaded by Rot Ca (rotca780@gmail.com) lOMoARcPSD| 37922327
Phan Thị Hà-Khoa CNTT1-Học viện CNBCVT
Đá chèn thêm một ký tự ặc biát (ví dÿ Ā ), thực hián theo trình tự nh¤ sau: ¤a con trỏ vn
bÁn ến n¢i cần chèn, Insert / Symbol, hián hộp tho¿i Symbol, chán lớp Symbols, nháy chuột
vào hộp Font á chán bộ Font chứa các ký hiáu (chẳng h¿n font Symbol, Webdings, Wingdings,
Times New Roman, Tahoma), nháy chuột vào ký hiáu cần chèn, nháy nút Insert á chèn, nháy
nút Close á óng hộp tho¿i Symbol. Khi ký tự ã hián lên trang vn bÁn ta có thá sao chép và dán bình th¤ßng.
Công cụ toán hßc
Word 2010 cho phép b¿n chèn các công thức toán hác. Đá xem công cÿ toán hác: 141
Downloaded by Rot Ca (rotca780@gmail.com) lOMoAR cPSD| 37922327 Phan Thị Hà-Khoa CNTT1- Học viện CNBCVT
• Đặt con trỏ vào n¢i b¿n muốn chèn công thức toán hác • Chán tab trên vùng Ribbon • Chán nút
• Chán công thức toán hác phù hợp hoặc Chán
• Đá chỉnh sāa công thức toán hác: Kích chán công thức và
Design sẽ xuÃt hián trên vùng Ribbon
ụ ồ ß
ÿ a Word 2010
Tÿ nhăng công cÿ vẽ hình và ßnh d¿ng ¢n giÁn á các phiên bÁn tr¤ớc, Office 2010ã nâng
cÃp áng ká tính nng ß háa trong Word, giúp cho ng¤ßi dùng thỏa sức sáng t¿o mà không
cần ến sự trợ giúp cāa nhăng ch¤¢ng trình
ß háa chuyên nghiáp nh¤ Photoshop, Illustrator, CorelDraw …
Trong Word, các ối t¤ợng ß háa (Illustrations) ¤ợc chia làm 05 lo¿i: Picture (Ánh chÿp),
ClipArt (Ánh vẽ có sẵn khi cài ặt), Shapes (các hình vẽ c¢ bÁn), SmartArt ( các hình vẽ, s¢
ß ặc biát), Chart (ß thß) và WordArt (chă nghá thuÁt – nằm trong nhóm Text).
Quá trình thao tác ¤ợc thực hián qua hai phần: t¿o ối t¤ợng và ßnh d¿ng ối t¤ợng.
Đá khái t¿o ối t¤ợng, ta chán menu Insert rßi chán nhóm ối t¤ợng trong phần Illustrations.
- Với Picture, ng¤ßi sā dÿng phÁi chán tranh á n¢i chứa (ví dÿ trong My Pitures)
- Với ClipArt, ng¤ßi sā dÿng phÁi chán tranh trong kho có sẵn cāa ch¤¢ng trình
- Với Shapes, ng¤ßi sā dÿng phÁi chán hình vẽ rßi kích chuột vào vn bÁn
- Với SmartArt, ng¤ßi sā dÿng phÁi chán lo¿i s¢ ß rßi OK
- Với Chart, ng¤ßi sā dÿng phÁi nhÁp số liáu 142 Downloaded by Rot Ca (rotca780@gmail.com) lOMoARcPSD| 37922327
Phan Thị Hà-Khoa CNTT1-Học viện CNBCVT
- Với Word Art, ng¤ßi sā dÿng phÁi chán m¿u và nhÁp nội dung
Sau khi t¿o ối t¤ợng xong, ng¤ßi sā dÿng phÁi kích chuột vào ối t¤ợng ó và chuyán sang menu
Format á ßnh d¿ng. Đây là n¢i tÁp trung các công cÿ á ßnh d¿ng ối t¤ợng vÿa t¿o, bao gßm
+ Nhóm Adjust: ißu chỉnh ộ sáng tối, ộ t¤¢ng phÁn, gßm:
- Brightness: ißu chỉnh ộ sáng
- Contrast: ißu chỉnh ộ t¤¢ng phÁn
- Recolor: ißu chỉnh tông màu. Với tính nng này, ng¤ßi sā dÿng có thá chuyán toàn bộ Ánh thành
d¿ng ¢n sắc theo một tông màu nào ó. Đặc biát, trong ó có tính nng Set Transparent Color dùng
á chuyán một mÁng màu trá nên trong suốt (th¤ßng dùng á lo¿i bỏ nßn Ánh)
- Compress Pictures: dùng á nén Ánh. Các Ánh nguyên gốc có thá có dung l¤ợng rÃt lớn (vài MB
một Ánh), khi chèn vào trong vn bÁn thì dung l¤ợng cāa file Word sẽ bằng dung l¤ợng ký tự
cộng với dung l¤ợng cāa toàn bộ Ánh. Nh¤ thế có thá một vn bÁn có kích cỡ lên tới 100MB. Đá
giÁm dung l¤ợng Ánh, ta dùng chế ộ nén với 03 mức: Print 220 ppi - tốt cho khi in ra máy và
hián thß, Screen 150 ppi – hián thß tốt trên màn hình, Email 96 ppi – dung l¤ợng nhỏ - chÃt l¤ợng
hián thß không tốt - Change Picture: thay ái Ánh
- Reset Picture: khôi phÿc Ánh trá vß tr¿ng thái gốc
- Nhóm Picture Styles: các chế ộ ßnh d¿ng cho Ánh, gßm:
- Picture Shape: chán kiáu khung Ánh (chỉ có với ối t¤ợng d¿ng Ánh)
- Picture Border: chán kiáu vißn khung Ánh
- Picture Effects: chán kiáu hiáu ứng cho Ánh
+ Nhóm Shape Styles: các chế ộ ßnh d¿ng cho các ối t¤ợng d¿ng hình vẽ và ß thß, gßm: Shape Fill: chán kiáu nßn
- Shape Outline: chán kiáu vißt 143
Downloaded by Rot Ca (rotca780@gmail.com) lOMoARcPSD| 37922327
Phan Thị Hà-Khoa CNTT1-Học viện CNBCVT
- Shape Effects: chán kiáu hiáu ứng cho hình vẽ
+ Nhóm Arrange: cn chỉnh vß trí, khoÁng cách giăa các ối t¤ợng ß háa, gßm:
- Position: Chán vß trí ối t¤ợng so với dòng vn bÁn
- Bring to front: ¤a lên trên cùng
- Send to back: ¤a xuống d¤ới cùng
- Text Wrapping: chán chế ộ dòng vn bÁn bao quanh ối t¤ợng (bao theo hình vuông, bao chặt hay phā lên trên …)
- Align: dóng hàng các ối t¤ợng ¤ợc chán
- Group: nhóm và bỏ nhóm các ối t¤ợng ¤ợc chán
- Rotate: quay, lÁt các ối t¤ợng
+ Nhóm Size: ißu chỉnh kích cỡ chính xác các ối t¤ợng
- Height: ißu chỉnh chißu cao
- Width: ißu chỉnh ộ rộng - Crop: cắt tranh
+ Nhóm Shadow Effects: lựa chán các hiáu ứng bóng hai chißu +
Nhóm 3-D Effects: lựa chán các hiáu ứng bóng ba chißu
+ Nhóm WordArt Styles: chán m¿u ßnh d¿ng chă nghá thuÁt
+ Bên c¿nh menu Format á ßnh d¿ng chung các ối t¤ợng ß háa, thì với nhăng lo¿i nh¤ biáu ß, ß thß
còn có thêm hai menu là Design và Layout - Design: chỉnh sāa thiết kế, dă liáu ( ối với ß thß)
- Layout: chỉnh sāa giao dián
Có một iám cần l¤u ý, tÃt cÁ các tính nng nói trên cāa Word 2010 chỉ hián thß khi vn bÁn ¤ợc t¿o
và l¤u theo ßnh d¿ng Word 2010 (có uôi là .docx). Nếu l¤u á ßnh d¿ng Word 2003 thì nhăng tính
nng riêng có cāa Word 2010 nh¤ các d¿ng biáu ß ặc biát, các kiáu ßnh d¿ng á bóng, t¿o hiáu ứng nái … sẽ bß ẩn i. Text Box
Text Box là một AutoShape, ó là một khung chă nhÁt mà ta có thá ặt vào bÃt kỳ âu trên trang
vn bÁn rßi nhÁp nội dung vào ó. Đá t¿o một Text Box ta chán Insert / TextBox, di chuột á ßnh ộ
lớn cāa Text Box, nhÁp vn bÁn vào trong Text Box. Chèn tßp Ánh vào vn bÁn ang so¿n
Dùng lßnh Insert / Picture chèn mßt tßp Ánh Đá chèn một hình Ánh:
• Đặt con trỏ vào n¢i b¿n muốn chèn
• Chán tab Insert trên vùng Ribbon • Chán nút Picture
• Duyát qua hình Ánh b¿n muốn chèn và chán Ánh. • Chán Insert 144
Downloaded by Rot Ca (rotca780@gmail.com) lOMoARcPSD| 37922327
Phan Thị Hà-Khoa CNTT1-Học viện CNBCVT
Chèn và hiáu chỉnh l¤u ồ
Smart Art là tÁp hợp các lo¿i ß háa b¿n có thá sā dÿng á tá chức thông tin trong tài liáu. Đá chèn SmartArt:
• Đặt con trỏ vào n¢i b¿n muốn chèn minh háa hay hình Ánh
• Chán tab Insert trên vùng Ribbon
• Chán nút SmartArt
• Chán vào SmartArt b¿n muốn
• Chán mũi tên phía bên trái á chèn vn bÁn hoặc gõ vn bÁn trong ß háa.
Đá hiáu chỉnh SmartArt, chán Tab Design và các nhóm liên quan: á ỉ
ồ một d¿ng thá
hián bằng hình Ánh các số liáu cāa một bÁng tính. Biáu ß ¤ợc hình thành bái trÿc tung và
trÿc hoành. Trÿc hoành thá hián lo¿i dă liáu dùng á so sánh. Trÿc tung thá hián số l¤ợng
hay ¢n vß o l¤ßng dă liêu dùng á so sánh
T¿i thẻ Insert, nhóm Illustrator, b¿n nhÃn vào Chart Vẽ biểu Biáu ß là 145
Downloaded by Rot Ca (rotca780@gmail.com) lOMoARcPSD| 37922327
Phan Thị Hà-Khoa CNTT1-Học viện CNBCVT
XuÃt hián cāa sá chán kiáu biáu ß
Chán một kiáu biáu ß và nhÁp hoặc sāa nội dung bÁng dă liáu trực tiếp trên bÁng dă liáu Data Sheet cāa màn hình Excel.
Sau ó biáu ß ¤ợc l¤u l¿i trên word. 146
Downloaded by Rot Ca (rotca780@gmail.com) lOMoARcPSD| 37922327
Phan Thị Hà-Khoa CNTT1-Học viện CNBCVT
3.2. BÀNG TÍNH EXCEL 2010
Excel là một phần mßm chuyên dùng cho công tác kế toán, vn phòng trên môi tr¤ßng Windows,
thực hián ¤ợc nhißu phép tính tÿ ¢n giÁn ến phức t¿p. Excel tá chức và l¤u tră thông tin d¤ới d¿ng
bÁng nh¤ bÁng l¤¢ng, bÁng kế toán, bÁng thanh toán, bÁng thống kê, bÁng dự toán, và khi có
sự thay ái dă liáu bÁng tính tự ộng tính toán l¿i theo số liáu mới. Thao tác trên bÁng tính có thá
t¿o ra các báo cáo táng hợp hoặc phân tích có kèm theo các ô biáu ß, hình vẽ minh háa. Excel có
nhißu công dÿng m¿nh á tính toán tài chính, giÁi các bài toán thống kê và các bài toán tối ¤u.
3.2.1. Các khái niám c¢ bản
3.2.1.1.Khởi ộng Excel và màn hình làm việc
Đá khái ộng Excel dùng lánh Start / Programs / Microsoft Excel, màn hình làm viác có d¿ng nh¤ sau: 147
Downloaded by Rot Ca (rotca780@gmail.com) lOMoAR cPSD| 37922327
Phan Thị Hà-Khoa CNTT1-Học viện CNBCVT
Màn hình làm viác cāa Excel có nhăng thành phầ
: Ribbon: Excel 2010 thay ái giao dián ng¤ßi dùng tÿ viác sā dÿng các thanh
thực ¢n truyßn thống thành các cÿm lánh dß dàng truy cÁp ¤ợc trình bày ngay trên màn
hình gái là Ribbon. Có các nhóm Ribbon chính: Home, Insert, Page Layout
( thanh chuẩn) chứa một số lánh thông dÿng cāa Excel d¤ới d¿ng
các nút có biáu t¤ợng, các lánh này có thá truy xuÃt trực tiếp bằng chuột. Trên thanh
Standard có các nút: New, Open, Save, Print, Print Preview, Cut, Copy, Paste, Format
Painter... Muốn biết tên cāa một nút hay một ô ißu khián nào ó trên các thanh công
cÿ ta chỉ cần rà mũi tên chuột lên nút hay ô ó và chß vài giây (nếu ch¤a có tính chÃt
này thì ta dùng nháy chuột vào nút hình mũi tên cuối cùng Customize Quick Access
( thanh ßnh d¿ng) chứa các lánh d¤ới d¿ng các nút có biáu t¤ợng á
ßnh d¿ng dă liáu cāa bÁng tính nh¤ kiáu, lo¿i font, cỡ font, cn lß,... Trên
ô ißu khián Font, Font Size; các nút Bold, Italic, Underline, Align left, Center, Align right...
( thanh công thức) gßm các ô: Name Box (hián thß táa ộ ô hián
hành), Cancel (hāy bỏ), Enter (chÃp nhÁn), Formula bar (nội dung dă liáu cāa ô hián
Tọ a ộ Cancel Enter Dữ liệ u cÿ a 148
Downloaded by Rot Ca (rotca780@gmail.com) lOMoAR cPSD| 37922327
Phan Thị Hà-Khoa CNTT1-Học viện CNBCVT
Workbook (Sá tính) là cāa sá chứa nội dung táp. Tên táp hián trên thanh tiêu ß cāa sá với phần má
rộng ßnh sẵn là XLSX. Excel 2010 dùng ßnh d¿ng tÁp tin mặc ßnh là <.XLSX= (dựa trên chuẩn
XML giúp viác trao ái dă liáu giăa các ứng dÿng ¤ợc dß dàng h¢n) thay cho ßnh d¿ng chuẩn tr¤ớc
ây là <.XLS=. Tên táp Workbook mặc nhiên là Book# (# là số thứ tự t¤¢ng ứng với nhăng lần má
táp). Các thành phần cāa Workbook là:
- Фờng viÁn ngang (Column Border) ghi ký hiáu cột tÿ trái sang phÁi theo chă cái A,
B, C, ..., Y, Z, AA, AB, ..., IV. Cột (column) là một tÁp hợp nhăng ô theo chißu dác.
Độ rộng mặc nhiên là 9 ký tự (có thá thay ái trß số này tÿ 0 ến 255). Có táng cột 256 cột.
- Фờng viÁn dßc (Row Border) ghi số thứ tự dòng tÿ trên xuống d¤ới. Dòng (row) là
một tÁp hợp nhăng ô theo chißu ngang. Chißu cao mặc nhiên là 12.75 chÃm iám (có
thá thay ái trß số này tÿ 0 ến 409). Có táng cộng 65536 dòng.
- Ô (cell) là giao cāa một dòng với một cột. Đßa chỉ cāa một ô xác ßnh bái cột tr¤ớc dòng
sau. Ví dÿ: B6 là ßa chỉ ô nằm trên cột B, dòng thứ 6. Ô hián hành (Select Cell) là ô có
khung vißn quanh. Một ô có thá chứa tới 32.000 ký tự.
- Sheet (Bảng tính) là một bÁng gßm có 256 cột và 65536 dòng. Tên bÁng tính mặc
nhiên là Sheet# (# là số thứ tự). Một táp Workbook có nhißu Sheet, ¤ợc liát kê Sheet1,
Sheet2, Sheet3, ... Trong màn hình trên ang chán bÁng tính Sheet1 cāa táp Book3. Ta
có thá quy ßnh số Sheet trong một táp Workbook bằng lánh Tools / Options, chán lớp
General, chán số l¤ợng Sheet trong mÿc Sheet in New Workbook (có thá lên tới 255).
Trong lớp General ta cũng có thá chán phông chă và cỡ chă ngầm ßnh cho các Sheet, ví
dÿ .Vn Time, 12.
• Scroll bar (hai thanh tr¤ợt á bên phÁi và bên d¤ới cāa sá) dùng á hián thß nhăng phần bß che
khuÃt cāa bÁng tính trên màn hình.
• Status Bar (d¤ới áy cāa sá Microsoft Excel) dòng chứa chế ộ làm viác hián hành hay ý nghĩa
lánh hián hành cāa bÁng tính và các tình tr¿ng hián hành cāa há thống nh¤ NumLock,
Capslock, ... Các chế ộ làm viác thông th¤ßng gßm: Ready (sẵn sàng nhÁp dă liáu), Enter (
ang nhÁp dă liáu), Point ( ang ghi chép công thức tham chiếu ến một ßa chỉ), Edit ( ang ißu
chỉnh dă liáu hay công thức trong ô hián hành, chán chế ộ này bằng cách di chuyán ến ô muốn
ißu chỉnh và gõ phím F2).
• Trên bÁng tính con trỏ chuột là hình chă thÁp rãng, con trỏ ô là một khung chă nhÁt bao xung
quanh một ô, ô có con trỏ ô gái là ô hián hành.
• Viác sā dÿng các thanh công cÿ, các menu và nhÁn trợ giúp trong Excel cũng giống với Word.
3.2.1.2.Các kiểu dữ liệu
Trong một ô chỉ có thá chứa một kiáu dă liáu. Kiẻu dă liáu phÿ thuộc vào ký tự ầu tiên gõ vào. 149
Downloaded by Rot Ca (rotca780@gmail.com) lOMoARcPSD| 37922327
Phan Thị Hà-Khoa CNTT1-Học viện CNBCVT
• Kiểu số (Number). Ký tự ầu tiên gõ vào là các chă số tÿ 0 ến 9, các dÃu + - . ( $. Một số ¤ợc
nhÁp vào mặc nhián là d¿ng General, sau ó có thá ßnh d¿ng trình bày số l¿i theo ý muốn bằng lánh Format / Cells.
• Kiểu chuỗi (Text). Ký tự ầu tiên gõ vào là các ký tự tÿ A ến Z, các ký tự canh biên nh¤ sau >
< ^ \. Ký tự > á óng các ký tự trong ô vß bên trái. Ký tự < á óng các ký tự trong ô vß bên
phÁi. Ký tự ^ á canh các ký tự trong ô vào giăa. Ký tự \ á lặp l¿i ký tự theo sau nó cho ến hết
chißu rộng ô. Các ký tự canh biên chỉ có tác dÿng khi ng¤ßi sā dÿng có chỉ ßnh: Tools /
Option, chán lớp Transition, trong ó chán mÿc: Transition Navigation Keys.
• Kiểu công thāc (Formula). Ký tự ầu tiên gõ vào là dÃu = hoặc +. Kết quÁ trình bày trong ô
không phÁi là các ký tự gõ vào mà chính là giá trß cāa công thức ó. Ví dÿ: =5*20, =A1+A2
hoặc +5*20, +A1+A2. Trong thành phần cāa một công thức có thá gßm có: số, chuãi (phÁi
¤ợc ặt trong cặp nháy kép), táa ộ ô, tên vùng, các toán tā, các lo¿i hàm.
Các toán tā sā dÿng trong công thức:
- Toán tā tính toán: + (cộng) – (trÿ) * (nhân) / (chia) ^ (lũy thÿa) % (phần trm)
- Toán tā chuãi: & (nối chuãi). Ví dÿ, = - Toán tā so sánh: = (bằng) <> (không bằng) > (lớn h¢n) >= (lớn h¢n hay bằng) < (nhỏ h¢n) <= (nhỏ h¢n hay bằng)
Độ ¤u tiên cāa các toán tā trong công thức: các nhóm biáu thức trong (…), lũy thÿa, nhân, chia, cộng, trÿ.
Khi nhÁp vn bÁn hay công thức dài muốn xuống dòng trong ô hãy Ãn Alt + Enter. Nếu trong
bÁng tính có công thức mà ta muốn công thức á các ô thì chán ô ó, công thức sẽ hián lên á thanh Formula..
3.2.1.3.Cách nhập dữ liệu
Nháy chuột vào ô cần nhÁp, nhÁp dă liáu (theo quy ¤ớc tÿng lo¿i dă liáu), kết thúc nhÁp bằng
cách gõ phím Enter (hoặc nháy vào nút Enter trên thanh Formula, hoặc dùng các phím mũi tên di
chuyán con trỏ sang ô khác). Ghi è dữ liệu mới vào một ô: nháy chuột vào ô, gõ dă liáu mới và
Ãn Enter. Sửa dữ liệu một ô: nháy chuột vào ô, gõ F, dùng phím mũi tên chuyán con trỏ chèn (là
một dÃu v¿ch ứng) tới n¢i cần á sāa, muốn xóa ký tự dùng các phím Delete và Backspace.
Cách phím di chuyển con trá ô: ý (lên một dòng), ÿ (xuống một dòng), þ (sang phÁi một cột),
ü (sang trái một cột), PgUp (lên một trang màn
hình), PgDn (xuống một trang
màn hình), Alt+PgUp (sang trái một trang màn
hình), Alt+PgDn (sang phÁi một trang màn
hình), Home (vß ầu một dòng), Ctrl+Home (vß ô
A1). Ngoài ra có thá nháy chuột t¿i một ô á di chuyán con trỏ ô ến ó.
Downloaded by Rot Ca (rotca780@gmail.com) lOMoAR cPSD| 37922327
Phan Thị Hà-Khoa CNTT1-Học viện CNBCVT
3.2.1.4. Điền dãy số tự ộng
Đißn dãy số tự ộng là viác ißn một dãy số
vào một hàng ô hay một cột ô. Thao tác: gõ giá trß số bắt ầu vào ô ầu tiên, chán vùng cần ißn số,
di chuyán chuột tới khi hián hình chă thÁp, kéo các giá trß theo chißu mong muốn. Chán nút
Chán kiáu format mong muốn.
Ngoài ra ta có thá ißn tự ộng các mÿc khác nh¤ ngày tháng …
3.2.1.7.Thao tác trên tệp •
L¤u tră táp Workbook mới lên ĩa: thực hián lánh File / Save. L¤u tră táp Workbook cũ lên
ĩa với tên mới : dùng File / Save As. Trong cÁ hai tr¤ßng hợp trên máy ßu hián hộp tho¿i Save
As (hoàn toàn giống với hộp tho¿i trong Word), chán tên th¤ mÿc trong Save In, gõ vào tên táp
mới trong hộp File Name, trong hộp Save As Type chán Microsoft Excel Workbook, nháy nút Save. •
L¤u tră táp lên ĩa với tên cũ bằng cách: nháy chuột vào biáu t¤ợng Save trên thanh
Standard, hoặc thực hián lánh File / Save. •
Má một táp Workbook ã có trên ĩa: thực hián lánh File / Open, hoặc nháy chuột vào biáu
t¤ợng Open trên thanh Standard, chán á ĩa và chán th¤ mÿc, chán tên táp cần má. •
T¿o một táp Workbook mới: thực hián lánh File / New, hoặc nháy chuột vào biáu t¤ợng New trên thanh Standard. •
Đóng một táp Workbook: thực hián lánh File / Close.
3.2.2.1.Thay ổi ộ rộng cột và chiều cao dòng •
Đái ộ rộng một cột: rê chuột trên ¤ßng g¿ch ứng giăa hai cột (t¿i ¤ßng vißn ngang phía
trên cāa bÁng tính) á thay ái ộ rộng cột bên trái. 151
Downloaded by Rot Ca (rotca780@gmail.com) lOMoAR cPSD| 37922327
Phan Thị Hà-Khoa CNTT1-Học viện CNBCVT •
Đái chißu cao một dòng: rê chuột trên ¤ßng g¿ch ngang giăa hai dòng
(t¿i ¤ßng vißn dác bên trái cāa bÁng tính) á thay ái chißu cao cāa dòng bên trên. •
Đái ộ rộng nhißu cột: chán một số ô cāa nhăng cột cần thay ái ộ rộng,
trong thẻ Home, chán vùng Cells, thực hián lánh Format / Column Width,
hộp tho¿i Column Width hián ra, gõ vào ộ rộng cột cần thay ái rßi chán OK. •
Đái chißu cao nhißu dòng: chán một số ô cāa nhăng dòng cần thay ái
chißu cao, trong thẻ Home, chán vùng Cells, thực hián lánh Format / Row
Height, hộp tho¿i Row Height hián ra, gõ vào chißu cao dòng cần thay ái rßi chán OK hay gõ Enter. 3.2.2.2.Định dạng dữ liệu số
ß số: chán vùng dă liáu á ßnh • Sau khi
d¿ng số, nháy chuột phÁi chán nhÁp dă liáu, tính
Format Cells, hộp tho¿i Format toán, ... ta có thá
Cells hián ra, chán lớp Number, trình bày l¿i bÁng
trong mÿc Category hãy chán lớp tính nh¤ chán kiáu
thích hợp, nháy chuột t¿i m¿u ßnh thá hián số liáu,
d¿ng mong muốn trong khung bên chán ¢n vß tính thích hợp, thay ái
phÁi hộp tho¿i (t¤¢ng ứng là ví dÿ kiáu chă, cỡ chă,
m¿u trong mÿc Sample), chán OK. nhÃn m¿nh nội
Thay cho viác vào há thống menu dung, số liáu quan
ta cũng có thá nháy chuột vào các tráng... • Một số khi nhÁp vào một ô tự
Decrease decimal trên thanh Formatting á ßnh d¿ng l¿i dă liáu số. ộng ¤ợc chỉnh
phÁi và ¤ợc hián 3.2.2.3 .Định dạng dữ liệu chữ
thß phÿ thuộc hai thành phần: Lớp (Category) và d¿ng. Các lớp gßm Number, Date, Time,
Percent,... Trong một lớp có nhißu d¿ng. Ví dÿ lớp Date có các d¿ng: M/D/YY, D-MMM-YY,... •
Các b¤ớc thực hián ßnh d¿ng hián 152
Downloaded by Rot Ca (rotca780@gmail.com) lOMoAR cPSD| 37922327
Phan Thị Hà-Khoa CNTT1-Học viện CNBCVT •
Dă liáu chă ã nhÁp trong các ô có thá ßnh d¿ng l¿i theo các thành phần: Font (nét chă),
Font Style (nghiêng, Ám,...), Size (kích th¤ớc chă), Color (màu cāa chă). Các b¤ớc thực hián ßnh
d¿ng ký tự: chán vùng dă liáu á ßnh d¿ng, thực hián lánh Format / Cells, xuÃt hián hộp tho¿i
Format Cells, chán lớp Font (các mÿc cũng giống nh¤ trong Word 2000), chán Font, Font Style,
Size, Underline, Color thích hợp cho chă.
3.2.2.4.Quy ịnh vị trí của dữ liệu trong các ô
Sau khi nhÁp ta có thá quy ßnh l¿i vß trí hián thß dă liáu trong ô (dóng) bằng cách: chán vùng
dă liáu á ßnh d¿ng, thực hián lánh Format / Cells, xuÃt hián hộp tho¿i Format Cells, chán lớp Alignment.
Trong hộp tho¿i này có các khÁ nng lựa chán: 153
Downloaded by Rot Ca (rotca780@gmail.com) lOMoAR cPSD| 37922327
Phan Thị Hà-Khoa CNTT1-Học viện CNBCVT (g
iă nguyên dă liáu nh¤ khi nhÁp vào tÿ bàn
phím), Left (ißu chỉnh thẳng mép trái), Center
( ißu chỉnh giăa ô), Right (ißu chỉnh thẳng mép
phÁi), Fill (ißn toàn ô bái các ký tự có trong ô
ó), Justify (ißu chỉnh thẳ
across selection (ißu chỉnh giăa qua một dãy ô). á lựa chán ißu chỉnh
dác dă liáu trong tÿng ô: Top (lên phía trên),
Bottom (xuống phía d¤ới), Center (dă liáu cân giăa), Justify. á lựa chán hình thức
trÁi dă liáu trong ô: ngang, dác hay nghiêng.
Ô kiểm tra Wrap Text nếu ¤ợc ánh dÃu
thì ộ rộng cột cố ßnh, dă liáu nhÁp vào tự ộng dàn qua nhißu dòng.
Chú ý, viác chán Font, Style, Size cāa chă và cách dóng cũng có thá thực hián nhß các
Ta còn có thá má hộp tho¿i Formatting Cells bằng cách nháy chuột vào nút mũi tên trên thanh ribbon cāa thẻ Home.
3.2.2.5 .Tạo các ường kẻ theo vùng ô ã chọn -
Khung Horizontal á lựa chán cách ißu chỉnh ngang dũ liáu trong tÿng ô: General
Muốn kẻ các ¤ßng ngang dác trong bÁng tính ta tiến hành: chán vùng ô cần kẻ khung, dùng
lánh Format / Cells, xuÃt hián hộp tho¿i Format Cells, chán lớp Border. Xā lý hộp tho¿i: -
Nút Outline: vẽ vißn quanh vùng ô ã chán. Nút Inside: kẻ các ¤ßng kẻ ngang dác bên trong
vùng ô ã chán. Nút None: hāy bỏ các ¤ßng kẻ ô. Tám nút trong khung Border: kẻ các ¤ßng ngang
dác, chéo trong vùng ô, á giăa các nút này là các m¿u tác dÿng cāa các ¤ßng kẻ. -
Khung Style á chán một trong 13 m¿u ¤ßng kẻ (kẻ ¢n, úp, nét lißn hay ứt o¿n). 154
Downloaded by Rot Ca (rotca780@gmail.com) lOMoAR cPSD| 37922327
Phan Thị Hà-Khoa CNTT1-Học viện CNBCVT
Nút Color: chán màu ¤ßng kẻ.
Ta cũng có thá t¿o các ¤ßng kẻ cho vùng ô ã chán bằng cách nháy vào nút Borders trên thanh
Formatting, khi ó xuÃt hián một bÁng gßm 13 m¿u kẻ (không kẻ nghĩa là xóa ¤ßng kẻ cũ), lựa
chán cách kẻ thích hợp. Các ¤ßng kẻ khung sẽ ¤ợc in ra khi in bÁng tính.
BÁt tắt l¤ới ô cÿa bảng tính. L¤ới ô trong l¤ới ô trong thẻ Page Layout
bÁng tính giúp cho viác nhìn các ô ¤ợc rõ ràng, khi in nó không ¤ợc in ra. Đá bÁt (hay tắt)
Định dạng nền dữ liệu
Ta có thá tô nßn cāa các ô theo m¿u tô và
màu tô nhÃt ßnh. Cách tiến hành: chán vùng
á ßnh d¿ng nßn dă liáu, nháy chuột phÁi
chán Format Cells, hộp tho¿i Format Cells
xuÃt hián, chán lớp Fill. Xā lý hộp tho¿i: chán
m¿u tô trong mÿc Pattern, chán màu tô trong mÿc Color, chán OK. chán Gridlines / View. 155
Downloaded by Rot Ca (rotca780@gmail.com) lOMoARcPSD| 37922327
Phan Thị Hà-Khoa CNTT1-Học viện CNBCVT
3.2.2.7.Sắp xếp dữ liệu
Trong Excel có thá sắp xếp số liáu trong một ph¿m vi ¤ợc chán một cách ộc lÁp với các ô
ngoài khu vực chán. Viác sắp xếp có thá thực hián trên hàng ngang hoặc cột dác. Excel cho phép
sắp xếp dă liáu tối a theo ba khóa. Ví dÿ, nếu một danh sách l¤¢ng sắp xếp theo tÿng ¢n vß, trong
mãi ¢n vß sắp xếp theo Tên, cùng tên sắp xếp theo Há thì khóa thứ nhÃt là dă liáu cột Đ¢n vß,
khóa thứ hai là dă liáu cột Tên, khóa thứ ba là dă liáu cột Há.
Các b¤ớc á sắp xếp dă liáu: chán vùng dă liáu muốn sắp xếp, trong thẻ Home, chán vùng Editing, nháy vào Sort.
Chú ý, muốn chỉ ßnh sắp xếp theo hàng hay sắp xếp theo cột, thì trong hộp tho¿i Sort chán
Options, hộp tho¿i Sort Options xuÃt hián. Trong hộp tho¿i này có hai lựa chán: Sort Top to
Bottom (xếp theo hàng), Soft Left to Right (xếp theo cột).
3.2.3 Các hàm c¢ bản
Excel có một số hàm m¿u (Function Wizard) dùng tiên lợi và ¢n giÁn, ví dÿ công thức
=A3+A4+A5+A6+A7 có thá thay bằng hàm SUM (A3:A7). D¿ng thức táng quát cāa hàm: =hàm>(Danh sách ối số)
là tên hàm m¿u do Excel quy ßnh. Ví dÿ: SUM, AVERAGE, MAX, ...
có thá là các trß số, dãy các ô, ßa chỉ ô, tên vùng, công thức, tên hàm. Chú ý, hàm phÁi bắt ầu bái
dÃu bằng (=), tên hàm không phân biát chă th¤ßng và chă hoa. Đối số phÁi ặt trong ngoặc ¢n (),
giăa các ối số phân cách nhau bái dÃu phẩy.
3.3.1.Các hàm số hßc và ¿m •
ABS(N): cho giá trß tuyát ối cāa biáu thức số N. Ví dÿ =ABS(-25) cho 25. •
SQRT(N) cho trß là cn bÁc hai cāa số N (N>0). Ví dÿ =SQRT(25) cho 5. •
INT(N) cho giá trß là phần nguyên cāa biáu thức số N. Ví dÿ =INT(236.26) cho 236. •
PI() cho trß là số Pi (3.141593). •
MOD(N,M) cho phần d¤ cāa phép chia nguyên N cho M. Ví dÿ =MOD(10, 3) cho kết quÁ là 1. •
ROUND(biáu_thức_số, n): làm tròn giá trß cāa biáu_thức_số ến n số lẻ. Nếu n>0: làm tròn
vß bên phÁi cột thÁp phân. Nếu n<0: làm tròn vß bên trái cột thÁp phân. Ví dÿ:
=Round(333333, -3) cho giá trß 333000 (làm tròn ến hàng ngàn)
=Round(35123.374, 2) cho giá trß 35123.37
=Round(12345.5432, 0) cho giá trß 12346 156
Downloaded by Rot Ca (rotca780@gmail.com) lOMoAR cPSD| 37922327
Phan Thị Hà-Khoa CNTT1-Học viện CNBCVT •
SUM(danh sách các trß): tính táng cāa các giá trß có trong danh sách. Ví dÿ dă liáu trong
các ô B1, B2, B3, B6 lần l¤ợt là 4, 8, 3, 6. Công thức á ô B7 là =SUM(B1:B3, B6). Giá trß trÁ vß trong ô B7 là 21. •
AVERAGE(danh sách các trß): tính trung bình cộng cāa các giá trß có trong danh sách. Ví
dÿ dă liáu trong các ô B1, B2, B3, B4 lần l¤ợt là 4, 8, 6, 2. Công thức á ô B6 là
=AVERAGE(B1:B4, 10). Giá trß trÁ vß trong ô B6 là 6. •
MAX(danh sách các trß): tìm giá trß số hác lớn nhÃt cāa các giá trß có trong danh sách. Ví
dÿ dă liáu trong các ô B1, B2, B3, B4 lần l¤ợt là 4, 8, 6, 2. Công thức MAX(B1:B4) cho giá trß là 8. •
MIN(danh sách các trß): tìm giá trß số hác nhỏ nhÃt cāa các giá trß có trong danh sách. Ví
dÿ dă liáu trong các ô B1, B2, B3, B4 lần l¤ợt là 4, 8, 6, 2. Công thức MIN(B1:B4) cho giá trß là 2. •
COUNTA(danh sách các trß): cho số các ô chứa dă liáu trong danh sách. Ví dÿ, công thức =COUNTA(-2, A B C D E F 1 4.4 1.1 9.9 3.3 2.2 5.5 2 1 ABC 2 3 4 XY Z •
COUNT(danh sách các trß): cho số các ô chứa giá trß số trong danh sách. Ví dÿ =COUNT(- 2, •
RANK(x, danh sách): xác ßnh thứ h¿ng cāa Trß x so với các giá trß trong Danh sách (thứ
h¿ng xếp theo giá trß giÁm dần). Trß x và danh sách phÁi là các giá trß số, nếu không sẽ gây ra
lãi #VALUE!. Trß x phÁi r¢i vào một trong các giá trß cāa danh sách, nếu không sẽ gây ra lãi
#N/A. Ví dÿ, Rank(3.3, A1:F1) cho giá trß là 4. Một tr¤ßng hợp ứng dÿng cāa hàm: trong bÁng
iám cuối hác kỳ cāa một lớp dựa vào cột Điám trung bình các môn hác tính cột Xếp thứ (hác sinh
xếp thứ mÃy trong lớp vß hác lực).
3.2.3.2.Các hàm ngày tháng
Dă liáu ngày (Date) là một d¿ng ặc biát cāa dă liáu số. Ta th¤ßng nhÁp dă liáu ngày á d¿ng
M/D/YY, ví dÿ 1/25/02 (ngày 25 tháng 1 nm 2002, nm nhÁp là 02 thì Excel hiáu là nm 2002).
Sau khi ô ã có dă liáu ngày, ta có thá chán các ô, nháy chuột phÁi chán Format Cells, xuÃt hián
hộp tho¿i Format Cells, chán lớp Number, chán mÿc Date, chán các kiáu dă liáu ngày hay dùng
nh¤: 25-Jan-02 và March 4, 2002. 157
Downloaded by Rot Ca (rotca780@gmail.com) lOMoAR cPSD| 37922327
Phan Thị Hà-Khoa CNTT1-Học viện CNBCVT
Các hàm ối với dă liáu ngày: •
DAY(dă liáu kiáu ngày) cho giá trß ngày cāa dă liáu kiáu ngày. Ví dÿ
=DAY(<1/15/02=) cho 15, công thức DAY(B5) cho 25 nếu B5 chứa giá trß kiáu ngày 1/25/01. •
MONTH(dă liáu kiáu ngày) cho giá trß tháng cāa dă liáu kiáu ngày. Ví dÿ
=MONTH(<11/30/03=) cho kết quÁ 11. •
YEAR(dă liáu kiáu ngày): cho giá trß nm cāa dă liáu kiáu ngày. Ví dÿ =YEAR(<11/19/05=) cho 2005.
3.2.3.3.Các hàm logic •
IF(biáu thức logic, biáu thức 1, biáu thức 2): nếu biáu thức logic là úng thì hàm cho giá trß
là , trái l¿i cho giá trß là . Các biểu thāc 1 và biểu thāc 2 cũng có thá
là nhăng hằng trß, biáu thức (chuãi, số, logic) và cũng có thá là một hàm IF khác. Ví dÿ,
=IF(a1>=300, 50, 100). •
AND( ißu kián 1, ißu kián 2, ...): cho giá trß úng khi mái ißu kián nêu trong danh sách ßu
cho trß úng. Ví dÿ =AND(3>2, 5<8) cho giá trß TRUE, =AND(TRUE, FALSE) cho giá trß FALSE. •
OR( ißu khián 1, ißu kián 2, ...): cho giá trß úng khi có bÃt kỳ một ißu kián nêu trong danh
sách ßu cho giá trß úng. Ví dÿ, =OR(3>2, 5=8) cho giá trß TRUE, =OR(1+1=3, 2+3=6) cho giá trß FALSE. •
NOT( ißu kián): cho trß úng nếu ißu kián sai và cho trß sai nếu ißu kián úng.
3.2.3.4.Các hàm xử lý chuỗi 158
Downloaded by Rot Ca (rotca780@gmail.com) lOMoAR cPSD| 37922327
Phan Thị Hà-Khoa CNTT1-Học viện CNBCVT
( TEXT, N) cho trß là chuãi con cāa chuãi TEXT ¤ợc tính tÿ trái sang phÁi N ký tự. Ví dÿ, =LEFT( .
( TEXT, N) cho trß là chuãi con cāa chuãi TEXT ¤ợc tính tÿ phÁi sang trái N ký tự. Ví dÿ, =RIGHT( .
( TEXT) cho ộ dài cāa chuãi TEXT. Ví dÿ, =LEN(
( TEXT) chuyán chuãi TEXT thành chuãi chă th¤ßng.
( TEXT) chuyán chuãi TEXT thành chuãi chă hoa.
( TEXT): chuyán các ký tự ầu tÿ cāa chuãi TEXT thành chă hoa. Ví dÿ, = PROPER(=.
3.2.3.6 .Chán hàm m¿u tÿ há thống menu
Một hàm m¿u có thá nhÁp vào ô qua há
thống menu và hộp tho¿i bằng cách: Trong
thẻ Formula nháy vào nút Insert Function.
Trong hộp Select Function chán hàm cần dùng rßi nháy Ok.
Sā dÿng thêm các nút thông dÿng á ngay 159
Downloaded by Rot Ca (rotca780@gmail.com) lOMoARcPSD| 37922327
Phan Thị Hà-Khoa CNTT1-Học viện CNBCVT
3.2.4 Biểu ồ bảng tính và chèn hình ảnh
Biáu ß là ß thß biáu dißn dă liáu bÁng tính. Các biáu ß làm cho dă liáu cāa bÁng tính phức t¿p
trá thành trực quan và dß hiáu h¢n. Biáu ß biến ái dă liáu tÿ các hàng và các cột trên bÁng tính
thành hình khối, ß thß,… Biáu ß có các trÿc, trên ó có các giá trß tÿ lá t¤¢ng ¤¢ng với giá trß dă liáu trên bÁng tính.
3.2.4.1.Các bước tạo biểu ồ
Xét bÁng tính ví dÿ d¤ới ây.
T¿o ß thß d¿ng cột tÿ dă liáu cāa Trßng trát. Các b¤ớc thực hián:
Dùng chuột chán vùng chứa dă liáu.
Trong thẻ Insert chán vùng Chart, chán các nút nằm ngay trên thanh Ribbon hoặc
nháy vào nút mũi tên á góc bên phÁi á hián thß hộp tho¿i Chart. - - 160
Downloaded by Rot Ca (rotca780@gmail.com) lOMoARcPSD| 37922327
Phan Thị Hà-Khoa CNTT1-Học viện CNBCVT
y nút Ok. Nháy chuột phÁi vào biáu ß vÿa t¿o, chán Select Data á hián thß hộp tho¿i Select Data Source.
Trong hộp tho¿i này cho d¿ng ß thß ban ầu và gßm hai lớp. Lớp Chart Data Range dùng á chán
vùng chứa dă liáu cho biáu ß, xác ßnh chuãi dă liáu bố trí theo hàng hay theo cột. Lớp Series: thêm hay xóa dă liáu.
Đặt tên cho biáu ß t nháy chuột vào biáu ß, chán thẻ Layout, chán nút Chart Title. 161
Downloaded by Rot Ca (rotca780@gmail.com) lOMoARcPSD| 37922327
Phan Thị Hà-Khoa CNTT1-Học viện CNBCVT
3.2.4.2.Hiệu chỉnh biểu ồ
Đá hiáu chỉnh biáu ß tr¤ớc tiên ta cần chán biáu ß bằng cách nháy chuột vào biáu ß muốn hiáu
chỉnh, khung vißn biáu ß sẽ hián 8 nút á 4 góc và iám giăa các c¿nh. Sau ó có thá tiến hành các thao tác: •
Di chuyán biáu ß: nháy chuột vào biáu ß và giă tay cho ến khi con trỏ chuột biến thành
dÃu chă thÁp với bốn mũi tên á ầu thì kéo chuột á di chuyán biáu ß ến vß trí mới. •
Thay ái kích th¤ớc: dùng chuột rê các nút trên khung vißn. •
Nháy nút phÁi chuột lên biáu ß, chán Select Data. Hộp tho¿i này có nhißu lớp dùng á thay
ái tiêu ß ß thß, thuyết minh các cột, các ¤ßng kẻ ngang dác, chú thích, các nhãn… 162
Downloaded by Rot Ca (rotca780@gmail.com) lOMoAR cPSD| 37922327
Phan Thị Hà-Khoa CNTT1-Học viện CNBCVT
Xóa một thành phần: nháy chuột vào thành phần, Ãn Delete.
Thay ái kích th¤ớc một thành phần: nháy chuột lên thành phần, xuÃt hián 8 nút hình
vuông, kéo các nút á thay ái kích th¤ớc. Di chuyán thành phần sang vß trí khác: nháy chuột
Đßnh d¿ng l¿i một thành phần: nháy úp chuột vào thành phần, xuÃt hián một hộp
tho¿i gßm nhißu lớp, tiến hành lựa chán theo h¤ớng d¿n trên hộp. Ta có thá chán m¿u tô và
3.2.4.3 .Đưa các ối tượng hình ảnh vào bảng tính
Thao tác hoàn toàn nh¤ trong Word 2010 ta có thá dùng thanh công cÿ Insert á
¤a một ối t¤ợng Shape, Text Box, Word Art vào trong một bÁng tính nh¤ trong bÁng tính sau:
- Hiáu chỉnh các thành phần bên trong biáu ß: ( vùng Series cāa hộp tho¿i Select Data Source á trên ). - -
lên thành phần và kéo i. - màu tô cho thành phần. - - 163
Downloaded by Rot Ca (rotca780@gmail.com) lOMoARcPSD| 37922327
Phan Thị Hà-Khoa CNTT1-Học viện CNBCVT
- Ta cũng có thá dùng lánh Insert / Picture / From File á chèn một bức tranh lÃy tÿ một
táp vào bÁng tính, hoặc có thá dùng lánh Insert / Picture / Clip Art á chèn một bức tranh
lÃy tÿ Clip Art vào bÁng tính. Khi bức Ánh ã vào bÁng tính ta có thá
kéo nó tới vß trí bÃt kỳ trên bÁng tính, có thá dùng nút Order trên Thanh công cÿ
Drawing á chuyán Ánh xuống d¤ới các ối t¤ợng ß háa khác.
- Ta có thể lấy một bāc ảnh làm nÁn cho phần dữ liáu cÿa bảng tính bằng cách: dùng
chuột lựa chán bộ phÁn bÁng tính muốn ặt lên phía tr¤ớc cāa Ánh nßn ( ây có thá là
một bộ phÁn cāa Sheet hián hành hoặc bÃt kỳ bÁng tính nào khác), Page Layout /
Background, kéo phần vÿa chép lên vß trí thích hợp trên bÁng tính, kéo các khung vißn
cāa bộ phÁn bÁng tính ã sao chép á ßnh l¿i kích cỡ cho vÿa khớp với Ánh nßn. 164
Downloaded by Rot Ca (rotca780@gmail.com) lOMoARcPSD| 37922327
Phan Thị Hà-Khoa CNTT1-Học viện CNBCVT 3.3 POWERPOINT 2000
PowerPoint dùng á t¿o một trình dißn (Presentation) gây Ãn t¤ợng cho một bài nói tr¤ớc
ông Áo ng¤ßi nghe trong một hội nghß, một buái bÁo vá luÁn án. Cách dùng há thống menu,
dùng các thanh công cÿ Standard và Formatting, dùng Office Assistant và nhÁn trợ giúp,
chèn các ối t¤ợng ß háa và hình Ánh, chèn Table trong PowerPoint ¤ợc thực hián giống nh¤
trong Word. Ta có thá dß dàng sao chép vn bÁn trong Word và các biáu ß trong Excel vào trong PowerPoint.
3.3.1.Khởi ộng PowerPoint
Đá khái ộng PowerPoint dùng lánh Start / Programs / Microsoft PowerPoint, PowerPoint ¤ợc
khái ộng và xuÃt hián hộp tho¿i PowerPoint:
- Design: chán các m¿u thiết kế sẵn, trong m¿u không có nội dung.
- Blank Presentation: t¿o một trình dißn trắng. Khi chán mÿc này xuÃt hián hộp tho¿i New
Slide cho phép ta chán các m¿u Slide (bÁn phim) mới: 165
Downloaded by Rot Ca (rotca780@gmail.com) lOMoAR cPSD| 37922327
Phan Thị Hà-Khoa CNTT1-Học viện CNBCVT
Màn hình làm viác cāa PowerPoint á chế ộ Normal View có d¿ng sau: Thanh tiêu ß (Title bar):Thá hián tên cāa ch¤¢ng trình ang ch¿y là
PowerPoint và tên cāa bài trình dißn hián hành. Nếu cāa sá ch¤a toàn màn hình thì ta có thá dùng
chuột kéo Title bar á di chuyán cāa sá.
Ribbon:Chức nng cāa Ribbon là sự kết hợp cāa thanh thực ¢n và các thanh công cÿ, ¤ợc
trình bày trong các ngn (tab) chứa nút và danh sách lánh.
Quick Access Toolbar: Chứa các lánh tắt cāa các lánh thông dÿng nhÃt. B¿n có thá thêm/
bớt các lánh theo nhu cầu sā dÿng.
Nút Minimize: Thu nhỏ cāa sá ứng dÿng vào thanh tác vÿ (taskbar) cāa Windows; b¿n
nhÃp vào nút thu nhỏ cāa ứng dÿng trên taskbar á phóng to l¿i cāa sá ứng dÿng. Nút 166
Downloaded by Rot Ca (rotca780@gmail.com) lOMoARcPSD| 37922327
Phan Thị Hà-Khoa CNTT1-Học viện CNBCVT
Maximize/Restore: Khi cāa sá á chế ộ toàn màn hình, khi chán nút này sẽ thu nhỏ cāa sá l¿i, nếu
cāa sá ch¤a toàn màn hình thì khi chán nút này sẽ phóng to cāa sá thành toàn màn hình
Nút Close: Đóng ứng dÿng l¿i. B¿n có thá nhÁn ¤ợc thông báo l¤u l¿i các thay ái cāa bài trình dißn.
Khu vực so¿n thÁo bài trình dißn:Hián thß slide hián hành.
Ngn Slides: Hián thß danh sách các slide ang có trong bài thuyết trình
Ngn Outline: Hián thß dàn bài cāa bài thuyết trình
Thanh tr¿ng thái (Status bar): Báo cáo thông tin vß bài trình dißn và cung cÃp các nút lánh
thay ái chế ộ hián thß và phóng to, thu nhỏ vùng so¿n thÁo.
PowerPoint 2010 xây dựng Ribboncó các nút lánh ß háa dß nhÁn biết ¤ợc chia thành nhißu
Tab (ngn) thay cho há thống thực ¢n xá xuống tr¤ớc ây.Mãi tab giống nh¤ một thanh công cÿ với
các nút lánh và danh sách lánh cho ng¤ßi dùng lựa chán sā dÿng.
Các tab không dß tùy biến dß nh¤ các thang công cÿ á các phiên bÁn tr¤ớc, nh¤ng
PowerPoint 2010 có thêm một thanh công cÿ gái là Quick Access Toolbar(QAT - thanh công cÿ
truy cÁp nhanh) giúp ng¤ßi dùng có thá tùy biến và gắn thêm các nút lánh th¤ßng dùng một cách
nhanh chóng và dß dàng.B¿n có thá thêm vào QAT bÃt kỳ nút lánh nào bằng cách nhÃp phÁi
chuột vào nó và chán Add to Quick Access Toolbar. 167
Downloaded by Rot Ca (rotca780@gmail.com) lOMoARcPSD| 37922327
Phan Thị Hà-Khoa CNTT1-Học viện CNBCVT Ribbon xuÃt hián thêm ngn
giúp viác áp dÿng hiáu ứng chuyán tÿ slide này
sang slide khác ¤ợc nhanh và thuÁn tián h¢n. Ngoài ra, nút
ng¤ßi dùng dß dàng phóng to hay thu gán Ribbon. Góc d¤ới bên trái có các nút dùng á lựa
chán cách xem slide: Slides, Outline view (khung 1 rộng), Slide view (khung 2 rộng, khung
1 chỉ còn biáu t¤ợng cāa các slide, khung 3 không có), Slide show (hián slide trên toàn màn
hình). Slide còn có cách hián Notes Pages á d¤ới d¿ng khá giÃy A4 nh¤ khi in ra máy in
nāa trên là slide, nāa d¤ới là nội dung các chú giÁi, vß cách hián này bằng khung Notes
3.3.2 .Tạo trình dißn dựa trên Slide trắng
Các b¤ớc á t¿o một trình dißn tÿ ầu:
B¤ớc 1: Dùng lánh File / New, hián hộp tho¿i New Presentation:
Chán lớp Available Template and Themes, chán biáu t¤ợng Blank Presentation, xuÃt hián hộp
tho¿i New Slide, chán một slide, nháy OK. Đặt màn hình á chế ộ Normal View.
B¤ớc 2: Gõ tiêu ß cāa Slide và nội dung cāa nó. NhÃn Enter á xuÃt hián l¿i hộp tho¿i New
Slide, chán một m¿u slide, bá xung nội dung cho nó.
B¤ớc 3: Xem cách hián thß slide ang thiết kế: nháy nút Slides á góc trái bên d¤ới cāa sá PowerPoint.
B¤ớc 4: Ghi táp vào ĩa dùng lánh File / Save.
Bổ xung thay ổi màu nÁn cÿa Slide: dùng lánh Home, Nháy vào
nút mũi tên trong khung Drawing/ Shape fill á hián các m¿u màu và
chán (xā lý hộp tho¿i giống nh¤ trong Word). Nút Apply: áp dÿng 168
Downloaded by Rot Ca (rotca780@gmail.com) lOMoARcPSD| 37922327
Phan Thị Hà-Khoa CNTT1-Học viện CNBCVT
thay ái cho slide hián t¿i. Nút Apply to All: áp dÿng thay ái cho tÃt cÁ các slide.
Thay ổi màu cÿa phông chữ: chán Slide, dùng lánh Home, chán
ối t¤ợng cần ái màu phông chă. Chán trong khung Font/Font Color,
hián hộp tho¿i Color Scheme. Chán lớp Standard á chán màu tÿ bÁng,
hoặc chán lớp Custom á trộn mày riêng.
Trong hộp tho¿i Color Scheme, nút Apply: áp dÿng màu mới chỉ
cho slide hián hành, nút Apply to All: áp dung màu cho tÃt cÁ các Slide.
Bổ xung và thay ổi phần ầu trang và cuối trang: dùng lánh View / Header and Footer, xuÃt
hián hộp tho¿i Header and Footer: -
Chán lớp Slide. Trong lớp này mÿc Data and Time dùng á chèn ngày và thßi gian vào cuối
slide (mÿc Update automatically á ißn tự ộng, mÿc Fixed á ißn trực tiếp), mÿc Slide number á
chèn số trang cho slide, mÿc Footer á chèn phần vn bÁn cuối mãi slide. -
Chán lớp Notes and Handouts: chèn ngày tháng, thßi gian, phần ầu trang và cuối trang, số
trang ối với tß giÃy A4 in ra trên máy in cho các d¿ng Notes Pages và Handouts.
Chú ý, á chèn số trang, ngày, thßi gian vào bÃt kỳ âu trên một Slide riêng biát ta thực hián: ¤a
con trỏ vào chã muốn chèn, dùng lánh Insert / Data and Time và Insert / Slide Number. 169
Downloaded by Rot Ca (rotca780@gmail.com) lOMoARcPSD| 37922327
Phan Thị Hà-Khoa CNTT1-Học viện CNBCVT
Tạo các chú giải cho một Slide
Trong chế ộ Normal View khi so¿n một Slide, khung bên phÁi phía d¤ới là m¢i nhÁp chú giÁi
(Notes) cho Slide. Phần chú giÁi này có thá là các giÁi thích thêm cho các iám trong phần slide,
hoặc có thá là phần giÁng chi tiết cāa dißn giÁ cho các chā ß trong phần slide. Phần Slide và phần
Notes cāa nó t¿o nên một Trang in bằng giÃy á xem thêm. Muốn xem thā hình d¿ng các Trang in
dùng lánh View / Notes Pages.
Chèn hình ảnh vào Slide: chèn một hình Ánh tÿ Clip Art Galery dùng lánh Insert / Picture /
Clip Art. Chèn một hình Ánh tÿ táp dùng lánh Insert / Picture / From File ...
Tạo một biểu ồ: Ta có thá t¿o một biáu ß ẹp trong Excel và sau ó dán vào PowerPoint qua
trung gian Clipboard. Tuy nhiên ta cũng có thá t¿o biáu ß ngay trong PowerPoint bằng lánh Insert
/ Chart, xuÃt hián cāa sá Datasheet giống nh¤ một bÁng tính, nhÁp dă liáu vào bÁng tính. Đá trá
vß PowerPoint nháy bên ngoài biáu ß trên Slide cāa PowerPoint. Đßnh cỡ l¿i và chỉnh sāa biáu ß làm giống trong Excel. 170
Downloaded by Rot Ca (rotca780@gmail.com) lOMoAR cPSD| 37922327
Phan Thị Hà-Khoa CNTT1-Học viện CNBCVT 171
Downloaded by Rot Ca (rotca780@gmail.com) lOMoAR cPSD| 37922327
Phan Thị Hà-Khoa CNTT1-Học viện CNBCVT
Xem Slide d¤ới dạng en trắng: dùng lánh View / Black and White. Muốn chuyán l¿i
sang xem màu thì dùng lánh View/Color.
Xóa một Slide: cho các slide hián á chế ộ Outline View, nháy vào biáu t¤ợng cāa slide
á chán nó, nhÃn phím Delete hoặc Backspace.
Tạo một slide hoàn toàn giống với một Slide có sẵn: cho các slide hián á chế ộ Outline
View, nháy vào biáu t¤ợng cāa slide á chán nó, dùng tá hợp phím Ctrl + C và paste slide á
chã thích hợp bằng tá hợp Ctrl + V. Ta có thá sāa chăa trên Slide vÿa nhÁn ¤ợc á ¤ợc một slide mới.
3.3.3 .Thi¿t lÁp cách hiển thị Slide
3.3.3.1 .Xác ịnh cách chuyển tiếp giữa các Slide
Cách chuyán tiếp cāa một slide bao gßm cách nó xuÃt hián trên màn Ánh và nó kết thúc hián
bằng cách nào. Ta có thá quy ßnh cách chuyán tiếp cho tÿng slide một, hoặc ßng thßi cho toàn bộ
các slide cāa một trình dißn. Các b¤ớc thực hián:
- Trong chế ộ Slide View hoặc Slides, chán một Slide.
- Dùng lánh Transitions trên thanh công cÿ.
- Mÿc Effect Options chán kiáu chuyán tiếp tới slide, ví dÿ Wipe From right (slide tr¤ớc ẩn
tÿ phÁi sang trái). Ngầm ßnh là No Transition.
- Mÿc Advance Slide chán kiáu kết thúc slide khi trình dißn. Chán On mouse click (ngầm
ßnh): khi nháy chuột thì kết thúc hián slide. Chán After N seconds: tự ộng kết thúc hián sau N
giây. Có thá chán ßng thßi cÁ hai mÿc này. 172
Downloaded by Rot Ca (rotca780@gmail.com) lOMoAR cPSD| 37922327
Phan Thị Hà-Khoa CNTT1-Học viện CNBCVT - 1. 2.
Nháy nút Apply to All á áp dÿng kiáu chuyán tiếp cho tÃt cÁ các slide. Đá xem thā
cách chuyán tiếp ã thiết ặt nháy nút Slide Show á góc d¤ới bên trái cāa sá PowerPoint.
3.3.3.2 .Làm cho văn bản và ối tượng của slide trở nên sinh ộng
Trong mÿc mày xét cách hián thß cāa tÿng ối t¤ợng trong một slide sao cho sinh ộng,
hÃp d¿n ng¤ßi xem. Các b¤ớc thực hián:
Trong chế ộ Slide View, chán slide có các ối t¤ợng cần thêm hiáu ứng.
Dùng lánh Animation, hián hộp tho¿i Animation:
3. Trong khung Slide, chán ối t¤ợng muốn t¿o hiáu ứng (ví dÿ Title1). 173
Downloaded by Rot Ca (rotca780@gmail.com) lOMoARcPSD| 37922327
Phan Thị Hà-Khoa CNTT1-Học viện CNBCVT
4. Khung Timing có ba mÿc. Chán mÿc On mouse click á quy ßnh: muốn ối t¤ợng xuÃt hián
phÁi nháy chuột (nếu ối t¤ợng vn bÁn có nhißu mÿc, muốn mãi mÿc xuÃt hián phÁi nháy chuột).
Chán With previous: ối t¤ợng cùng xuÃt hián với ối t¤ợng sau. Chán After previous: ối t¤ợng tự
xuÃt hián sau sự kián tr¤ớc N giây. Chỉnh thßi gian duration hay delay N giây.
5. Chán hiáu ứng mong muốn. Entrace: xuÃt hián ối t¤ợng. Emphasis: ối t¤ợng xuÃt hián
và ái màu. Exit: ẩn i ối t¤ợng. Path: di chuyán ối t¤ợng theo hình mong muốn.
6. Lặp l¿i các b¤ớc 3, 4, 5 cho mãi một ối t¤ợng muốn t¿o hiáu ứng. Nháy nút OK á ghi l¿i thiết lÁp. Chú ý: -
Cách nhanh chóng á t¿o một hiáu ứng c¢ bÁn là chán ối t¤ợng trong chế ộ Slide View,
dùng lánh Animation, lựa chán hiáu ứng mong muốn tÿ 15 cách. Ngầm ßnh: các ối t¤ợng xuÃt
hián khi Ãn chuột (On mouse click). -
Đá xem thā hiáu ứng trong chế ộ Slide View, dùng lánh Animation Pane Ãn Play các hiáu
ứng trình dißn trong một slide thu nhỏ á góc trên bên phÁi màn hình, muốn xem l¿i chỉ cần nháy
chuột vào slide nhỏ này. Không cho hián slide nhỏ năa: nháy nút Close cāa nó.
3.3.4.Các công cụ phụ trợ
3.3.4.1.Dùng các Template sẵn có 174
Downloaded by Rot Ca (rotca780@gmail.com) lOMoAR cPSD| 37922327
Phan Thị Hà-Khoa CNTT1-Học viện CNBCVT
Khi dùng lánh Design, xuÃt hián lớp Design Templates cho các m¿u thiết kế Slide (không có
nội dung). Khi cần t¿o một trình dißn mới nên sā dÿng các thiết kế có sẵn này. Khi ã chán một
Template, các slide mới v¿n theo Template này.
Lớp Presentations chứa các trình dißn có sẵn nội dung theo nhißu chā ß bằng tiếng Anh
(Marketing Plan, Company Meeting, Training,...), mãi trình dißn có nhißu Slide (có thá có tới 20
slide sẵn). Nội dung trong slide là các gợi ý cho ng¤ßi dùng làm báo cáo. 175
Downloaded by Rot Ca (rotca780@gmail.com) lOMoAR cPSD| 37922327
Phan Thị Hà-Khoa CNTT1-Học viện CNBCVT
3.3.4.2 .Chuyển ổi giữa các Template
GiÁ sā khi t¿o một trình dißn nhß lánh File / New, hián hộp tho¿i New Presentation, chán
lớp Design Template, chán m¿u Bamboo và so¿n 3 slide theo m¿u này. Bây giß b¿n không
thích m¿u này và muốn chuyán sang m¿u khác (chẳng h¿n Ribbons), hãy chán các slide
muốn ái Template, dùng lánh Design, chán Template mong muốn.
3.3.4.3 .Sử dụng menu tắt khi thực hiện một trình diễn
Khi trình chiếu một slide, nếu ta ¤a chuột lên phía trên, góc
d¤ới bên trái màn hình xuÃt hián một nút chă nhÁt nhỏ với mũi
lên. Nháy nút trái chuột vào nút này (hoặc nháy nút phÁi chuột
nßn màn hình), xuÃt hián menu tắt.
Ý nghĩa các mÿc cāa menu tắt nh¤ sau: Mÿc End Show: kết
thúc xem. Mÿc Next: xem slide tiếp. Mÿc Previous: xem slide
¤ớc. Mÿc Go: chuyán tới slide khác. Mÿc Speaker Notes: cho
hián phần chú giÁi cāa slide hián hành trong một cāa sá nhỏ.
Mÿc Screen: cho en màn hình hay không.
3.3.4.4 .In các slide và các chú giải ra giấy tên vào 176
Downloaded by Rot Ca (rotca780@gmail.com) lOMoAR cPSD| 37922327
Phan Thị Hà-Khoa CNTT1-Học viện CNBCVT
Dùng lánh File / Print, xuÃt hián hộp tho¿i Print, lựa chán ối t¤ợng cần in, tÃt cÁ hay chỉ 1,2
slide. Khá giÃy dác ngang tùy chỉnh. 177
Downloaded by Rot Ca (rotca780@gmail.com) lOMoAR cPSD| 37922327
Phan Thị Hà-Khoa CNTT1-Học viện CNBCVT
3.3.4.5 .Một vài lới khuyên khi chuẩn bị các slide
Khi chuẩn bß slide không nên ặt quá nhißu thông tin lên một slide. Mãi slide ¤ợc
thiết kế á phÁn ánh một ý t¤áng, ¤ợc biáu dißn không quá 7 dòng, mãi dòng không quá 6
tÿ tiếng Anh (khoÁng 10 tÿ tiếng Viát). Không dùng vùng phía d¤ới cāa slide vì nó khó ác.
ĐÁm bÁo rằng phông chă dùng trong slide có thá ác ¤ợc khi á cuối phòng.
Hãy dùng màu cho các cÿm tÿ á nhÃn m¿nh các ý t¤áng chính. Làm cho slide thực
sự hÃp d¿n. Hình Ánh, các ký tự ¤ợc nhÃn m¿nh có thá làm cho slide có vẻ chuyên nghiáp.
Hãy chiếu thā các slide tr¤ớc khi thực hián bài giÁng.
Đÿng bÁt máy chiếu mà không hián slide vì ánh sáng làm cho ng¤ßi dự rÃt khó chßu.
Nên hián dần các thông tin trên một slide tÿng b¤ớc một phù hợp với b¿n ang
thuyết trình tÿng iám nội dung một.
Đÿng nói khi ang chiếu một slide mới. Hãy cho ng¤ßi nghe thßi gian á ác. Slide
sẽ thu hút chú ý cāa ng¤ßi nghe và nhăng lßi b¿n nói sẽ không ¤ợc chú ý.
Hãy luôn nhìn xuống khán giÁ. Muốn nhÃn m¿nh một ißu gì ó, hãy dùng bút laser
trỏ lrrn slide. Hết sức tránh nhìn lßn màn hình và nói trong khi quay l¤ng l¿i phía ng¤ßi
Nên chuẩn bß sẵn các trang in cāa Slide. 7. 8. 178
Downloaded by Rot Ca (rotca780@gmail.com) lOMoAR cPSD| 37922327
Phan Thị Hà-Khoa CNTT1-Học viện CNBCVT 9.
3.4 VIRUS TIN HàC VÀ CÁCH PHÕNG CHäNG
3.4.1. Virus tin hác là gì ?
Virus tin hác hay còn gái là virus máy tính (computer virus) là một o¿n ch¤¢ng trình ẩn, có
kích th¤ớc nhỏ, có khÁ nng tự sao chép, sinh sôi nẩy ná nh¤ một virus sinh hác, lây lan nhanh
và có thá gây nguy c¢ phá ho¿i các phần mßm há cāa há ißu hành, xóa một phần hay toàn bộ các
tÁp tin dă liáu, t¿o ra các tÁp tin vô nghĩa chiếm lÃy không gian bộ nhớ cāa máy, hoặc chỉ ¢n
thuần trêu chác hay e dáa suông ng¤ßi sā dÿng, ...
Tho¿t ầu, virus tin hác là vũ khí cāa nhăng ng¤ßi viết phần mßm muốn bÁo vá sÁn phẩm cāa
há chống viác sao chép bÃt hợp pháp. Sau một số ng¤ßi t¿o ra các virus khác nhằm mÿc ích phá
ho¿i hay ¢n thuần chỉ á tự khẳng ßnh mình và cÃy vào trong các máy khác gây lây nhißm trên
một dián rộng. Nm 1987, virus Lehigh lần ầu tiên ¤ợc phát hián trên máy IBM PC. Cùng lúc ó,
virus Brain tÿ Pakistan xâm nhÁp vào các tr¤ßng пi hác cāa Mā. Một virus khác tÿ пi hác
Hebrew, Israel cũng xuÃt hián. Tÿ ó ến nay, hàng ngàn chāng lo¿i virus ¤ợc thông báo phát hián
gây phá ho¿i, tê liát nhißu há thống máy trên toàn thế giới gây thiát h¿i nhißu triáu dollars.
Virus ¤ợc chia thành 2 nhóm chính:
+ B-virus (Boot-virus) : là các virus chuyên tÃn công lên các Boot sector hay Master boot, ián
hình nh¤ : Brain, Nops, Clock, Stone, Sàigòn 01/91, ...
+ F-virus (File-virus) : là các virus chỉ tÃn công lên các file .COM và .EXE, ián hình nh¤ :
Friday 13th, Yankee Doodle, DataLock, Keypress, VN01, ... Hay một số chuyên phá ho¿i các
file có phần má rộng .DB* cāa các ch¤¢ng trình dBase, FoxBase hay chuyên phá ho¿i các file vn
bÁn có phần má rộng là .DOC nh¤ virus Concept, Macro, ....
Ngoài ra, một số virus vÿa mang cÁ 2 tính phá ho¿i Boot và File nh¤ virus Dark Avenger ....
Ng¤ßi ta còn lo ng¿i một số ng¤ßi ang cố tình t¿o ra các virus còn có thá xâm nhÁp vào các há
thống m¿ng máy tính qua ¤ßng truyßn th¤ ián tā (E-mail) hoặc m¿ng Internet, m¿ng cāa các
ngân hàng lớn gây Áo lộn các số liáu tài khoÁn, hoặc xâm nhÁp vào các há thống máy tính quân
sự t¿o nên nhăng báo ộng giÁ rÃt nguy hiám ...
Hián nay, một số n¤ớc ã ra nhăng ißu luÁt xem nhăng kẻ cố tình t¿o ra các virus tin hác phá
ho¿i, lÃy cắp mÁt mã, ... (gái chung là nhăng kẻ tin tặc - hackers) nh¤ là nhăng tội ph¿m hình sự.
3.4.2. Cách phòng chång virus 179
Downloaded by Rot Ca (rotca780@gmail.com) lOMoAR cPSD| 37922327
Phan Thị Hà-Khoa CNTT1-Học viện CNBCVT -
Không chép các ch¤¢ng trình mà b¿n không rõ ngußn gốc và ặc biát ch¤a qua thā tÿc kiám tra virus. -
Các file dă liáu quan tráng cần phÁi ¤ợc COPY l¤u tră dự phòng và có thá dùng các
ch¤¢ng trình PKZIP.EXE hay ARJ.EXE .... á nén l¿i, tiết kiám ĩa. -
Có thá sā dÿng nhißu phần mßm BACKUP á l¤u. -
Dùng lánh BACKUP và RESTORE cāa DOS nh¤ sau:
3.4.3. Các ch¤¢ng trình kiÅm tra và dißt virus thông dāng :
Tr¤ớc hết ta cần có một số ĩa khác phòng ngÿa sự mÃt mát há thống, ĩa khái ộng, ĩa á l¤u các
ch¤¢ng trình diát virus …
Ví dÿ cần có ĩa á l¤u ch¤¢ng trình NORTON UTILITIES có file RESCUE.EXE, táp
nãy sẽ giúp b¿n t¿o một ĩa cÃp cứu l¤u tră các bÁng FAT, Boot Sector, CONFIG.SYS ...
Hoặc b¿n phÁi phÁi t¿o một ĩa khái ộng máy cho mãi lo¿i há dißu hành, ví dÿ ối với
HĐH MSDOS ĩa khái ộng chứa các tÁp tin:
Dùng một số ĩa chứa ch¤¢ng trình quét và diát virus có phiên bÁn (version) mới nhÃt,
nh¤: SCAN.EXE và CLEAN.EXE cāa Công ty Mc Afee, Mā cāa máy vi tính. COMMAND.COM IO.SYS MSDOS.SYS AUTOEXEC.BAT CONFIG.SYS SYS.COM 180
Downloaded by Rot Ca (rotca780@gmail.com) lOMoARcPSD| 37922327
Phan Thị Hà-Khoa CNTT1-Học viện CNBCVT NDD.EXE + VSAFE.EXE cāa MS-DOS, Mā + MSAV.EXE cāa MS-DOS, Mā
+ NORTON ANTIVIRUS CĀA NORTON, MĀ
+ ATV.EXE cāa Ngô Anh Vũ và Ph¿m Dũ Liêm, ÐH Kinh tế TP. HCM
+ TAV.EXE cāa D¤¢ng Hßng TÃn, Trần Thanh S¢n, Unisoft, TP. HCM +
D2.COM cāa Tr¤¢ng Minh NhÁt Quang, ÐH T¿i chức TP. Cần Th¢
+ BKAV cāa пi hác Bách khoa Hà Nội - v.v..
Khi máy ã bß VIRUS, b¿n nên khái ộng l¿i bằng ĩa khái ộng khác không có VIRUS sau ó ch¿y
các ch¤¢ng trình diát Virus ã có á trên ĩa ã ¤ợc l¤u. TÓM TÂT CH£¡NG III
1. CH£¡NG TRÌNH SO¾N THÀO VN BÀN WORD
Các thao tác soạn thảo c¢ bản
Soạn thảo văn bản bằng tiếng Việt:
Trong Windows 2010 nhißu font cho phép hián thß tiếng Viát có dÃu nh¤ Times New Roman,
Arial, Tahoma, Courier New. Muốn t¿o vn bÁn tiếng Viát ta cần một ch¤¢ng trình bàn phím tiếng
Viát á gõ tiếng Viát, có thá dùng Unikey.
Các thao tác ßnh d¿ng vn bÁn a. Đßnh d¿ng ký tự
- Đßnh d¿ng bằng hộp tho¿i Font
Đối với một o¿n vn bÁn, ta có thá ßnh d¿ng l¿i nó theo font mới, cỡ mới, kiáu mới. Tr¤ớc tiên
hãy chán khối vn bÁn cần ßnh d¿ng l¿i, dùng lánh Format / Font, xuÃt hián hộp tho¿i Font. b. Đßnh d¿ng Paragraph
Chức nng này cho phép thay ái cách hián thß cāa một o¿n vn bÁn. Chán o¿n vn bÁn, dùng
lánh Page Layout / Paragraph, xuÃt hián hộp tho¿i sau gßm hai lớp: Indents and Spacing, Line and Page Breaks…. 181
Downloaded by Rot Ca (rotca780@gmail.com) lOMoARcPSD| 37922327
Phan Thị Hà-Khoa CNTT1-Học viện CNBCVT Đßnh d¿ng trang và in Ãn
a. Chán cỡ giÃy và ặt lß
Tr¤ớc khi bắt tay vào so¿n thÁo một vn bÁn ta phÁi chán cỡ giÃy ßnh in và ặt lß cho trang in
bằng lánh Page Layout / Page Setup, xuÃt hián hộp tho¿i Page Setup b. In vn bÁn
Muốn in vn bÁn dùng lánh File / Print (hoặc nháy chuột vào nút Print trên thanh Standard)
Chèn hình Ánh và công thức toán
- Chèn thêm các ký tự ặc biát
Đá chèn thêm một ký tự ặc biát (ví dÿ Ā ), thực hián theo trình tự nh¤ sau: ¤a con trỏ vn bÁn
ến n¢i cần chèn, dùng lánh Insert / Symbol
- Đánh công thức toán – Equation
Tr¤ớc tiên ta ặt con trỏ nhÁp vào chã ßnh chèn công thức, dùng lánh Insert / Object , hián hộp
tho¿i Object, chán lớp Create New, nháy úp chuột vào mÿc Microsoft Equation
3.0. Khi ó t¿i iám chèn xuÃt hián khung á nhÁp công thức và cāa sá nhỏ Equation
- Chèn táp Ánh vào vn bÁn ang so¿n
Dùng lánh Insert / Picture / From File T¿o các dòng chă nghá thuÁt nhß WordArt
2. BÀNG TÍNH EXCEL 2010
Định dạng dữ liáu số:
Dùng á trình bày l¿i vùng bÁng tính nh¤ chán kiáu thá hián số liáu, chán ¢n vß tính thích
hợp,thay ái kiáu chă,cỡ chă,nhÃn m¿nh nội dung số liáu quan tráng Định dạng dữ liáu chữ:
Dă liáu chă ã nhÁp trong các ô có thá ßnh d¿ng l¿i theo các thành phần: Font (nét chă), Font
Style (nghiêng, Ám,...), Size (kích th¤ớc chă), Color (màu cāa chă). Các b¤ớc thực hián ßnh d¿ng
ký tự: chán vùng dă liáu á ßnh d¿ng, thực hián lánh nháy chuột phÁi Format Cells, xuÃt hián hộp
tho¿i Format Cells, chán lớp Font (các mÿc cũng giống nh¤ trong Word 2010), chán Font, Font
Style, Size, Underline, Color thích hợp cho chă.
Sử dụng công thāc,các hàm:
Excel có một số hàm m¿u (Function Wizard) dùng tiên lợi và ¢n giÁn, ví dÿ công thức
=A3+A4+A5+A6+A7 có thá thay bằng hàm SUM (A3:A7). D¿ng thức táng quát cāa hàm: =hàm>(Danh sách ối số)
Các hàm số hßc
ABS (N), SQRT (N), INT (N), PI (), MOD (N,M), ROUND (biáu_thức_số, n), SUM (danh sách các
trß), AVERAGE (danh sách các trß), MAX (danh sách các trß), MIN (danh sách các trß), COUNTA
(danh sách các trß), COUNT (danh sách các trß), RANK (x, danh sách) 182
Downloaded by Rot Ca (rotca780@gmail.com) lOMoARcPSD| 37922327
Phan Thị Hà-Khoa CNTT1-Học viện CNBCVT
Các hàm ngày tháng
DAY (dă liáu kiáu ngày), MONTH (dă liáu kiáu ngày), YEAR (dă liáu kiáu ngày) Các hàm logic
IF (biáu thức logic, biáu thức 1, biáu thức 2): nếu biáu thức logic là úng thì hàm cho giá trß là
, trái l¿i cho giá trß là . Các biểu thāc 1 và biểu thāc 2 cũng có thá là
nhăng hằng trß, biáu thức (chuãi, số, logic) và cũng có thá là một hàm IF khác.
AND ( ißu kián 1, ißu kián 2, ...),OR( ißu khián 1, ißu kián 2, ...),NOT( ißu kián)
Các hàm xử lý chuỗi
LEFT(TEXT,N), RIGHT(TEXT,N), LEN(TEXT), LOWER(TEXT), UPPER (TEXT), PROPER(TEXT)
Các hàm tìm ki¿m
VLOOKUP (x, BÁng, Cột tham chiếu, Cách dò),HLOOKUP(x, BÁng, Hàng tham chiếu, Cách dò).
3 . PHÄN MÂM TRÌNH DIÆN POWERPOINT 2010
PowerPoint dùng á t¿o một trình dißn (Presentation) gây Ãn t¤ợng cho một bài nói tr¤ớc ông
Áo ng¤ßi nghe trong một hội nghß, một buái bÁo vá luÁn án. Cách dùng há thống menu, dùng
các thanh công cÿ Standard và Formatting, dùng Office Assistant và nhÁn trợ giúp, chèn các ối
t¤ợng ß háa và hình Ánh, chèn Table trong PowerPoint ¤ợc thực hián giống nh¤ trong Word. Ta
có thá dß dàng sao chép vn bÁn trong Word và các biáu ß trong Excel vào trong PowerPoint.
Tạo trình dißn dựa trên Slide trắng
Các b¤ớc á t¿o một trình dißn tÿ ầu:
B¤ớc 1: Dùng lánh File / New, hián hộp tho¿i New Presentation:
B¤ớc 2: Gõ tiêu ß cāa Slide và nội dung cāa nó. Chèn một slide trắng mới: nháy nút Common
Tasks trên thanh Formatting, hián menu dác, chán mÿc New Slide (hoặc dùng lánh Insert / New
Slide, hay Ctrl+M), xuÃt hián l¿i hộp tho¿i New Slide, chán một m¿u slide, bá xung nội dung cho nó.
B¤ớc 3: Xem cách hián thß slide ang thiết kế: nháy nút Slide Show á góc trái bên d¤ới cāa sá
PowerPoint. Trong lúc xem khi nháy nút phÁi chuột vào màn hình, xuÃt hián menu tắt gßm các
mÿc: End Show (kết thúc xem), Next (xem trang tiếp), Previous (lùi vß trang tr¤ớc).
B¤ớc 4: Ghi táp vào ĩa dùng lánh File / Save.
In các slide và các chú giải ra giấy
Dùng lánh File / Print, xuÃt hián hộp tho¿i Print, trong mÿc Print What hãy lựa chán ối t¤ợng cần in. 4. VIRUS TIN HàC 183
Downloaded by Rot Ca (rotca780@gmail.com) lOMoARcPSD| 37922327
Phan Thị Hà-Khoa CNTT1-Học viện CNBCVT
Virus tin hác hay còn gái là virus máy tính (computer virus) là một o¿n ch¤¢ng trình ẩn, có
kích th¤ớc nhỏ, có khÁ nng tự sao chép, sinh sôi nẩy ná nh¤ một virus sinh hác, lây lan nhanh và
có thá gây nguy c¢ phá ho¿i các phần mßm há cāa há ißu hành, xóa một phần hay toàn bộ các tÁp
tin dă liáu, t¿o ra các tÁp tin vô nghĩa chiếm lÃy không gian bộ nhớ cāa máy, hoặc chỉ ¢n thuần
trêu chác hay e dáa suông ng¤ßi sā dÿng.
CÂU HâI VÀ BÀI TÀP CH£¡NG 1
Câu 1: Hãy xác ßnh mã nhß phân nào sau ây là kết quÁ ¤ợc chuyán ái tÿ mã số thÁp phân 29.75(10) : a/ 01101.01(2) 184
Downloaded by Rot Ca (rotca780@gmail.com) lOMoAR cPSD| 37922327
Phan Thị Hà-Khoa CNTT1-Học viện CNBCVT b/ 11011.11(2) c/ 11101.11(2) d/ TÃt cÁ ßu sai
Câu 2: Hãy xác ßnh mã nhß phân nào sau ây là kết quÁ ¤ợc chuyán ái tÿ mã số hexadeximal 3C4(16) : a/
Câu 3: Hãy xác ßnh kết quÁ úng cāa phép tính cộng 2 số nhß phân 0101 + 1100 :
Câu 4: Hãy xác ßnh kết quÁ úng cāa phép tính nhân 2 số nhß phân 0110 * 1011 :
001011000110 b/ 001111000100 c/ 010010100010 d/ TÃt cÁ ßu sai a/ 10011 b/ 10001 c/ 11001 d/ 10101 a/ 1001001 b/ 1100101 c/ 1000110 d/ 1000010
Câu 5: Trong phần cứng máy tính, nhăng thiết bß nào sau ây thuộc nhóm thiết bß ầu vào (Input) : 185
Downloaded by Rot Ca (rotca780@gmail.com) lOMoAR cPSD| 37922327
Phan Thị Hà-Khoa CNTT1-Học viện CNBCVT a/ Keyboard, Mouse, Light Pen
b/ Keyboard, Scanner, Digitizer c/
Mouse, Light Pen, Touch screen d/ TÃt cÁ ßu úng
Câu 6: Trong phần cứng máy tính, nhăng thiết bß nào sau ây thuộc nhóm thiết bß ầu ra (Output) : a/ Printer, RAM Disk, Plotter
b/ Printer, Scanner, Plotter c/ Monitor, Plotter, Printer d/ TÃt cÁ ßu sai
Câu 7: Phần mßm AntiVirus ¤ợc cài ặt trong máy tính thuộc nhóm phần mßm nào sau ây a/ Phần
mßm ứng dÿng b/ Phần mßm há thống
Câu 8: Há ißu hành m¿ng nào sau ây cho phép thực hián kiáu m¿ng ngang hàng :
Câu 9: Há ißu hành m¿ng nào sau ây cho phép thực hián kiáu m¿ng Client/Server :
c/ CÁ hai nhóm phần mßm trên. d/ TÃt cÁ ßu sai. 186
Downloaded by Rot Ca (rotca780@gmail.com) lOMoAR cPSD| 37922327
Phan Thị Hà-Khoa CNTT1-Học viện CNBCVT a/ Windows 2000/NT b/ UNIX. c/ LINUX d/ Novell Netware a/ Windows NT Server b/ UNIX c/ Novell Netware d/ TÃt cÁ ßu úng
Câu 10: Máy tính PC (Personal Computer) mà chúng ta ang sā dÿng hián nay thuộc phân lo¿i máy tính nào sau ây. a/ Microcomputers b/ Minicomputers c/ Mainframe computers d/ Supercomputers
Câu 11: Trong cÃu trúc liên kết (Topology) m¿ng máy tính cÿc bộ (LAN) có nhăng kiáu c¢ bÁn
nào sau ây : a/ Ring Topology và Bus Topology
b/ Ring Topology và Star Topology
c/ Bus Topology, Star Topology và Ring Topology
d/ Bus Topology, Star Topology, Ring Topology và Mesh Topology
Câu 12: Hãy xác ßnh thiết bß liên kết m¿ng HUB ho¿t ộng á tầng nào trong mô hình tham chiếu OSI a/ Tầng vÁt lý
b/ Tầng liên kết dă liáu c/ Tầng m¿ng d/ Tầng vÁn chuyán 187
Downloaded by Rot Ca (rotca780@gmail.com) lOMoAR cPSD| 37922327
Phan Thị Hà-Khoa CNTT1-Học viện CNBCVT
Câu 13: Hãy xác ßnh thiết bß liên kết m¿ng Bridge ho¿t ộng á tầng nào trong mô hình tham chiếu
Câu 14: Hãy xác ßnh thiết bß liên kết m¿ng Router ho¿t ộng á tầng
Câu 15: Giao thức nào sau ây ¤ợc sā dÿng chung trong tÃt cÁ các há ißu hành m¿ng
OSI a/ Tầng vÁt lý b/ Tầng liên kết dă liáu c/ Tầng m¿ng d/ Tầng vÁn chuyán tham chiếu OSI a/ Tầng
vÁt lý b/ Tầng liên kết dă liáu c/ Tầng m¿ng d/ Tầng vÁn chuyán hián nay : a/ UUCP b/ TCP/IP c/ NetBEUI d/ TÃt cÁ ßu sai.
Câu 16: Giao thức nào sau ây ¤ợc sā dÿng dành riêng trong các há ißu hành m¿ng cāa Microsoft : a/ IPX/SPX b/ TCP/IP c/ 188
Downloaded by Rot Ca (rotca780@gmail.com) lOMoAR cPSD| 37922327
Phan Thị Hà-Khoa CNTT1-Học viện CNBCVT NetBEUI d/ TÃt cÁ ßu úng.
Câu 17: Theo giá trß mặc ßnh cāa IP, ßa chỉ cáng 80 ¤ợc gán sā dÿng cho giao thức Internet nào sau ây a/ HTTP b/ FTP c/ SMTP d/ TELNET
Câu 18: Theo giá trß mặc ßnh cāa IP, ßa chỉ cáng 23 ¤ợc gán sā dÿng cho giao thức Internet nào sau ây a/ HTTP
Câu 19: Theo giá trß mặc ßnh cāa IP, ßa chỉ cáng 25 ¤ợc gán sā dÿng cho giao thức
Câu 20: Theo giá trß mặc ßnh cāa IP, ßa chỉ cáng 21 ¤ợc gán sā dÿng cho giao thức b/ FTP c/ SMTP d/ TELNET Internet nào sau ây a/ HTTP b/ FTP c/ SMTP d/ POP 189
Downloaded by Rot Ca (rotca780@gmail.com) lOMoARcPSD| 37922327
Phan Thị Hà-Khoa CNTT1-Học viện CNBCVT Internet nào sau ây a/ HTTP b/ FTP c/ SMTP d/ TELNET
CÂU HàI VÀ BÀI TÀP CH£¡NG 2 Câu hãi
1. Nêu khái niám vß há ißu hành 2. Phân lo¿i há ißu hành
3. Há ißu hành nào là HĐH ¢n nhiám? DOS WINDOWS 2000 WINDOWS XP
4. Há ißu hành nào là HĐH a nhiám? UNIX 5 . Tron g D HĐH M OS
S_DOS dĩa há thống là ĩa chứa ít nhÃt nhăng táp nào? IO.sys MSDOS.sys CÁ 3 táp trên
6 . Đßnh nghĩa nào là ßnh nghĩa tá
là n¢i l¤u tră thông tin bao gßm ch¤¢ng trình, dă liáu, vn bÁn,... Mãi tÁp tin có một tên
riêng phân biát. Tên tÁp tin th¤ßng có 2 phần: phần tên (name) và phần má rộng
(extension). Phần tên là bắt buộc phÁi có cāa một tÁp tin, còn phần má rộng thì có thá có hoặc không.
là n¢i cÃt giă các tÁp tin theo một chā ß nào ó theo ý ng¤ßi sā dÿng. Ðây là bián pháp
giúp ta quÁn lý ¤ợc tÁp tin, dß dàng tìm kiếm chúng khi cần truy xuÃt. Các tÁp tin có
liên quan với nhau có thá ¤ợc xếp trong cùng một táp tin.
là lánh chỉ d¿n lộ trình cho phép ta tÿ th¤ mÿc bÃt kỳ có thá ến trực tiếp th¤ mÿc cần truy xuÃt. 190
Downloaded by Rot Ca (rotca780@gmail.com) lOMoAR cPSD| 37922327
Phan Thị Hà-Khoa CNTT1-Học viện CNBCVT
7. Đßnh nghĩa nào là ßnh nghĩa d¤ßng d¿n:
là n¢i l¤u tră thông tin bao gßm ch¤¢ng trình, dă liáu, vn bÁn,... Mãi tÁp tin có một tên
riêng phân biát. Tên tÁp tin th¤ßng có 2 phần: phần tên (name) và phần má rộng
(extension). Phần tên là bắt buộc phÁi có cāa một tÁp tin, còn phần má rộng thì có thá có hoặc không. 191
Downloaded by Rot Ca (rotca780@gmail.com) lOMoAR cPSD| 37922327
Phan Thị Hà-Khoa CNTT1-Học viện CNBCVT
là n¢i cÃt giă các tÁp tin theo một chā ß nào ó theo ý ng¤ßi sā dÿng. Ðây là bián
pháp giúp ta quÁn lý ¤ợc tÁp tin, dß dàng tìm kiếm chúng khi cần truy xuÃt. Các
tÁp tin có liên quan với nhau có thá ¤ợc xếp trong cùng một táp tin.
là lánh chỉ d¿n lộ trình cho phép ta ( con trỏ) tÿ th¤ mÿc bÃt kỳ có thá ến trực tiếp th¤ mÿc cần truy xuÃt.
8. Muốn t¿o một th¤ mÿc bằng lánh cāa MSDOS thì ta dùng lánh nào trong các lánh sau? Copy con Rd Md DIR ố ¿ ộ á ằ á ā á á ố ¿ ộ á ằ á ā á á ố á ¿o ĩa mớ ằ á ā á á Copy con del Md DIR : Copy con del 192
Downloaded by Rot Ca (rotca780@gmail.com) lOMoAR cPSD| 37922327
Phan Thị Hà-Khoa CNTT1-Học viện CNBCVT Md Rd sau : Format del Md Date
12. Muốn t¿o ĩa khái ộng t¿i á ĩa A: bằng lánh cāa MSDOS thì ta dùng lánh nào trong các lánh sau : Format A: Format A:/s Format A:/a Sys A:/q
13. Muốn xóa một th¤ mÿc bằng lánh cāa MSDOS thì ta dùng lánh nào trong các lánh sau : Copy con del Md Rd
14. Muốn ái tên một táp bằng lánh cāa MSDOS thì ta dùng lánh nào trong các lánh sau rename del Md không lánh nào úng
15. Trong HĐH WINDOWS ch¤¢ng trình ứng dÿmg Control Panel dùng á:
Cài ặt hay thay ái cÃu hình cāa há thống
Xem nội dung cāa th¤ mÿc
Chống phân mÁnh ĩa cứng 193
Downloaded by Rot Ca (rotca780@gmail.com) lOMoARcPSD| 37922327
Phan Thị Hà-Khoa CNTT1-Học viện CNBCVT
16. Windows Explorer là công cÿ trợ giúp , giúp ta biết ¤ợc:
Toàn bộ máy tính có nhăng gì, cho phép xem nội dung cāa máy tính nh¤ một há
thóng thứ bÁc hay cÃu trúc hình cây. cho phép xem nội dung mãi á ĩa, mãi th¤
mÿc,bÃt kỳ một á ĩa nào trong m¿ng
Phép t¿o và hiáu chỉnh các hình Ánh ß háa: một bức vẽ trong Paint, thông tin ß háa
l¤u trong Clipboard, một bức Ánh ghi á d¿ng BMP, GIF, JPEG
Các ối t¤ợng bß xóa bỏ khi ta thao tác trong Windows 2000. Các táp không thực sự
bß lo¿i khỏi ĩa cứng cho ến khi ta làm rãng thùng rác.
17. Khi muốn di chuyán dă liáu tÿ vùng ngußn ến vùng ích, ta phÁi sā dÿng lánh nào trong cặp lánh nào d¤ới ây? Cut, Paste Copy, Paste File, Open
18. Khi muốn copy dă liáu tÿ vùng ngußn ến vùng ích, ta phÁi sā dÿng lánh nào trong cặp lánh nào d¤ới ây? Cut, Paste Copy, Paste
Del, Paste Bài tÁp thực hành
Bài 1. Dùng lánh cāa MSDOS á thực hián các yêu cầui sau: 1. T¿o cây th¤ mÿc sau: 194
Downloaded by Rot Ca (rotca780@gmail.com) lOMoARcPSD| 37922327
Phan Thị Hà-Khoa CNTT1-Học viện CNBCVT
2 . Trong th¤ mÿc tin hác, t¿o 2 tâp tin danhsach1.txt và file dánhach2.txt với nội dung tùy chán
3 . Nối 2 tÁp tin danhsach1.txt và danhsach2.txt thành danhsach.txt
4 . Di chuyán tÃt các táp vÿa t¿o á câu 2,3 vào th¤ mÿc CANBAN
5 . Đái tên táp danhsach.txt trong th¤ mÿc CANBAN thành ds.txt
6 . Xóa màn hình và xem nội dung vn bÁn theo các cách sau :
Đứng t¿i th¤u mÿc gốc ( à ĩa C) Đứng t¿i th¤ mÿc KETOAN
Đứng t¿i th¤u mÿc CANBAN
7 . T¿o thêm th¤u mÿc HA trong á ĩa C.Sao chép tÃt cÁ các tÁp tin trong th¤ mÿc CANBAN vào th¤ mÿc HA
8. Xem l¿i ngày, giß há thống nếu sai thì sāa l¿i
9. Xóa tÁp tin danhsach1.txt, danhsach2.txt trong th¤ mÿc HA
10. Xem nội dung tÁp tin ds.txt trong th¤ mÿc HA bằng cách ứng t¿i th¤ mÿc QLHVIEN 11. Xóa th¤u mÿc KTOANTC
12. Copy tÃt cÁ các táp có phần má rộng là TXT tÿ th¤u mÿc gốc vào trong th¤ mÿc HA .
13. Xóa toàn bộ cây th¤ mÿc QLHVIEN 195
Downloaded by Rot Ca (rotca780@gmail.com) lOMoARcPSD| 37922327
Phan Thị Hà-Khoa CNTT1-Học viện CNBCVT
Bài 2: Thực hành các yêu cÅu sau trên HĐH WINDOW2000
1. Khái ộng máy á vào Windows. Nháy vào nút Start á hián menu Start, hãy duyát qua
tÃt cÁ các menu con cāa menu Start có trên máy.
2. Dùng lánh Start / Help á má cāa sá trợ giúp, duyát qua các h¤ớng d¿n phân theo chā
ß (nháy vào các mÿc có cuốn sách á má các mÿc con, nháy vào các mÿc có dÃu chÃm hỏi á
xem chi tiết), xem các h¤ớng d¿n xét theo thứ tự tÿ vựng. Đóng cāa sá h¤ớng d¿n.
3. T¿o một biáu t¤ợng ¤ßng tắt cho Notepad trên màn hình nßn với tên là Soan Thao
Van Ban, n¢i chứa ch¤¢ng trình Notepad là %SystemRoot%\System32\notepad.exe. T¿o
biáu t¤ợng ¤ßng tắt thứ hai cho Paint trên màn hình nßn với tên là Ve Tranh, n¢i chứa ch¤¢ng
trình Paint là %System%\System32\mspaint.exe.
4. Nháy vào biáu t¤ợng ¤ßng tắt Soan Thao Van Ban trên Desktop á má cāa sá Notepad,
cực ¿i cāa sá, so¿n thÁo một vn bÁn bÃt kỳ và ghi vào ĩa với tên táp là Vidu1.txt. Nháy vào
biáu t¤ợng Ve Tranh trên Desktop á má Paint, cực ¿i cāa sá, vẽ một bức tranh tùy ý và ghi
vào ĩa với tên táp là Vidu2.bmp.
5. Chuyán ái làm viác giăa hai cāa sá bằng các nút trên thanh Taskbar. Cực tiáu cÁ hai
cāa sá vß các nút trên thanh Taskbar.
6. Thiết lÁp màn hình nßn: nháy nút phÁi chuột trên Desktop, hián menu tắt, chán
Properties, hián hộp tho¿i, chán lớp Background, duyát xem các Ánh nßn trong khung Select
a background picture, chán một Ánh, OK.
7. Thiết lÁp màn hình chß (màn hình hián khi không dùng máy tính): nháy nút phÁi
chuột trên Desktop hián menu tắt, chán Properties, hián hộp tho¿i, chán lớp Screen Saver,
duyát xem qua các màn hình chß trong hộp ißu khián kéo xuống Screen Saver, chán một màn
hình chß, trong mÿc Wait ặt là 5 phút, chán OK.
8. Xem các thông tin há thống: Dùng lánh Start / Programs / Accessories / System Tools / System Information.
9. Xem các phông chă ã cài ặt trên máy: dùng lánh Start / Settings / Control Panel / Fonts.
10. Đóng tÃt cÁ các cāa sá ã má. Thoát khỏi Windows 2000 và tắt máy tính.
Bài 3: Thực hành các yêu cÅu sau trên HĐH WINDOW
1. Khái ộng Windows Explorer, trong khung bên trái cāa cāa sá hãy nháy vào các th¤
mÿc có dÃu cộng (+) á xem toàn bộ cây th¤ mÿc cāa á ĩa cứng C.
2. Trong khung bên trái chán á ĩa C, duyát qua 5 cách xem các táp trong khung bên phÁi
bằng lánh View / Details, List, Large Icons, Small Icons, Thumbnails.
3. T¿o cây th¤ mÿc sau tÿ th¤ mÿc gốc C: 196
Downloaded by Rot Ca (rotca780@gmail.com) lOMoARcPSD| 37922327
Phan Thị Hà-Khoa CNTT1-Học viện CNBCVT ự ộ
Sao chép hai táp Thang Mot.txt và Thang hai.txt sang th¤ mÿc Bao cao Quy II. Di chuyán
táp Thang ba.txt sang th¤ mÿc Bao cao Quy III. Kiám tra viác thực hián.
4. Xóa th¤ mÿc thực hành cùng với các th¤ mÿc con. Đóng cāa sá Windows Explorer. Bài 4. 1. Khái ộng Paint vẽ bức tranh bÃt kỳ l¤u vào táp tranh.bmp 2. Vẽ chă ký cāa b¿n và ghi táp vào ĩa với tên là Bai3.bmp. 197
Downloaded by Rot Ca (rotca780@gmail.com) lOMoAR cPSD| 37922327
Phan Thị Hà-Khoa CNTT1-Học viện CNBCVT
TÀI LIÞU THAM KHÀO
[1]. Nguyßn Xuân Quốc H¤áng, Tin học A & B, NXB Trẻ, TP. Hß Chí Minh, 1996. [2]
Tô Vn Nam, Giáo trình nhập môn tin học, NXB. Giáo dÿc, 2004. [3]
Ðinh Vũ Nhân, Tin học căn bản, NXB TP. Hß Chí Minh, 1995. [4]
Quách TuÃn Ngác, Giáo trình Tin học căn bản, NXB Giáo dÿc, Hà Nội, 1995.
[5]. Bùi Thế Tâm, Tin học văn phòng, NXB. Giao Thông VÁn TÁi, 2003. 198
Downloaded by Rot Ca (rotca780@gmail.com) lOMoARcPSD| 37922327
Phan Thị Hà-Khoa CNTT1-Học viện CNBCVT TÀI LIÞU THAM KHÀO 199
Downloaded by Rot Ca (rotca780@gmail.com) lOMoARcPSD| 37922327
Phan Thị Hà-Khoa CNTT1-Học viện CNBCVT 1.
Nguyßn Tiến Huy, Giáo trình Tin học căn bản , TT Tin hác Ðaß hác Táng hợp TP.
Hß Chí Minh, NXB Ðßng Nai, 1995. 2.
Nguyßn Xuân Quốc H¤áng, Tin học A & B, NXB Trẻ, TP. Hß Chí Minh, 1996. 3.
Tô Vn Nam, Giáo trình nhập môn tin học, NXB. Giáo dÿc, 2004. 4.
Ðinh Vũ Nhân, Tin học căn bản, NXB TP. Hß Chí Minh, 1995. 5.
Quách TuÃn Ngác, Giáo trình Tin học căn bản, NXB Giáo dÿc, Hà Nội, 1995. 6.
D¤¢ng Trần Đức - Chu Quang Ngác, Mạng cục bộ, Tài liáu dùng cho các khóa hác
bßi d¤ỡng, Trung tâm ào t¿o BCVT 1, 2001 200
Downloaded by Rot Ca (rotca780@gmail.com) lOMoARcPSD| 37922327
Phan Thị Hà-Khoa CNTT1-Học viện CNBCVT
CÂU HâI VÀ BÀI TÀP CH£¡NG 3 PhÅn Word I. Câu hãi
1. Khi ang so¿n thÁo trên phần mßm Word, nếu muốn ghi dă liáu vào 1 táp thì ta chán
File trên thanh Menu sau ó chán: New Save Open
Khi ang so¿n thÁo trên phần mßm Word, nếu muốn má 1 táp thì ta chán File trên
Khi ang so¿n thÁo trên phần mßm Word, muốn sao chép một khối ta phÁi chán khối
muốn sao chép sau ó chán: Edit rßi tiếp tÿc chán :
Edit thanh menu sau ó chán: New Save Open Edit lOMoAR cPSD| 37922327
Phan Thị Hà-Khoa CNTT1-Học viện CNBCVT Copy Cut Insert Select all
7. Khi ang so¿n thÁo trên phần mßm Word, muốn di chuyán một khối ta phÁi chán
khối muốn sao chép sau ó chán: Edit rßi tiếp tÿc chán : Copy Cut Insert Save
8. Sau khi ã thực hián câu 7 hoặc câu 8 muốn dán vn bÁn vào vß trí con trỏ ang ứng ta chán Edit rßi chán: Paste Cut Insert Select all
9. Khi ang so¿n thÁo, muốn ßnh d¿ng nhanh bằng thanh công cÿ ta dùng thanh công cÿ: Formatting Standard Autotext Clipboad 202
Downloaded by Rot Ca (rotca780@gmail.com) lOMoAR cPSD| 37922327
Phan Thị Hà-Khoa CNTT1-Học viện CNBCVT
12 . Muốn thay ái màu nßn hoặc t¿o khung cho một o¿n vn bÁn ã ¤ợc chán ta chán Borders and Shading
13 . Tr¤ớc khi in ta phÁi chán cỡ giÃy ßnh in bằng cách chán chán rßi
10. Khi muốn ßnh d¿ng kí tự cho một o¿n vn bÁn ã ¤ợc chán ta chán Format sau ó chán : Font Paragraph Tab Drop Tab Format sau dó chán: Font Clipboad tiếp tÿc chán: Paper size Margins 203
Downloaded by Rot Ca (rotca780@gmail.com) lOMoAR cPSD| 37922327
Phan Thị Hà-Khoa CNTT1-Học viện CNBCVT Page break Normal view
14. Tr¤ớc khi in nếu ta muốn ặt lß cho trang in tr¤ớc hết ta làm bằng cách chán file, chán
Page Setup, rßi tiếp tÿc chán: Layout Margins Page break Normal view
15. Muốn chèn vào công thứuc toán hác thì ta chán Insert, chán Object, chán Creat new rßi tiếp tÿc chán: Microsoft Equation… Media Clip Bitmap Image Symbole
16. Muốn in tÃt cÁ các trang trong vn bÁn tr¤ớc hết ta làm bằng cách chán File, chán Há và tên Đ¢n vß L¤¢ng Phÿ cÃp Táng số STT Lê Mā Linh Du Lßch 1 2910000 350000 Nguyßn Anh S¢n 2 CNTT 2850000 240000 204
Downloaded by Rot Ca (rotca780@gmail.com) lOMoARcPSD| 37922327
Phan Thị Hà-Khoa CNTT1-Học viện CNBCVT Print Lê Thß Diáp Kinh Tế 3 4800000 220000 trong vùng Bùi Thế Phùng 4 CNTT 4870000 260000 Page range Trần Bình Minh Du Lßch chán 5 3000000 270000 All Đinh Vn Quang 6 CNTT 2950000 250000 Lý Ph¤¢ng Nam Kinh Tế 7 3820000 350000 L¤u Huyßn Đức Kinh Tế 8 2200000 300000 Nông Đức Bình Du Lßch 9 3700000 400000 Curent page Pages Selection II. Bài thực hành Bài thực hành 1
1 .Vào Word, má táp ThucHanh1.doc, so¿n thÁo BÁng l¤¢ng sau:
BÀNG L£¡NG TR£âNG ĐHDL CĀU LONG Táng cộng
2. Tính cột Táng số phía bên phÁi BÁng, tính hàng Táng cộng phía d¤ới BÁng cho các
cột số. Đánh dÃu khối toàn bộ bÁng và sao chép thêm 3 bÁng năa, gái là BÁng 2, BÁng 3
và BÁng 4. Sắp xếp BÁng 2 theo cột Táng số giÁm dần. Sắp xếp bÁng 3 theo cột Há và tên
tng dần. Sắp xếp BÁng 4 theo cột Đ¢n vß tng dần. 205
Downloaded by Rot Ca (rotca780@gmail.com) lOMoAR cPSD| 37922327
Phan Thị Hà-Khoa CNTT1-Học viện CNBCVT Bài thực hành 2 Bài thực hành 3
Vào Word, t¿omột táp mới có tên là ThucHanh3.doc và so¿n thÁo, vẽ s¢ ß sau:
Vẽ s¢ ß sau cāa một quá trình ißu khián: ÿ ể Đ ề ể Đ ề ể ả ồ ự ế Đố ượ Đ ề ể ễ Bài thực hành 4.
Vào Word và má táp mới có tên là ThucHanh4.doc. Gõ o¿n vn bÁn sau: * 1 ù ú ú ú ú ú ú ú ú
Vào Word, má một táp mới có tên là ThucHanh2.doc và so¿n thÁo o¿n vn bÁn bÃt kỳ
cùng với Ánh lÃy tÿ Clip Art: Ra ||x(k) 206
Downloaded by Rot Ca (rotca780@gmail.com) lOMoAR cPSD| 37922327
Phan Thị Hà-Khoa CNTT1-Học viện CNBCVT
ùa ûan1 an2 ... annû PhÅn Excel I. Câu hãi
18. Khi ang trên bÁng tính Excel, nếu muốn ghi dă liáu vào 1 táp thì ta chán File trên thanh Menu sau ó chán: New Save Open Edit
19. Khi ang làm viác trên bÁng tính Excel, nếu muốn má 1 táp khác thì ta chán File trên thanh menu sau ó chán: New Save Open Edit 207
Downloaded by Rot Ca (rotca780@gmail.com) lOMoAR cPSD| 37922327
Phan Thị Hà-Khoa CNTT1-Học viện CNBCVT
20. Một ô trong excel chỉ chứa một kiáu dă liáu . Hãy liát kê các kiáu dă liáu c¢ bÁn
21 . Muốn xóa dă liáu trong một vùng nào ó thì tr¤ớc hết ta phÁi lựa chán vùng cần xóa,
22 . Muốn sao chép liáu tÿ vùng ngußn sang một vùng ích thì tr¤ớc hết ta phÁi lựa chán
vùng ngußn, sau ó chán Edit, rßi tiếp tÿc chán trong excel: ………… ………….. …………. ………….. sau ó gõ phím Insert Enter Del End Copy Cut Cancel 208
Downloaded by Rot Ca (rotca780@gmail.com) lOMoAR cPSD| 37922327
Phan Thị Hà-Khoa CNTT1-Học viện CNBCVT Select
23. Sau khi ã làm câu 22, muốn dán dă liáu vào vùng ích, ta phÁi di chuyán con trỏ vào
ến vß trí cāa ô góc trên bên trái cāa vùng ích rßi chán Edit, chán: Copy 209
Downloaded by Rot Ca (rotca780@gmail.com) lOMoAR cPSD| 37922327
Phan Thị Hà-Khoa CNTT1-Học viện CNBCVT Cut Select Paste
24. Muốn chèn dãy số tự ộng vào một hàng hay một cột thì tr¤ớc hết gõ giá trß bắt ầu vào
ô ầu tiên, chán vùng cần ißn số, thực hián lánh Edit chán, chán fill, chán: Series Left Up Open
25. Khi muốn ißn dă liáu kiáu công thức hoặc một hàm vào một ô thì ta phÁi gõ dÃu gì tr¤ớc công thức, hàm: ? =
26 . Hàm nào trong các hàm d¤ới ây là hàm giá trß tuyát ối cāa biáu thức số N - *
27 . Hàm nào trong các hàm d¤ới ây là hàm cn bÁc hai cāa số N ABS(N) INT (N) PI() MIN(N,M) 210
Downloaded by Rot Ca (rotca780@gmail.com) lOMoAR cPSD| 37922327
Phan Thị Hà-Khoa CNTT1-Học viện CNBCVT SQRT(N) INT (N) ABS(N) MIN(N,M)
28. Hàm nào trong các hàm d¤ới ây là hàm tính táng cāa các giá trß có trong danh sách MIN(Danh sách các trß) SUM(Danh sách các trß) ABS(N) MAX(Danh sách các trß)
29. Hàm nào trong các hàm d¤ới ây là hàm tìm giá trß nhỏ nhÃt cāa các giá trß có trong danh sách MIN(Danh sách các trß) SUM(Danh sách các trß) ABS(N) MAX(Danh sách các trß)
30. Hàm nào trong các hàm d¤ới ây là hàm tìm giá trß lớn nhÃt cāa các giá trß có trong danh sách 211
Downloaded by Rot Ca (rotca780@gmail.com) lOMoAR cPSD| 37922327
Phan Thị Hà-Khoa CNTT1-Học viện CNBCVT MIN(Danh sách các trß) SUM(Danh sách các trß)
AVERAGE(Danh sách các trß) MAX(Danh sách các trß)
31 . Hàm nào trong các hàm d¤ới ây là hàm cho phần d¤ cāa phép chia nguyên N cho M SUM(Danh sách các trß)
32 . Hàm nào trong các hàm d¤ới ây là hàm cho giá trß tháng cāa dă liáu kiáu ngày
DAY(dă liáu kiáu ngày)
YEAR(dă liáu kiáu ngày)
MONTH (dă liáu kiáu ngày) ABS(N) PI()
33. Hàm nào trong các hàm d¤ới ây là hàm cho giá trß nm cāa dă liáu kiáu ngày
DAY(dă liáu kiáu ngày)
YEAR(dă liáu kiáu ngày)
MONTH (dă liáu kiáu ngày) AND()
34. Hàm nào trong các hàm sau ây là hàm cho ộ dài cāa chuãi TEXT 212
Downloaded by Rot Ca (rotca780@gmail.com) lOMoARcPSD| 37922327
Phan Thị Hà-Khoa CNTT1-Học viện CNBCVT LOWER(TEXT UPPER(TEXT) PROPER(TEXT) LEN(TEXT
II. Bài tÁp thực hành
Bài thực hành 6 (Excel):
Hãy nhÁp dă liáu cho một hóa ¢n bán hàng nh¤ sau: HÓA Đ¡N Så l¤ÿng Đ¢n giá Thành tiÃn Tin hác Chính trß Téng cßng
Cột thành tißn ¤ợc tính bằng công thức: Thành tißn= Đ¢n giá * Số l¤ợng
Tính táng cộng số l¤ợng sách trong hóa ¢n
Tính táng cộng Số tißn có trong hóa ¢n
Sắp xếp dă liáu theo chißu tng dần cāa Bài thực hành 7:
- Dùng Excel á t¿o ra một táp bangdiem.xls với nội dung nh¤ sau BÀNG ĐIàM NM HàC 2004 STT Hà TÊN TIÀNG TRIÀT
TIN HàC ĐIÄM TB XÀP ANH HàC LO¾I 213
Downloaded by Rot Ca (rotca780@gmail.com) lOMoAR cPSD| 37922327
Phan Thị Hà-Khoa CNTT1-Học viện CNBCVT Há số môn hác 3 4 4 1 214
Downloaded by Rot Ca (rotca780@gmail.com) lOMoAR cPSD| 37922327
Phan Thị Hà-Khoa CNTT1-Học viện CNBCVT 2 3 ...
- NhÁp số liáu cho bÁng tính trên, với iám trung bình ¤ợc tính theo há số môn hác ( á phía d¤ới tên
môn) và ièn vào cột xếp lo¿i theo quy ßnh:
Điám trung bình>=8.0 ¿t lo¿i giỏi
6.5=< Điám trung bình<8.0, Đ¿t lo¿i Khá
5.0=< Điám trung bình<6.5, Đ¿t lo¿i Trung bình Điám trung
bình<5.0, Đ¿t lo¿i Kém lOMoARcPSD| 37922327 Phan Thị Hà-Khoa CNTT1- Bài thực hành 8: - Hãy
NhÁp dă liáu cho bÁng tính thu nhÁp cāa một cāa hàng kinh doanh vß tin hác tÿ nm2000 t¿o biáu 2003 nh¤ sau : ß vß thu nhÁp cāa phần Nm PhÅn cąng PhÅn mÃm cứng theo tÿng nm - Hãy t¿o biáu ß vß thu
nhÁp cāa phần mßm theo tÿng nm PhÅn POWERPOINT I. Câu hãi 35.
In ra các slide gßm cÁ phần dòng ghi chú ra giÃy bằng cách nào?
Trong hộp tho¿i Print, chán Handouts và chán số slide trong một trang (Slides per page) là 3.
Trong hộp tho¿i Print, chán Handouts và số slide trong một trang, sau ó chán Edited with the trial version of Foxit Advanced PDF Editor
Học viện CNBCVTwo remove this notice, visitww.foxitsoftware.com/shoppinT : g Include comment pages.
Trong hộp tho¿i Print, chán Notes Pages thay vì chán Handouts. 36.
Bằng cách nào á hián thß ối t¤ợng cāa slide sao cho sinh ộng, hÃp d¿n ng¤ßi xem? II. Bài thực hành
Bài thực hành 9 (Power Point). 216
Downloaded by Rot Ca (rotca780@gmail.com) lOMoARcPSD| 37922327 Phan Thị Hà-Khoa CNTT1-
LÁp các Silde giới thiáu vß bÁn thân. Slide 1: tiêu ß sinh, quê quán, dân tộc, ßa chỉ n¢i á, số ián tho¿i. Slide 2: tiêu ß thông c¢ sá, phá thông trung hác, ¿i hác, cao hác. Slide 3: tiêu ß n¢i ã công tác. Slide 4: tiêu ß
Edited with the trial version of Foxit Advanced PDF Editor
Học viện CNBCVTwo remove this notice, visitww.foxitsoftware.com/shoppinT : g TÀI LIÞU THAM KHÀO [1].
Nguyßn Xuân Quốc H¤áng, Tin học A & B, NXB Trẻ, TP. Hß Chí Minh, 1996. [2]
Tô Vn Nam, Giáo trình nhập môn tin học, NXB. Giáo dÿc, 2004. 217
Downloaded by Rot Ca (rotca780@gmail.com) lOMoARcPSD| 37922327 Phan Thị Hà-Khoa CNTT1- [3]
Ðinh Vũ Nhân, Tin học căn bản, NXB TP. Hß Chí Minh, 1995. [4]
Quách TuÃn Ngác, Giáo trình Tin học căn bản, NXB Giáo dÿc, Hà Nội, 1995. [5].
Bùi Thế Tâm, Tin học văn phòng, NXB. Giao Thông VÁn TÁi, 2003. 218
Downloaded by Rot Ca (rotca780@gmail.com)