



















Preview text:
  lOMoAR cPSD| 59540283                        
Học phần: XỬ LÝ NƯỚC THẢI ĐÔ THỊ 
BÁO CÁO CHUYÊN ĐỀ  BỂ LỌC SINH HỌC 
GVHD: ThS. Phạm Trung Kiên 
Nhóm thực hiện: Nhóm 7 
Nguyễn Lê Hoàng Khang  20127024  Phan Thị Thùy Linh  20127117  Tô Thị Mỹ Tiên  20127148 
TP. Hồ Chí Minh, tháng 3 năm 2023      lOMoAR cPSD| 59540283 MỤC LỤC 
MỤC LỤC........................................................................................................................ 
LỜI MỞ ĐẦU................................................................................................................... 
1. Tổng quan công nghệ................................................................................................ 
1.1. Lịch sử hình thành.............................................................................................. 
1.2. Khái niệm............................................................................................................ 1.3. 
Mục đích sử dụng................................................................................................ 1.4. 
Phân loại.............................................................................................................. 2. Vị trí 
– chức năng – cơ chế........................................................................................ 
2.1. Vị trí bể lọc sinh học........................................................................................... 
2.2. Chức năng của bể lọc sinh học........................................................................... 
2.3. Cơ chế xử lý nước thải theo nguyên lý lọc và bám dính..................................  3. 
Các dạng bể lọc sinh học đang áp dụng phổ biến hiện 
nay.................................... 3.1. 
Bể lọc sinh học nhỏ giọt (Trickling 
Filter)........................................................    3.1.1. 
Cấu tạo.......................................................................................................... 
3.1.2. Phân loại bể lọc sinh học nhỏ giọt................................................................. 
3.1.3. Nguyên tắc hoạt động.................................................................................... 
3.1.4. Đặc điểm......................................................................................................... 3.2. 
Bể lọc sinh học cao tải.......................................................................................... 
3.2.1. Cấu tạo........................................................................................................... 
3.2.2. Nguyên tắc hoạt động.................................................................................... 
3.2.3. Đặc điểm......................................................................................................... 
3.2.4. So sánh bể lọc sinh học nhỏ giọt & bể lọc sinh học nhỏ giọt....................... 
3.3. BLSH có VLL tiếp xúc đặt ngập trong nước (BIOTEN).................................. 
3.3.1. Cấu tạo........................................................................................................... 
3.3.2. Nguyên tắc hoạt động.................................................................................... 
3.3.3. Đặc điểm......................................................................................................... 
3.4. BLSH có VLL không ngập trong nước.............................................................. 
3.5. So sánh ưu và nhược điểm của bể lọc sinh học có vật liệu ngập trong nước 
và bể lọc sinh học có vật liệu ngập trong nước......................................................... 
4. Tính toán, thiết kế...................................................................................................      lOMoAR cPSD| 59540283
4.1. Bể lọc sinh học nhỏ giọt.................................................................................... 
4.2. Bể lọc sinh học cao tải....................................................................................... 
TÀI LIỆU THAM KHẢO.............................................................................................        lOMoAR cPSD| 59540283 LỜI MỞ ĐẦU 
Phương pháp lọc nước nói chung là loài người đã biết từ lâu, song đưa nó thành một 
biện pháp công nghiệp xử lý nước nói chung và nước thải nói riêng mãi tới thế kỉ XIX  mới được xác lập. 
Bể lọc sinh học là một công trình xử lý sinh học nước thải trong điều kiện nhân tạo nhờ  các vi sinh hiếu khí.        lOMoAR cPSD| 59540283
1. Tổng quan công nghệ 1.1. 
Lịch sử hình thành 
Lọc sinh học lần đầu tiên được áp dụng ở Mỹ năm 1891 và ở Anh 1893.  1.2. Khái niệm 
Khái niệm bể lọc sinh học được phát triển từ khi dùng các bể lọc tiếp xúc được chứa 
đầy các hòn đá bị đập vỡ và cho nước đi qua. Nước chảy qua lọc, tiếp xúc với mọi vật 
liệu lọc trong khoảng thời gian ngắn. 
Về nguyên lý của phương pháp lọc sinh học là dựa trên quá trình hoạt động của vi 
sinh vật ở màng sinh học, oxi hóa các chất bẩn hữu cơ có trong nước. Các màng sinh 
học, là tập hợp các vi sinh vật hiếu khí, kị khí hay tùy nghi. Các vi khuẩn hiếu khí 
được tập trung ở phần lớp ngoài của màng sinh học. ở đây chúng phát triển và gắn với 
giá mang các vật liệu lọc. 
Bể lọc sinh học là công trình nhân tạo, trong đó chất thải được lọc qua lớp vật liệu lọc 
rắn có bao bọc lớp màng vi sinh vật.   
1.3. Mục đích sử dụng 
 Tách các chất hữu cơ có trong nước thải nhờ hoạt động của màng vi sinh vật bám 
trên lớp vật liệu lọc bằng cách oxi hoá chúng. 
 Đồng thời giữ lại các chất lơ lửng trong nước thải. 
 Khử các nguyên tố dinh dưỡng như Nitơ và Photpho có trong nước thải.  1.4. Phân loại 
BLSH hiện nay được phân thành 2 loại chính:      lOMoAR cPSD| 59540283
 BLSH với vật liệu tiếp xúc không ngập trong nước: lọc nhỏ giọt, lọc cao tải. 
 BLSH có vật liệu tiếp xúc đặt ngập trong nước: bioten. 
2. Vị trí – chức năng – cơ chế 
2.1. Vị trí bể lọc sinh học 
Bể lọc sinh học đứng sau bể lắng đợt 1 và trước bể lắng đợt 2.   
Hình: Vị trí bể lọc sinh học 
2.2. Chức năng của bể lọc sinh học 
 Có chức năng oxi hóa các chất hữu cơ gây nhiễm bẩn nước. 
 Lớp vật liệu lọc có khả năng giữ lại cặn lơ lửng và tạo điều kiện cho các vi sinh 
vật hoạt động làm sạch nước. 
 Dùng các chất hữu cơ chuyển thành sinh khối cho vi sinh vật để dễ lắng trong bể  lắng 2. 
2.3. Cơ chế xử lý nước thải theo nguyên lý lọc và bám dính 
 Khi nước thải tưới qua lớp vật liệu lọc bằng các phân tử rắn xốp, các vi khuẩn sẽ 
được hấp phụ, sinh sống và phát triển trên bề mặt đó (vi sinh vật sinh trưởng dính 
bám). Vi khuẩn dính bám vào mặt rắn nhờ chất gelatin do chúng tiết ra và chúng 
có thể dễ dàng di chuyển trong lớp chất nhầy này. Đầu tiên vi khuẩn tập trung ở 
một khu vực, sau đó chúng phát triển lan dần phủ kín bề mặt hạt vật liệu lọc. Các 
chất dinh dưỡng như muối khoáng, hợp chất hữu cơ và oxy có trong nước thải 
khuyếch tán qua màng sinh vật (biofin) và có thể vào tận lớp xenluno đã tích lũy  phía trong cùng. 
 Sau một thời gian, màng sinh vật được hình thành và chia thành 2 lớp: lớp ngoài 
cùng là lớp hiếu khí được oxi khuyếch tán xâm nhập, lớp trong cùng là lớp thiếu 
oxy (anoxic). Bề dày của màng vi sinh vật từ 600µm đến 1000µm, trong đó phần 
lớn là vùng hiếu khí. Thành phần sinh vật chủ yếu của màng sinh vật là vi khuẩn, 
ngoài ra còn có các loại động vật nguyên sinh, nấm, xạ khuẩn,… Sau một thời 
gian hoạt động, màng sinh vật dày lên, các chất khí tích tụ phía trong tăng lên và 
màng bị rách tách khỏi vật liệu lọc. Hàm lượng cặn lơ lửng tăng lên. 
Sự hình thành các màng sinh vật mới lại tiếp diễn.      lOMoAR cPSD| 59540283  
Hình: Diễn biến của quá trình xử lý bằng vi sinh bám dính 
3. Các dạng bể lọc sinh học đang áp dụng phổ biến hiện nay 
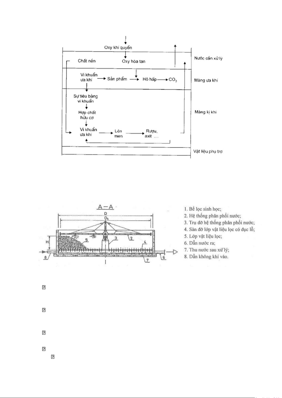
3.1. Bể lọc sinh học nhỏ giọt (Trickling Filter)  3.1.1. Cấu tạo   
Hình: Sơ đồ cấu tạo bể lọc sinh học 
 Bể lọc sinh học nhỏ giọt là bể phản ứng sinh học trong đó các vi sinh vật sinh 
trưởng cố định trên lớp vật liệu lọc. Bể lọc sinh học nhỏ giọt được xây dựng dưới 
dạng hình chữ nhật hoặc hình tròn có tường đặc và đáy kép. 
 Đáy trên là tấm đan đỡ lớp vật liệu lọc, đáy dưới liền khối không thấm nước. 
Chiều cao giữa hai lớp đáy lấy khoảng 0,4 – 0,6m, độ dốc i ≥0,01. Tường bể làm 
cao hơn lớp vật liệu lọc 0,5m. 
 Kích thước vật liệu lọc không lớn hơn 25 – 30mm và tải trọng tưới nước nhỏ 0,5  – 1m3/m3.VLL 
 Chiều cao thành bể gồm 3 phần: 
 Chiều cao lớp vật liệu lọc từ 1,5 – 2m      lOMoAR cPSD| 59540283
 Chiều cao thành trên lớp vật liệu lọc ≈ 0,5m 
 Chiều cao khoảng trống ở đáy 0,4 – 0,6m 
 Bể lọc bao gồm một lớp vật liệu dễ thấm nước với vi sinh vật dính kết trên đó. 
Nước thải đi qua lớp vật liệu này sẽ thấm hoặc nhỏ giọt trên đó. Vật liệu lọc 
thường là đá dăm hoặc các khối vật liệu dẻo có hình thù khác nhau. 
 Nếu vật liệu lọc là đá hoặc sỏi thì kích thước hạt dao động trong kkhoảng 25 
– 100mm, chiểu cao lớp vật liệu dao động trong khoảng 0,9 – 2,5m, trung  bình là 1,8m. 
 Bể lọc với vật liệu là đá dăm thường có dạng tròn. Nước thải được phân phối 
lên lớp vật liệu nhờ bộ phận phân phối. 
 Bể lọc với vật liệu lọc là chất dẻo có thể dạng tròn, vuông, hoặc nhiều dạng 
khác với chiều cao biến đổi từ 4 – 12m. Ba loại vật liệu bằng chất dẻo thường 
dùng là vật liệu với dòng chảy thẳng đứng, vật liệu với dòng chảy ngang, vật  liệu đa dạng.   
Hình: Các loại vật liệu lọc 
Chất hữu cơ sẽ bị phân hủy bởi quần thể vi sinh vật dính kết trên lớp vật liệu lọc. Các 
chất hữu cơ có trong nước thải sẽ bị hấp phụ vào màng sinh học dày 0,1 – 0,2 mm và 
bị phân hủy bởi vi sinh vật hiếu khí. Khi vi sinh vật sinh trưởng và phát triển, bề dày 
lớp màng tăng lên, do đó oxy đã bị tiêu thụ trước khi khuếch tán hết chiều dày lớp màng 
sinh học. Như vậy, môi trường kỵ khí được hình thành ngay sát bề mặt vật liệu lọc. 
Khi chiều dày lớp màng tăng lên, quá trình đồng hóa chất hữu cơ xảy ra trước khi chúng 
tiếp xúc với vi sinh vật gần bề mặt vật liệu lọc. Kết quả là vi sinh vật ở đây bị phân hủy 
nội bào, không còn khả năng dính bám lên bề mặt vật liệu lọc và bị rửa trôi. 
Bể lọc sinh học nhỏ giọt thường được sử dụng trong trường hợp lưu lượng nước thải 
không lớn, từ 20 đến 1000 m3/ngày.      lOMoAR cPSD| 59540283  
Hệ thống phân phối nước 
• Loại cố định, phân phối nước bằng gầu tự lật    
Gầu tự lật tiếp nhận nước thải đến khi đầy và đổ vào hệ thống máng răng cưa hoặc ống 
khoan lỗ để tưới đều trên toàn bộ bề mặt bể. Số đơn nguyên tối thiểu là 2. Hệ thống 
phân phối nước bằng gầu tự lật và tưới răng cưa thường được dùng cho bể lọc sinh học 
nhỏ giọt khi xử lý nước thải với quy mô nhỏ.  • Loại di động  
 Phân phối nước bằng thùng định lượng và hệ thống vòi phun: 
Thùng định lượng đưa nước đến vòi phun dưới áp lực cố định. Đường kính lỗ vòi từ 15 
– 25mm. Thời gian xả thùng phụ thuộc vào thể tích thùng. Thời gian làm đầy thùng phụ      lOMoAR cPSD| 59540283
thuộc vào lượng nước chảy tới. Thùng hoạt động theo chế độ tự động và liên hệ mật 
thiết với các vòi phun nhờ thiết bị xiphon. Diện tích tưới của mõi vòi phun thay đổi phụ 
thuộc vào áp lực trên miệng vòi phun. Áp lực này phụ thuộc vào mực nước trong thùng 
định lượng. Vận tốc dòng chảy trong ống dẫn nước từ thùng định lượng đến ống phân 
phối thường được chọn là 1,0m/s. Vận tốc dòng chảy trong ống phân phối là 0,75m/s. 
Như vậy, diện tích tưới vật liệu lọc do mõi vòi phục vụ sẽ thay đổi theo thời gian, tạo 
điện kiện cho màng sinh vật hoạt động theo chu kì hấp phụ chất hữu cơ và lấy oxy để  oxi hóa chất hữu cơ. 
 Phân phối nước thải bằng hệ thống quay phản lực: 
Ống tưới gồm 2 hoặc 4 nhánh, khoan lỗ từ d10mm đến d15mm quay quanh trục trung 
tâm để phân phối nước trên toàn bộ bề mặt bể lọc sinh học. 
Bể lọc sinh học phải hình tròn, đường kính từ 15 – 30m, áp lực tự do tại miệng lỗ là từ  0,2 – 1m. 
Hệ thống tưới phản lực được dùng cho các bể lọc sinh học cao tải của trạm xử lý nước 
thải có công suất trên 1500m3/ngày.   
Tấm đan đỡ lớp vật liệu lọc        lOMoAR cPSD| 59540283
3.1.2. Phân loại bể lọc sinh học nhỏ giọt 
Bể lọc vận tốc chậm 
 Hình dạng: hình trụ, hoặc hình chữ nhật với nguyên liệu lọc chủ yếu là đá sỏi, và  xỉ. 
 Hệ thống nước thải được nạp theo chu kỳ 
 Có khoảng tầm 0.6 cho đến 1.2m nguyên liệu lọc ở phía trên là chứa bùn vi sinh  vật 
 Vi khuẩn nitrat hóa ở lớp dưới   Hiệu suất khử BOD cao 
 Cho ra nước thải chứa lượng nitrat cao. 
Bể lọc vận tốc trung bình và nhanh 
 Hình dạng: hình trụ tròn với nguyên liệu lọc chủ yếu là plastic, đá sỏi 
 Chức năng: giúp lưu lượng nạp chất hữu cơ cao hơn 
 Nước thải được bơm hoàn lưu trở lại và nạp liên tục 
 Giúp giảm được mùi hôi xuất hiện trong không khí  Bể lọc cao tốc 
 Lưu lượng nạp nước thải, chất thải hữu cơ tương đối cao 
 Nguyên liệu lọc ở đây chủ yếu là plastic nên nhẹ hơn nhiều so với đá và sỏi  Bể lọc thô 
 Lưu lượng nạp chất hữu cơ lớn hơn 1.6kg/m3 
 Lưu lượng nước thải là 187m3/m2 
 Chức năng: dùng để xử lý nước thải trước giai đoạn xử lý thứ cấp  Bể lọc 2 pha 
 Chức năng: Dùng để xử lý những nguồn nước thải, chất độc hại cao, những chất  bị nhiễm độc 
 Bể lọc 2 pha là sự kết hợp hoàn hảo giữa hai thành phần chuyên dụng là: bể lọc 
thứ nhất dùng để khử BOD, bể lọc thứ hai dùng để nitrat hóa.      lOMoAR cPSD| 59540283  
3.1.3. Nguyên tắc hoạt động 
Trong bể lọc, các lớp vật liệu lọc có độ rỗng và diện tích mặt tiếp xúc trong một đơn vị 
thể tích lớn nhất trong điền kiện có thể. Nước thải được hệ thống phun thành giọt đều 
khắp trên bề mặt lớp vật liệu lọc. Nước sau khi chạm lớp vật liệu chia thành các hạt nhỏ 
chảy thành màng mỏng qua khe vật liệu đi xuống dưới. Trong thời gian chảy như vậy 
nước thải tiếp xúc với màng nhầy gelatin bam quanh vật liệu lọc. Sau một thời gian lớp 
này dày lên ngăn cản oxy của không khí thấm vào trong lớp màng nhầy. Do không có 
oxy, tại lớp trong của lớp màng nhầy sát với bề mặt cứng của vật liệu lọc, vi khuẩn yếm 
khí phát triển tạo ra sản phẩm phân hủy yếm khí cuối cùng là khí methan và CO2 làm 
tróc lớp màng ra khỏi vật cứng rồi bị nước cuốn xuống phía dưới. Mặt khác khi chất 
nền không còn khuyếch tán tới lớp trong nữa, các vi sinh vật có trong lớp trong lớp ưa 
hiếu khí sẽ chết và tự tiêu đi. Do vậy xuất hiện những khoảng trống tế bào cho các vi 
sinh hiếu khí và kị khí khác. Khi chất nền thật sự cạn kiệt, việc tiêu hủy các tế bào còn 
lại làm cho màng sinh học bị rách rời từng vùng ra khỏi bề mặt. Trên mặt vật liệu lọc 
hình thành lớp mang mới. Sự tách màng sinh học được tạo ra và thúc đẩy bởi dòng nước 
chảy qua bề mặt. Hiện tượng này được lập đi lập lại tuần hoàn và nước thải được làm 
sạch BOD và các chất dinh dưỡng. Để tránh hiện tượng tắc nghẽn trong hệ thống phun, 
trong khe rỗng lớp vật liệu, trước bể lọc sinh học nhỏ giọt phải thiết kế song chắn, lưới 
chắn, bể lắng đợt 1. Nước sau bể lọc sinh học có nhiều bùn lơ lửng do các màng sinh 
học tróc ra nên phải được xử lý tiếp bằng bể lắng đợt 2.  3.1.4. Đặc điểm 
 Bể lọc sinh học nhỏ giọt dùng để xử lí sinh học hoàn toàn nước thải, đảm bảo 
BOD trong nước thải ra khỏi bể lắng đợt 2 dưới 15mg/l. 
 Tải trọng thủy lực của bể thấp 1-3m3/m2 bề mặt bể.ngày.      lOMoAR cPSD| 59540283
 Tải trọng chất bẩn hữu cơ 0,1 – 0,2 kg BOD/m2VLL. 
 Cường độ tưới nhỏ 1-3m3 nước thải/ m3VLL.ngày nên người ta không tuần hoàn 
nước thải sau xử lý về bể. 
 Hiệu suất xử lý cao, có thể lên đến 90%. 
 Kích thước hạt không lớn hơn 30mm.   Chiều cao VLL 1,5 – 2m. 
 Khoảng cách giữa đáy bể và sàn đỡ 0,4 - 0.6m. 
 Thời gian tưới gián đoạn dưới 5 phút. 
 Nồng độ bùn cặn nhỏ hơn 500mg/l. 
 Bể dùng cho trạm xử lý nước thải công suất dưới 1500m3/ngày.   
Hình: Bể lọc sinh học nhỏ giọt 
3.2. Bể lọc sinh học cao tải  3.2.1. Cấu tạo 
 Về cơ bản bể lọc sinh học cao tải giống với bể lọc sinh học nhỏ giọt chỉ khác ở 
chỗ nó có chiều cao công tác và tải trọng thủy lực cao hơn. Ví dụ, nếu tải trọng 
thủy lực bể lọc sinh học nhỏ giọt là 0,5 – 1,0 m3/(m3.VLL.ngày), thì tải trọng 
thủy lực bể lọc sinh học cao tải là 10 – 30 m3/(m3.VLL.ngày). 
 Bể lọc sinh học cao tải được xây dựng dưới dạng hình tròn có tường đặc và đáy  kép. 
 Đáy trên là tấm đan đỡ lớp vật liệu lọc, đáy dưới liền khối không thấm nước. 
Chiều cao giữa hai lớp đáy lấy khoảng 0,6 – 0,8m, độ dốc i=1 – 2%. Tường bể 
làm cao hơn lớp vật liệu lọc 0,2 – 0.3m. 
 Kích thước vật liệu lọc trung bình 40 – 80mm và tải trọng thủy lực 10 – 30m3 
nước thải/m2.bề mặt bể   Vật liệu lọc 
 Đá cục, than đá, cuội sỏi, đá ong lớn,… Độ bền cao, giá 
rẻ, không bị tắc nghẽn. 
 Chiều cao lớp vật liệu từ 2 - 4 m, có thể đạt tới 6 – 9 m.      lOMoAR cPSD| 59540283
Làm thoáng cho bể lọc sinh học cao tải thường bằng nhân tạo. Vì khe hở giữa các hạt 
vật liệu lọc của bể lọc sinh học cao tải lớn (kích thước VLL 40 – 60 mm), do đó việc 
trao đổi không khí xảy ra trong thân bể với cường độ cao. Nhờ tốc độ lọc lớn và sự trao 
đổi không khí nhanh mà quá trình oxy hóa chất hữu cơ xảy ra ở đây với tốc độ cao. Bể 
lọc sinh học cao tải có thể dùng để xử lý nước thải với mức độ hoàn toàn hoặc từng 
phần với công suất q ≤ 50000 m3/ngày. 
Hình: Sơ đồ cấu tạo bể lọc sinh học cao tải 
3.2.2 . Nguyên tắc hoạt động 
Trong bể lọc, nước thải được hệ thống phun 
thành giọt đều khắp trên bề mặt lớp vật liệu 
lọc. Nước sau khi chạm lớp vật liệu chảy 
thành màng mỏng qua khe vật liệu đi xuống   
dưới. Trong thời gian chảy như vậy nước thải tiếp xúc với màng nhầy gelatin bam quanh 
vật liệu lọc. Sau một thời gian lớp này dày lên ngăn cản oxy của không khí thấm vào 
trong lớp màng nhầy. Do không có oxy, tại lớp trong của lớp màng nhầy sát với bề mặt 
cứng của vật liệu lọc, vi khuẩn yếm khí phát triển tạo ra sản phẩm phân hủy yếm khí 
cuối cùng là khí methan và CO2 làm tróc lớp màng ra khỏi vật cứng rồi bị nước cuốn 
xuống phía dưới. Mặt khác khi chất nền không còn khuyếch tán tới lớp trong nữa, các 
vi sinh vật có trong lớp trong lớp ưa hiếu khí sẽ chết và tự tiêu đi. Do vậy xuất hiện 
những khoảng trống tế bào cho các vi sinh hiếu khí và kị khí khác. Khi chất nền thật sự 
cạn kiệt, việc tiêu hủy các tế bào còn lại làm cho màng sinh học bị rách rời từng vùng 
ra khỏi bề mặt. Trên mặt vật liệu lọc hình thành lớp mang mới. 
Nước sau bể lọc được tuần hoàn lại để tăng hiệu quả xử lý.      lOMoAR cPSD| 59540283   3.2.3. Đặc điểm 
 Bể lọc sinh học cao tải dùng để xử lí sinh học hiếu khí nước thải, hiệu quả khử 
BOD của bể từ 60 đến 85%. 
 Tải trọng chất bẩn hữu cơ 0,2-1,5 kg BOD/m3.ngày. 
 Để tăng hiệu quả xử lý người ta thường tuần hoàn nước sau bể lọc để xử lý lại. 
 Kích thước hạt từ 40 - 80mm. 
 Chiều cao VLL 2 – 4m, lớn nhất 6 – 9m. 
 Thời gian tưới một vòng từ 8 – 12 phút. 
 Bể làm việc hiệu quả khi BOD của nước thải vào bể dưới 300mg/l. 
 Bể dùng cho trạm xử lý nước thải công suất từ 500 đến hàng chục ngàn m3/ngày. 
3.2.4. So sánh bể lọc sinh học nhỏ giọt & bể lọc sinh học nhỏ giọt   
Bể lọc sinh học nhỏ giọt 
Bể lọc sinh học cao tải  Hoàn toàn hoặc không  Mức độ xử lý  Hoàn toàn  hoàn toàn  Hình dạng 
Chữ nhật hoặc hình tròn  Hình tròn 
Chiều cao công tác và tải 
Cao gấp 20 – 30 lần (10 –  Thấp 0,5 – 1 m3/m3 VLL  trọng thủy lực  30 m3/m3 VLL 
Kích thước vật liệu lọc  25 – 30 mm  40 – 60 mm  Công suất  0,2 – 1000 m3/ngày  ≥50000 m3/ngày  Xử lý nước sơ bộ  Có  Không  Thau rửa  Ít  Thường xuyên  Làm thoáng  Tự nhiên  Nhân tạo  Chiều cao lớp VLL  0,4 – 2,5 – 4 m  2 – 4 m  Hiệu quả  Khử 90% BOD  60 – 80% BOD      lOMoAR cPSD| 59540283
3.3. BLSH có VLL tiếp xúc đặt ngập trong nước (BIOTEN)  3.3.1. Cấu tạo 
Bể bioten có cấu tạo gần giống với bể lọc sinh học và aeroten. Vật liệu lọc thường được 
đúc thành khối và để ngập trong nước. Khí được cấp với áp lực thấp và dẫn vào bể cùng 
chiều hoặc ngược chiều với nước thải.  Bao gồm: 
 Ống dẫn nước thải vào bể. 
 Hệ thống phân phối nước thải và thu nước rửa lọc.   Khối VLL nổi. 
 Van xả nước rửa lọc về bể nén bùn.   Hệ thống cấp khí.   Nước thải sau xử lý.   
3.3.2. Nguyên tắc hoạt động 
Bể lọc sinh học có vật liệu lọc ngập trong nước hoạt động theo nguyên lý lọc dính bám. 
Khi nước thải qua khối vật liệu lọc, BOD bị khử và NH4+ bị chuyển hóa thành NO -3 
trong lớp màng sinh vật. Nước đi từ dưới lên, chảy vào máng thu và được dẫn ra ngoài.  Để khử BOD, NO - 3-
3 và PO4 trong nước thải, bể thường bố trí thành hai bậc, trong đáy 
hệ thống phân phối khí của bể lọc bậc hai được bố trí tạo điều kiện hình thành vùng 
thiếu khí ở dưới. Độ chênh mực nước giữa hai bể lọc hoạt động gián tiếp là 0,5m. 
Ngoài các tấm nhựa, người ta còn dùng hạt polystyrene đường kính 2 – 5mm để làm 
vật liệu lọc của bioten.  3.3.3. Đặc điểm 
 Nước ra khỏi bể lọc có BOD5 < 20 mg/l. 
 Không cần bố trí bể lắng đợt 2. 
 Khử được chất hữu cơ cacbon và nitơ. 
 Bể bioten vật liệu nổi đường kính hạt 2÷5mm.      lOMoAR cPSD| 59540283
 Được dùng để xử lý nước thải sinh hoạt có BOD5 dưới 500mg/l. vận tốc lọc dưới  3m/h.  Ưu điểm: 
 Chiếm ít diện tích, đảm bảo mĩ quan. 
 Không cần phải rửa lọc. 
 Có cấu trúc modun và dễ dàng tụ động hoá.  Nhược điểm: 
ꭗ Làm tổn thất tải lượng và giảm lượng nước thu hồi. 
ꭗ Tổn thất khí cấp cho quá trình. 
ꭗ Việc phun khí mạnh tạo ra chuyển động xoáy. 
3.4. BLSH có VLL không ngập trong nước 
Bể lọc sinh học có lớp vật liệu lọc không ngập trong nước sở hữu ưu điểm về quá trình 
thi công. Dạng bể này được đánh giá là có cấu tạo đơn giản nên dễ thi công, đảm bảo 
mỹ quan, ít mùi, cấu tạo đơn giản, chi phí bảo dưỡng thấp. Bể lọc sinh học có lớp vật 
liệu lọc không ngập trong nước có thể được xây dựng bằng module hoặc bê tông cốt 
thép kèm khả năng tự động hóa cao. 
Tuy nhiên, nhược điểm là tải lượng bị tổn thất cao nên giảm lượng nước thu hồi, quá 
trình thông khí sử dụng bơm cưỡng bức nên tiêu tốn nhiều năng lượng cho quá trình 
vận hành. Mặt khác khí phun lên tạo dòng chuyển động xoáy làm giảm khả năng giữ  huyền phù. 
3.5. So sánh ưu và nhược điểm của bể lọc sinh học có vật liệu ngập trong nước 
và bể lọc sinh học có vật liệu ngập trong nước   
Bể lọc sinh học có vật liệu lọc ngập trong Bể lọc sinh học có vật liệu lọc không  nước  ngập trong nước 
 Chi phi trông coi cũng như bảo dưỡng 
 Dễ dàng thi công, dễ dàng bao che  thấp.  công trình. 
 Tiết kiệm chi phí năng lượng. 
 Đảm bảo mỹ quan công trình, ít phát  sinh mùi.  Ưu điểm 
 Đơn giản, chi phí bảo dưỡng tương  đối thấp. 
 Có thể xây dựng bằng modul hoặc bê  tông cốt thép. 
 Có khả năng tự động hóa cao.  Nhược điểm 
 Hiệu suất làm sạch nhỏ hơn bể lọc có lớp Tải lượng bị tổn thất cao nên giảm 
vật liệu lọc ngập trong nước với cùng một  lượng nước thu hồi.  tải lượng khối. 
 Quá trình thông khí sử dụng bơm 
 Cần bảo dưỡng thường xuyên do dễ bị tắc 
cưỡng bức nên tiêu tốn nhiều năng  nghẽn. 
lượng cho quá trình vận hành. 
 Rất nhạy cảm với nhiệt độ (ảnh hưởng 
 Khí phun lên tạo nên dòng chuyển      lOMoAR cPSD| 59540283  
trực tiếp tới quá trình sinh trưởng và phát 
động xoáy, làm giảm khả năng giữ 
triển của hệ vi sinh vật trong bể).  huyền phù. 
 Khống chế được quá trình thông khí 
tương đối khó khăn, dễ sinh mùi. Phát 
 sinh lượng bùn dư không ổn định. Suất 
 đầu tư trên 1 khối nước thải tương đối 
cao do lượng vật liệu tương đối nặng. 
4. Tính toán, thiết kế 
4.1. Bể lọc sinh học nhỏ giọt 
Thể tích bể lọc sinh học nhỏ giọt, W:  W=
(L¿¿a−Lt)×Q ,m3¿  NO  Trong đó: 
La – BOD5 của nước thải dẫn vào bể, mg/l 
Lt – BOD5 của nước thải sau khi xử lý, mg/l 
Q – Lưu lượng trung bình giờ, m3/h 
NO – Năng lực oxy hóa của bể, gO2/m3.ng.đ: NO = 600 – 700 gO2/m3.ng.đ Diện 
tích của bể lọc sinh học:    W  2    F=  ,m  H×n  Trong đó: 
H – Chiều cao lớp vật liệu lọc, H = 15 ÷ 20 m 
n – Số ngăn của bể lọc sinh học Chiều cao 
công tác của bể lọc sinh học: 
Hct=H+h1+h2 Trong  đó: 
H – Chiều cao lớp vật liệu lọc, m h1 – Khoảng cách từ mặt lớp vật liệu 
lọc đến thành bể, h1 = 0,4 ÷ 0,5 m h2 – Khoảng cách giữa 2 đáy của bể,  h2 = 0,5 ÷ 1 m      lOMoAR cPSD| 59540283 Ngoài ra 
Công thức tính theo viện nghiên cứu Hoa Kỳ:  E 
1+a√Lv Trong đó: 
E – Hiệu quả xử lý theo BOD (%), (E ≥ 85%) 
Lv – Tải trọng chất bẩn hữu cơ tồn tại trong bể lọc, kgBOD/m3VLL.ngày 
a – Hệ số thực nghiệm phụ thuộc nhiệt độ nước thải và BOD trước xử lý 
Lưu ý khi ở nhiệt độ 20oC, hệ số a được tính như bảng:  BOD5, mg/l  a  100  0,38  150  0,34  200  0,30 
Khi đã có tải trọng thì thể tích vật liệu lọc sẽ được tính bằng: 
W=(La−Lt)×Q    1000× Lv Trong  đó:  W – Thể tích bể, m3 
La , Lt – Hàm lượng BOD của nước thải nước và sau khi xử lý, mg/l 
Q – Lưu lượng nước thải, m3/ngày 
4.2. Bể lọc sinh học cao tải   
 Bể lọc sinh học cao tải.   
 Công suất 12.000 m3/ngày đêm.     TCXDVN 51 : 2006.     QCVN 14 : 2008/BTNMT   
 Cho nước thải đến BLSH có hàm lượng BOD La = 196 mg/l.   
 Hàm lượng BOD của nước thải sau xử lí: Chọn: Lt = 30mg/l     Do La = 196 < 300 mg/l  La  k=       lOMoAR cPSD| 59540283 Lt      =k = 6.53 
Tra bảng trong tiêu chuẩn xây dựng TCXDVN 51:2006   Chiều cao lớp VLL: H=3m 
 Tải trọng thủy lực: q=30m3/m2.ngày 
 Lượng khí cấp cho bể: B=8 m3/m3   Nhiệt độ t= 20oC 
Thể tích tổng cộng của lớp VLL: 
• W = H x F= 3 x 400 = 1200m3 
• Chọn VLL là đá dăm cỡ hạt 50 (40-80mm). 
• Chọn VL đỡ ở dưới có cỡ hạt lớn hơn dày khoảng 0,2m. 
Chọn 2 BLSH cao tải dạng hình tròn: 
• Diện tích mỗi bể: F1= F /2 =400 /2 = 200 m2  D m 
• Đường kính mỗi bể: 
Lưu lượng nước tuần hoàn:  Qth=(
LQt +Q th )300−Q. La   
Q(300−La) 12000(300−196)  3 ngày  Qth= Lt−300 
=30−300 =−4622,22m / 
Lượng không khí cần thiết cung cấp cho BLSH:    La  Q 196    3 h  A= 21×K1×24 =21 ×2×24  =9333,3m /