



















Preview text:
lOMoAR cPSD| 22014077
Đồ Án Hệ Thống Cung Cấp Điện
GVHD: Nguyễn Hiền Trung
PHẦN IV : CHỌN VÀ KIỂM TRA THIẾT BỊ ĐIỆN
A: CHỌN CÁC THIẾT BỊ ĐIỆN
Việc tính chọn các thiết bị trong mạng điện nhằm đảm bảo cho các thiết bị làm việc
tin cậy, vận hành an toàn và sửa chữa thuận tiện. Các điều kiện đầu chọn gần giống các
điều kiện làm việc ở chế độ dài hạn như Iđm, Uđm,... Các điều kiện kiểm tra và những điều
kiện làm việc trong chế độ ngắn mạch và những sự cố bao gồm các điều kiện về ổn định
lực điện động và ổn định nhiệt.
I. Chọn các thiết bị cao áp 1.Chọn máy cắt
Máy cắt điện là một thiết bị dùng trong mạng điện cao áp để đóng - cắt dòng điện
phụ tải và cắt dòng ngắn mạch,đây là loại thiết bị làm việc tin cậy.
Điều kiện chọn UđmMC ≥ Uđm mạng IđmMC ≥ Ilvmax I
: dòng điện lớn nhất chạy qua máy trong trường hợp 1 nguồn bị mất điện, nguồn lvmax
còn lại phải cung cấp cho toàn bộ phụ tải nhà máy.
Ilv max = = = 63,03 (A)
=> điều kiện chọn máy cắt đầu vào trạm phân phối điện.
UđmMC ≥ 22 kV
IđmMC ≥ 63,02 (A)
Tra bảng 5.9(Trang 308 - Sổ tay tra cứu thiết bị điện 0,4-500 kV, Ngô Hồng Quang).
Ta chọn máy cắt 3AF do ABB chế tạo
Thông số kỹ thuật máy cắt đầu vào trạm phân phối điện Kiểu máy cắt U đm I đm I N I Nmax ( kv ) ( A ) ( kA ) ( kA ) 3 AF 614-4 24 630 25 63
2. Chọn dao cách ly đầu vào nhà máy: 2 chiếc
Dao cách ly làm nhiệm vụ cách ly các bộ phận cần sửa chữa và bảo dưỡng ra khỏi mạng
điện để tạo 1 khoảng cách trông thấy để người vận hành yên tâm làm việc.
Điều kiện chọn UđmCL ≥ Uđm mạng
IđmCL ≥ Ilvmax I
: dòng điện lớn nhất chạy qua dao cách ly trong trường hợp 1 nguồn bị mất lvmax
điện, nguồn còn lại phải cung cấp cho toàn bộ phụ tải nhà máy. lOMoAR cPSD| 22014077
Đồ Án Hệ Thống Cung Cấp Điện
GVHD: Nguyễn Hiền Trung
SVTH: Nguyễn Văn Huân
Ilv max = = = 63,03 (A)
=> điều kiện chọn dao cách ly vào đầu trạm phân phối
UđmCL ≥ 22 KV
IđmCL ≥ 63,03 (A)
Vậy căn cứ vào bảng 2-35 (Trang 129 - Sổ tay tra cứu và lựa chọn thiết bị điện 0,4
đến 500kV của Ngô Hồng Quang), ta chọn được dao cách ly 3DC điện áp 12-36 kV do Siemens chế tạo.
Thông số kỹ thuật dao cách ly đầu vào trạm biến áp Kiểu dao U I I đm đm N I ođn ( kv ) ( A ) (kA ) ( kA ) 3 DC 24 630 40 16
3. Chọn thanh cái cao áp
Ta cũng dựa theo điều kiện phát nóng để chọn thanh cái: Ilvmax I k k k1 2 3. . Trong đó :
Dòng điện lớn nhất chạy qua thanh cái là :
Ilvmax = 63,03 (A)
k1 = 0,88 : Hệ số hiệu chỉnh theo nhiệt độ môi trường xung quanh : tTC = 250C k2
= 1 : Hệ số ảnh hưởng tới thanh cái từng pha gồm nhiều thanh ghép lại.
k3 = 0,95 : Hệ số hiệu chỉnh theo cách lắp đặt đối với thanh cái đặt nằm. Vậy : [I] = = 75,39 (A)
Tra bảng 7.2 (Trang 362 sổ tay lựa chọn và tra cứu TBĐ 0,4 đến 500 kV của Ngô
Hồng Quang) ta chọn thanh cái cao áp là thanh dẫn bằng đồng tròn , t0 thanh dẫn 35
- 650C có số liệu kỹ thuật ghi trong bảng sau:
Thông số kỹ thuật thanh cái cao áp Kích thước (mm)
S (mm 2 ) M (kg/m) Vật liệu
I cp ( A ) 25 x 3 75 0,668 Đồng 340
4.Chọn thanh sứ đỡ thanh cái cao áp lOMoAR cPSD| 22014077
Đồ Án Hệ Thống Cung Cấp Điện
GVHD: Nguyễn Hiền Trung
Sứ có nhiệm vụ làm giá đỡ, vừa làm bộ phận cách ly giữa bộ phận dẫn điện với đất và
các bộ phận không cho phép dẫn điện. Có yêu cầu là phải chịu được lực điện động do
dòng ngắn mạch gây ra và có độ bền cơ học.
Chọn sứ theo điều kiện điện áp:
Usứ ≥ Uđm mạng = 22 (kV)
Tra bảng 2.29 (Trang 351 – HTCCĐ – Nguyễn Công Hiền) chọn sứ đỡ đặt ngoài trời
do Liên xô chế tạo có số liệu kỹ thuật như trong bảng sau:
Thông số kỹ thuật sứ đỡ thanh cái cao áp Phụ tải Khối lượng Loại
U đm sứ
U ph.đ khô
U ph.đ ướt phá hoại ( KV ) ( ) kv ( kv ) ( KG ) (KG ) OIIIH-35-2000 35 120 80 2000 44 , 6
Chú thích: O - đỡ; III – có lõi sắt; H - đặt ngoài trời
5. Chọn dây dẫn cung cấp điện cho nhà máy
Để nâng cao độ tin cậy cung cấp điện cho nhà máy, ta dùng 2 đường dây
trên không nhận điện từ hệ thống về trạm phân phối trung gian của nhà máy.
Ta chọn dây dẫn theo điều kiện phát nóng: Ilvmax I k k k1 2 3. .
Trong đó : k1 = 0,88 : Hệ số kể đến nhiệt độ môi trường 350C, sai khác với
nhiệt độ tiêu chuẩn : tTC = 250C k2 = 1 : Hệ số xét đến ảnh hưởng của các
dây dẫn đặt gần nhau.
k3 = 1 : Hệ số xét đến điều kiện làm việc ở chế độ dài hạn I
: Dòng điện lớn nhất chảy qua dây dẫn khi bị mất một nguồn và khi MBA lv max
làm việc ở chế độ quá tải, dây dẫn cung cấp cho toàn bộ công suất nhà máy.
Ilv max = = = 63,03 (A)
=> Icp = = 71,625 (A)
Tra bảng 4.12 ( trang 369-TL1) ta chọn dây đồng không bọc ( dây trần) thông số
kỹ thuật sau : Tiết diện: 10 mm2 Icp = 95 ( A)
II.CHỌN CÁC THIẾT BỊ PHÍA HẠ ÁP lOMoAR cPSD| 22014077
Đồ Án Hệ Thống Cung Cấp Điện
GVHD: Nguyễn Hiền Trung
1. Chọn áp tô mát đầu ra MBA
Áp tô mát là thiết bị bảo vệ tin cậy, có thể đóng cắt tự động cả 3 pha khi sự cố hoặc quá tải. Điều kiện chọn : UđmATM Uđmmang = 0,4 (KV) IđmATM Ilvmax
Trong đó : Ilvmax = = = 2525,91 (A) Ta
chọn Aptomat do hãng ABB chế tạo:
Thông số kỹ thuật ATM đầu ra MBA
Thời gian cắt tức Kiểu U I đm đm thời
I Nmax ( kA ) ( V ) ( A ) ( s ) ABB E3H 400 3200 0 , 03 85
2. Chọn thanh cái hạ áp
Thanh cái hạ áp được chọn theo điều kiện phát nóng, khi cho thanh cái đặt nằm ngang: [I] Trong đó : -
k1 = 0,88 : Hệ số kể đến nhiệt độ môi trường (350C) đặt cáp với nhiệt độ tiêu chuẩn (250C). -
k2 = 1 : Hệ số hiệu chỉnh thanh cái khi xét đến trường hợp ghép nhiều thanh. -
k3 = 1 : Hệ số hiệu chỉnh kể đến cách lắp đặt thanh cái, ở đây thanh cái đặt nằm ngang. -
Ilvmax : Dòng điện lớn nhất của MBA khi đủ tải. - Ilvmax = = = 2525,91 (A) [I] = 2870,35 (A)
Tra bảng 7.2 (Trang 363 - sổ tay lựa chọn và tra cứu TBĐ 0,4 đến 500 kV của Ngô
Hồng Quang) chọn được thanh cái làm bằng đồng có số liệu kỹ thuật cho trong bảng sau:
Thông số thanh cái hạ áp
Tiết diện một thanh Dòng cho phép mỗi Kích thước (mm) Khối lượng (kg/m) (mm2) pha ghép 2 thanh (A) lOMoAR cPSD| 22014077
Đồ Án Hệ Thống Cung Cấp Điện
GVHD: Nguyễn Hiền Trung 80x10 800 3100 7,1
3. Chọn aptomat liên lạc trên thanh cái hạ áp
Khi sự cố một MBA trong trạm, thì những phụ tải quan trọng của MBA bị sự cố được
cung cấp điện thông qua aptomat liên lạc : Điều kiện chọn : UđmATM Uđmmang = 0,4 (kV) IđmATM Ilvmax Trong đó :
Ilvmax : Dòng điện làm việc lớn nhất chạy qua aptomat liên lạc, ta phải tính dòng làm việc
theo 2 điều kiện rồi chọn aptomat theo giá trị lớn nhất.
Phụ tải quan trọng của 2 MBA là : -
Phụ tải quan trọng của MBA1 : Sqt1= 477,07 (kVA) -
Phụ tải quan trọng của MBA2 : Sqt2= 216,33 (kVA)
Khi bị sự cố một máy biến áp trong trạm thì máy biến áp còn lại đảm nhận cấp
điện cho tất cả các hộ phụ tải quan trọng của nhà máy thông qua ATM liên lạc
nên công suất truyền tải qua aptomat liên lạc được lấy bằng công suất tính toán
của hộ phụ tải loại 1 trên một phân đoạn thanh cái hạ áp có trị số lớn hơn .
Ta thấy trong trường hợp MBA2 bị sự cố thì toàn bộ phụ tải của MBA2 sẽ được
chuyển sang MAB1 dẫn đến áp tô mát làm việc ở chế độ nặng nề nhất và ngược lại: Do vậy : Ilvmax = 688,59 (A)
Ta chọn Aptomat do hãng ABB chế tạo:
Thông số kỹ thuật ATMLL trên thanh cái hạ áp Tên
U đm
I đm ( A ) Số cực I Nmax ( V ) ( kA ) ABB E2S 400 800 3 85
4. Chọn sứ đỡ thanh cái hạ áp lOMoAR cPSD| 22014077
Đồ Án Hệ Thống Cung Cấp Điện
GVHD: Nguyễn Hiền Trung
Sứ đỡ làm nhiệm vụ giá đỡ, cách ly phần mang điện với đất. Chọn sứ theo điều kiện điện áp:
Uđm sứ ≥ Uđm mạng = 0,4 (KV)
Từ điều kiện chọn sứ đỡ, tra bảng 2.28 -trang 351- Giáo trình HTCCĐ –
Nguyễn Công Hiền, ta chọn được sứ đỡ do Liên xô chế tạo, đặt trong nhà có tham số như bảng sau:
Thông số sứ đỡ thanh cái hạ áp
U đm ( KV )
Phụ tải phá hoại Khối lượng Loại U đm U ph, đ khô ( kG ) ( kG ) O Φ - 1- 2000-OB 1 11 2000 7 , 3
Chú thích: O - đỡ; III – có lõi sắt; H - đặt ngoài trời
5.Chọn cáp từ thanh cái phía hạ áp đến các phân xưởng Điều kiện chọn: Uđm ATM ≥ Uđm mạng I cp Ilvmax k k k1 2 3. .
Trong đó: k = 0,96 : Hệ số kể đến sự sai khác của nhiệt độ môi trường với nhiệt độ tiêu 1 chuẩn.
+ Khoảng cách giữa các sợi cáp là 100 mm k2 : Hệ số kể đến sự bố
trí nhiều cáp trong hào, tùy vào phân xưởng. k2 = 1 nếu số lộ cáp trong hào là 1 (n = 1). k2 = 0,9 nếu n =2 k2 = 0,85 nếu n = 3
k2 = 0,8 nếu n = 4 k2
= 0,75 nếu n = 6 k2 = 0,7 nếu n = 7-10
Sở dĩ phải chia ra n lộ cáp là để sử dụng ít loại cáp k = 1 : Hệ
số kể đến chế độ làm việc của cáp dài hạn. I
: Dòng điện lớn nhất cho phép, ở đây là dòng điện tính toán phân xưởng. lvmax
Chọn cáp từ buồng phân phối hạ áp đến PX Cơ Khí: lOMoAR cPSD| 22014077
Đồ Án Hệ Thống Cung Cấp Điện
GVHD: Nguyễn Hiền Trung = = = 302,32 (kVA) IttCK = = = 436,37 (A) [Icp] = = 454,55 (A)
Tra bảng 4.28 -4.29(trang 379, 380 -TL1) ta chọn cáp đồng, dây dẫn ngoài trời, cách điện
PVC do LENS chế tạo. Tính tương tự cho các phân xưởng còn lại, ta có bảng:
Thông số kỹ thuật cáp trạm PP hạ áp đến các PX Ittpx Icp
Số lộ Iđm dây dẫn / Loại cáp STT Phân xưởng (A) (A) cáp 1 lộ cáp (F, mm2) 1 PX kết cấu kim loại 420,81 487,05 2 538 PVC(3G240) 2 PX cơ khí 436,37 454,55 1 538 PVC(3G240) 3 PX đúc 780,62 813,15 1 2(450) 2PVC(3G185) 4 PX nén khí 312,25 361,40 2 395 PVC(3G150) 5 PX rèn 332,29 346,14 1 395 PVC(3G150) 6 Trạm bơm 268,48 310,74 2 346 PVC(3G120) 7 PX dụng cụ 109,80 114,37 1 127 PVC(3G25) 8
PX gia công gỗ 344,30 358,64 1 395 PVC(3G150) 9 Ban quản lý nhà máy 38,11 39,70 1 42 PVC(3G4) 10 Chiếu sáng nhà máy 30,62 31,90 1 36 PVC(2x2,5)
6.Chọn aptomat bảo vệ cho từng phân xưởng Điều kiện chọn:
Uđm ATM ≥ Uđm mạng = 0,4 (KV)
Iđm ATM ≥ Ilvmax I
: Dòng điện lớn nhất cho phép, ở đây là dòng điện tính toán phân xưởng. lvmax
Tra bảng PL 3.5- 3.6 Thông số kỹ thuật aptomat do Nhật chế tạo ( Trang 356– Hệ
thống cung cấp điện Nguyễn Công Hiền) ta được :
Thông số kỹ thuật ATM phân xưởng Iđm Uđm Ittpx STT Phân xưởng ATM ATM Tên ATM (A) (A) (V) 1
PX kết cấu kim loại 420,81 500 380 SA603-G 2 PX cơ khí 436,37 500 380 SA603-G 3 PX đúc 780,62 800 380 SA803-G 4 PX nén khí 312,25 350 380 SA403-H 5 PX rèn 332,29 350 380 SA403-H 6
Trạm bơm 268,48 300 380 SA403-H 7 PX dụng cụ 109,80 125 380 EA203-G 8 PX gia
công gỗ 344,30 350 380 SA403-H lOMoAR cPSD| 22014077
Đồ Án Hệ Thống Cung Cấp Điện
GVHD: Nguyễn Hiền Trung 9 Ban quản lý nhà máy 38,11 40 380 EA53-G 10 Chiếu sáng nhà máy 30,62 40 220 EA52-G
III. TÍNH NGẮN MẠCH. 1.Đặt vấn đề.
Ngắn mạch là sự cố gây nguy hiểm nhất trong hệ thống điện. Khi xảy ra ngắn mạch
thì điện áp của hệ thống giảm xuống làm cho dòng điện tăng cao có thể gấp vài chục lần
bình thường, dòng ngắn mạch này gây nên hiệu ứng nhiệt và hiệu ứng lực điện động rất
lớn có thể gây nguy hiểm cho con người và thiết bị. Thời gian ngắn mạch càng lớn, điểm
ngắn mạch càng gần nguồn cung cấp thì tác hại do dòng ngắn mạch gây ra càng lớn làm
cháy nổ các thiết bị gây nguy hiểm cho người vận hành, ngắn mạch làm cho điện áp
giảm thấp ảnh hưởng đến quá trình làm việc của các máy móc đòi hỏi độ chính xác cao,
nếu ngắn mạch ở gần nguồn điện áp hệ thống giảm xuống nghiêm trọng có thể gây rối loạn hệ thống điện.
2. Các dạng ngắn mạch -
Ngắn mạch 3 pha (ngắn mạch đối xứng) -
Ngắn mạch 2 pha, Ngắn mạch 1 pha chạm đất (ngắn mạch không đối xứng)
-Các ký hiệu sau đây được sử dụng:
+) I”k1 - dòng điện ngắn mạch siêu quá độ một pha. lOMoAR cPSD| 22014077
Đồ Án Hệ Thống Cung Cấp Điện
GVHD: Nguyễn Hiền Trung
+) I”k2 - dòng điện ngắn mạch siêu quá độ 2 pha.
+) I”k2Eb ,I”k2E - dòng điện ngắn mạch siêu quá độ hai pha chạm đất pha b, pha c.
+) I”kE2E - dòng điện ngắn mạch siêu quá độ hai pha chạm đất.
+) I”k - dòng điện ngắn mạch siêu quá độ 3 pha.
Chú ý: Ta cần phân biệt giữa dòng điện ngắn mạch tại vị trí ngắn mạch và dòng điện ngắn
mạch riêng trong nhánh tại bất kì điểm nào của lưới điện.
2.1. Phương pháp tính ngắn mạch
*Giả thiết cơ bản: - Bỏ qua điện trở hồ quang -
Bộ điều chỉnh điện áp ghi ở mức trung bình -
Bỏ qua dòng tải, điện dung -
Ngắn mạch 3 pha giả thiết xảy ra đồng thời -
Khi ngắn mạch số lượng các pha không đổi.
*Hệ đơn vị tương đối (per unit) -Dòng điện cơ bản: -Tổng trở cơ bản:
*Phương pháp nguồn điện áp tương đương. -
Một trong những cách để tính toán dòng điện ngắn mạch được thừa nhận là
nguồnđiện áp tương đương ở vị trí ngắn mạch. Theo phuong pháp này, nguồn điện
áp tương đương chỉ ứng với điện áp hoạt động của hệ thống. Tất cả hệ thống cung
cấp ,máy điện đồng bộ và không đồng bộ được thay thế bằng tổng trở trong của chúng. -Trong đó: +) U
: Điện áp định mức của hệ thống kết nối Q dmQ
+): Dòng điện ngắn mạch siêu quá độ ở điểm kết nối Q
+)c: hệ số điện áp( tra bảng) lOMoAR cPSD| 22014077
Đồ Án Hệ Thống Cung Cấp Điện
GVHD: Nguyễn Hiền Trung
+)k: Tỷ số biến đổi của máy biến áp ở đầu phân áp -Nếu tỷ số R sẽ được tính: Q/XQ đã biết, thì XQ lOMoAR cPSD| 22014077 Đồ
Án Hệ Thống Cung Cấp Điện
GVHD: Nguyễn Hiền Trung
Ngắn mạch 2 pha còn gây ra từ trường không đối xứng làm nhiễu loạn các đường
dây thông tin lân cận.Vấn đề đặt ra là ta phải dự đoán được cường độ của dòng ngắn
mạch để kịp thời xử lý, thay thế đảm bảo tính liên tục cung cấp điện.
=> Ngắn mạch 3 pha là nghiêm trọng nhất, vì vậy thường người ta căn cứ vào dòng điện
ngắn mạch ba pha để lựa chọn các thiết bị điện. Có rất nhiều dạng ngắn mạch xảy ra
trong quá trình vận hành. Một pha (chiếm 80% các sự cố) hai pha (chiếm 15% các sự
cố) ba pha (chỉ chiếm 5% các sự cố)
2.2. Hậu quả của ngắn mạch
Ở chỗ sự cố, phát sinh hồ quang điện, gây nên: - Hư hỏng cách điện - Nóng chảy dây dẫn
- Lực điện động tăng cao, làm biến dạng thanh cái, phá hỏng cáp
- Nhiệt độ tăng cao, gây nguy cơ phá
- Điện áp bị giảm xuống trong thời gian cắt sự cố từ vài ms đến hàng trăm ms.
- Tan rã một phần của hệ thống, mức độ phụ thuộc vào thiết kế hệ thống và
mức chọn lọc của thiết bị bảo vệ.
- Mất ổn định động hoặc mất đồng bộ máy điện.
- Nhiễu mạch điều khiển/thiết bị hiển thị, …
3. Mục đích của việc tính toán ngắn mạch
Tính toán ngắn mạch nói chung là phức tạp. Tuy nhiên các hệ thống cung cấp điện
mà chúng ta xét ở đây thường có cấp điện áp là trung và hạ áp, được coi là ở xa nguồn
(qua nhiều cấp điện áp) đồng thời có công suất tương đối nhỏ so với hệ thống điện quốc
gia, vì vậy cho phép dùng phương pháp đơn giản để tính dòng ngắn mạch. Tính
toán được giá trị dòng ngắn mạch lớn nhất mà các thiết bị có thể phải chịu đựng để chọn
và kiểm tra thiết bị cho thích hợp. Tìm ra biện pháp và tính chọn các thiết bị để hạn chế
dòng ngắn mạch để có căn cứ thiết kế bảo vệ rơle.
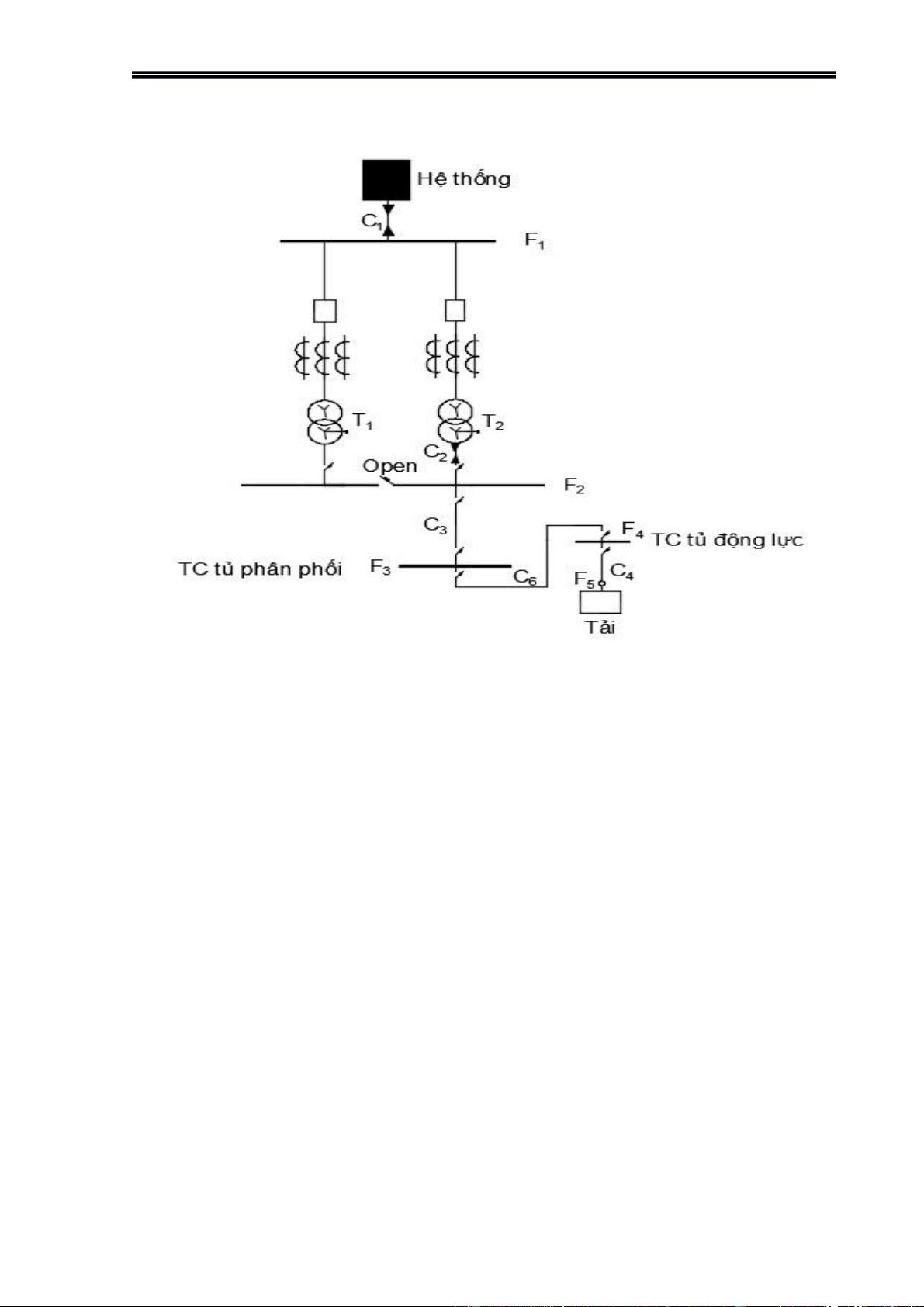
4. Chọn điểm tính ngắn mạch
- Tính toán ngắn mạch phía cao áp: vì không biết cấu trúc cụ thể của hệ thống điện
quốc gia nên cho phép tính gần đúng điện kháng của hệ thống quốc gia thông qua công
suất ngắn mạch của máy cắt đầu nguồn và coi hệ thống có công suất vô cùng lớn (bỏ qua R). lOMoAR cPSD| 22014077 Đồ
Án Hệ Thống Cung Cấp Điện
GVHD: Nguyễn Hiền Trung
-Tính ngắn mạch phía hạ áp: có thể coi máy biến áp hạ áp là nguồn (vì được nối với
hệ thống có công suất vô cùng lớn). Do đó điện áp phía hạ áp không thay đổi khi xảy ra ngắn mạch , ta có : I = I”= I N ∞
Điểm được chọn để tính ngắn mạch là những điểm mà tại đó khi xảy ra ngắn mạch
thiết bị phải làm việc trong điều kiện nặng nề nhất. Căn cứ vào sơ đồ nguyên lý và cách
bố trí các thiết bị trên sơ đồ ta chọn một số điểm ngắn mạch như sau:
-Ngắn mạch trên thanh cái cao áp 22 kV F1
-Ngắn mạch trên thanh cái hạ áp 0,4 kV F2
-Ngắn mạch trên tủ phân phối PX Dụng Cụ F3
-Ngắn mạch trên tủ động lực NHÓM I F4 -Ngắn
mạch trên động cơ máy hóa bền kim loại F5
5. Sơ đồ thay thế. lOMoAR cPSD| 22014077 Đồ
Án Hệ Thống Cung Cấp Điện
GVHD: Nguyễn Hiền Trung
IV.TÍNH DÒNG NGẮN MẠCH.
1.Tính dòng ngắn mạch tại điểm F1. Ta có số liệu nguồn: + + + + c: hệ số điện áp
Tra PL 4.7 ( Trang 367 – Giáo Trình HTCC Điện của Nguyễn Công Hiển) của dây dẫn
ta chọn là dây đồng không bọc ( dây trần) có tiết diện là 10 (mm2) được: ; Ta có:
Giả sử chiều dài dây dẫn từ nguồn cung cấp tới thanh cái phía cao áp chọn I.1.
Tính toán tổng trở thứ tự thuận. lOMoAR cPSD| 22014077 Đồ
Án Hệ Thống Cung Cấp Điện
GVHD: Nguyễn Hiền Trung
Tổng trở dây cáp từ nguồn cung cấp tới thanh cái phía cao áp là: Tổng trở tại F1:
1.2. Tính toán tổng trở thứ tự ngược.
1.3. Tính toán tổng trở thứ tự không. Giả thiết:
Điện trở, điện kháng thứ tự không của dây dẫn là:
Tổng trở thứ tự không tại F1:
a) Ngắn mạch 3 pha:
Mục đích tính ngắn mạch 3 pha tại điểm F1 là để kiểm tra điều kiện ổn định động và
ổn định nhiệt của thanh dẫn và các khí cụ điện cao áp.
Khi tính ngắn mạch 3 pha ở điện áp cao 22 kV người ta cho phép bỏ qua điện trở,
điện kháng của dao cách ly, thanh cái.. và chỉ kể đến điện kháng của hệ thống Xht và dây dẫn Xdd. Sơ đồ thay thế: lOMoAR cPSD| 22014077 Đồ
Án Hệ Thống Cung Cấp Điện
GVHD: Nguyễn Hiền Trung
Dòng ngắn mạch 3 pha: Dòng ngắn mạch xung kích: a) Ngắn mạch 2 pha: Sơ đồ thay thế:
Dòng điện ngắn mạch 2 pha: b)
Ngắn mạch 2 pha chạm đấtSơ đồ thay thế: lOMoAR cPSD| 22014077 Đồ
Án Hệ Thống Cung Cấp Điện
GVHD: Nguyễn Hiền Trung
Dòng điện ngắn mạch 2 pha-đất:
a) Dòng điện ngắn mạch 1 pha Tổng
trở khi ngắn mạch 1 pha: -Sơ đồ thay thế:
Tổng hợp dòng điện trên thanh cái khi ngắn mạch tại F1: 3 pha 2 pha đất 2 pha 1 pha F1 9 , 44 21 , 75 8 , 71 8 , 18 9 , 05 lOMoAR cPSD| 22014077 Đồ
Án Hệ Thống Cung Cấp Điện
GVHD: Nguyễn Hiền Trung
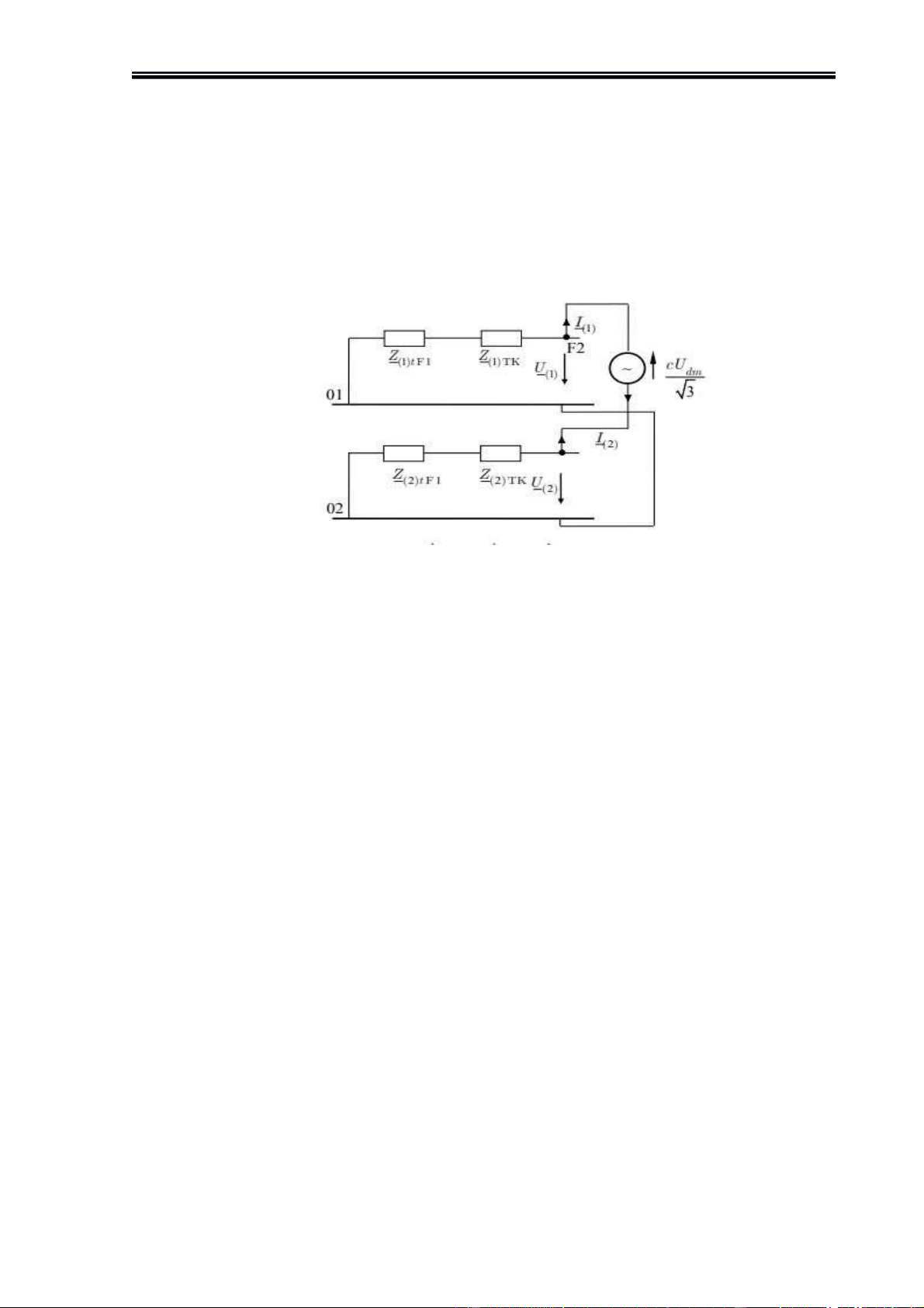
2. Ngắn mạch tại F2. Ta có thông số: Tỷ số máy biến áp: T1, T2 giống nhau có ;
Tổng trở phía sơ cấp quy đổi về thứ cấp: Tổng trở máy biến áp: = 0,049
Hệ số hiệu chỉnh tổng trở: = 0,95. = 1,02
Tổng trở ngắn mạch tại F2:
Bỏ qua tổng trở của dây dẫn ở đầu ra MBA ta có:
a) Ngắắn m ch 3 pha:ạ Sơ đồ
thay thế ngắn mạch 3 pha:
Dòng điện ngắn mạch 3 pha là: lOMoAR cPSD| 22014077 Đồ
Án Hệ Thống Cung Cấp Điện
GVHD: Nguyễn Hiền Trung
Dòng ngắn mạch xung kích:
b) Ngắắn m ch 2 pha:ạ Sơ đồ
thay thế ngắn mạch 2 pha:
Dòng ngắn mạch 2 pha là:
c) Ngắắn m ch 2 pha đấắt :ạ
Tổng trở thứ tự không của MBA: Sơ đồ thay thế: lOMoAR cPSD| 22014077 Đồ
Án Hệ Thống Cung Cấp Điện
GVHD: Nguyễn Hiền Trung Dòng điện ngắn mạch:
d) Ngắắn m ch 1 pha:ạ Sơ đồ thay thế :
Tổng hợp dòng điện trên thanh cái khi ngắn mạch tại F2: lOMoAR cPSD| 22014077 Đồ
Án Hệ Thống Cung Cấp Điện
GVHD: Nguyễn Hiền Trung 3 pha 2 pha đất 2 pha 1 pha F2 34 , 58 77 , 27 32 , 44 29 , 95 33 , 48
3. Ngắn mạch tại F3 (tủ phân phối PX Dụng cụ).
Với PX Dụng cụ ta đã tính toán và chọn cáp đồng hạ áp có: S = 25 mm2
Tra bảng PL4.8 trang 367 và PL4.29 trang 380 HTCCĐ – Nguyễn Công Hiền, ta có: ;
Giả thiết chiều dài từ thanh cái hạ áp đến tủ phân phối: l = 0,1(km) Tổng trở đường cáp:
a) Ngắn mạch 3 pha : Sơ đồ thay thế:
Tổng trở khi tính ngắn mạch 3 pha:
Dòng điện ngắn mạch xung kích:
b) Ngắắn m ch 1 pha:ạ Sơ đồ thay thế: