



















Preview text:
lOMoAR cPSD| 61570513
Ch 3. TỔNG CẦU VÀ TỔNG CUNG
TRONG NỀN KINH TẾ NGẮN HẠN
1. Mô hình tổng cầu (AD) và tổng cung (AS)
2. Biến động kinh tế và chính sách kinh tế
3.1. MÔ HÌNH TỔNG CẦU & TỔNG CUNG lOMoAR cPSD| 61570513
3.1.1. TỔNG CẦU (AD)
* Khái niệm: được hình thành từ nguồn chi
tiêu trong nền kinh tế gồm:
- Cầu về Tiêu dùng (C), Cầu về đầu tư (I)
- Chi tiêu của Chính phủ (G)
- Cầu về xuất khẩu ròng NX = (Ex – Im) AD = C + I + G + NX lOMoAR cPSD| 61570513
* Đường tổng cầu AD P
Giá và tổng cầu quan hệ ngược chiều
nhau, xem xét cả 3 mối quan hệ P1 P2
- Giá và tiêu dùng: P giảm, hộ GĐ
giàu hơn khả năng mua tăng lên,Y Y1 Y2
còn gọi là hiệu ứng A. Pigou
Hình 3.1. Đường tổng cầu AD
- Giá và đầu tư: P giảm, hộ GĐ cần ít tiền mặt hơn
chuyển tài sản sinh lời r giảm KK đầu tư
tăng. Gọi là hiệu ứng M. J. Keynes lOMoAR cPSD| 61570513
- Giá và xuất khẩu ròng: P giảm HH, DV trong nước
rẻ hơn nước ngoài, tại ER cho trước XK tăng, NK
giảm NX tăng. Hiệu ứng này gọi là Mundell Fleming
* Sự dịch chuyển đường tổng cầu AD
- Sự thay đổi trong tiêu dùng: lạc
quan, giảm thuế thu nhập P AD dịch sang phải
- Thay đổi trong đầu tư I: DN P1
lạc quan mua nhiều thiết 2
bị, giảm T, tăng Ms, giảm r Y1 Y Y2 lOMoAR cPSD| 61570513 AD dịch sang phải
Hình 3.2. Dịch chuyển đường tổng cầu AD
- Thay đổi trong chi tiêu của Chính phủ để ngăn chặn
suy giảm kinh tế, AD dịch sang phải. - Thay đổi
NX: Thị trường, ER AD dịch chuyển
3.1.2. TỔNG CUNG (AS) ASLR P
* Khái niệm: AS của một nền kinh tế
là lượng HH, DV mà các P1
DN có khả năng và sẵn sàng P bán 2
trong nước tại mỗi mức giá. lOMoAR cPSD| 61570513
* ASLR là đường thẳng đứng: Y*
Y = f(L, K, r, T) Y không
H×nh 3.3. Đường tổng cung LR, SR
phụ thuộc mức giá P, mà chỉ phụ thuộc L - ASLR Ph©n ®«i cæ ®iÓn
* ASSR có dạng dốc lên: Y = Y* + a. (P – P*)P*) lOMoAR cPSD| 61570513
* Dịch chuyển đường AS
Hình 3.4. TTLĐ và Việc làm Hình 3.5.
Đường tổng cung dài hạn
Khi mức giá thay đổi, SL Y phụ thuộc duy nhất vào L với MPL = W/P W = P. MPL
Cung về L khác nhau ứng với mức tiền lương khác nhau,
tăng, giảm Wn và P không làm thay đổi cung lao động lOMoAR cPSD| 61570513
* Nhân tố làm dịch chuyển ASLR
- Xuất phát từ lao động: Tăng cung L, ASLR dịch sang
phải, giảm cung L dịch sang trái
- Xuất phát từ tư bản: Tăng tư bản (K) tăng NSLĐ,
SL Y tăng ASLR dịch sang phải, và ngược lại (cả tư bản
hữu hình và vốn nhân lực)
- Xuất phát từ tài nguyên thiên nhiên: đất đai, khoáng sản,
thời tiết. Khai thác mỏ mới ASLR dịch sang phải,
thời tiết khắc nghiệt dịch sang trái.
- Xuất phát từ công nghệ, kỹ thuật kỹ thuật tiến bộ ASLR dịch sang phải . lOMoAR cPSD| 61570513 * ASSR
• ASSR có dạng dốc dương Y = Y* + a. (P – P*)P*)
• SL Y có thể khác với Y* nếu Pr khác P*, vị trí ASSR phụ
thuộc P* (giá dự kiến) Hình 3.6. Đường tổng cung ngắn hạn P*)
• Tham số a đo lường mức độ P phản
ứng của AS và chênh lệch giữa giá thực tế và giá
dự kiến. a = 0 AS thẳng P1
đứng, a rất lớn AS rất lOMoAR cPSD| 61570513 thoải nằm ngang Y* P*)
Hình 3.7. Đường tổng cung ngắn hạn
3.1.3. CÂN BẰNG NỀN KINH TẾ
Trạng thái cân bằng ngắn hạn tại
điểm E là tổ hợp (Y0, P0)
P1 > P0 S > D TT đ/c
P2 < P0 S < D TT đ/c ASLR
Hình 3.8. Cân bằng của nền kinh tế lOMoAR cPSD| 61570513 Trạng thái cân dài bằng hạn
tại điểm E là giao điểm của Y ASLR, ASSR và AD Y*
Hình 3.9. Trạng thái cân bằng dài hạn
3.2. BIẾN ĐỘNG KT VÀ CHÍNH SÁCH ỔN ĐỊNH
3.2.1. CÚ SỐC CẦU: Sự biến động
SL xung quanh Y* gọi là chu kỳ kinh
doanh ổn định KT. - Ảnh hưởng cắt
giảm AD đến P và Y AD dịch trái
(từ A B), Y giảm, P giảm.
đầu (kịp thời triệt tiêu cú sốc về A. Hình 3.10. Sự suy giảm của tổng cầu lOMoAR cPSD| 61570513
- KT suy thoái, DN p/ứ các nhà C/S kích thích tăng AD trở về ban và chính xác),
- Do AD giảm, P giảm ASSR dịch sang phải nền KT tiến đến
điểm C cắt AD2 và ASLR tại C. Y trở về ban đầu, P giảm bù đắp sự
thay đổi AD. LR, AD dịch chỉ làm thay P, không làm thay đổi Y.
- Bài học: SR, dịch AD chỉ gây ra biến động Y, VL
LR, dịch AD chỉ ảnh hưởng P, không ảnh hưởng Y lOMoAR cPSD| 61570513 3.2.2. CÚ SỐC CUNG
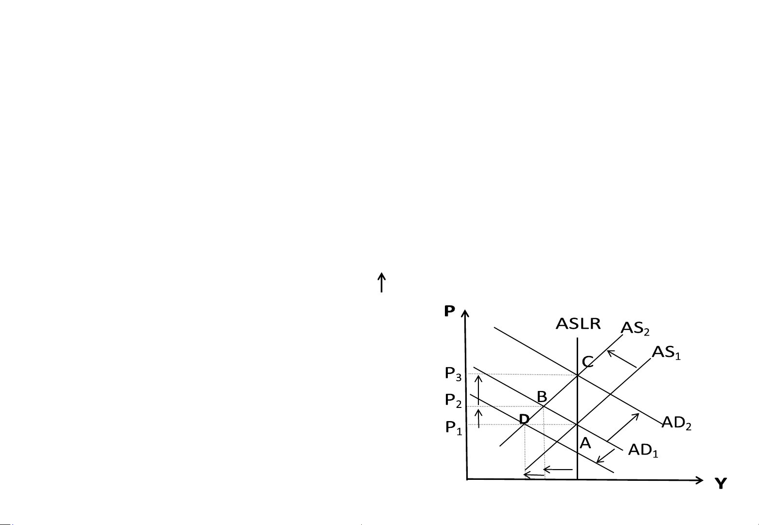
- Cú sốc bất lợi về cung làm tăng chi phí sản xuất AS dịch về trái
(từ A B), SL giảm, giá tăng. KT lún sâu vào suy thoái và lạm phát (stagflation).
- Các nhà chính sách làm gì? Muốn
triệt tiêu cú sốc cung tăng AD Y2 Y1 Y*
(cân bằng mới ở C). SL về Y*, P
Hình 3.11. Cú sốc bất lợi của tổng cung
- Muốn triệt tiêu ảnh hưởng cú sốc
cung đến P, C/S cắt giảm tổng cầu
AD’ vừa đủ duy trì giá ban đầu. Nền
KT di chuyển D, Y tiếp tục giảm lún sâu hơn vào suy thoái. AD’ lOMoAR cPSD| 61570513
- Bài học: Dịch chuyển AD gây ra suy thoái + lạm phát, không thể
đồng thời triệt tiêu cả 2 ảnh hưởng.
Thay ®æi tæng cung AS dµi h¹n →
DÞch chuyÓn tæng cung cã thÓ
g©y suy tho¸i kÌm l¹m ph¸t. →
Kh«ng thÓ ®ång thêi triÖt tiªu c¶ hai ¶nh hưëng bÊt lîi ư W ASLR ASLR P
Hình 3.12. Sự dịch chuyển bất lợi trong tổng cung W3 W2 W1
- C¸c lý thuyÕt kh¸c nhau vÒ Y L Y* nguyªn nh©n g©y ra chu kú
TTLĐ và việc làm Tổng cung dài hạn lOMoAR cPSD| 61570513 kinh doanh (Paul A Samuelson tr. 353-355).
Tăng trưởng dài hạn và lạm phát trong mô hình AD và AS
Hình 3.13. Tăng trưởng dài hạn, lạm phát trong mô hình tổng cầu và tổng cung lOMoAR cPSD| 61570513
- Trong dài hạn cả 2 đường AD và AS đều dịch chuyển.
- Có nhiều yếu tố ảnh hưởng đến nền kinh tế trong dài hạn,
nhưng 2 yếu tố quan trọng: Công nghệ và C/S tiền
- Ch¼ng h¹n ë h×nh 3.13. biÓu thÞ sù thay ®æi nµy trong nÒn kinh tÕ Mü tõ n¨m 1980 - 2000.
+ TiÕn bé c«ng nghÖ lµm t¨ng kh¶ n¨ng s¶n xuÊt hµng ho¸ vµ dÞch vô cña
nÒn kinh tÕ lµm cho ®ưêng tæng cung dµi h¹n dÞch chuyÓn sang ph¶i
LRSA1980 → LRSA1990 → LRSA2000.
+ Cïng lóc ®ã, Quü dù tr÷ liªn bang (Fed) liªn tôc t¨ng cung øng tiÒn tªn nªn
®ưêng tæng cÇu dÞch sang ph¶i AD → → 1980 AD1990 AD2000. lOMoAR cPSD| 61570513
KÕt qu¶ cña sù dÞch chuyÓn tæng cung vµ tæng cÇu trong dµi h¹n lµ sù t¨ng
trưëng theo xu thÕ cña s¶n lưîng (biÓu thÞ b»ng sù gia t¨ng cña Y) vµ l¹m
ph¸t liªn tôc (biÓu thÞ b»ng sù gia t¨ng cña P). lOMoAR cPSD| 61570513
3.2.3. NHỮNG ĐẶC ĐIỂM VỀ BIẾN ĐỘNG TỔNG CUNG Biến động kinh tế
Thu nhập giảm và thất nghiệp tăng Suy thoái Khủng hoảng
* Các biến động xảy ra bất thường và không thể dự báo
Biến động kinh tế (chu kỳ kinh doanh)
- Không tuân theo quy luật (gắn với điều kiện kinh doanh)
- Không xảy ra đều đặn: Mỹ + Suy thoái liên tục (1980 – 1982)
+ Từ 1982 – 1989 biến động rất ít
* Hầu hết các đại lượng kinh tế vĩ mô biến động cùng nhau
- GDP thực tế giảm hay được sử dụng nhất. lOMoAR cPSD| 61570513
- Khi GDP thực tế giảm → Lợi nhuận giảm → Đầu tư giảm → Thất
nghiệp tăng → Thu nhập giảm → Tiêu dùng giảm
- Đầu tư biến động mạnh nhất
* Khi sản lượng giảm thất nghiệp tăng
Định luật Okun: tỷ lệ GDP thay đổi 1% thì thất nghiệp thay đổi 2%
* Bài tập vận dụng:
• Bài 1: Tại sao trong chu kỳ kinh doanh đầu tư lại biến
động mạnh hơn so với tiêu dùng? Bộ phận nào trong
tiêu dùng biến động mạnh nhất: hàng lâu bền
(đồ gỗ và xe hơi), hàng cấp thấp (thức ăn và quần áo)
hay dịch vụ (cắt tóc và y tế). Tại sao? • Biến động cùng
nhau, quy mô khác nhau. Do bản chất đầu tư là kinh lOMoAR cPSD| 61570513
doanh nên đầu tư biến động mạnh nhất gắn với thay đổi
trong điều kiện kinh doanh. Hàng lâu bền biến động
nhiều hơn gắn với biến động giá cả, độ co giãn mạnh
hơn so với hàng thấp cấp và dịch vụ.
Bài 2: Hãy giải thích những biến số sau đây làm tăng, giảm hay không
có tác động nào đến tổng cung dài hạn?
a. Mỹ tiếp nhận một làn sóng nhập cư. Sẽ làm cho tổng cung dài hạn
tăng lên do lực lượng lao động tăng lên trong tương lai.
b. Quốc Hội quyết định tăng tiền lương tối thiểu lên 10 đôla một giờ.
Việc Quốc Hội tăng tiền lương tối thiểu sẽ làm tăng tỷ lệ thất nghiệp tự
nhiên dẫn đến giảm lực lượng lao động và giảm tổng cung dài hạn.