


Preview text:
TRƯỜNG TIỂU HỌC, THCS VÀ THPT KIỂM TRA CUỐI HỌC KÌ I – NĂM HỌC 2025 - 2026 ĐỨC TRÍ MÔN: TOÁN – KHỐI: 7
(Thời gian làm bài: 90 phút; không kể thời gian phát đề) MÃ ĐỀ: 102
Họ và tên học sinh: ........................................... Số BD: ..................... Lớp: ................
PHẦN I. Câu trắc nghiệm nhiều phương án lựa chọn (3,0 điểm).
Thí sinh trả lời từ câu 1 đến câu 12. Mỗi câu hỏi thí sinh chỉ chọn một phương án. Câu 1: Cho ba số ;
x y; z tỉ lệ với các số 3; 5; 7 . Dãy tỉ số bằng nhau tương ứng là x y z x y z x y z A. 3x 5y 7z. B. . C. . D. . 7 3 5 3 7 5 3 5 7
Câu 2: Hình lăng trụ đứng tam giác ABC.MNP có mặt đáy là hình gì? A. Hình tam giác. B. Hình vuông. C. Hình chữ nhật. D. Tứ giác. Câu 3: Cho a // , b hãy cho biết M và
N đang nằm ở vị trí nào? 1 1 1 M a 1 N b A. So le trong. B. Đồng vị. C. Đối đỉnh. D. Kề bù.
Câu 4: Tìm x , biết: x 4 . A. x 4. B. x 2 hoặc x 2. C. x 2. D. x 4 hoặc x 4.
Câu 5: Làm tròn số 45,76908 với độ chính xác d 0,05 ta được A. 46. B. 45,8. C. 45,769. D. 46,8. x y Câu 6: Nếu và x, y 0 thì 3 7 A. x 3.7.y. B. x : 7 y : 3. C. 7x 3y. D. 3x 7 y. Mã đề 102 Trang 1/3
Câu 7: Cho đại lượng y tỉ lệ thuận với đại lượng x theo hệ số tỉ lệ 2. Chọn đáp án đúng. 2 A. y 2 . x B. y 2 . x C. x 2 y. D. y . x
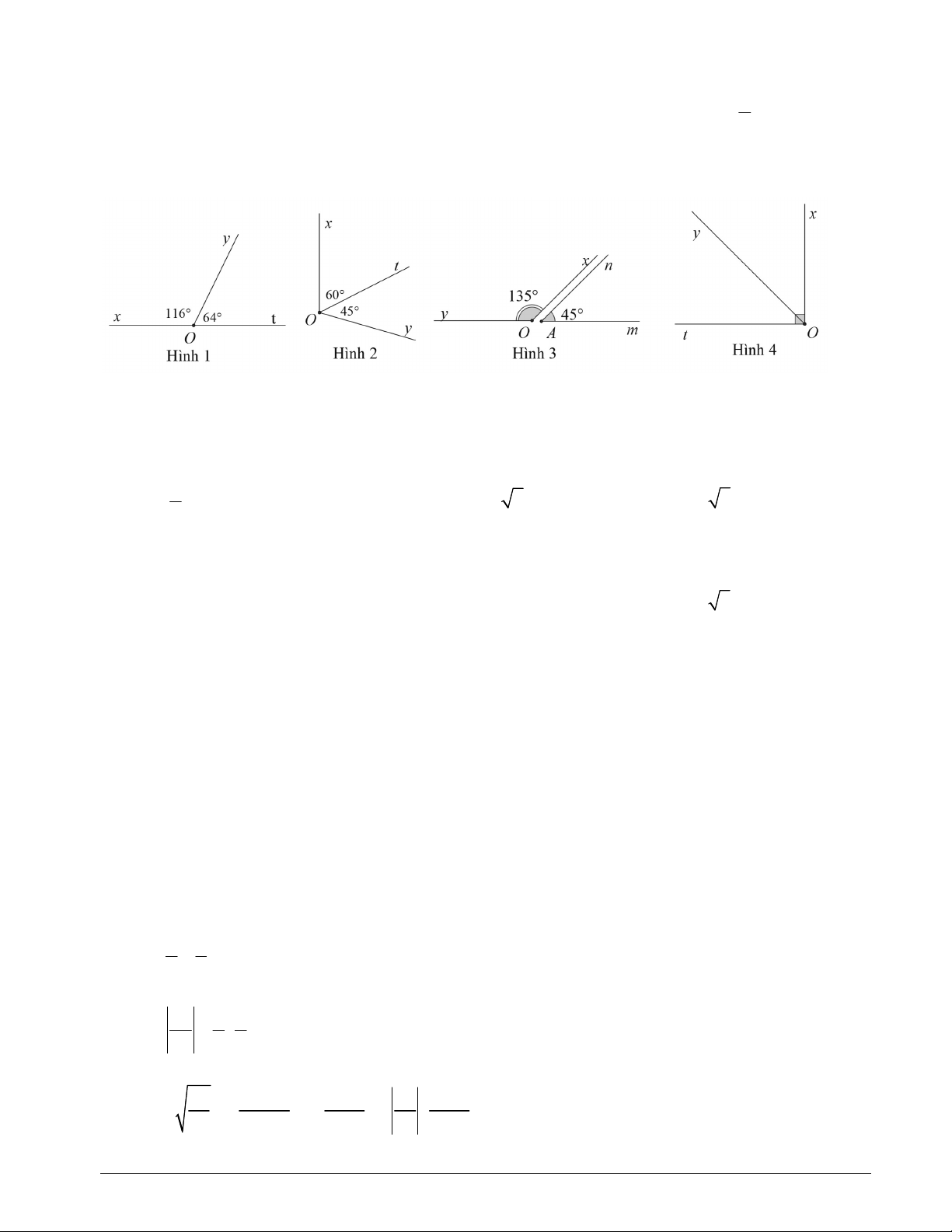
Câu 8: Trong các hình vẽ sau. Hình nào có hai góc kề bù? A. Hình 1. B. Hình 2. C. Hình 3. D. Hình 4.
Câu 9: Trong các khẳng định sau. Khẳng định nào đúng? 3 A. . B. 0,367 . C. 5 . D. 5 . 2
Câu 10: Căn bậc hai số học của 25 là A. 25. B. 5. C. 2 5 . D. 5.
Câu 11: Hình lập phương ABCD.MNPQ có AB 3c .
m Tính thể tích hình lập phương này. A. 3 36cm . B. 2 9cm . C. 2 27 cm . D. 3 27cm . Câu 12: Cho KOL 65 .
Góc đối đỉnh với góc KOL có số đo bằng A. 115. B. 65. C. 55 . D. 56.
PHẦN II. Tự luận (7,0 điểm). Thí sinh trả lời từ câu 13 đến câu 17.
Câu 13: (2,25 điểm) Thực hiện phép tính (Tính thuận tiện nếu có): 4 1 a. 2 3 ; 5 5 2 4 2 b. : 2 0250 ; 9 2 5 0 9 2024 1 3 2024 c. . 25 2025 2025 5 2025 Mã đề 102 Trang 2/3 Câu 14: (1,25 điểm) Tìm ; x y, biết: x y 2 1 9 a. và x y 9; b. x . 5 2 3 2 16
Câu 15: (1,0 điểm) Đầu năm học 2025 – 2026 trường phát động phong trào “Tủ sách ước mơ”, ba lớp 7 ; A 7 ;
B 7C quyên góp số sách ủng hộ các bạn học sinh khó khăn. Biết rằng số sách mỗi lớp quyên
góp tỉ lệ với 19; 20; 21 và tổng số sách quyên góp của ba lớp là 480 quyển. Hỏi mỗi lớp đã quyên
góp được bao nhiêu quyển sách?
Câu 16: (2,0 điểm) Cho hình vẽ sau, biết rằng aDB 79 ; DBE 79 . a D O M 79° ? h c B 79° 60° E
a. Chứng minh rằng đường thẳng a song song với đường thẳng . c
b. Cho Oh tia phân giác góc EOM và BEO 60 . Tính số đo góc EOh .
Câu 17: (0,5 điểm) Với giá trị nào của x thì A 10. x 2 22 đạt giá trị nhỏ nhất?
---------------------HẾT---------------------
(Học sinh không được sử dụng tài liệu. Cán bộ coi thi không giải thích gì thêm) Mã đề 102 Trang 3/3