











Preview text:
1. Tìm hiểu lịch sử phát triển của hệ điều hành :
1.1. Tổng quan về hệ điều hành :
– Hệ điều hành (Operating System - OS) là phần mềm hệ thống quản lý tài
nguyên phần cứng máy tính, phần mềm và cung cấp nền tảng cho các chương
trình máy tính. Nó đóng vai trò trung gian giữa người dùng và phần cứng, cung
cấp môi trường để người dùng tương tác với máy tính và thực hiện các tác vụ.
– Vai trò của hệ đièu hành :
Quản lý tài nguyên: Hệ điều hành quản lý và phân phối tài nguyên máy tính
như CPU, bộ nhớ, ổ đĩa, và các thiết bị ngoại vi.
Giao diện người dùng: Cung cấp giao diện đồ họa (GUI) hoặc dòng lệnh
(CLI) để người dùng có thể thực hiện các tác vụ.
Đa nhiệm: Cho phép nhiều chương trình hoạt động đồng thời và quản lý việc
chuyển đổi giữa các chương trình một cách mượt mà.
Bảo mật: Bảo vệ thông tin và ngăn chặn truy cập trái phép vào hệ thống.
– Các loại hệ điều hành :
Hệ điều hành máy tính cá nhân: Như Windows, macOS, và Linux.
Hệ điều hành di động: Như Android và iOS.
Hệ điều hành máy chủ: Như Windows Server và Linux Server.
Hệ điều hành thời gian thực: Được sử dụng trong các hệ thống nhúng và
thiết bị điều khiển tự động.
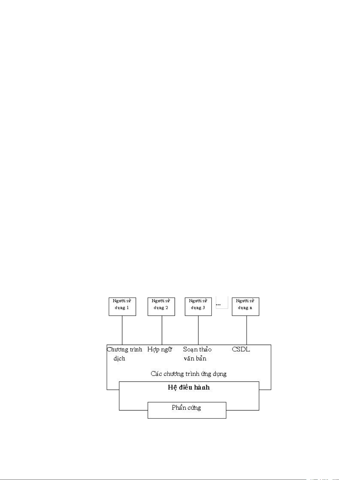
Hình 1.1. Mô hình trừu tượng của hệ thống máy tính
1.2. Lịch sử phát triển hệ điều hành :
Hệ điều hành máy tính, trái tim của mọi hệ thống máy tính, đã trải qua một quá
trình phát triển đáng kinh ngạc từ những ngày đầu của công nghệ thông tin. Khởi
nguồn từ những hệ thống đơn giản không có hệ điều hành, chúng ta đã chứng kiến
sự tiến hóa của các hệ thống phức tạp, đa nhiệm và đa người dùng, phục vụ nhu cầu
ngày càng cao của xã hội hiện đại.
Hình 1.2. ENIAC in Philadelphia, Pennsylvania. Glen Beck (background) and Betty
Snyder (foreground) program the ENIAC in building 328 at the Ballistic Research Laboratory
1.2.1. Thế hệ đầu tiên (1945 - 1955):
Vào khoảng giữa thập niên 1940, Howard Aiken ở Havard và John von
Neumann ở Princeton, đã thành công trong việc xây dựng máy tính dùng
ống chân không. Những máy này rất lớn với hơn 10000 ống chân không
nhưng chậm hơn nhiều so với máy rẻ nhất ngày nay.
Mỗi máy được một nhóm thực hiện tất cả từ thiết kế, xây dựng lập trình,
thao tác đến quản lý. Lập trình bằng ngôn ngữ máy tuyệt đối, thường là
bằng cách dùng bảng điều khiển để thực hiện các chức năng cơ bản. Ngôn
ngữ lập trình chưa được biết đến và hệ điều hành cũng chưa nghe đến.
Vào đầu thập niên 1950, phiếu đục lổ ra đời và có thể viết chương trình trên
phiếu thay cho dùng bảng điều khiển.
Hình 1.3. Hệ thống máy tính thế hệ đầu tiên UNIVAC (máy tính dùng ống chân không)
1.2.2. Thế hệ 2 (1955 - 1965) :
Sự ra đời của thiết bị bán dẫn vào giữa thập niên 1950 làm thay đổi bức
tranh tổng thể. Máy tính trở nên đủ tin cậy hơn. Nó được sản xuất và cung
cấp cho các khách hàng. Lần đầu tiên có sự phân chia rõ ràng giữa người
thiết kế, người xây dựng, người vận hành, người lập trình, và người bảo trì.
Để thực hiện một công việc (một chương trình hay một tập hợp các chương
trình), lập trình viên trước hết viết chương trình trên giấy (bằng hợp ngữ
hay FORTRAN) sau đó đục lỗ trên phiếu và cuối cùng đưa phiếu vào máy.
Sau khi thực hiện xong nó sẽ xuất kết quả ra máy in.
Hệ thống xử lý theo lô ra đời, nó lưu các yêu cầu cần thực hiện lên băng từ,
và hệ thống sẽ đọc và thi hành lần lượt. Sau đó, nó sẽ ghi kết quả lên băng
từ xuất và cuối cùng người sử dụng sẽ đem băng từ xuất đi in.
Hệ thống xử lý theo lô hoạt động dưới sự điều khiển của một chương trình
đặc biết là tiền thân của hệ điều hành sau này. Ngôn ngữ lập trình sử dụng
trong giai đoạn này chủ yếu là FORTRAN và hợp ngữ.
1.2.3. Thế hệ 3 (1965 – 1980) :
Trong giai đoạn này, máy tính được sử dụng rộng rãi trong khoa học cũng
như trong thương mại. Máy tính IBM 360 là máy tính đầu tiên sử dụng
mạch tích hợp (IC). Từ đó kích thước và giá cả của các hệ thống máy giảm
đáng kể và máy tính càng phổ biến hớn. Các thiết bị ngoại vi dành cho máy
tính xuất hiện ngày càng nhiều và thao tác điều khiển bắt đầu phức tạp.
Hệ điều hành ra đời nhằm điều phối, kiểm soát hoạt động và giải quyết các
yêu cầu tranh chấp thiết bị. Chương trình hệ điều hành dài cả triệu dòng
hợp ngữ và do hàng ngàn lập trình viên thực hiện. Hình 1.4. Máy tính IBM 360
Sau đó, hệ điều hành ra đời khái niệm đa chương. CPU không phải chờ
thực hiện các thao tác nhập xuất. Bộ nhớ được chia làm nhiều phần, mỗi
phần có một công việc khác nhau, khi một công việc chờ thực hiện nhập
xuất CPU sẽ xử lý các công việc còn lại. Tuy nhiên,khi có nhiều công việc
cùng xuất hiện trong bộ nhớ, vấn đề là phải có một cơ chế bảo vệ tránh các
công việc ảnh hưởng đến nhau. Hệ điều hành cũng cài đặt thuộc tính spool.
Giai đoạn này cũng đánh dấu sự ra đời của hệ điều hành chia xẻ thời gian
như CTSS của MIT. Đồng thời các hệ điều hành lớn ra đời như MULTICS,
UNIX và hệ thống các máy mini cũng xuất hiện như DEC PDP-1.
1.2.4. Thập niên 80 :
Giai đoạn này đánh dấu sự ra đời của máy tính cá nhân, đặc biệt là hệ thống
IBM PC với hệ điều hành MS-DOS (Microsoft Disk Operating System) và
Windows của Microsoft. MS-DOS trở thành hệ điều hành phổ biến trên các
máy tính IBM PC. Năm 1985, Microsofr ra mắt Windows 1.0, một giao
diện người dùng đồ họa chạy trên nền MS-DOS, đánh dấu bước đầu tiên
trong việc phát triển hệ điều hành Windows.
Apple cũng đóng gớp quan trọng với Macintosh System Software, sau này
gọi là Mac OS. Mac OS nổi bật với giao diện đồ họa tiên tiến, dễ sử dụng
và là hệ điều hành đầu tiên phổ biến rộng rãi giao diện người dùng đồ họa (GUI).
Bên cạnh đó là sự phát triển mạnh của các hệ điều hành tựa Unix trên nhiều
hệ máy khác nhau như Linux. Ngoài ra, từ đầu thập niên 90 cũng đánh dấu
sự phát triển mạnh mẽ của hệ điều hành mạng và hệ điều hành phân tán. Hình 1.5. Hệ thống IBM PC
Hình 1.6. Microsofr ra mắt Windows 1.0
Hình 1.7. Hệ điều hành đầu tiên của Microsoft – MS-DOS 1.0
Hình 1.8. Giao diện Mac OS thập niên 80
1.2.5. Thập niên 90 :
Những năm 1990 chứng kiến sự ra mắt của Windows 95, một bước đột phá
lớn của Microsoft với giao diện người dùng đồ họa hoàn thiện và hệ thống
file FAT32. Windows 95 đánh dấu sự chuyển đổi từ MS-DOS sang một hệ
điều hành hoàn chỉnh với nhiều tính năng tiên tiến.
Linux, do Linus Torvalds phát triển vào năm 1991, là một hệ điều hành mã
nguồn mở dựa trên UNIX. Linux nhanh chóng thu hút sự chú ý của cộng
đồng phát triển phần mềm trên toàn thế giới, mở ra phong trào mã nguồn
mở và trở thành nền tảng cho nhiều hệ thống máy chủ và thiết bị nhúng. Hình 1.9. Windows 95
Hình 1.10. Linux thập niên 90
1.2.6. Đầu thế kỷ 21 :
Vào những năm 2000, Microsoft tiếp tục thành công với Windows XP, một
hệ điều hành kết hợp các tính năng tốt nhất của các phiên bản trước đó và
mang lại sự ổn định cao hơn. Apple cũng giới thiệu Mac OS X, dựa trên nền
tảng UNIX, với giao diện Aqua đẹp mắt và khả năng ổn định cao.
Đồng thời, hệ điều hành cho điện thoại thông minh bắt đầu phát triển mạnh
mẽ. Apple ra mắt iOS vào năm 2007 cùng với iPhone, trong khi Google
giới thiệu Android vào năm 2008. Cả hai hệ điều hành này nhanh chóng
chiếm lĩnh thị trường điện thoại thông minh, liên tục cập nhật và cải tiến để
đáp ứng nhu cầu ngày càng cao của người dùng.
Hình 1.11. Hệ điều hành Windows XP
Hình 1.12. Hệ điều hành Mac OS X
1.2.7. Từ năm 2010 đến hiện nay :
Trong thập niên 2010, Microsoft ra mắt Windows 10 với thiết kế giao diện
người dùng hợp nhất và tính năng cập nhật liên tục. iOS và Android tiếp tục
thống trị thị trường điện thoại thông minh, trong khi Linux trở thành hệ điều
hành chính cho máy chủ và các dịch vụ đám mây.
Hệ điều hành ngày nay không chỉ chạy trên máy tính cá nhân mà còn trên
các máy chủ đám mây, thiết bị IoT, và nhiều loại phần cứng khác. Trí tuệ
nhân tạo và học máy cũng bắt đầu được tích hợp vào hệ điều hành, giúp cải
thiện hiệu suất và tăng cường bảo mật.
Hình 1.13. Giao diện hệ điều hành Windows 10 1.3. Tổng kết :
Lịch sử phát triển của hệ điều hành máy tính là một hành trình đầy ấn tượng, từ
những ngày đầu tiên của máy tính lớn đến sự đa dạng và phức tạp của các hệ thống hiện đại.
Tóm lại, hệ điều hành đã phát triển từ những công cụ đơn giản chỉ điều khiển phần
cứng đến những hệ thống phức tạp cung cấp giao diện người dùng đồ họa, quản lý
tài nguyên hiệu quả, và hỗ trợ đa dạng các ứng dụng từ máy tính để bàn đến thiết bị
di động và dịch vụ đám mây. Hệ điều hành tiếp tục phát triển, với AI và học máy
đang trở thành các yếu tố quan trọng trong tương lai của hệ điều hành. TÀI LIỆU THAM KHẢO
[1] https://123docz.net/document/3377738-lich-su-phat-trien-he-dieu- hanh.htm
[2] https://www.academia.edu/13276267/Ch%C6%B0%C6%A1ng_1_T
%E1%BB%95ng_quan_v%E1%BB%81_H%E1%BB%87_%C4%90i %E1%BB%81u_H%C3%A0nh
[3] https://hocday.com/bi-1-tng-quan-v-h-iu-hnh.html
[4] https://vi.wikipedia.org/wiki/L%E1%BB%8Bch_s%E1%BB%AD_h
%E1%BB%87_%C4%91i%E1%BB%81u_h%C3%A0nh
Document Outline
- 1.Tìm hiểu lịch sử phát triển của hệ điều hành :
- 1.2.Lịch sử phát triển hệ điều hành :
- 1.2.1.Thế hệ đầu tiên (1945 - 1955):
- 1.2.2.Thế hệ 2 (1955 - 1965) :
- 1.2.3.Thế hệ 3 (1965 – 1980) :
- 1.2.4.Thập niên 80 :
- 1.2.5.Thập niên 90 :
- 1.2.6.Đầu thế kỷ 21 :
- 1.2.7.Từ năm 2010 đến hiện nay :
- 1.3. Tổng kết :