Report tài liệu
Chia sẻ tài liệu
Giải - Hamtruyen
Giải - Hamtruyen
Môn: Kỹ thuật nhiệt 11 tài liệu
Trường: Đại học Bách Khoa Hà Nội 4.3 K tài liệu
Tác giả:



Tài liệu khác của Đại học Bách Khoa Hà Nội
Preview text:
Giải
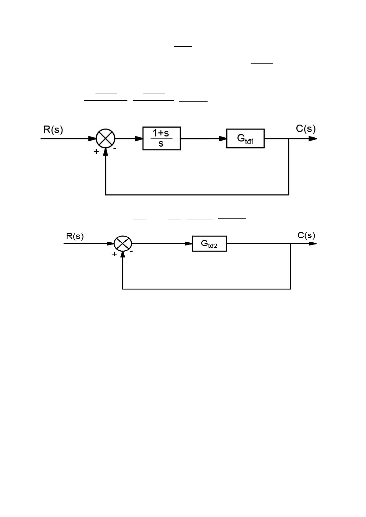
-Hàm truyền tương đương của mạch hồi tiếp dương 10 s(1+s) và 2s: 10 10 G = s(1+ s) = s(1+s) = 10 tđ 1
1− 10 .2s s (1+s)−20 s s(s−19) s (1+s ) s(1+s) 1+ s
-Hàm truyền tương đương của mạch nối tiếp G s và tđ 1 G 10
= 1+ s .G =1+ s . 10 = (1+ s) tđ 2 s tđ 1 s s(s−19) s2( s−19) 10(1+s ) 10(1+ s) C(s) s2( s−19) s2(s−19) G(s)= =G = R( s) tđ =
10(1+s) s2 (s−19)+10(1+s) 1+ s2(s−19) s2(s−19)
Document Outline
- -Hàm truyền tương đương của mạch hồi tiếp dương10
- 10 10
- 1− 10 .2 s
- -Hàm truyền tương đương của mạch nối tiếp
Tài liệu liên quan:
-
Đề cương ôn tập HK1 môn Kỹ thuật nhiệt | Trường Đại học Bách Khoa Hà Nội
47 24 -
Đồ án tốt nghiệp Thiết kế hệ thống sấy thuốc lá năng suất 5000 kg môn Kỹ thuật nhiệt | Trường Đại học Bách Khoa Hà Nội
58 29 -
Bài tập và hướng dẫn giải quyết bài tập môn Kỹ thuật nhiệt | Trường Đại học Bách Khoa Hà Nội
68 34 -
Khí lý tưởng, khí thực & chu trình Cacno môn Kỹ thuật nhiệt | Trường Đại học Bách Khoa Hà Nội
42 21