



















Preview text:
PHẦN 2: HẠNG MỤC CẤP ĐIỆN, CHỐNG SÉT
A. GIẢI PHÁP KỸ THUẬT :
- Khái quát dự án:
1. Về vị trí công trình và các công trình lân cận:
Công trình toà nhà chung cư cao tầng kết hợp dịch vụ thương mại được xây dựng
trên ô đất 3.10 - NO Lê Văn Lương gồm khối nhà cao 25 tầng và 3 tầng hầm.
Công trình được xây dựng trong khuôn viên đất đã được quy hoạch trong khuôn viên
lô đất 3.10 – NO đường Lê Văn Lương, phường Nhân Chính, quận Thanh Xuân, thành phố Hà Nội.
Công trình mặt chính tiếp giáp với đường Lê Văn Lương, phía Đông Bắc và Tây
Nam giáp đường nội bộ khu vực và phố Lê Văn Thiêm, phía Đông Nam giáp khu cơ quan
nội chính quận Thanh Xuân, khu đất Công ty cổ phần đầu tư phát triển nhà Hà Nội, Công
ty cổ phần xuất nhập khẩu thủy sản Hà Nội và khu tập thể thủy sản. Khi xây dựng công
trình, điều cần thiết đòi hỏi là đảm bảo an toàn về con người, đi lại và sự trong sạch về môi
trường, tuy nhiên cần chú ý các yêu cầu về vệ sinh môi trường, đảm bảo an toàn lao động
và phòng chống cháy nổ phải được đặc biệt lưu ý và đặt lên hàng đầu.
2. Về mặt bằng và điều kiện thi công:
- Theo thực trạng khu đất xây dựng công trình, từ đây giao thông tới các khu vựckhác
trong thành phố tương đối thuận lợi, đường vào công trình rộng rãi, trên đường vào đi qua
nhiều khu dân cư. Các phương tiện thi công của Đơn vị thi công khi được phép ra vào sẽ
phải đảm bảo an toàn giao thông. Khi ra vào tập kết và vận chuyển vật liệu phải hạn chế sự
rơi vãi ảnh hưởng đến an toàn lao động và vệ sinh môi trường.
- Mặt bằng công trường khá chật hẹp, các mặt công trình đều tiếp giáp với các khốinhà
đang hoạt động với lượng người qua lại rất nhiều nên việc cách ly khu vực thi công với khu
vực xung quanh để đảm bảo an toàn lao động, chống bụi bẩn ô nhiễm môi trường, đảm bảo
lưu thông trên đường là ưu tiên hàng đầu: nguồn điện, nguồn nước thi công, nguồn nước
sinh hoạt, phạm vi hoạt động của cẩu phải được làm việc với các cơ quan chức năng để xin cấp phép.
I, Mức độ đáp ứng yêu cầu về vật tư :
1. Vật tư, thiết bị, vật liệu chính cung cấp cho công trình:
- Tất cả vật tư, thiết bị, vật liệu được sử dụng cho công trình sẽ được Đơn vị thi
côngnhập qua các đại lý lớn, đảm bảo số lượng, chất lượng và yêu cầu của nhà sản xuất,
tuân thủ theo các quy định về kỹ thuật trong hồ sơ thiết kế kỹ thuật thi công đã được chủ
đầu tư phê duyệt. Các loại vật tư đều có kết quả chứng nhận đảm bảo yêu cầu chất lượng,
có hoá đơn xuất xưởng hàng hoá, đăng ký chất lượng của nhà sản xuất, phiếu xuất xưởng
vật liệu, kết quả thí nghiệm vật liệu và đáp ứng các tiêu chuẩn TCXDVN hiện hành.
- Đơn vị thi công sẽ đệ trình lên chủ đầu tư các chứng chỉ xác nhận chất lượng, mẫu
vậttư, cũng như nguồn gốc vật tư và chỉ tiến hành ký hợp đồng mua vật tư sau khi có đồng
ý duyệt của chủ đầu tư.
- Đơn vị thi công sẽ lưu tại văn phòng công trường một bộ đầy đủ các chứng chỉ
xácnhận nguồn gốc, kết quả thí nghiệm, kiểm định đạt yêu cầu để chủ đầu tư và cơ quan
quản lý thanh tra kiểm tra bất cứ lúc nào. Trong trường hợp nếu có yêu cầu của Chủ đầu tư
trong việc kiểm tra đột xuất chất lượng các chủng loại vật tư có trên công trường, đơn vị thi
công sẽ tuyệt đối tuân thủ để nhằm mục đích đảm bảo chất lượng của công trình.
*/ Bảng kê vật liệu chính đưa vào công trình: TT Tên vật liệu
10 Cần đèn đính tường Nhãn hiệu Nơi sản xuất Vật tư phần Ghi chú điện 1 Thiết bị đóng ngắt
LS, Roman hoặc tương đương Asia, Việt Đạt trong căn hộ TCVN, nam IEC 2 Thiết bị đóng ngắt LS, Mitsubishi, Schneider Asia, Việt Đạt TCVN, ngoài căn hộ hoặc tương đương nam IEC 2 Thiết bị đèn chiếu Roman, Rạng Đông, Duhal Việt Nam, Đạt TCVN sáng hoặc tương đương Liên danh 3 Công tắc, ổ cắm Schneider, Panasonic, Roman Việt Nam, Đạt TCVN
hoặc tương đương Liên danh 4 Ống ghen bảo vệ Sino-Vanlock, Vonta, AC- Việt Nam Đạt TCVN dây điện Comet hoặc tương đương 5 Dây cáp điện
Sunco, Cadisun, Taisin, Taya Việt Nam Đạt TCVN hoặc tương đương 6 Thang máng cáp
Việt Nam hoặc tương đương Việt Nam Đạt TCVN 7 Thanh dẫn Busway Siemen, Schneider, LS, EU, Asia Đạt TCVN
Busduct hoặc tương đương 8 Tủ modul chứa Sino-Vanlock, Vonta, AC- Việt Nam Đạt TCVN attomat Comet hoặc tương đương 9 Hệ thống tủ điện Việt Nam Đạt TCVN hạ thế Việt Nam hoặc tương Vonta, Luci Light, MDC hoặc Việt Nam, Đạt TCVN đương tương đương Trung Quốc 11 Cột đèn chiếu sáng Vonta, Luci Light, MDC hoặc Việt Nam, Đạt TCVN ngoài nhà tương đương Trung Quốc 12 Kim thu sét
Helita, LPI hoặc tương đương EU, Asia Đạt TCVN 13
INGESCO, LPI hoặc tương EU, Asia Đạt TCVN Thiết bị đếm sét đương
II, Giải pháp kỹ thuật, biện pháp thi công chủ yếu cho công tác chính :
1. Công tác chuẩn bị: -
Đơn vị thi công sẽ chuẩn bị các loại giấy phép cần thiết để triển khai các thiết
bị,máy móc đến công trường. Những máy móc, thiết bị phục vụ thi công công trình đều
được Đơn vị thi công đảm bảo về các thông số kỹ thuật theo yêu cầu, có chứng chỉ kiểm
định và đáp ứng các tiêu chuẩn Việt Nam hiện hành (xem bảng kê thiết bị thi công). - Chuẩn bị nhân công:
Đơn vị thi công sẽ huy động lực lượng công nhân lành nghề để thi công công trình đạt
chất lượng cao. Công nhân của Đơn vị thi công sẽ được trang bị đầy đủ các máy móc cầm
tay, các trang thiết bị bảo hộ lao động đồng thời được quán triệt đầy đủ các nội quy, an toàn
khi thi công trên công trường. Đội ngũ công nhân có tay nghề cao sẽ được thường xuyên duy trì tại công trình.
Dự kiến số lượng công nhân kỹ thuật thi công:(Xem bảng biểu nhân công kèm theo) -
Trong trường hợp cần thiết, để đẩy nhanh tiến độ thi công và dự phòng các
trườnghợp ốm đau, bệnh tật, Đơn vị thi công đã có phương án huy động thêm 30% lực lượng
công nhân của mỗi loại để thi công công trình.
2. Khả năng huy động thiết bị máy móc, dàn giáo của Đơn vị thi công:
Tất cả các thiết bị máy móc, dàn giáo của Đơn vị thi công huy động cho gói thầu này
hiện đang ở thành phố Hà nội với tình trạng kỹ thuật tốt và luôn sẵn sàng phục vụ cho thi công. -
Căn cứ vào tiến độ thi công, các yêu cầu của công tác thi công và kế hoạch đã
lập,Đơn vị thi công sẽ huy động các thiết bị máy móc, cốp pha, dàn giáo một cách kịp thời,
hợp lý đảm bảo thi công công trình đạt chất lượng cao. -
Trong trường hợp cần thiết, để đẩy nhanh tiến độ thi công, hoặc các máy móc
tạicông trường xảy ra sự cố, Đơn vị thi công đã chuẩn bị đầy đủ phương án tăng cường và
thay thế các máy móc này.
3 . Biện pháp thi công trong các điều kiện thời tiết khác nhau: -
Đặc điểm thời tiết của Thành phố Hà Nội là có 4 mùa rõ rệt do vậy cần liên tục
theodõi các diễn biến thời tiết trong suốt quá trình thi công để từ đó đề ra các biện pháp kỹ
thuật phù hợp đem lại chất lượng cao nhất cho công trình, đảm bảo an toàn lao động, cụ thể như sau: -
Chủ động các biện pháp chống ngập úng, hút nước trong tầng hầm khi mưa lớn. -
Có các biện pháp che mưa khi thi công, bảo vệ công trình cũng như vật tư, vật liệu. -
Thực hiện đầy đủ các biện pháp an toàn, tiếp địa chống sét cho công trình và thiết bịthi công. -
Các vật liệu, thiết bị thi công phải được sắp xếp gọn gàng, ngay ngắn, có
biệnpháp neo giữ, chống gió lốc. -
Áp dụng biện pháp và quy trình thi công thích hợp trong từng mùa, nhất là đối
vớicông tác thi công và bảo dưỡng bê tông (trong mùa Đông và trong mùa Hè).
Ngoài ra căn cứ vào hướng gió theo mùa tại thời điểm thi công, phải có biện pháp bố
trí hợp lý các khu vệ sinh công trường, các bãi tập kết vật liệu để tránh các mùi khó chịu và
bụi gây ô nhiễm môi trường.
4. Sự cần thiết phải rút ngắn thời gian thi công công trình: (ở mức độ cho phép,
trên cơ sở đảm bảo chất lượng công trình) -
Thời gian thi công công trình là một yếu tố mà cả Chủ đầu tư và Đơn vị thi
côngđều rất quan tâm. Việc sớm đưa công trình vào sử dụng sẽ giảm giá thành công trình.
Mặt khác sẽ làm giảm thời gian tồn tại và giải phóng các tác động tiêu cực trong quá trình
thi công đến giao thông khu vực. -
Về phía Đơn vị thi công, việc rút ngắn tiến độ thi công cũng sẽ mang lại hiệu
quảkinh tế cao, dẫn tới việc có thể giảm được giá dự thầu một cách hợp lý trên cơ sở tuân
thủ các yêu cầu về chất lượng của công trình. Chính vì vậy, việc rút ngắn thời gian thi công
ở mức thấp nhất có thể là một sự cần thiết.
5. Những căn cứ lập biện pháp thi công
- Căn cứ vào hồ sơ thiết kế kĩ thuật thi công công trình đã được thẩm định và phê duyệt
- Nghị định 06/2021/NĐ-CP hướng dẫn về quản lý chất lượng, thi công xây dựng và bảo trì công trình xây dựng
- Nghị định 15/2021/NĐ-CP hướng dẫn một số nội dung về quản lý dự án đầu tư xây dựng
- Nghị định 10/2021/NĐ-CP về quản lý chi phí đầu tư xây dựng
- Nghị định số 35/2023/NĐ-CP của Chính phủ: Sửa đổi, bổ sung một số điều của các Nghị
định thuộc lĩnh vực quản lý nhà nước của Bộ Xây dựng
- Thông tư 12/2021/TT-BXD về định mức xây dựng
- QCVN 18:2014/BXD: Quy chuẩn an toàn quốc gia về kỹ thuật xây dựng
- QCVN 16:2019/BXD: Quy chuẩn kỹ thuật quốc gia về sản phẩm, hàng hóa vật liệu xây dựng
- Căn cứ vào Luật Đấu Thầu số 43/2013/QH13 ngày 01 tháng 07 năm 2014 của Quốc Hội
- Căn cứ vào Luật Xây Dựng số 50/2014/QH13 ban hành ngày 01/01/2015 của Quốc Hội-
Căn cứ Nghị Định số 30/2015/NĐ-CP ngày 17 tháng 03 năm 2015 về việc: Hướng dẫn thi
hành Luật Đấu Thầu và lựa chọn nhà thầu xây dựng theo Luật Xây Dựng
- Căn cứ Nghị Định số 68/2012/ NĐ-CP về việc Sửa đổi, bổ sung một số điều của Nghịđịnh
số 85/2009/NĐ-CP ngày 15/10/2009 của chính phủ Hướng dẫn thi hành Luật Đấu
Thầu và lựa chọn nhà thầu xây dựng theo Luật xây dựng
- Căn cứ vào Nghị định số 46/2015/NĐ-CP ngày 12 tháng 05 năm 2015 của Chính phủ
vềquản lý chất lượng và bảo trì công trình xây dựng
- Căn cứ vào Nghị định số 59/2015/NĐ-CP ngày 18 tháng 06 năm 2015 của Chính phủ
vềquản lý dự án đầu tư xây dựng công trình
- Căn cứ vào tiêu chuẩn, quy chuẩn xây dựng của Việt Nam hiện hành
- Căn cứ chỉ dẫn thiết kế
- Căn cứ thực tế mặt bằng thi công công trình
- Căn cứ vào năng lực của bản thân nhà thầu
6. Các tiêu chuẩn, quy phạm được sử dụng
Đơn vị thi công áp dụng các tiêu chuẩn hiện hành của Việt Nam (trừ khi có chỉ định của Chủ đầu tư)
Tiêu chuẩn áp dụng:
- 11TCN 18 -2006: Quy phạm trang bị điện- Quy định chung
- 11TCN 19 -2006: Quy phạm trang bị điện- Hệ thống đường dây dẫn điện
- Tiêu chuẩn TCXD 16 – 86: Chiếu sáng nhân tạo trong công trình dân dụng.- TCVN 9207-
2012: Đặt đường dẫn điện trong nhà ở và công trình công cộng – Tiêu chuẩn thiết kế
- TCVN 9206-2012: Đặt thiết bị điện trong nhà ở và công trình công cộng– Tiêu chuẩn thiết kế
- TCVN 7447: 2012 - Hệ thống lắp đặt điện hạ áp.
- TCXD 4055-1985: Tổ chức thi công
- TCVN 263 – 2002: Lắp đặt cáp và dây dẫn điện cho công trình công cộng
- TCVN 7447: 2004-2006: Hệ thống lắp đặt Điện của các toà nhà
- TCVN 4086 – 1985: An toàn điện trong xây dựng. Yêu cầu chung.
- TCVN 9385:2012 - Chống sét cho công trình xây dựng – Hướng dẫn thiết kế, kiểm tra vàbảo trì hệ thống.
- TCVN 7896:2008; TCVN 8249:2013; TCVN 7897:2008; TCVN 8248:2009; TCVN
7828:2013; TCVN 8526:2010; TCVN 8252:2009; TCVN 7826:2007; TCVN 7898:2009.
- Các tiêu chuẩn IEC
7. . An toàn lao động
Thi công giáo ngoài ở trên cao và công tác thi công phục vụ an toàn là một công việc hết sức nguy hiểm.
Mọi người tham gia thi công trên công trường đều được trang bị đầy đủ bảo hộ lao đông,
được huấn luyện ATLĐ, được phát thẻ và trình bảo vệ khi ra vào công trường.
Duy trì hàng rào tạm, lưới che để ngăn cách công trường với khu vực lân cận. Lắp đặt
biển báo công trường, nội quy và khẩu hiệu an toàn.
Toàn bộ công nhân làm việc trên công trường phải được ký hợp đồng lao động, đảm bảo
sức khoẻ theo qui định, được học nội quy huấn luyện biện pháp an toàn lao động, được trang
bị mũ bảo hộ, quần áo đồng phục, giầy bảo hộ lao động và các trang bị phòng hộ cần thiết,
cấp thẻ an toàn lao động sau khi được huấn luyện.
Trong thời gian làm việc tại hiện trường nghiêm cấm mọi người không được uống rượu,
bia, hút thuốc hoặc sử dụng bất cứ một chất kích thích nào làm cho thần kinh căng thẳng.
Trên công trường phải có tủ thuốc, các phương tiện cấp cứu, có bảng các số điện thoại
cần thiết như: cấp cứu, công an, cứu hoả, chỉ huy trưởng công trình v.v...
Cấm mọi người không có nhiệm vụ không được ra vào công trường.
Mỗi công việc, mỗi công đoạn thi công cán bộ kỹ thuật phải căn cứ vào vị trí, điều kiện
làm việc, máy móc, công cụ, vật tư, vật liệu.... thực tế ở công trường để thực hiện biện pháp,
hướng dẫn cho bộ phận lao động thi công các công việc, công đoạn mà mình phụ trách, thực
hiện đúng trình tự công việc đảm bảo an toàn.
Trong quá trình làm việc phải tập trung tư tưởng, làm đúng các thao tác, quy trình quy
định, không làm bừa, làm ẩu làm việc riêng và đùa nghịch.
Chỉ làm các công việc đã được phân công và nắm vững các yêu cầu kỹ thuật và an toàn
lao động. Cấm đi lại lung tung và vào các khu vực mà mình không có nhiệm vụ.
Trước khi làm việc phải kiểm tra các công cụ, dụng cụ, vị trí làm việc, sàn công tác trang
bị phòng hộ... bảo đảm an toàn mới được làm việc.
Khi ngừng việc phải thu dọn vật tư, vật liệu thừa và dụng cụ đồ nghề để vào nơi quy định
bảo đảm an toàn, vệ sinh công nghiệp sạch sẽ.
Thợ vận hành máy móc, thiết bị được đào tạo chuyên môn, có chứng chỉ hành nghề.
Việc sửa chữa điện, đấu nỗi điện phải là thợ điện được phân công.
Chỉ được di chuyển, sửa chữa các đường dây dẫn điện khi đã ngắt nguồn điện. Người
thực hiện làm việc đó phải là công nhân điện, phải được đào tạo và cấp giấy chứng nhận đạt
yêu cầu về kỹ thuật an toàn điện.
8 . Vệ sinh công nghiệp và môi trường
Do yêu cầu thi công công trình trong điều kiện các khu vực dân cư lân cận
vẫn duy trì hoạt động bình thường nên để đảm bảo giữ gìn vệ sinh môi trường trong khu
vực, giảm ảnh hưởng của bụi, tiếng ồn, Đơn vị thi công đề ra các biện pháp sau:
Biện pháp xử lý phế thải vệ sinh môi trường.
- Luôn luôn lắp dựng giáo khi phải làm việc trên cao.
- Sắp xếp gọn gàng mọi thứ theo đúng tổng mặt bằng thi công. Cuối mỗi ngày dọn dẹp
tại chỗ, cuối mỗi tuần làm tổng vệ sinh công trường.
- Phế liệu, phế phẩm được thu gom và chuyển đi. Các xe chở vật liệu, phế thải ra vào
công trường đều được che đậy cẩn thận và được vận chuyển ra vào công trình theo quy định
về giờ chạy xe của thành phố, hạn chế tối đa mọi ảnh hưởng của công tác thi công tới môi trường xung quanh.
- Vào cuối buổi làm việc tất cả mọi công nhân đều phải dọn vệ sinh sạch sẽ vị trí làm
việc của mình. Làm ngày nào thu dọn vệ sinh ngày đó. Làm chỗ nào thu dọn chỗ đó.
- Đơn vị thi công sẽ liên hệ với cơ quan môi trường đô thị địa phương để chuẩn bị vị trí
tập kết phế thải, đảm bảo phế thải được chuyển đi trong ngày. Hợp đồng vận chuyển phế
thải với đơn vị có chức năng theo quy định.
Biện pháp bảo vệ môi trường và vệ sinh công nghiệp:
- Trước khi mở công trường, sẽ lập biện pháp cụ thể về bảo vệ môi trường trình chủ đầu tư phê duyệt.
* Các biện pháp được chọn phải đảm bảo các mục tiêu sau: -
Giảm ảnh hưởng của bụi, tiếng ồn, tiếng động mạnh...phát sinh trong quá trình
vận chuyển, bốc xếp nguyên vật liệu và các hoạt động của xe, máy thi công, không để ảnh
hưởng đến môi trường sống của dân cư trong vùng, không làm tăng tốc độ ô nhiễm vào
nguồn nước, mặt đất, không khí nói chung. -
Không làm cản trở đường giao thông. Không vì sự có mặt của công trường làm
ảnhhưởng xấu đến sinh hoạt bình thường trong khu vực. -
Bố trí cán bộ, phân công trách nhiệm tổ chức thực hiện và thường xuyên tuyên
truyền giáo dục, nhắc nhở, kiểm tra, khen thưởng và xử phạt kịp thời những thành tích và những sai phạm.
III, Tổ chức mặt bằng công trường :
1.1 Mặt bằng bố trí công trường, thiết bị thi công, kho bãi tập kết vật liệu, đường tạm thi công :
1.1.1 , Công tác chuẩn bị: -
Các lán trại tạm, khu vực được bố trí cổng, hàng rào tạm, cầu rửa xe, các biển báo
v.v… trong giai đoạn thi công phần thân được bố trí trong tổng mặt bằng thi công tại bản vẽ
biện pháp thi công tổng mặt bằng. -
Để bảo đảm việc triển khai thi công được thuận tiện, đơn vị thi công sẽ có
nhữngchuẩn bị từ trước đó về: khảo sát mặt bằng, thủ tục, máy, thiết bị, vật tư, nhân lực....
Ngay sau khi nhận được quyết định khởi công và giao mặt bằng của Chủ đầu tư, Đơn vị thi
công sẽ tiến hành ngay công tác chuẩn bị mặt bằng thi công. Do mặt bằng thi công chật hẹp,
công trình nằm gần đường giao thông, bởi vậy Đơn vị thi công chúng tôi sẽ tính toán khối
lượng vật tư, vật liệu để vận chuyển đến công trình đầy đủ theo yêu cầu tiến độ đã đề ra. Vật
liệu được chở đến công trình, làm đâu gọn đấy. Kết thúc mỗi ngày làm việc, các vật liệu
thừa sẽ được thu dọn gọn vào một chỗ dưới sự giám sát của Bảo vệ và Cán bộ an toàn lao
động – vệ sinh môi trường.
* Các công việc chuẩn bị mặt bằng bao gồm:
1.1.2 . Dọn dẹp mặt bằng, di dời các chướng ngại vật: -
Đơn vị thi công sẽ liên hệ với Chủ đầu tư và các cơ quan chức năng để thông
báo chocác đơn vị chủ quản di dời các hệ thống kỹ thuật nổi và ngầm (nếu có) trên phạm vi
mặt bằng thi công đảm bảo an toàn cho các hệ thống này và thi công thuận lợi. -
Dọn dẹp mặt bằng thi công.
1.1.3 . Tổ chức mặt bằng thi công : Dường thi công: -
Công trình nằm tiếp giáp với mặt đường. Đơn vị thi công sẽ sử dụng đường
theosơ đồ trong bản vẽ biện pháp thi công tổng mặt bằng để làm lối vào thi công. -
Chiều rộng đường tối thiểu rộng 3,5m khi chạy 1 chiều và rộng 6m khi chạy 2 chiều. Cổng thi công: -
Sau khi tiếp nhận mặt bằng từ Chủ đầu tư, Đơn vị thi công sẽ tiến hành làm hàng
ràongăn công trình với khu vực xung quanh. Cổng và hàng rào được bố trí như trong bản vẽ
thi công tổng mặt bằng.
1.1.3 . Tổ chức tổng mặt bằng thi công: -
Trong giai đoạn thi công M&E. Đơn vị thi công sẽ bố trí máy móc, vật tư,
nhânlực để thuận tiện cho thi công công trình, đơn vị thi công sẽ bố trí tổng mặt bằng nằm
trong biện pháp thi công M&E -
Tổ chức sử dụng mặt bằng thi công một cách hợp lý, khoa học, cách ly với khu
vựcxung quanh, chống bụi, ồn, ô nhiễm môi trường, phát huy hết khả năng phục vụ của mặt
bằng. Căn cứ vào hiện trạng khu vực để có các biện pháp bố trí lán trại kho tàng đủ đáp ứng
nhu cầu thi công. Các thiết bị thi công phải được bố trí trên cơ sở hiện trạng để không ảnh
hưởng đến việc vận hành thiết bị.
* Bảng kê thiết bị, máy móc phục vụ thi công chính trong giai đoạn này:
BẢNG KÊ THIẾT BỊ, MÁY MÓC DỰ KIẾN PHỤC VỤ THI CÔNG -
Đơn vị thi công cam kết cung cấp đầy đủ cho đội ngũ công nhân các chủng
loạimáy cần thiết để phục vụ cho việc hoàn thành các loại công việc có trong gói thầu
này. Các loại máy này luôn trong tình trạng tốt và được bảo quản, cất giữ trong các nhà
xưởng và kho của đơn vị thi công tại công trường. * Tổ chức kho , bãi tập kết vật liệu:
Vật tư thiết bị được cung cấp tới công trình sẽ được chúng tôi thực hiện theo quy trình sau: -
Trình mẫu, hồ sơ vật tư thiết bị: thực hiện bởi nhà cung cấp. -
Giải trình, giải thích cho tư vấn và Ban QLDA nếu có sự yêu cầu: thực hiện bởi
nhà cung cấp phối hợp với nhà thầu chính. -
Ký hợp đồng cung cấp sau khi có sự phê duyệt: nhà thầu chính ký từng hợp đồng với nhà cung cấp. -
Vận chuyển tới công trình. -
Vật tư sẽ được bảo quản trên các giá đỡ , tủ trong kho. Và được thu kho quản lý
, sắp xếp và bố trí cho phù hợp và an toàn. -
Thực hiện quy trình đưa vật tư thiết bị và sử dụng cho công trình -
Kiểm tra mẫu (tùy theo từng loại vật tư) -
Phối hợp với nhà cung cấp để thực hiện các bước sau bán hàng -
Quy trình này được thực hiện theo 2 giai đoạn: -
Giai đoạn chuẩn bị hồ sơ phê duyệt, trình mẫu - Giai đoạn cung cấp tới công
trình - Triển khai cụ thể như sau: -
Phê duyệt vật tư thiết bị được thực hiện theo các bước sau: -
Kỹ sư kỹ thuật của nhóm thi công sẽ lập kế hoạch đệ trình hồ sơ phê duyệt vật
tư thiết bị. Kế hoạch này sẽ bao gồm: chủng loại vật tư thiết bị, thời gian đệ trình. -
Kỹ sư kỹ thuật của nhóm thi công, kỹ sư trưởng nhóm thi công, kỹ sư giám sát
sẽ kiểm tra sự phù hợp của hồ sơ so với yêu cầu kỹ thuật và thiết kế. Nếu có sự sai sót,
sẽ yêu cầu cán bộ vật tư chuẩn bị lại. Hồ sơ sau khi được kiểm tra và kỹ xác nhận sẽ
được chuyển tới Ban quản lý dự án. -
Hồ sơ vật tư thiết bị đệ trình nếu không được tư vấn và Ban quản lý dự án chấp
thuận thì Kỹ sư trưởng của nhà thầu chính sẽ xác định nguyên nhân và làm các thủ tục giải trình. -
Trường hợp hồ sơ vật tư thiết bị được chấp thuận, cán bộ quản lý hồ sơ của nhà
thầu sẽ làm các thủ tục sao lưu và sẽ triển khai các bước tiếp theo: đặt hàng, vận chuyển,
cung cấp tới công trình mời BQL và TVGS nghiệm thu trước khi đưa vật tư vào sử dụng.
1.2 Thiết lập các công trình tạm thời , bố trí rào chắn, biển báo : -
Đơn vị sẽ đệ trình lên Ban quản lý các bản vẽ thiết kế và đặc tính kỹ thuật của
cácCông trình tạm thời được tuân thủ theo các yêu cầu. Chỉ khi có sự chấp thuận của
chủ đầu tư đơn vị mới tiến hành triển khai chúng trên thực địa.
Công trình tạm thời được thể hiện rõ trong bản vẽ Biện pháp thi công tổng mặt bằng
1.3 Giải pháp cấp điện ,cấp nước, thoát nước, giao thông, liên lạc trong quá trình thi công :
1.3.1.Bố trí hệ thống cấp điện -
Nguồn điện sẽ được đơn vị thi công đấu nối với nguồn điện của chủ đầu tư -
Hệ thống điện chiếu sáng công trường: sử dụng hệ thống chiếu sáng chung toàncông trường.
Khi tổ chức thi công tăng ca vào ban đêm, nhà thầu sẽ phải lắp hệ thống đèn pha
chiếu sáng phục vụ thi công riêng.
Công việc chuẩn bị và bố trí mặt bằng công trường được thể hiện trên bản vẽ bố trí tổng mặt bằng.
Yêu cầu của điện phục vụ thi công của nhà thầu ở công trường phải đảm bảo: - Đủ nhu cầu về điện. -
Liên tục trong suốt thời gian xây dựng. -
Phải thật an toàn cho các thiết bị máy móc.
* Hệ thống lưới điện tạm của công trường:
Từ nguồn phát dẫn đến các thiết bị dùng điện bằng cáp cao su, toàn bộ hệ thống điện
có sử dụng Aptomat và đồng hồ đo và nối đất phòng điện giật.
Các vị trí vướng đường giao thông thì đi ngầm dưới đất trong ống thép tráng kẽm bảo
vệ và có chỉ dẫn cấm đào khu vực đó.
Đèn chiếu sáng và thi công đêm (khi cần) dùng đèn Halogen hoặc đèn pha bóng thủy
ngân cao áp đi về 01 cầu dao chung để dễ điều khiển và sử dụng an toàn.
Từ nguồn điện của trạm biến thế, hệ thống truyền tải sẽ truyền ra cầu dao tổng TD1 (
với Aptomat đầu vào 150A, cáp Cu/XLPE/PVC 4x35mm2), sau đó triển khai hệ thống điện
thi công bằng cách lấy điện từ 2 nguồn của tủ TD1 với ap đầu vào tủ TDXN 100A, cáp 3
pha 3x25mm2 đi dây điện trên trụ gỗ cao hơn mặt đất khoảng 2.5m (Khoảng cách giữa các
trụ tùy thuộc vào từng vị trí sao cho độ chùng của dây cao hơn mặt đất ít nhất là 2.5m). Vị
trí các trụ gỗ này được bố trí theo sự đồng ý của Chủ đầu tư, ở những vị trí đặc biệt được
gia cố bằng cách đổ bê tông hoặc gia cường chắc chắn bằng các thanh chống chéo. Trên các
trụ điện này còn được bố trí làm nơi treo đèn thắp sáng. Nguồn điện thi công cấp cho các
tầng được sử dụng bằng hệ thống cáp điện chạy suốt chiều cao nhà đặt tại khu vực hành
lang, tại các tầng có cầu dao, ổ cắm điện, ngoài ra hệ thống điện thi công được tiếp đất để
đảm bảo an toàn khi sử dụng điện.
Từ các cầu dao phụ, đi dây điện tiếp đến các máy móc, thiết bị thi công và các thiết bị
chiếu sáng khác. Khi cần thi công tại những vị trí khác nhau sẽ dùng hộp cầu dao điện thi công.
Hệ thống chiếu sáng được thiết kế và lắp đặt đảm bảo ánh sáng cho việc thi công và
bảo vệ trên công trường. Hệ thống này bao gồm:
+ Hệ thống đèn pha được đặt trên các cọc hàng rào. Dùng đèn Halogen công suất 500W.
+ Hệ thống điện di động tại các vị trí thi công sử dụng đèn 500W - 1000W.
+ Tất cả các dây dẫn điện đều được tính toán, kiểm tra tiết diện cẩn thận về độ sụt điện
thế, cường độ dòng điện, độ bền của dây dẫn đủ khả năng chịu tải trong mọi điều kiện thi
công. Các dây dẫn này đều được căng trên trụ gỗ cao nên không gây cản trở cho người, xe
cộ và các phương tiện vận chuyển, đi lại trong công trường.
1.3.2 . Bố trí hệ thốn g cấp nước :
* Nguồn nước thi công: -
Đơn vị thi công sẽ sử dụng là nước sinh hoạt, kết hợp nguồn nước giếng khoan
(sẽđược đem đi kiểm nghiệm) đảm bảo các quy định về nước thi công theo quy phạm.
1.3.3 . Bố trí hệ thống thoát nước: -
Để thực hiện việc thoát nước mặt, nước mưa cho khu vực thi công cũng như
tránhngập úng. Đơn vị thi công thực hiện biện pháp sau: làm các rãnh thoát nước và hố ga
thu nước mặt xung quanh công trình, sử dụng máy bơm, bơm nước từ các hố ga thu theo
đường ống PVC dẫn nước ra các hố ga lọc, sau cùng mới thoát ra hệ thống thoát nước chung của khu vực.
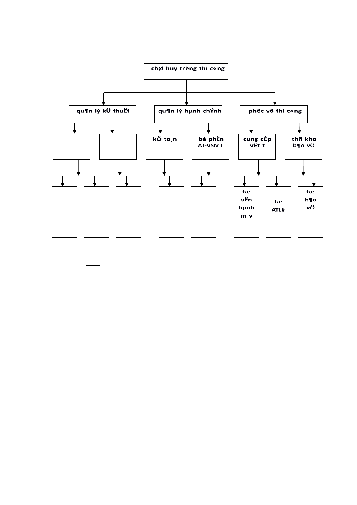
IV. Hệ thống tổ chức :
IV.1 Sơ đồ tổ chức hiện trường TRƯỞNG TRƯỞNG NHÓM KT NHÓM KT ĐIỆN NƯỚC ĐỘI THI ĐỘI THI ĐỘI THI ĐỘI THI ĐỘI THI CÔNG CÔNG CÔNG CÔNG CÔNG HỆ HỆ HỆ HỆ HỆ THỐNG THỐNG THỐNG THỐNG THỐNG ĐIỆN 1 ĐIỆN 2 ĐIỆN 3 ĐIỆN 4 ĐIỆN 5
IV.2 Thuyết minh sơ đồ tổ chức hiện trường:
1. Chỉ huy trưởng công trình:
Có trách nhiệm và thẩm quyền quan hệ trực tiếp với Chủ đầu tư để giải quyết vấn đề
liên quan đến việc thi công như: Tổ chức thi công công trình, thay đổi thiết kế, phát sinh
công việc, thay đổi vật tư, vật liệu đưa vào thi công công trình, tổ chức kiểm tra kỹ thuật …
thống nhất chương trình nghiệm thu, bàn giao với Chủ đầu tư. Chịu trách nhiệm tổ chức hồ
sơ hoàn công, thanh quyết toán theo giai đoạn và toàn bộ công trình. Chịu trách nhiệm về
hạch toán chi tiêu trong nội bộ công trình và có quyền giải quyết thu, chi mua vật tư trong phạm vi công trình.
Chỉ đạo thực hiện nghiêm ngặt các biện pháp kỹ thuật lớn, các giải pháp trong thi
công. Quản lý trực tiếp các nhân viên và đội sản xuất.
2. Các bộ phận giúp việc cho Ban Chủ huy công trường:
Các bộ phận này phối hợp với nhau nhằm giúp Ban Chỉ huy điều hành thi công nhịp
nhàng, kinh tế với chất lượng cao, thực hiện tốt quy trình thi công theo quy định chung của
Ngành và của Nhà nước.
a. Bộ phận kỹ thuật:
Gồm các kỹ sư giỏi, có kinh nghiệm, chuyên ngành như: Kỹ sư xây dựng, kỹ sư trắc
đạc, kỹ sư điện, kỹ sư cấp thoát nước có thâm niên nhiều năm thi công công trình tương tự
trực tiếp thi công các hạng mục công việc.
Căn cứ theo tiến độ thi công đã được Chủ đầu tư phê duyệt để đề ra các kế hoạch thi
công cụ thể cho từng công tác, từng hạng mục: lập kế hoạch cung ứng vật tư, thiết bị cho
từng giai đoạn nhằm đảm bảo các công việc sẽ được thi công một cách nhanh nhất nhưng
tất cả các công việc, các hạng mục vẫn phải được thi công phối hợp một cách hợp lý theo
đúng trình tự công nghệ, đảm bảo chất lượng công trình.
Giám sát thi công về kỹ thuật, khối lượng, chất lượng và an toàn lao động, vệ sinh môi
trường cho việc thi công tại từng hạng mục cũng như trên toàn bộ công trường.
b. Bộ phận Hành chính và ATLĐ-VSMT:
* Bộ phận Hành chính - Kế toán - Bảo vệ đảm bảo các công việc:
- Giữ gìn an ninh chung cho công trường thi công.
- Đảm bảo việc thông tin liên lạc giữa công trường với Chủ đầu tư, với Công ty
vàcác cơ quan chức năng có liên quan khác.
- Thực hiện công tác BHXH, BHYT và triển khai các công tác y tế khi cần thiết.
- Thực hiện việc tổng hợp khối lượng thi công theo từng kỳ rồi trình lên Chủ đầu
tư,Công ty để làm thủ tục thanh quyết toán cho các công việc đã hoàn thành.
* Bộ phận ATLĐ-VSMT: Giúp việc trực tiếp cho Ban Chỉ huy công trình, bộ phận này
có trách nhiệm giám sát toàn bộ tình hình thực hiện các nội quy, quy định về đảm bảo chất
lượng trong từng khâu của quá trình thi công, phối hợp với các nhóm ATLĐ-VSMT thuộc
bộ phận kỹ thuật thi công trực tiếp thi công các hạng mục công trình để đảm bảo an toàn lao
động và vệ sinh môi trường trên toàn bộ phạm vi công trường.
Đối với công tác an toàn lao động và VSMT, hàng tuần, bộ phận này sẽ kiểm điểm các
hoạt động trong tuần, lập báo cáo tuần, đề xuất an toàn trình lên Ban Chỉ huy công trường
để làm cơ sở ra các quyết định chỉ đạo đối với các công việc đang tiến hành và có định
hướng chỉ đạo cho các công việc tiếp theo.
c. Bộ phận phục vụ thi công (vật tư):
Đảm bảo cung cấp kịp thời, đầy đủ vật tư cho công trình, không được làm ảnh hưởng
tới tiến độ thi công công trình. Nhiệm vụ chính của cơ quan cung ứng vật tư là đặt và nhận
hàng (Như các chủng loại vật liệu xây dựng, bán thành phẩm, các chi tiết, cấu kiện, trang
thiết bị phục vụ thi công công trình). Sau đó căn cứ vào tiến độ thi công cấp phát vật tư,
trang thiết bị cho người thi công.
3. Các đội thi công:
Bên dưới bộ phận kỹ thuật là các đội thi công chuyên ngành, các đội thi công này do
các kỹ sư có kinh nghiệm trực tiếp chỉ huy. Dưới đội là các tổ trưởng và an toàn viên làm
việc theo khu vực, hạng mục công trình được phân công. Đội trưởng chịu trách nhiệm về
chất lượng, tiến độ, an toàn trong khu vực của mình và quyết toán lương của đội gửi cho bộ
phận giúp việc để thanh toán lương và khối lượng hàng tháng.
4. Trách nhiệm và thẩm quyền giải quyết được giao phó cho quản lý hiện trường:
- Giải quyết các công việc đảm bảo chất lượng an toàn tiến độ của công trình tại hiệntrường.
- Lập báo cáo tình hình thực hiện tiến độ thi công hàng tuần vào sáng thứ hai gửi chochủ đầu tư.
- Quan hệ trực tiếp với chủ đầu tư giải quyết những vướng và phát sinh trong quá trìnhthi công.
- Lập thanh quyết toán công trình với Chủ đầu tư .
- Chủ động quyết định về tài chính trong suốt quá trình thi công.
- Cung cấp các số liệu, biên bản làm hồ sơ hoàn công công trình để trụ sở chính
làmhồ sơ hoàn công nộp cho Chủ đầu tư.
B. BIỆN PHÁP TỔ CHỨC THI CÔNG: * TRÌNH TỰ THI CÔNG:
- Đây là một công trình nằm trong thành phố và gần với khu dân cư đông
đúc, điềukiện thi công nhất là giao thông ra vào công trình tương đối khó khăn, tuy
nhiên phải đáp ứng nhu cầu về tiến độ, đảm bảo an toàn giao thông và vệ sinh môi
trường. Mục tiêu của Đơn vị thi công chúng tôi là thi công đúng tiến độ đã đề ra, đạt chất lượng cao.
- Đơn vị thi công sẽ đưa ra một trình tự thi công hợp lý, khoa học cùng với
việc huyđộng năng lực về thiết bị và nhân lực, vật tư cần thiết để điều phối tốt và
nhịp nhàng, tránh chồng chéo giữa các đầu mục công việc.
- Thời gian thi công được rút ngắn nhất ở mức có thể mà vẫn đảm bảo chất lượngcho công trình.
I. Biện pháp thi công phần điện:
1. Lắp đặt hệ thống máng, thang cáp:
1.1. Vật liệu :
- Đệ trình catalogue sản phẩm máng cáp, thang cáp và các phụ kiện dùng để lắp đặt.
- Đệ trình bản vẽ thi công chi tiết: bao gồm đường đi, kích thước, cao độ, các mặt cắt,
mặt dựng, và các bản vẽ chi tiết khác cần thiết cho việc thi công.
- Máng cáp, thang cáp để lắp đặt phải phù hợp tiêu chuẩn kỹ thuật, thang máng cáp được
sơn tĩnh điện, có biên bản nghiệm thu, biên bản kiểm tra độ dày và được sư phê duyệt của chủ đầu tư.
1.2. Công tác chuẩn bị :
- Chuẩn bị các máy móc và dụng cụ thi công như: giàn giáo, thang chữ A, khoan, cưa,
máy cắt, thước đo, thiết bị lấy dấu, …..
- Lắp đặt giàn giáo và các thang chữ A để làm việc trên cao.
- Giàn giáo và các thang chữ A phải đảm bảo tuyệt đối an toàn cho công nhân, nhằm
phóng tránh những tai nạn xảy ra khi làm việc.
- Căng dây lấy dấu để định tuyến đường đi cho thang, máng cáp.
- Xác định vị trí chính xác, lấy dấu để tiến hành khoan lỗ bắt vít nở và treo thanh tiren
thẳng hàng, ngay ngắn, chắc chắn và đúng theo bản vẽ thi công ( hướng thang, máng cáp,
cao độ thang máng, khoảng cách lắp đặt giá đỡ). Các tuyến thang, máng đi ngang sẽ được
nhà thầu lắp ghép thành từng đoạn trên sàn trước khi chuyển lên lắp đặt vào giá đỡ, các
tuyến thang, máng đi đứng sẽ được nhà thầu lắp đặt từ dưới lên. 1.3
. Biện pháp lắp đặt : 1.3.1
Lắp đặt giá đỡ cho hệ thống máng cáp, thang cáp :
- Tiến hành lắp đặt giá đỡ cho các tuyến máng cáp, thang cáp. Tiêu chuẩn để lắp đặt giá
đỡ sẽ phụ thuộc vào bản vẽ thiết kế .
Hình 1: Chi tiết lắp đặt thang máng cáp đi thẳng đứng
H×nh 2: Chi tiÕt l¾p ®Æt thang m¸ng c¸p. (®iÓn h×nh) kiÓu 1 1.3.2
Lắp đặt máng cáp, thang cáp :