






















Preview text:
lOMoARcPSD| 38777299
CHƯƠNG 4.- ĐO ĐIỆN TRỞ 4.1.- Khái niệm.
Điện trở là một trong những ại lượng iện quan trọng. Hiểu một cách ơn giản,
iện trở ặc trưng cho tính chất cản trở dòng iện của một vật dẫn iện, nếu một vật dẫn
iện tốt thì iện trở nhỏ, vật dẫn iện kém thì iện trở lớn, vật cách iện thì iện trở là vô
cùng lớn. Mặt khác, iện trở còn ặc trưng cho quá trình tiêu thụ iện năng và biến ổi
iện năng sang dạng năng lượng khác như nhiệt năng, quang năng, cơ năng v…v.
Chính vì thế, khi sử dụng iện trở cho một mạch iện thì một phần năng lượng
iện sẽ bị tiêu hao ể duy trì mức ộ chuyển dời của dòng iện. Nói một cách khác thì
khi iện trở càng lớn thì dòng iện i qua càng nhỏ và ngược lại khi iện trở nhỏ thì dòng
iện dễ dàng ược truyền qua. Khi dòng iện có cường ộ I chạy qua một vật có iện trở
R, iện năng ược chuyển thành nhiệt năng với công suất theo phương trình sau : P = I2 . R trong ó : P là công suất, o theo W
I là cường ộ dòng iện, o bằng A R là iện trở, o theo Ω.
Yêu cầu cơ bản ối với giá trị iện trở ó là ít thay ổi theo nhiệt ộ, ộ ẩm và thời
gian... Điện trở dẫn iện càng tốt thì giá trị của nó càng nhỏ và ngược lại.
Chính vì lý do này, khi phân loại iện trở, người ta thường dựa vào công suất
mà phân loại iện trở tức phân loại iện trở theo giá trị Omh của chúng. Và theo cách
phân loại dựa trên công suất, thì iện trở thường ược chia làm 3 loại : -
Điện trở công suất nhỏ, có giá trị nhỏ từ 1 kΩ trở xuống. -
Điện trở công suất trung bình, có giá trị trung bình từ 1 kΩ ến 0,1 MΩ. -
Điện trở công suất lớn, có giá trị từ 0,1 MΩ trở lên.
Tuy nhiên, do ứng dụng thực tế và do cấu tạo riêng của các vật chất tạo nên
iện trở nên thông thường, iện trở ược chia thành 2 loại : -
Điện trở : là các loại iện trở có công suất trung bình và nhỏ hay
là các iện trở chỉ cho phép các dòng iện nhỏ i qua. -
Điện trở công suất : là các iện trở dùng trong các mạch iện tử có
dòng iện lớn i qua hay nói cách khác, các iện trở này khi mạch hoạt ộng sẽ lOMoARcPSD| 38777299
tạo ra một lượng nhiệt năng khá lớn. Chính vì thế, chúng ược cấu tạo nên từ
các vật liệu chịu nhiệt.
Cách ghi và ọc tham số iện trở : Quy ước mầu Quốc tế Bảng màu iện trở.
Cách ọc giá trị các iện trở này thông thường cũng ược phân làm 2 cách ọc, tuỳ
theo các ký hiệu có trên iện trở. Dưới ây là hình về cách ọc iện trở theo vạch màu trên iện trở.
Đối với các iện trở có giá trị ược ịnh nghĩa theo vạch màu thì chúng ta có 3
loại iện trở : Điện trở thường ược ký hiệu bằng 4 vạch màu, iện trở chính xác thì ký
hiệu bằng 5 vạch màu và 6 vạch màu. Loại iện trở 4 vạch màu và 5 vạch màu ược
chỉ ra trên hình vẽ. Khi ọc các giá trị iện trở 5 vạch màu và 6
vạch màu thì chúng ta cần phải ể ý một chút vì có sự khác nhau một chút về
các giá trị. Tuy nhiên, cách ọc iện trở màu ều dựa trên các giá trị màu sắc ược ghi
trên iện trở 1 cách tuần tự :
Cách ọc iện trở 4 vòng mầu : lOMoARcPSD| 38777299
- Vòng số 4 là vòng ở cuối luôn luôn có mầu nhũ vàng hay nhũ bạc, ây là vòng chỉ
sai số của iện trở, khi ọc trị số ta bỏ qua vòng này.
- Đối diện với vòng cuối là vòng số 1, tiếp theo ến vòng số 2, số 3 -
Vòng số 1 và vòng số 2 là hàng chục và hàng ơn vị .
- Vòng số 3 là bội số của cơ số 10.
- Trị số = (vòng 1)(vòng 2) x 10 ( mũ vòng 3).
- Có thể tính vòng số 3 là số con số không "0" thêm vào.
- Mầu nhũ chỉ có ở vòng sai số hoặc vòng số 3, nếu vòng số 3 là nhũ thì số mũ của cơ số 10 là số âm.
Cách ọc trị số iện trở 5 vòng mầu :
- Vòng số 5 là vòng cuối cùng , là vòng ghi sai số, trở 5 vòng mầu thì mầu sai số có
nhiều mầu, do ó gây khó khăn cho ta khi xác iịnh âu là vòng cuối cùng, tuy nhiên
vòng cuối luôn có khoảng cách xa hơn một chút.
- Đối diện vòng cuối là vòng số 1. lOMoARcPSD| 38777299
- Tương tự cách ọc trị số của trở 4 vòng mầu nhưng ở ây vòng số 4 là bội số của cơ
số 10, vòng số 1, số 2, số 3 lần lượt là hàng trăm, hàng chục và hàng ơn vị.
- Trị số = (vòng 1)(vòng 2)(vòng 3) x 10 ( mũ vòng 4).
- Có thể tính vòng số 4 là số con số không "0" thêm vào.
Ví dụ : như trên hình vẽ, iện trở 4 vạch màu ở phía trên có giá trị màu lần lượt
là : xanh lá cây/xanh da trời/vàng/nâu sẽ cho ta một giá trị tương ứng như bảng màu
lần lượt là 5/6/4/1%. Ghép các giá trị lần lượt ta có 56 x 104Ω = 560kΩ và sai số iện trở là 1%.
Tương tự iện trở 5 vạch màu có các màu lần lượt là : Đỏ/cam/tím/ en/nâu sẽ
tương ứng với các giá trị lần lượt là 2/3/7/0/1%. Như vậy giá trị iện trở chính là 237 x 100 = 237Ω, sai số 1%.
4.2.- Đo iện trở bằng Volt kế và Ampe kế.
Theo ịnh luật Ohm, ta có : R = U I
Như vậy, ể xác ịnh giá trị iện trở ta sử dụng ampe kế và volt kế. Ở phương
pháp này, ta xác ịnh giá trị iện trở ang hoạt ộng ( o nóng) theo yêu cầu.
Có hai cách mắc mạch là (hình 4.1) : -
Mắc rẽ dài hay ampe kế mắc sau, nghĩa là mắc volt kế trước, ampe kế mắc sau. -
Mắc rẽ ngắn hay ampe kế mắc trước, nghĩa là mắc ampe kế trước, volt kế mắc sau. lOMoARcPSD| 38777299
Hình 4.1.- Mắc Vol kế và Ampe kế o iện trở.
4.2.1.- Mắc rẽ ngắn (ampe kế mắc trước).
Do volt kế mắc song song với iện trở tải, ta có : IA = IV + IR
Nếu IR >> IV thì sai số do ảnh hưởng của volt kế không áng kể.
Thật vây, iện trở tương ương của nội trở của volt kế và iện trở tải ược xác ịnh : R RV .X RX RX' = = R R V X 1 RX RV
Sai số tương ối của phép o ∆ % là : ∆ % = .100% = ( 1 - 1) . 100% AT 1 RX RV R
Để sai số ∆ % nhỏ nhất thì biểu thức (1 + X ) → 1 RV R
Nghĩa là X → 0 hay RV >> RX RV
4.2.2.- Mắc rẽ dài (ampe kế mắc sau).
Do ampe kế mắc nối tiếp với iện trở cần o nên tổng trở ược xác ịnh theo biểu thức sau :
RX' = RA + RX hay U = UA + URX Sai
số tương ối của phép o : ∆ % = RX
RA RX = RA . 100% RX RX
Để giảm thiểu sai số tương ối ∆ % thì RX >> RA (nghĩa là URX >> UA).
4.3.- Đo iện trở bằng Omh mét. lOMoARcPSD| 38777299
4.3.1.- Omh mét mắc nối tiếp.
4.3.1.1.- Nguyên lý o iện trở.
Đồng hồ o van năng còn có tên gọi khác là Multimeter VOM, ây là loại ồng hồ dùng
ể o iện áp, dòng iện và iện trở. Trường hợp dùng Ohm kế ể o iện trở thì trạng thái o
là phần tử iện trở o RX không có năng lượng ( o nguội), mạch o sẽ phải sử dụng
nguồn pin riêng (hình 4.2) :
Hình 4.2.- Mạch o iện trở khi mắc nối tiếp với Om kế.
Đây là mạch Ohm kế mắc nối tiếp, dòng iện qua cơ cấu chỉ thị Im : Eb Im = R R R X 1 m trong ó :
R1 là iện trở chuẩn của thang o,
Rm là nội trở của cơ cấu o.
Khi RX → 0 Ohm , Im → Imax (dòng cực ại của cơ cấu từ iện)
Khi RX → ∞ , Im → 0 (không có dòng qua cơ cấu o).
4.3.1.2.- Mạch o iện trở thực tế (hình 4.3).
Hình 4.3.- Mạch o iện trở thực tế khi mắc nối tiếp với Om kế.
Trong thực tế, nguồn pin E có thể thay ổi. Khi RX → 0 Ohm, dòng iện Im qua
cơ cấu o không bằng Imax , do ó mạch o có thể mắc thêm R2 , biến trở này dùng ể
chỉnh iểm "0" cho mạch o khi Eb thay ổi. Do ó, trước khi o ta phải ngắn mạch AB lOMoARcPSD| 38777299
(nối tắt iện trở RX - ộng tác chập hai que o) và iều chỉnh R2 (nút Adj của ồng hồ
VOM) ể cho kim chỉ thị của Omh kế chỉ "0". Theo mạch trên dòng Ib : Eb Ib = R R R X 1 2// Rm
Nếu R2//Rm << R1 thì : Eb Ib = RX R1
Như vây, iện áp Vm ược xác ịnh : Vm = Ib (R2 // Rm) V I R R Dòng iện I m b( // 2 m)
m qua cơ cấu chỉ thị : Im = = Rm Rm
Do ó mỗi lần o ta cho RX → 0 bằng cách iều chỉnh R2 ể cho Eb (R2// Rm) Im = x = Imax R1 Rm
Như vậy, việc iều chỉnh giá trị iện trở R2 có tác dụng khi Eb có sự thay ổi (do nguồn
pin sử dụng lâu ngày sẽ bị yếu) thì sự chỉ thị giá trị iện trở RX sẽ không thay ổi.
4.3.2.- Omh mét mắc song song.
Là loại dụng cụ o, trong ó iện trở cần o Rx mắc song song với cơ cấu chỉ thị (hình 4.4.a) :
Ưu iểm của Omh mét loại này là có thể o ược iện trở tương ối nhỏ (cỡ kΩ trở
lại) và iện trở vào của Omh mét RΩ nhỏ khi dòng iện từ nguồn cung cấp không lớn lắm. lOMoARcPSD| 38777299 a) b)
Hình 4.4.- Mạch o iện trở khi Omh kế mắc song song.
Do Rx mắc song song với cơ cấu chỉ thị nên khi Rx = ∞ (chưa có Rx) dòng iện qua
chỉ thị là lớn nhất (I với CT = ICtmax)
Rx = 0 dòng iện qua chỉ thị ICT ≈ 0. Thang o ược
khắc ộ giống như Von mét (hình 4.4.b).
Điều chỉnh thang o của Omh mét trong trường hợp nguồn cung cấp thay ổi cũng
dùng một biến trở RM và iều chỉnh ứng với RX = ∞ .
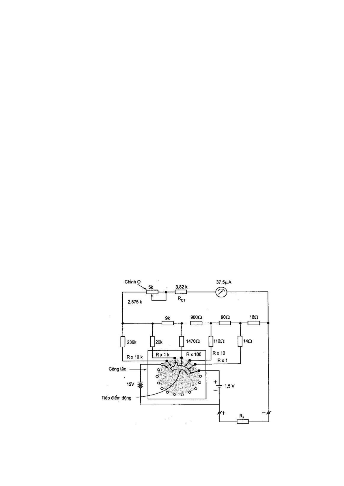
4.3.2.- Omh mét nhiều thang o.
Khi sử dụng Omh mét nhiều thang o là thực hiện theo nguyên tắc chuyển từ
giới hạn o này sang giới hạn o khác bằng cách thay ổi iện trở của Omh mét với một
số lần nhất ịnh sao cho khi RX = 0 thì kim chỉ thị vẫn ảm bảo lệch thang o (nghĩa
là dòng qua cơ cấu o bằng giá trị ịnh mức ã chọn).
Sơ ồ của Omh mét nhiều thang o cho trong hình 4.5.
Hình 4.5.- Mạch o Omh mét nhiều thang o. lOMoARcPSD| 38777299
Để mở rộng giới hạn o của Omh mét có thể thực hiện bằng cách dùng nhiều
nguồn cung cấp và các iện trở phân dòng ( iện trở sun) cho các thang cấp với các iện
trở sun tương ứng có chất lượng tốt.
4.4.- Đo iện trở bằng cấu o (phương pháp so sánh).
Ở phương pháp này, thường dùng cầu o iện trở. Cầu o iện trở thường ược chia
thành hai loại : cầu ơn (cầu Wheatstone) và cầu kép (cầu Kelvin).
Cầu Wheatstone là thiết bị dùng ể xác ịnh giá trị iện trở rất chính xác và
thường ược dùng trong phòng thí nghiệm vì những ưu iểm của nó. Có hai phương pháp o : - Phương pháp cân bằng.
- Phương pháp không cân bằng.
4.4.1.- Đo iện trở bằng cầu Wheatstone cân bằng.
Cầu Wheatstone ược mắc như hình 4.6 :
Hình 4.6.- Mạch o cầu Wheatstone cân bằng.
Trong ó : Điện trở R1, R2, R3 là các iện trở mẫu.
R2 & R3 là các iện trở cố ịnh; R1 là iện trở iều chỉnh ược.
G là iện kế chỉ iểm 0. RX là iện trở cần o.
Khi o, ta chỉnh các giá trị iện trở R1, R2, R3 cho ến khi iện kế G chỉ 0. Khi cầu
cân bằng, dòng iện qua iện kế G bằng 0, nghĩa là UA = UC , Hay UR1 = UR2 và URX = UR3
I1. R1 = I2 . R2 và I1 . RX = I2 . R3 lOMoARcPSD| 38777299 R1 R2 R R1.3 Suy ra = hay RX = RX R3 R2
Với phương pháp o này RX sẽ ược so sánh với các iện trở mẫu.
Ta nhận thấy, kết quả o iện trở RX không phụ thuộc vào nguồn cung cấp cho
mạch iện, ây là ưu iểm của cấu o Wheatstone. Tuy nhiên phương pháp thao tác phúc
tạp vì phải iều chỉnh các iện trở mẫu nhiều lần và giá trị iện trở cần o RX lại phụ
thuộc vào ộ nhạy của iện kế G. Độ nhạy của iện kế G càng cao thì sự xác ịnh cân
bằng càng úng và phụ thuộc vào dây nối và iện trở tiếp xúc ở các mối nối. Ngoài ra
sai số ở các iện trở mẫu cũng ảnh hưởng ến sai số của R , chẳng hạn, nếu sai số của X
các iện trở mẫu lần lượt là ∆R1 = ∆R2 = ± 0,5%, ∆R3 = ± 10% thì sai số của iện trở khi o là :
∆R = ∑R1,2,3 = ∆R1 + ∆R2 + ∆R3 = 0,5% + 1% + 1% = ± 2,5%
Với iện trở bất kỳ RX , ể cầu Wheatstone cân bằng, ta thay ổi tỷ số giữa R1/R2
= k (k là hệ số nhân) và thay ổi giá trị của iện trở R3 , iện trở R3 có giá trị thay ổi
từng cấp, mỗi cấp có giá trị 0,1 Ohm hoặc từng Omh một như các cầu Wheatstone
trong phòng thí nghiệm. Khi giữ nguyên R2 thì ta sẽ có các hệ số nhân khác nhau,
nên có thể mở rộng thang o của cầu như hình 4.7 (gọi là cầu hộp) : Hình 4.7.- Cầu hộp.
Điện trở R5 dùng iều chỉnh ộ nhạy cảm của chỉ thị chỉ không. Trước khi o,
khóa K ược mở ra ể iều chỉnh thô (bảo vệ quá dòng iện cho chỉ thị). Khi cầu ã tương
ối cân bằng người ta óng khóa K lại ể chỉnh tinh cho ến khi cầu cân bằng hoàn toàn. lOMoARcPSD| 38777299
Độ chính xác của cấu cân bằng phụ thuộc vào ộ nhạy của chỉ thị và iện áp
cung cấp, vì vậy chỉ thị không cần có ộ nhạy cảm cao, nguồn cung cấp ảm bảo dòng
qua chỉ thị không vượt quá dòng cho phép.
Ngoài sơ ồ cầu hộp, trong thực tế còn sử dụng cầu biến trở (hình 4.8) :
Trong cầu biến trở, iện trở R2 & R3 là một biến trở có thể thay ổi trị số, R1 là
một dãy các iện trở có trị số lớn hơn nhau 10 lần. Khi ó, iện trở RX ược mắc vào
mạch và iều chỉnh trị số R3/R2 cho ến khi chỉ thị Zêro (cầu ã cân bằng).
Hình 4.8.- Cầu biến trở.
Giá trị iện trở cần o RX ược xác ịnh theo công thức : R3 RX = R1 . R2
Muốn mở rộng giải o của cầu bằng cách chế tạo iện trở R1 thành nhiều iện trở
có giá trị khác nhau và thông qua chuyển mạch B ể thay ổi các giá trị.
Ưu iểm của cầu biến trở là chế tạo gọn nhẹ nhưng ộ chính xác không cao do
sai số của biến trở và con chạy.
Cấp chính xác của cầu ơn o iện trở thuần phụ thuộc vào giới hạn o. Ứng dụng
của phương pháp dùng cầu Wheatstone là xác ịnh chỗ chạm "mass" của dây cáp iện (hình 4.9) : lOMoARcPSD| 38777299
Hình 4.9.- Dùng cầu Wheatstone xác ịnh chỗ chạm mass.
Giả sử : UV là oạn dây cáp còn tốt,
XY là oạn dây cáp bị chạm vỏ,
Các oạn dây cáp UV, XY có chiều dài là L và iện trở của các oạn dây này là R. Khi
cầu Wheatstone cân bằng, ta có : R1 2R Rx 2 .R R2 = suy ra RX = R2 Rx R1 R2
Do chiều dài dây dẫn tỷ lệ với iện trở của dây dẫn, nên ta có : R2 LX = 2L . R R 1 2
4.4.2.- Đo iện trở bằng cầu Wheatstone không cân bằng.
Trong công nghiệp, thường dùng nguyên lý cầu Wheatstone không cân bằng
(hình 4.10), nghĩa là căn cứ vào iện áp ra hay dòng iện ra ở ngõ ra của cầu
Wheatstone ể o iện từ hay sai số ∆R của phần tử o. Phương pháp này cần có nguồn
cung cấp ổn ịnh vì iện áp ra phụ thuộc vào nguồn cung cấp E, ngoài ra sai số còn
phụ thuộc vào các iện trở mẫu thành phần của cầu Wheatstone. Còn ộ nhạy của cầu
lại phụ thuộc vào nguồn cung cấp E và nội trở của bộ chỉ thị. lOMoARcPSD| 38777299
Hình 4.10.- Mạch o cầu Wheatstone không cân bằng.
Khi tháo iện kế G ra khỏi mạch, ta có :
. Tổng trở ược xác ịnh R∑ = ( R1 // RX ) + ( R2 // R3 ) R R
. Điện áp ở ngõ ra của cầu U X 2 A - UC = E . ( - ) R 1 RX R R2 3
Như vậy mạch tương ương của cầu ược xác ịnh. Do ó dòng iện IG qua iện kế khi cầu không cân bằng : U U A C IG =
trong ó rG là nội trở của iện kế G. r rG
4.4.3.- Đo iện trở bằng cầu kép (cầu Kelvin).
Cầu kép là thiết bị o iện trở nhỏ và rất nhỏ mà các cầu ơn trong quá trình o
không thuận tiện và có sai số lớn do iện trở nối dây và iện trở tiếp xúc.
Các iện trở có trị số nhỏ như iện trở sun của ampe mét phải có các ầu ra iện trở xác
ịnh chính xác. Để tránh những sai số do tiếp xúc khi chịu những dòng iện lớn gây
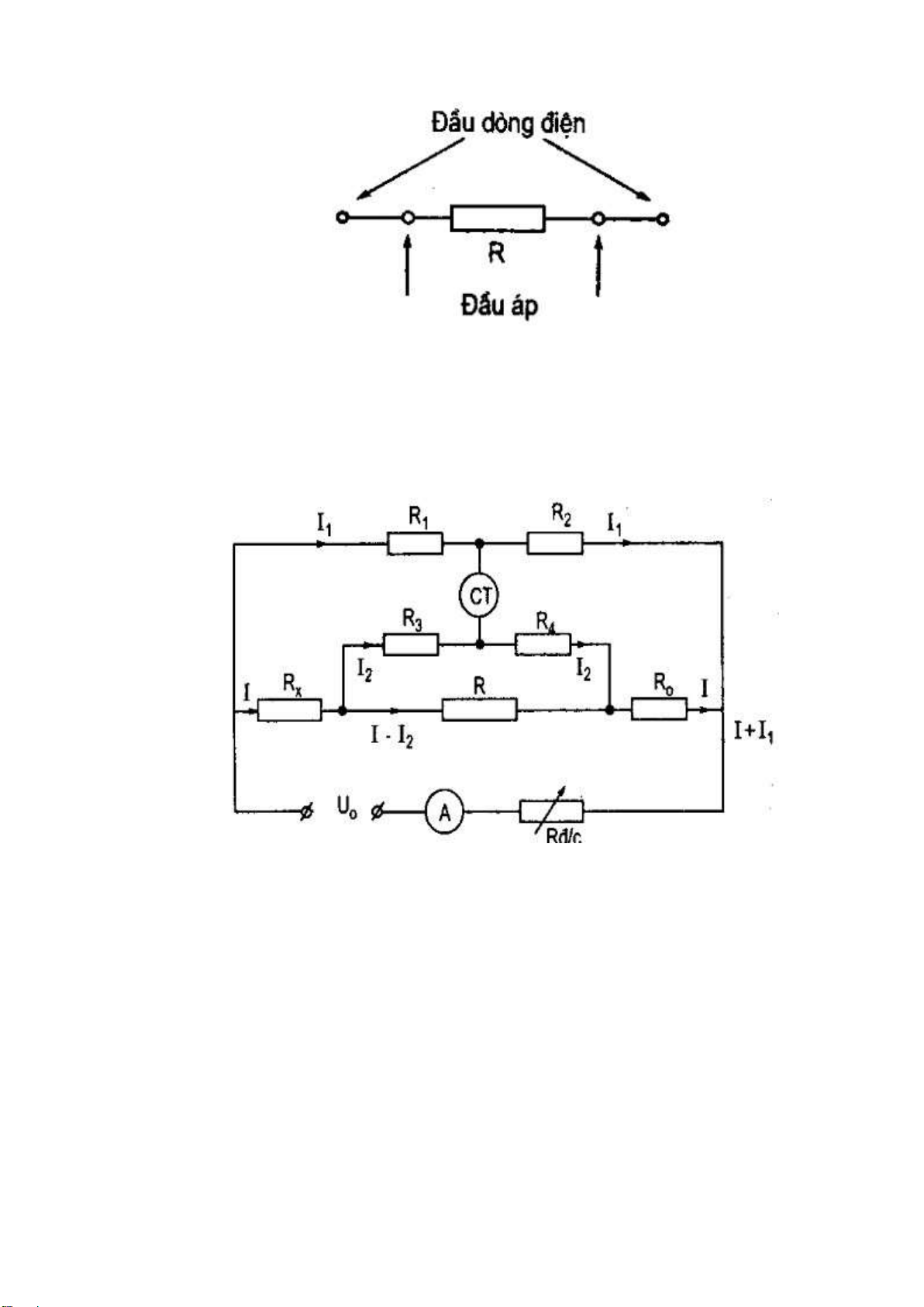
ra, các iện trở trên thường ược chế tạo bốn ầu, hai ầu dòng và hai ầu áp (hình 4.11)
nằm giữa hai ầu dòng và những ầu ra ó thường dùng với các dòng iện nhỏ cỡ μA
hoặc mA nên không có sự sụt áp do tiếp xúc tại các ầu ra iện áp và iện trở ược xác
ịnh úng bằng iện trở tồn tại giữa các ầu iện áp : lOMoARcPSD| 38777299
Hình 4.11.- Điện trở nhỏ bốn (4) ầu.
Để o các iện trở nhỏ, dùng cầu kép (hình 4.12). Cầu kép khác với cầu ơn ở
chỗ có thêm một số iện trở, trong ó Ro là iện trở chuẩn có giá trị nhỏ và R1, R2, R3,
R4 là những iện trở iều chỉnh ược.
Hình 4.12.- Mạch nguyên lý của cầu kép.
Nếu tỷ số R3/R4 giống như R1/R2 thì sai số do dộ sụt áp trên R ược bỏ qua.
Giả sử khi chỉ thị zêro (không có dòng iện qua chỉ thị) và iện áp ầu ra của chỉ
thị là UCT = 0. Với iều kiện trên ta có dòng I1 sẽ chạy qua R1 & R2, dòng I chạy qua R ) chạy qua R.
X & Ro , dòng I2 chạy qua R4 & R3 và (I – I2
Do cầu cân bằng (UCT = 0) nên iện áp rơi trên R2 bằng tổng các iện áp rơi trên Ro & R4 : I1 . R2 = I2 . R4 + I . Ro
Ta có : I . Ro = I1 . R2 - I2 . R4 lOMoARcPSD| 38777299 R Hoặc : I . R 4 o = R2 . ( I1 - I2 . ) (*) R2
Cũng như vậy, iện áp rơi trên R1 bằng tổng iện áp rơi trên R3 và RX : I1 . R1 = I . RX
Ta có I . RX = I1 . R1 - I2 . R3 R Hoặc I . R 3 X = R1 . (I1 – I2 . ) (**) R1
Chia phương trình (**) cho (*) ta ược :
R I1( 1 I 2 R3) IRX R1 = IRO
R I2( 1 I 2 R4) R2 R R R R
Với iều kiện 3 = 1 hoặc 3 = 4 ta có : R4 R2 R4 R2 RX R1 R1 = và RX = RO . (***) RO R2 R2
Trong quá trình o người ta iều chỉnh R1 , R2 , R3 , R4 sao cho luôn giữ ược tỷ R R
số 3 = 1 . Khi ó giá trị của iện trở RX ược xác ịnh qua biểu thức R4 R2 (***).
Trong thực tế thường sử dụng cầu kép thông thường có hình 4.13 :
Cầu kép thông thường : iện trở Ro và Rx là các iện trở có 4 ầu ra và R1 , R2 ,
R3 , R4 ược mắc vào các ầu iện áp ra của chúng. Khoảng o của cầu kép thông thường
từ 10 μΩ ến 1Ω. Tùy thuộc vào ộ chính xác của linh kiện mà ộ chính xác của phép o có thể ạt ến 0,2%. lOMoARcPSD| 38777299
Hình 4.13.- Cầu kép thông thường.
4.4.4.- Đo iện trở lớn.
4.4.4.1.- Đo iện trở lớn bằng phương pháp gián tiếp.
Phương pháp gián tiếp là phương pháp sử dụng Vol mét và Ampe mét ể o các iện
trở lớn từ 105 1010 , như iện trở cách iện.
Trong quá trình o cần phải loại trừ dòng iện rò qua dây dẫn hoặc qua cách iện của
thiết bị. Muốn tránh dòng iện rò cần phải sử dụng màn chắn tĩnh iện hoặc dây dẫn bọc kim.
Một vấn ề khi o những iện trở rất nhỏ là có hai thành phần iện trở : iện trở khối và
iện trở rò bề mặt. Trong thực tế, iện trở bề mặt và iện trở khối tổ hợp lại ó là iện trở
hiệu dụng của lớp cách iện. Tuy nhiên trong một số trường hợp phải tách riêng hai iện trở ó ra.
Để tách hai thành phần iện trở người ta sử dụng các iện cực o và cực phụ (hình 4.14 và hình 4.15).
Hình 4.14.- Sơ ồ o iện trở khối. lOMoARcPSD| 38777299
1- Hai iện cực o ; 2- Cực phụ ; 3- Tấm cách iện.
Khi o iện trở cách iện khối : mạch o ược bố trí như hình 4.14.
Trong ó iện kế G o dòng iện xuyên qua khối cách iện (cỡ A), còn dòng iện
rò trên bề mặt vật liệu qua iện cực phụ nối ất. Điện trở cần o ược xác ịnh qua Vol
mét và iện kế G theo công thức : U RX = Ik
Nguồn iện cung cấp cho mạch o cỡ kilôvôn, iện trở R khoảng 1 M .
Để o iện trở cách iện bề mặt : sơ ồ mạch o bố trí như hình 4.15.
Hình 4.15.- Sơ ồ o iện trở bề mặt.
1- Hai iện cực o ; 2- Cực phụ ; 3- Tấm cách iện.
Trong ó dòng iện rò trên bề mặt của vật liệu ược o bằng iện kế G, dòng iện
xuyên qua khối vật liệu ược nối qua cực chính xuống ất. Điện trở cũng ược xác ịnh
qua Vol mét và iện kế G.
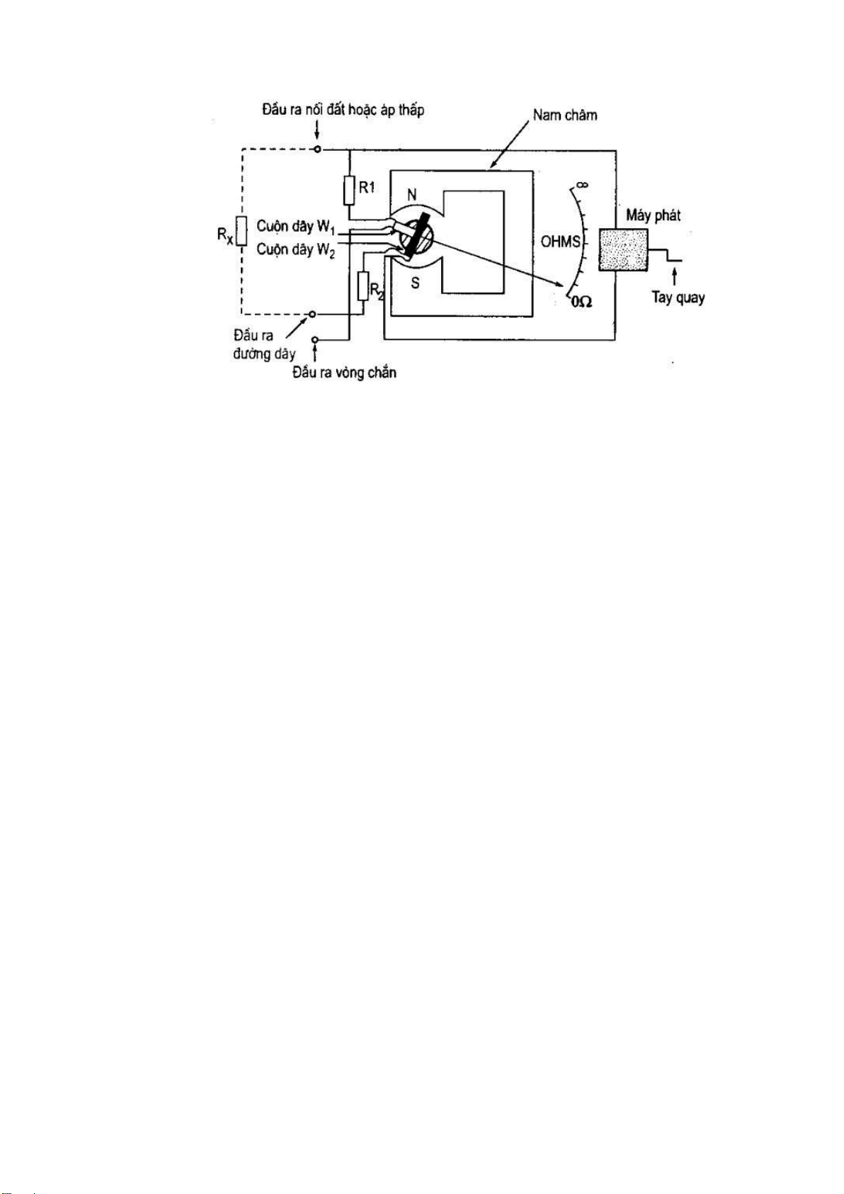
4.4.4.2.- Đo iện trở lớn bằng Mêgômét.
Mêgômét là dụng cụ o xách tay ược dung rộng rãi ể kiểm tra iện trở cách iện
của các dây cáp iện, các ộng cơ, máy phát và biến áp iện lực.
Dụng cụ gồm : nguồn cao áp cung cấp từ máy phát iện quay tay, iện áp có thể
có trị số 500 V hoặc 1000 V và chỉ thị là một lôgômmét từ iện.
Chỉ thị lôgômmét từ iện cho trên hình 4.16, gồm : lOMoARcPSD| 38777299
Hai khung dây, một khung tạo mômen quay và một khung tạo mômen phản
kháng. Góc quay của cơ cấu o tỷ lệ với tỷ số của hai dòng iện chạy qua hai khung dây. Trong ó dòng iện I , iện trở 1 i qua khung dây W1
R1 ; dòng iện I2 i qua khung dây W , iện trở R 2 2 , RX , R3. Uo Ta có : I1 = R1 r1 Uo I2 = R r R 2 2 X R3
trong ó : r1 , r2 iện trở của khung dây.
Hình 4.16.- Mạch nguyên lý mêgômmét.
Dưới tác ộng của lực iện từ giữa từ trường và dòng iện qua các khung sẽ tạo
ra mômen quay M1 và mômen cản M2.
Ở tại thời iểm cân bằng M1 = M2 , ta có : = F( I 1 ) = F( R R r R2 3 2 X ) I 2 R r1 1
Các giá trị R1 , R2 , R3 và r1 , r2 là hằng số nên góc quay tỷ lệ với RX và
không phụ thuộc vào iện áp cung cấp.
Hình 4.17 là sơ ồ của Mêgômmét thường dùng. lOMoARcPSD| 38777299
Hình 4.17.- Mêgômmét thường dùng.
4.5.- Đo iện trở ất.
4.5.1.- Các khái niệm. -
Cọc o iện trở ất : là thanh dẫn iện bằng kim loại (thường bằng ồng) hoặc
nhiều thanh dẫn iện ược óng xuống ất (vùng ất cần o iện trở), khi ó chúng ta có cọc
ất. Sau ó các cọc ất này ược nối vào mạch o bằng những dây dẫn iện. -
Điện trở ất : là iện trở của vùng ất cần o tiếp xúc với cọc ất, sẽ ược xác ịnh
bởi iện áp rơi trên iện trở ất khi có dòng iện i qua nó. Trong thực tế iện trở ất phụ
thuộc vào iều kiện môi trường xung quanh (nhiệt ộ, ộ ẩm), thành phần của ất. -
Khoảng cách giữa các cọc ất ể cho iện trở ất khảo sát mà các cọc ất không
ảnh hưởng lẫn nhau (nghĩa là iện trở cọc A là RA không bị ảnh hưởng bởi vùng ất
của cọc B có iện trở ất là RB) thì hai cọc ất nên cách nhau 20 m sẽ có iện trở ất không ảnh hưởng lẫn nhau. -
Nguồn iện áp cung cấp cho mạch o : là nguồn tín hiệu cung cấp cho mạch
o là nguồn tín hiệu xoay chiều dạng sin hoặc xung vuông.
Tránh dùng nguồn DC là do ảnh hưởng của iện giải sẽ làm tăng sai số do iện thế iện cực.
Nếu dùng iện lưới iện lực thì phải dùng biến áp cách ly ể tránh ảnh hưởng dòng
trung tính và cọc ất của dây trung tính.
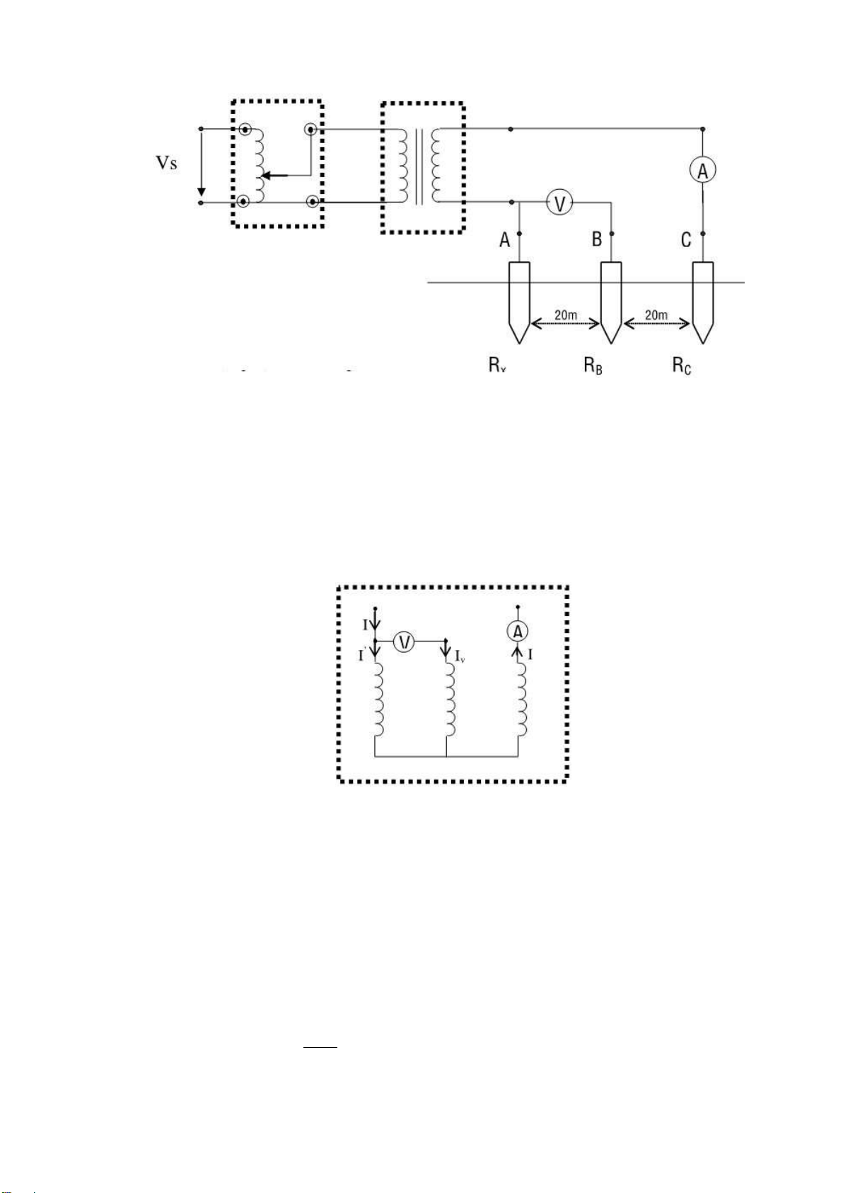
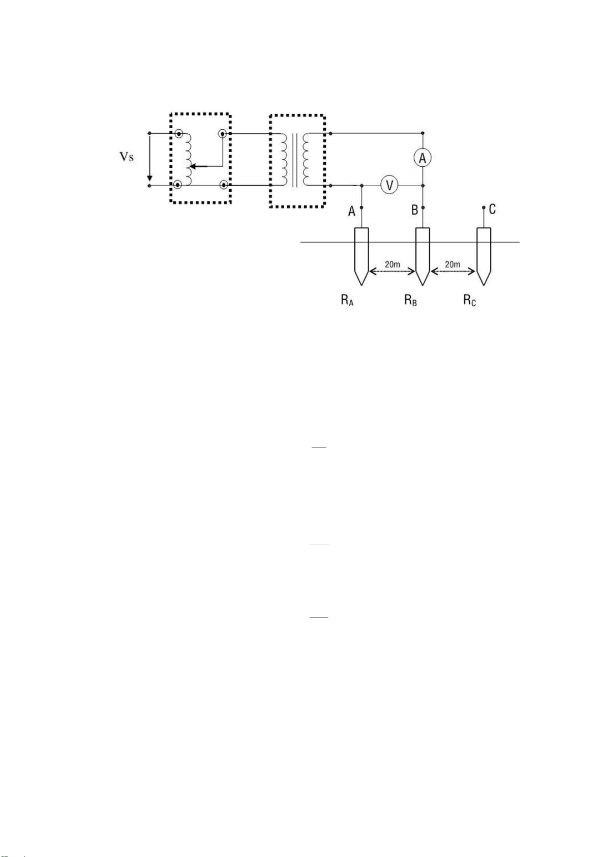
4.5.2.- Mạch o iện trở ất dùng Volt kế và ampe kế.
a.- Phương pháp trực tiếp.
Mạch o ược mắc như sơ ồ hình 4.18 : lOMoARcPSD| 38777299
Hình 4.18.- Mạch o iện trở ất bằng phương pháp trực tiếp.
trong ó : . Cọc A : cọc o iện trở ất RX ,
. Cọc B : cọc phụ o iện áp,
. Cọc C : cọc phụ o dòng iện.
Theo mạch tương ương của iện trở ất cọc A, B, C (hình 4.19) :
Hình 4.19.- Mạch tương ương của iện trở ất cọc A, B, C. Ta ược : VAB = RA . I' + RB . IV
Ta có : I = I' + IV mà IV << I' → I ≈ I'
Nên VAB ≈ RA . I' ≈ RA . I V AB Suy ra RA = I
Vậy, iện trở ất cọc A ược xác ịnh bởi trị số ọc trên Volt kế và ampe kế. lOMoARcPSD| 38777299
b.- Phương pháp o gián tiếp.
Mạch o ược mắc như sơ ồ hình 4.20 :
Hình 4.20.- Mạch o iện trở ất bằng phương pháp gián tiếp.
Trong trường hợp này ta tiến hành o iện trở ất của từng hai cọc : Volt kế và
ampe kế sẽ cho giá trị iện trở của từng hai cọc : V1 RA + RB = I1
Sau ó, lần lượt o cho cọc A - C và B - C ta ược : V 2 RA + RC = I2 V 3 RB + RC = I3
Sau ó tiến hành giải ba phương trình, ta sẽ xác ịnh ược RA , RB , RC .
4.5.3.- Thiết bị o iện trở ất chuyên dụng. lOMoARcPSD| 38777299
Hình 4.21.- Máy o iện trở ất.
Hiện nay, ể ơn giản trong quá trình o iện trở ất, sử dụng phương pháp o trực
tiếp bằng ồng hồ iện trở ất (máy o iện trở ất). Máy o iện trở ất có hình dạng như hình 4.21.
Thông số kỹ thuật của máy o iện trở ất giới thiệu trong tài liệu :
Thương hiệu : Kyoritsu/ Japan Xuất xứ
: Thái Lan (nhà máy sản xuất) Hiển thị : kim
Các thang o : 12 Ohm, 120 Ohm, 1200 Ohm Điện áp ất : 30 VAC.
a.- Cách óng cọc ất cho máy o iện trở ất :
Máy o có 03 cọc là : cọc ất (E), cọc iện áp (P), cọc dòng iện (C), trong ó cọc
E là cọc chính còn hai cọc P và C là hai cọc phụ (cọc giả ịnh).
Khoảng cách giữa các cọc từ 5 ÷ 10 mét, vị trí các cọc tạo ra một góc lớn hơn 100o.
Khi các cọc óng thẳng hang thì khoảng cách các cọc EC, EP cần phải lớn hơn
10 mét (thường là 15 mét). lOMoARcPSD| 38777299
b.- Cách o iện áp rơi trên các cọc E, P và C.
Để tiến hành o, thực hiện ấu dây như sơ ồ hình 4.22 :
Như ã biết, nếu iện áp giữa hai cọc ất thấp hơn 10 volt thì tính an toàn chấp
nhận ược, khi ó ta tiến hành o iện trở ất. Nếu iện áp trên các cọc lớn hơn 10 volt thì
việc o iện trở ất và khả năng an toàn về cách iện cần phải lưu ý do có hiện diện của
dòng iện rò và sự hiện diện của dòng iện trung tính do sự mất cân bằng của lưới iện.
Hình 4.22.- Sơ ồ ấu dây o iện trở ất.
Hiện có những máy o iện trở ất, cho phép ta o iện áp rơi trên cọc ất A và cọc
ất B, khi ó bộ chỉ thị trên máy o iện trở ất sẽ cho biết iện áp trên hai cọc (hình 4.23).
Hình 4.23.- Sơ ồ o iện áp rơi trên cọc tiếp ất.