



















Preview text:
lOMoAR cPSD| 47206417 YesNo Questions
Câu 1. Trong qui trình phát triển phần mềm, giai đoạn phân tích giải quyết những công việc trả lời cho câu hỏi What. a. Đúng b. Sai
Câu 2. Trong qui trình phát triển phần mềm, giai đoạn thiết kế giải quyết những công việc trả lời cho câu hỏi When. a. Đúng b. Sai
Câu 3. Phân tích hướng đối tượng là tìm ra những đối tượng ở mức khái niệm trong lĩnh vực liên quan. a. Đúng b. Sai
Câu 4. Thiết kế hướng đối tượng là tìm ra những đối tượng ở mức hiện thực trong lĩnh vực liên quan. a. Đúng b. Sai
Câu 5. Model là tập hợp tất cả các góc nhìn tĩnh của hệ thống. a. Đúng b. Sai
Câu 6. Qui trình hợp nhất (Unified Process) là một phương pháp phát triển phần mềm linh hoạt. a. Đúng b. Sai
Câu 7. Một trong những đặc điểm của qui trình hợp nhất là dùng use-case làm dẫn xuất. a. Đúng b. Sai
Câu 8. Theo qui trình phát triển phần mềm RUP (Rational Unified Process), kiến trúc của hệ thống
phần mềm bao gồm các module và mối quan hệ giữa chúng. a. Đúng b. Sai
Câu 9. Lợi ích của phát triển lặp (Iterative development) là thông tin được phản hồi sớm dẫn đến
hệ thống được điều chỉnh phù hợp hơn với nhu cầu thực sự của các bên liên quan. a. Đúng b. Sai
Câu 10. UML là từ viết tắt của cụm từ Universal Modeling Language a. Đúng b. Sai
Câu 11. Ký hiệu hình tròn và biến thể của hình tròn không được sử dụng trong UML a. Đúng b. Sai
Câu 12. Ký hiệu đa giác và biến thể của hình tròn không được sử dụng trong UML a. Đúng 1 lOMoAR cPSD| 47206417 b. Sai
Câu 13. Trong qui trình phát triển hợp nhất, hoạt động lặp có thể được thực hiện trong từng chu
kỳ phát triển phần mềm a. Đúng b. Sai
Câu 14. Qui trình phát triển phần mềm hợp nhất có tên gọi tắt là RUP hay USDP a. Đúng b. Sai
Câu 15. UML không phải là ngôn ngữ lập trình mà là ngôn ngữ mô hình, dùng ký hiệu đồ họa để
diễn đạt. UML có thể được dùng để thay thế cho ngôn ngữ tự nhiên. a. Đúng b. Sai
Câu 16. UML không thể dùng cho các lĩnh vực khác công nghệ thông tin a. Đúng b. Sai
Câu 17. Fusion không phải là phương pháp phân tích và thiết kế hướng đối tượng mà Fusion là
một trong những phương pháp phát triển phần mềm linh hoạt a. Đúng b. Sai
Câu 18. Có thể sử dụng các công cụ như Paint, Rational Rose, MS Visio… để vẽ một lược đồ UML. a. Đúng b. Sai
Câu 19. Lược đồ trình tự hệ thống (SSD) biểu diễn các system event cho một tình
huống cụ thể của một use case vì thế SSD được xây dựng độc lập với đặc tả use case. a. Đúng b. Sai
Câu 20. Mô hình use case thể hiện góc nhìn bên trong của hệ thống. Vì thế chỉ có chuyên gia phân
tích hệ thống mới có thể tiếp cận được mô hình này. a. Đúng b. Sai
Câu 21. Use-case là các chức năng có nghĩa của hệ thống cung cấp cho actor để tương tác với người dùng. a. Đúng b. Sai
Câu 22. Trả lời câu hỏi “Hệ thống có hỗ trợ một số công việc thường nhật của một actor
nào đó không?” để tìm ra tác nhân của một hệ thống. a. Đúng b. Sai
Câu 23. Actor luôn luôn là người sử dụng các chức năng của hệ thống. a. Đúng b. Sai 2 lOMoAR cPSD| 47206417
Câu 24. Actor là tác nhân nằm bên trong hệ thống. a. Đúng b. Sai
Câu 25. Một use case chỉ có quan hệ với các actor và không có quan hệ với các use case khác? a. Đúng b. Sai
Câu 26. Lược đồ use case được xây dựng trong suốt giai đoạn phân tích để phát triển
phần mềm hướng đối tượng? a. Đúng b. Sai
Câu 27. Có thể dùng phương pháp phân tích và thiết kế hướng đối tượng bằng UML
để xây dựng một hệ thống hiện thực bằng ngôn ngữ C++ không? a. Có thể b. Không thể
Câu 28. Có thể dùng phương pháp phân tích và thiết kế hướng đối tượng bằng UML để
xây dựng một hệ thống hiện thực bằng ngôn ngữ C không? a. Có thể b. Không thể Introduction
Câu 1. Việc phân tích ngữ pháp thông qua ___________ dựa trên mô tả hệ thống bằng ngôn ngữ
tự nhiên là để xác định tên đối tượng, thuộc tính và hành vi của đối tượng. a. danh từ và động từ b. danh từ và tính từ c. thực thể hữu hình
d. cách tiếp cận hành vi
Câu 2. ___________quan tâm đến việc hiện thực mô hình thiết kế bằng một ngôn ngữ lập trình
hướng đối tượng nào đó. a. Object oriented analysis b. Object oriented methods c. Object oriented design
d. Object oriented programming
Câu 3. __________ quan tâm đến việc xây dựng mô hình hướng đối tượng để hiện thực những yêu cầu đã xác định. a. Object oriented analysis b. Object oriented methods c. Object oriented design
d. Object oriented programming
Câu 4. Trong qui trình phát triển phần mềm, giai đoạn phân tích tập trung vào những công việc trả lời cho câu hỏi a. what b. when 3 lOMoAR cPSD| 47206417 c. where d. how
Câu 5. Trong qui trình phát triển phần mềm, giai đoạn thiết kế tập trung vào những
công việc trả lời cho câu hỏi a. what b. when c. where d. how
Câu 6. Giai đoạn phân tích và giai đoạn thiết kế trong qui trình phát triển phần mềm khác nhau ở chỗ
a. Giai đoạn phân tích chỉ tập trung vào các công việc trả lời cho câu hỏi what và giai
đoạnthiết kế chỉ tập trung vào các công việc trả lời cho câu hỏi how.
b. Giai đoạn phân tích chỉ tập trung vào các công việc trả lời cho câu hỏi how và giai
đoạnthiết kế chỉ tập trung vào các công việc trả lời cho câu hỏi what.
c. Phân tích tập trung vào việc tìm hiểu về yêu cầu khách hàng và thiết kế tập trung vàoviệc
đưa ra giải pháp để thực hiện các yêu cầu đó.
d. Cả 3 câu trên đều đúng
e. Chỉ có câu a và c đúng
Câu 7. Phân tích hướng đối tượng là gì
a. Finding and describing the objects or concepts in the problem domain
b. Defining logical software objects and how they collaborate to fulfill the requirements
c. Decompose by objects and concepts
d. Decompose by functions and processes e. Ý kiến khác
Câu 8. Thiết kế hướng đối tượng là gì
a. Finding and describing the objects or concepts in the problem domain
b. Defining logical software objects and how they collaborate to fulfill the requirements
c. Decompose by objects and concepts
d. Decompose by functions and processes e. Ý kiến khác
Câu 9. Lối tiếp cận của phương pháp phân tích và thiết kế hướng đối tượng là
a. Lối tiếp cận từ trên xuống
b. Lối tiếp cận từ dưới lên
c. Tiếp cận theo đối tượng và khái niệm
d. Tiếp cận theo chức năng và qui trình
Câu 10. Lối tiếp cận của phương pháp phân tích và thiết kế hướng chức năng (hay hướng cấu trúc) là
a. Lối tiếp cận từ trên xuống
b. Lối tiếp cận từ dưới lên
c. Tiếp cận theo đối tượng và khái niệm
d. Tiếp cận theo chức năng và qui trình e. Câu b và c sai 4 lOMoAR cPSD| 47206417 UP & UML
Câu 11. Khái niệm chu kỳ (cycle) trong qui trình phát triển hợp nhất (UP) bao gồm các giai đoạn nào (phase) a.
Inception, Elaboration, Construction, Transition b.
Inception, Elaboration, Implementation, Transition c.
Inception, Elaboration, Coding, Testing d.
Analysis, Design, Coding, Testing e.
Requirements, Analysis & Design, Implementation, TestCâu 12. Model là gì?
a. A model is a complete description of a system from a particular perspective
b. Model embodies a collection of static views
c. Model embodies a collection of dynamic views
d. Cả 3 câu a, b và c đều đúng e. Tất cả đều sai
Câu 13. Unified Process là gì
a. The Unified Process is a series of steps for constructing a software product
b. The Unified Process is not a series of steps for constructing a software product
c. The Unified Process is an adaptable methodology
d. The Unified Process is an agile approach e. Chỉ có câu a sai
Câu 14. Đặc điểm của qui trình phát triển phần mềm hợp nhất là a. Lặp và tăng dần
b. Dùng use-case làm dẫn xuất
c. Lấy kiến trúc làm trọng tâm phát triển d. Tất cả đều đúng e. Ý kiến khác
Câu 15. Theo qui trình phát triển phần mềm RUP (Rational Unified Process), kiến trúc của hệ thống phần mềm là
a. Sự phân chia phần mềm ra thành nhiều module và mối quan hệ giữa chúng.
b. Các góc nhìn của các mô hình.
c. Lược đồ cài đặt và lược đồ thành phần. d. Các mô hình
Câu 16. Phát triển lặp (Iterative development) mang lại lợi ích gì a. Tỉ lệ lỗi thấp b. Giảm nhẹ rủi ro
c. Thông tin được phản hồi sớm dẫn đến hệ thống được điều chỉnh phù hợp hơn với nhu
cầuthực sự của các bên liên quan
d. Bài học được rút ra trong lần lặp trước có thể được áp dụng cho lần lặp sau để cải thiệnqui
trình thực hiện tốt hơn. e. Tất cả đều đúng
Câu 17. Ký hiệu nào không được sử dụng trong UML 5 lOMoAR cPSD| 47206417 a. Hình chữ nhật b. Hinh tròn c. Đường thẳng d. Đa giác
e. Tất cả đều được sử dụng
Câu 18. Trong qui trình phát triển hợp nhất, hoạt động lặp có thể được thực hiện trong a. Từng workflow
b. Từng bước nhỏ trong worklfow
c. Từng chu kỳ phát triển phần mềm
d. Cả 3 câu a, b và c đều sai
e. Cả 3 câu a, b và c đều đúng
Câu 19. Qui trình phát triển phần mềm hợp nhất có tên gọi tắt là a. RUP b. USDP c. UP d. UDP e. Câu d sai
Câu 20. Qui trình phát triển phần mềm hợp nhất còn có tên gọi là a. Unified Development Process b. Unified Software Process c. Unified Process d. Rational Rose Unified Process e.
Cả 3 câu đúngCâu 21. UML là gì?
a. UML là ngôn ngữ mô hình, dùng ký hiệu đồ họa để diễn đạt
b. UML có thể được dùng để thay thế cho ngôn ngữ tự nhiên
c. UML không phải là ngôn ngữ lập trình
d. Cả 3 câu a, b và c đúng e. Chỉ có câu b sai
Câu 22. UML là từ viết tắt của cụm từ a. Unified Model Language b. Unified Model Languages c. Unified Modeling Language d. Unified Modeling Languages
Câu 23. UML có thể được dùng cho các lĩnh vực nào
a. Ngân hàng và dịch vụ tài chính b. Viễn thông c. Giao thông
d. Hàng không và quốc phòng
e. Máy móc điện tử dùng trong y tế f. Khoa học g. Công nghệ thông tin
h. Khác công nghệ thông tin 6 lOMoAR cPSD| 47206417 i. Tài chính ngân hàng j. Tất cả đều đúng k. Ý kiến khác
Câu 24. Phương pháp nào được áp dụng vào qui trình phân tích và thiết kế hướng đối tượng a. Fusion b. RUP c. UP d. Tất cả đều đúng e. Ý kiến khác
Câu 25. Để vẽ một lược đồ UML, công cụ nào có thể được sử dụng a. StarUML b. Rational Rose c. MS Visio d. Paint e. Câu d sai f. Ý kiến khác
Câu 26. Việc gom nhóm các phần tử trong UML theo cơ chế general-purpose được gọi là: a. Grouping elements b. Package c. General-purpose mechanism d. Tất cả đều sai
Câu 27. Qui trình hợp nhất (UP) được xây dựng dựa trên a. Agile approach b. XP approach c. Scrum approach d. Iterative approach e. Flexible approach Use Case Diagram
Câu 28. Một từ điển Anh-Việt trực tuyến có chức năng tra từ cho phép người dùng nhập vào từ
tiếng Anh để tìm nghĩa tiếng Việt. Từ điển còn có chức năng cho phép người dùng thêm từ
đã tra vào danh sách các từ thường gặp. Theo mô hình use-case, mối liên hệ giữa chức
năng tra từ và thêm từ đã tra vào danh sách là a. Extend b. Include c. Inheritance d. Generalization e. Association
Câu 29. Xác định mối quan hệ giữa A và B biết rằng trong khi thực hiện A có thể kéo theo việc
thực hiện B trong một điều kiện nào đó. a. A include B 7 lOMoAR cPSD| 47206417 b. B include A c. A extend B d. B extend A
e. A include B hoặc B extend A
Câu 30. Xác định mối quan hệ giữa A và B biết rằng để thực hiện A cần phải thực hiện B trước a. A include B b. B include A c. A extend B d. B extend A
e. A extend B hoặc B include A
Câu 31. Quan hệ giữa các actor (nếu có) là a. Generalization b. Association c. Include d. Extend
Câu 32. Quan hệ giữa actor và use-case là a. Generalization b. Association c. Include d. Extend
Câu 33. Quan hệ giữa các use-case có thể là a. Generalization b. Association c. Include, Extend d. Câu a và c đúng e. Câu b và c đúng
Câu 34. Một chuỗi các hành động cụ thể được mô tả theo trình tự từ đầu cho đến kết thúc một use-case được gọi là
a. Textual description of use cases b. Flow of events c. Scenario d. Sequence e. Main scenario
Câu 35. Mục tiêu chính để xây dựng các use case là
a. Để đặc tả các hành động mà người dùng sẽ thực hiện
b. Để giúp các lập trình viên và khách hàng hiểu nhau
c. Để xác minh hệ thống khi nó tiến triển
d. Để biểu diễn cách thức các objects làm việc với nhau e. Tất cả đều đúng
Câu 36. Cụm từ use-case realization-analysis được hiểu là
a. Nhận dạng use-case ở cấp phân tích
b. Dẫn xuất use-case ở cấp phân tích 8 lOMoAR cPSD| 47206417
c. Mối quan hệ giữa use-case và analysis d. Cả 3 câu đều sai
Câu 37. Lược đồ use-case có thể chứa
a. Use-case, actor và mối quan hệ giữa các thành phần b. Use-case, actor, note
c. Use-case, actor, note và mối quan hệ giữa các thành phần
d. Cả 3 câu trên đều sai
Câu 38. Mô hình nào có thể chứa chi tiết dư thừa và không nhất quán a. Mô hình use-case. b. Mô hình phân tích. c. Mô hình thiết kế.
d. Mọi mô hình đều phải đúng đắn, nhất quán và không thể chứa chi tiết dư
thừa.Câu 39. Lược đồ use-case cho thấy
a. Toàn bộ các chức năng của hệ thống phần mềm
b. Toàn bộ các chức năng của hệ thống phần mềm và các actor
c. Một số chức năng của hệ thống phần mềm
d. Một số chức năng của hệ thống phần mềm và một số actor tương tác với các chức năng này
Câu 40. Trong một use-case diagram, các thực thể ngoài hệ thống được gọi là a. Use-cases b. Boundary objects c. Actors d. Entities
Câu 41. Mô hình nào thể hiện góc nhìn từ bên ngoài của hệ thống a. Test model b. Deployment model c. Use-case model d. Analysis model
Câu 42. Use-case được định nghĩa như sau
a. Use-case là một kịch bản
b. Use-case là một bước trong chuỗi sự kiện
c. Use-case là các chức năng có nghĩa của hệ thống cung cấp cho actor
d. Use-case là một vai trò được thực hiện bởi người dùng bên ngoài hệ thống
Câu 43. Lược đồ UML sau có ý nghĩa gì
a. Actor A kế thừa từ actor B
b. Actor B kế thừa từ actor A
c. Hoạt động của actor A bao gồm hoạt động của actor B cộng thêm một số hoạt động khác
d. Hoạt động của actor B bao gồm hoạt động của actor A cộng thêm một số hoạt động 9 lOMoAR cPSD| 47206417 khác
Câu 44. Mục đích nhận dạng actor và use-case là để
a. Giới hạn hệ thống với môi trường bao quanh nó.
b. Phát họa ai và cái gì sẽ tương tác với hệ thống và hệ thống cung cấp các chức năng gì.c. Câu a và b đúng d. Tất cả đều sai
Câu 45. Trả lời câu hỏi nào để nhận dạng actor
a. Hệ thống cần tương tác với các hệ thống khác không? Câu
46. Trả lời câu hỏi nào để nhận dạng use-case
a. Actor yêu cầu chức năng gì của hệ thống?
Câu 47. Cụm từ tốt nhất để biểu diễn mới quan hệ tổng quát hoá là : a. “Is a part of” b. “Is a replica of” c. “Is a kind of“ d. “Is composed of” Domain Model Câu 48.
Câu 49. Trong domain model, lượng số (multiplicity) nào sau đây là không hợp lệ a. 0..5 b. i..j c. 10..* d. 3,1,4 e. Câu b và d sai
Câu 50. Xây dựng Domain Model là để _____________ 10 lOMoAR cPSD| 47206417
a. Xác định danh sách các đối tượng (ở mức khái niệm) làm ứng cử viên tham gia phát triển hệ thống.
b. Xác định thuộc tính của đối tượng (nếu có) và mối quan hệ giữa các đối tượng.
c. Xác định hành vi của đối tượng (nếu có) d. Câu a và b đúng
Câu 51. Mục tiêu của domain model là
a. Identify conceptual classes related to the current iteration.
b. Create an initial domain model.
c. Model appropriate attributes and associations.
d. Cả 3 câu trên đều đúng
Câu 52. Domain model được xây dựng trong giai đoạn nào a. Nắm bắt yêu cầu b. Phân tích yêu cầu c. Đặc tả yêu cầu
d. Được xây dựng song song với các giai đoạn trên
e. Được xây dựng độc lập với các giai đoạn trênCâu 53. Mô hình nào chứa conceptual class a. Domain model b. Class model c. Design class model d. Conceptual model
Câu 54. Ký hiệu hình chữ nhật trong Domain model được gọi là a. Domain concept b. Class c. Conceptual class
d. Cả 3 câu a, b và c đúng e. Tất cả đều sai
Câu 55. Ký hiệu hình chữ nhật trong lược đồ lớp được gọi là a. Class b. Conceptual class c. Software class d. Implementation class e. Câu a và c đúng
Câu 56. Khái niệm Implementation class trong qui trình phát triển hợp nhất được định nghĩa là a.
Một lớp bao gồm thuộc tính và phương thức b.
Một lớp được hiện thực bằng một ngôn ngữ lập trình hướng đối tượng nào đó c.
Một lớp được hiện thực bằng một ngôn ngữ lập trình hướng đối tượng nào đó, chẳng hạn như Java. d.
Một lớp được hiện thực bằng một ngôn ngữ lập trình hướng đối tượng nào đó, chẳng hạn như C++. e. Chỉ có câu a sai 11 lOMoAR cPSD| 47206417
Câu 57. Khi biểu diễn mối kết hợp giữa hai lớp trong lược đồ UML, cần tuân theo các nguyên tắc sau:
a. Không cho phép biểu diễn nhiều mối kết hợp trên cùng 2 lớp.
b. Các mối kết hợp giữa cùng 2 lớp phải được tập hợp lại thành 1 mối kết hợp.
c. Có thể có nhiều mối kết hợp giữa 2 lớp, nhưng chúng phải mang các ý nghĩa khác nhau.
d. Có thể có nhiều mối kết hợp giữa 2 lớp, nhưng chúng phải ngược chiều nhau.
e. Phải có ít nhất 1 mối kết hợp giữa 2 lớp.
System Sequence Diagram
Câu 58. Xây dựng lược đồ trình tự hệ thống là để xác định ____________ a. Actor và System
b. Actor, System và đặc tả usecase c. System event d. System operation
Câu 59. Lược đồ trình tự hệ thống được xây dựng trong giai đoạn nào a. Requirement b. Analysis c. Design d. Implementation
e. Trong tất cả các giai đoạn
Câu 60. Lược đồ trình tự được xây dựng trong giai đoạn nào a. Requirement b. Analysis c. Design d. Implementation
Câu 61. Lược đồ lớp được xây dựng trong giai đoạn _________
Câu 62. Lược đồ trình tự hệ thống mô tả
a. Hành vi của hệ thống
b. Những gì mà hệ thống làm
c. Những gì mà hệ thống làm và các giải pháp làm thế nào để thực hiệnd. Câu a và b đúng e. Tất cả đều đúng
Câu 63. Mối liên hệ giữa SSD và Use-Case
a. SSDs are derived from use cases
b. An SSD shows system events for one scenario of a use case,
c. therefore it is generated from inspection of a use case d. Tất cả đều đúng e. Tất cả đều sai
Câu 64. System Event được tạo ra bởi
a. Tác nhân của hệ thống b. Actor 12 lOMoAR cPSD| 47206417
c. Người xây dựng hệ thống d. Đặc tả use-case e. Câu c và d sai
Câu 65. System operation là a. một phương thức b. một sự kiện
c. một event được tạo ra bởi actor d. Tất cả đều sai
Câu 66. Dựa vào tài liệu nào để xây dựng lược đồ trình tự hệ thống a. Yêu cầu khách hàng
b. Các chức năng của hệ thống c. Đặc tả chức năng d. Mô hình khái niệm e. Câu a và d sai
Câu 67. Lược đồ trình tự hệ thống có thể bao gồm a. Actor và System
b. Actor, System và System event
c. Actor, System và System operation
d. Actor, System và Use Case Text e. Câu b sai
Câu 68. Lược đồ trình tự hệ thống bắt buộc phải có a. Actor và System
b. Actor, System và System event
c. Actor, System và System operation
d. Actor, System và Use Case Text
e. Actor, System, System event và System operation
Câu 69. Đối tượng System trong lược đồ trình tự hệ thống được xem là a. Black box b. System Object c. Use Case Text d. System Sequence Diagrams e. Chỉ có câu a sai
Câu 70. Lược đồ nào thể hiện các system operation của hệ thống a. System Sequence Diagram b. Sequence Diagram c. Interaction Diagram d. Design Class Diagram e. System Event Diagram Interaction Diagram 13 lOMoAR cPSD| 47206417
Câu 71. Vẽ lại bằng lược đồ trình tự a.
Câu 72. Vẽ lại bằng lược đồ cộng tác a.
Câu 73. Dựa vào lược đồ sau, định nghĩa phương thức bằng ngôn ngữ C#.NET
Câu 74. Sequence diagrams được dùng trong a. Static view b. Interaction view c. Deployment view d. Model management view e. Architecture view
Câu 75. Ưu điểm của lược đồ trình tự là
a. Trình tự thực hiện của các thông điệp được thể hiện rõ ràng
b. Tiết kiệm được không gian
c. Sử dụng các ký hiệu đồ họa đơn giản
d. Có thể thêm các đối tượng theo 2 hướng e. Câu a và b đúng
Câu 76. Nhược điểm của lược đồ cộng tác là
a. Chỉ sử dụng được không gian theo chiều ngang
b. Sử dụng các ký hiệu đồ họa phức tạp
c. Khó thấy được trình tự thực hiện của các thông điệp d. Khó phát sinh code e. Câu c và d đúng
Câu 77. Lược đồ trình tự thể hiện
a. Sự phân chia công việc giữa các đối tượng để cùng hoàn thành một công việc nào đó
b. Sự trao đổi thông điệp giữa các đối tượng để cùng hoàn thành một công việc nào đó
c. Sự cộng tác giữa các đối tượng để cùng hoàn thành một công việc nào đó
d. Các phương thức của đối tượng e. Chỉ có câu d sai
Câu 78. Lược đồ trình tự thể hiện
a. Thứ tự các bước thực hiện trong đặc tả 14 lOMoAR cPSD| 47206417
b. Trình tự thực hiện các bước được mô tả trong đặc tả use case c. Câu a và b đúng
d. Sự hợp tác giữa các đối tượng để cùng hoàn thành một yêu cầu nào đó trong đặc tả chức năng.
Câu 79. Để mô tả sự tương tác giữa các đối tượng thông qua cơ chế truyền thông điệp, lược đồ
UML nào nên được sử dụng a. sequence diagrams b. communication diagrams c. collaboration diagrams d. interaction diagrams
e. Tất cả các lược đồ trên
Câu 80. Trong lược đồ cộng tác, các đối tượng được đặt ở vị trí nào a.
Phải được đặt theo hàng ngang từ trái sang phải b.
Phải được đặt theo hàng ngang, có cùng độ cao và từ trái sang phải c.
Phải được đặt theo hàng ngang, không cùng độ cao và từ trái sang phải d.
Có thể đặt bất kỳ nơi đâu trên lược đồ e.
Có thể đặt bất kỳ nơi đâu trên lược đồ và không được phép có cùng độ
caoCâu 81. Trong lược đồ cộng tác, các thông điệp được đánh số theo nguyên tắc sau
a. 1.2.3b xảy ra sau 1.2.3a và cả 2 được lồng trong 1.2.3
b. 1.2.3b xảy ra trước 1.2.3a và cả 2 được lồng trong 1.2
c. 1.2.3a và 1.2.3b loại trừ lẫn nhau và được lồng trong 1.2
d. 1.2.3a và 1.2.3b loại trừ lẫn nhau và được lồng trong 1.2.3
Câu 82. Dùng ký hiệu nào để biểu diễn phương thức tĩnh trong lược đồ trình tự a. :static b. [staticmethod] c. <> d. <> e. <>
Câu 83. Trong lược đồ UML sau, thông điệp doX được gọi bởi đối tượng nào và aDate có ý nghĩa gì
a. doX được gọi bởi Register và aDate là giá trị trả về của getDate
b. doX được gọi bởi Register và aDate là giá trị trả về của Sale
c. doX được gọi bởi một đối tượng nào đó và aDate là giá trị trả về của Sale
d. doX được gọi bởi Main() và aDate là giá trị trả về của getDate 15 lOMoAR cPSD| 47206417
e. doX được gọi bởi một đối tượng nào đó và aDate là giá trị trả về của getDate
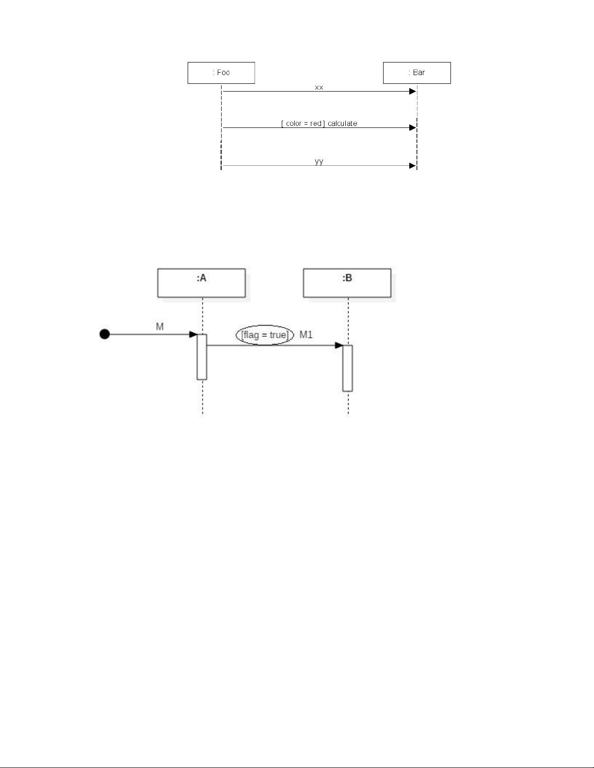
Câu 84. Thông điệp calculate trong lược đồ UML sau có ý nghĩa là
a. Nếu color bằng red thì calculate được thực hiện, ngược lại xx sẽ được thực hiện
b. Nếu color bằng red thì calculate được thực hiện, ngược lại yy sẽ được thực hiện
c. Nếu color bằng red thì calculate được thực hiện, ngược lại xx và yy sẽ được thực hiện
d. Calculate chỉ được thực hiện khi color bằng red
Câu 85. Ký hiệu được khoanh tròn trong lược đồ sau có tên gọi là gì a. message b. event c. guard d. association
Câu 86. Hãy chỉ ra chỗ sai trong lược đồ sau
a. Đối tượng Sale và Payment không cùng độ cao
b. Thanh ký hiệu của makePayment(cashTendered) và authorize không cùng kích thước
c. Đoạn thẳng biểu diễn create(cashTendered) không liền nét
d. Đoạn thẳng biểu diễn create(cashTendered) có mũi tên chỉ vào đối tượng Paymente. Không có chỗ sai 16 lOMoAR cPSD| 47206417 Design Class Diagram
Câu 87. DCDs là từ viết tắt của cụm từ: Design Class Diagrams
Câu 88. Domain Model vs. Design Model Classes - Têm lớp:
o Conceptual class: abstraction of a real-world concept o
Software class: definition of classes as software components - Thuộc tính - Phương thức
Câu 89. Để đối tượng A có thể gởi một thông điệp đến đối tượng B thì a. A phải nhìn thấy B b. B phải nhìn thấy A
c. A có chứa một tham khảo đến B
d. B có chứa một tham khảo đến A e. Câu a và c đúng
Câu 90. Làm thế nào để đối tượng A có thể gởi thông điệp (message) đến đối tượng B?
a. Đối tượng A phải nhìn thấy đối tượng B.
b. B là một biến toàn cục của A
c. A chứa một tham khảo của B d. Tất cả đều đúng
Câu 91. Có thể dùng kỹ thuật nào sau đây để thể hiện đối tượng A nhìn thấy đối tượng B a. B is an attribute of A
b. B is a parameter of a method of A
c. B is a (non-parameter) local object in a method of A
d. B is in some way globally visible e. Tất cả đều đúng
Câu 92. Lược đồ lớp được xây dựng
a. Độc lập với mô hình lĩnh vực
b. Song song với lược đồ tương tác
c. Ngay sau khi lược đồ tương tác được tạo
d. Song song với giai đoạn Mapping designs to code 17 lOMoAR cPSD| 47206417 e. Câu b và c đúng
Câu 93. Dựa vào lược đồ hay mô hình nào để liệt kê dữ liệu của đối tượng trong lược đồ lớp a. Use-case model b. Domain model c. Interaction diagrams d. Function model e. Data Model
Câu 94. Dựa vào lược đồ hay mô hình nào để liệt kê các hành vi của đối tượng trong lược đồ lớp a. Use-case model b. Domain model c. Interaction diagrams d. Function model e. Behaviour model
Câu 95. Lược đồ nào cung cấp các thông tin cần thiết cho việc phát sinh mã nguồn a. Lược đồ lớp
b. Lược đồ lớp và lược đồ cộng tác
c. Lược đồ lớp và lược đồ trình tự
d. Tất cả các lược đô trên
Mapping Designs To Code
Câu 96. Quá trình phát sinh mã nguồn từ một lược đồ UML được gọi là a. Visual Coding b. Reverse Engineering c. Forward Engineering
d. Visual Programming Language
Câu 97. Dựa vào lược đồ 1 và 2, định nghĩa phương thức EnterItem bằng ngôn ngữ C#.NET Lược đồ 1: Lược đồ 2: 18 lOMoAR cPSD| 47206417 a. Cách 1
public void enterItem(ItemID itemID, int qty)
{ desc = catalog.getProductDescription(itemID); makeLineItem(desc, qty); } b. Cách 2
public void enterItem(ItemID itemID, int qty) { ProductDescription desc =
catalog.getProductDescription(itemID);
currentSale.makeLineItem(desc, qty); } c. Cách 3
public void enterItem(ItemID itemID, int qty)
{ currentSale.makeLineItem(desc, qty);
desc = catalog.getProductDescription(itemID); } d. Cả 3 cách đều đúng
Câu 98. Cho biết trình tự hiện thực của các lớp sau để đảm bảo biên dịch không lỗi và có thể thực
hiện unit test tại bất kỳ thời điểm nào.
a. ProductCatalog, ProductDescription, Sale, SalesLineItem
b. Sale, SalesLineItem, ProductCatalog, ProductDescription 19 lOMoAR cPSD| 47206417
c. ProductDescription , ProductCatalog, SalesLineItem, Sale
d. Sale, SalesLineItem, ProductDescription, ProductCatalog
Activity & State Diagram
Câu 99. Lược đồ trạng thái và lược đồ hoạt động được dùng để mô tả ______________ của hệ thống a. Business rules b. Main scenario c. State dependent object d. Complex reactive object
Câu 100. Ký hiệu “Fork” trong lược đồ hoạt động biểu diễn nhiều hoạt động đang diễn ra a. Tuần tự b. Đồng thời c. Loại trừ nhau
d. Không có ký hiệu này trong lược đồ hoạt động
Câu 101. Dùng ký hiệu nào để biểu diễn điểm kết thúc của mô hình trạng thái a. Chấm tròn tô đen
b. Chấm tròn tô đen có đường viền bên ngoài c.
d. Mô hình trạng thái không có điểm kết thúc
Câu 102. Dùng ký hiệu nào để biểu diễn một object node trong mô hình hoạt động a. Hình thoi b. Hình tròn biến thể c. Hình chữ nhật
d. Hình chữ nhật bo tròn góc
Câu 103. Mô hình nào được sử dụng để nắm bắt qui trình nghiệp vụ và mô hình hóa luồng dữ liệu của hệ thống a. Mô hình hoạt động b. Mô hình trạng thái c. Mô hình nghiệp vụ
d. Mô hình luồng dữ liệu
Câu 104. Lược đồ trạng thái được xây dựng dựa trên các đối tượng ______________ a. Độc lập trạng thái
b. Độc lập trạng thái phức tạp
c. Phụ thuộc trạng thái
d. Có trạng thái hoạt động tuần tự
Câu 105. Mô hình nào là cách biểu diễn tốt để thể hiện dãy các hành động cho nhiều đối tượng và Use Case a. Mô hình use-case b. Mô hình hoạt động c. Mô hình tương tác 20