



















Preview text:
  BỘ CÔNG THƯƠNG 
TRƯỜNG ĐẠI HỌC CÔNG NGHIỆP THỰC PHẨM TP. HCM 
KHOA CÔNG NGHỆ THỰC PHẨM  ----- -----   
TIỂU LUẬN HỌC PHẦN: 
CÔNG NGHỆ BAO BÌ ĐÓNG GÓI THỰC PHẨM 
TÊN ĐỀ TÀI: PHƯƠNG PHÁP VỆ SINH BAO BÌ  THỰC PHẨM  NHÓM 12 
Thành phố Hồ Chí Minh, tháng 10 năm 2022          BỘ CÔNG THƯƠNG 
TRƯỜNG ĐẠI HỌC CÔNG NGHIỆP THỰC PHẨM TP. HCM KHOA 
CÔNG NGHỆ THỰC PHẨM  ----- -----   
TÊN ĐỀ TÀI: PHƯƠNG PHÁP VỆ SINH BAO BÌ  THỰC PHẨM 
Thành phố Hồ Chí Minh, tháng 10 năm 2022                    LỜI CẢM ƠN  
Lời đầu tiên, nhóm 12 xin chân thành cảm ơn cô đã tạo điều kiện cho chúng em 
được tiếp xúc và tìm hiểu đề tài. Nhóm 12 nhận được đề tài “Phương pháp vệ sinh bao 
bì thực phẩm”. Trong quá trình hoàn thành bài tiểu luận chắc chắn chúng em không 
tránh khỏi những thiếu sót, nhóm chúng em với những kinh nghiệm ít ỏi, kiến thức còn 
hạn chế. Nhóm mong nhận được lời góp ý đến từ cô và các bạn để bài tiểu luận được  hoàn thiện hơn. 
Chúng em chân thành cảm ơn cô!          MỤC LỤC 
PHẦN MỞ ĐẦU .......................................................................................................... 7 
PHẦN NỘI DUNG ...................................................................................................... 8 
1. TỔNG QUAN .......................................................................................................... 8 
1.1. Chức năng của bao bì thực phẩm ........................................................................... 8 
1.2. Phân loại bao bì thực phẩm .................................................................................... 9 
2. TIÊU CHUẨN AN TOÀN VỆ SINH BAO BÌ THỰC PHẨM .......................... 13 
2.1. Chất lượng bao bì thực phẩm ............................................................................... 13 
2.1.1. Bao bì sản xuất từ nguyên liệu an toàn ............................................................. 13 
2.1.2. Bao bì đáp ứng kỹ thuật về an toàn thực phẩm ................................................. 14 
2.2. Tiêu chuẩn phẩm màu in ấn .................................................................................. 15 
3. PHƯƠNG PHÁP VỆ SINH BAO BÌ ................................................................... 16 
3.1. Vệ sinh bao bì kim loại trước khi sử dụng ........................................................... 16 
3.1.1. Đặc điểm của bao bì kim loại trong việc vệ sinh .............................................. 16 
3.1.2. Quy trình vệ sinh ............................................................................................... 17 
3.1.2.1. Lon không được thanh trùng và tiệt trùng ...................................................... 17 
3.1.2.2. Lon được thanh trùng, tiệt trùng .................................................................... 18 
3.1.3. Thuyết minh quy trình ....................................................................................... 19 
3.2. Vệ sinh bao bì thủy tinh tái sử dụng ..................................................................... 20 
3.2.1. Mục đích ............................................................................................................ 21 
3.2.2. Quy trình vệ sinh ............................................................................................... 22 
3.2.3. Thuyết minh quy trình ....................................................................................... 23 
3.2.4. Những lưu ý khi sử dụng phương pháp ............................................................. 25     
4. TIÊU CHUẨN CỦA BAO BÌ THỦY TINH VÀ BAO BÌ LON SAU KHI VỆ 26 
SINH ........................................................................................................................... 26 
4.1. Đối với bao bì thủy tinh ....................................................................................... 26 
4.2. Đối với bao bì lon ................................................................................................. 26 
PHẦN KẾT LUẬN .................................................................................................... 28 
BẢNG PHÂN CÔNG NHIỆM VỤ .......................................................................... 29 
TÀI LIỆU THAM KHẢO ........................................................................................ 29           
MỤC LỤC HÌNH ẢNH 
Hình 1: Bao bì sản phẩm bánh kẹo................................................................................4 
Hình 2: Bao bì sản phẩm đồ hộp....................................................................................4 
Hình 3: Bao bì nước giải khát........................................................................................4 
Hình 4: Bao bì giấy........................................................................................................5 
Hình 5: Bao bì gỗ...........................................................................................................5 
Hình 6: Bao bì kim loại..................................................................................................6 
Hình 7: Bao bì plastic....................................................................................................6 
Hình 8: Bao bì thủy tinh................................................................................................6 
Hình 9: Bao bì sành sứ...................................................................................................7 
Hình 10: Bao bì màng ghép...........................................................................................7 
Hình 11: Bao bì phải đáp ứng tiêu chuẩn về an toàn vệ sinh bao bì thực phẩm theo quy 
định của Bộ Y Tế...........................................................................................................9 
Hình 12: Bao bì kim loại..............................................................................................10 
Hình 13: Máy rửa hộp sắt kiểu băng chuyền................................................................13 
Hình 14: Bao bì tái sử dụng.........................................................................................14 
Hình 15: Bao bì không tái sử dụng..............................................................................15 
Hình 16: Quy trình máy rửa chai sử dụng sút 2 lần.....................................................18 
Hình 17: a. Máy rửa chai 2 cần b. Máy rửa chai 24 vòi, mâm xoay.............................19      PHẦN MỞ ĐẦU 
Từ thời xa xưa, con người đã biết dùng những loại lá cây như chuối, tre, …làm 
vật gói những thực phẩm khác. Dần dần xã hội càng phát triển, nhu cầu về chất lượng 
sống càng cao, những lá chuối này đã được thay thế bằng bao bì để bảo quản sản phẩm 
tốt hơn trong quá trình vận chuyển cũng như chất lượng của sản phẩm. 
Cùng với sự tăng trưởng của ngành thực phẩm, ngành sản xuất bao bì cũng liên 
tục phát triển. Theo đó, các loại bao bì thực phẩm luôn được nghiên cứu trên nền công 
nghệ mới nhằm đảm bảo chất lượng của sản phẩm và đáp ứng được nhu cầu của sản 
xuất và trao đổi hàng hóa. Theo các nhà sản xuất thì bao bì được xem là phương tiện 
thể hiện sản phẩm. Bởi đến 95% người mua hàng nhìn vào bao bì để lựa chọn sản 
phẩm. Bao bì chứa đựng tất cả các thông tin mà khách hàng cần và cũng là công cụ để 
doanh nghiệp quảng bá sản phẩm. Bao bì hợp thành sản phẩm hoàn chỉnh trong cơ cấu 
hợp lý với sản phẩm cơ bản. Bao bì thực phẩm là phần tiếp xúc trực tiếp và có ảnh 
hưởng rất lớn tới chất lượng thực phẩm. Nếu bao bì không đảm bảo an toàn vệ sinh, 
chất lượng kém hoặc chứa các chất độc hại dễ thôi ra và ngấm vào thực phẩm thì sẽ 
gây hại cho sức khỏe con người. Trên thị trường có các loại bao bì được sản xuất từ 
các loại nguyên liệu như giấy, thủy tinh, cao su, nhựa tổng hợp và kim loại,…Mỗi loại 
bao bì đều có những quy chuẩn nhất định mà bộ y tế đã đặt ra nhằm đảm bảo sức khỏe 
cho người dân. Bao bì thực phẩm ảnh hưởng rất lớn tới chất lượng của sản phẩm. 
Vậy nên việc vệ sinh bao bì thực phẩm là việc cần thiết và quan trọng vì khi 
đảm bảo vệ sinh bao bì thì cơ quan chức năng mới cấp giấy cho doanh nghiệp. Bên 
cạnh đó, các phương pháp vệ sinh bao bì thực phẩm giúp đảm bảo sức khỏe người tiêu 
dùng và đảm bảo vệ sinh được quy định trong thực phẩm. 
Nắm bắt tâm lý đó, nhóm 12 chúng em xin được phép lựa chọn đề tài “Phương 
pháp vệ sinh bao bì thực phẩm” nhằm mục đích tìm hiểu, nghiên cứu và phân tích tất 
cả các phương pháp để vệ sinh bao bì thực phẩm một cách tốt nhất, đảm bảo an toàn 
vệ sinh thực phẩm cũng như sức khỏe con người chúng ta.      PHẦN NỘI DUNG  1. TỔNG QUAN 
Bao bì là vật chứa đựng, bao bọc thực phẩm thành đơn vị để bán. Bao bì có thể 
bao gồm nhiều lớp bao bọc, có thể phủ kín hoàn toàn hay chỉ bao bọc một phần sản 
phẩm. Bao bì phải đảm bảo chất lượng cho sản phẩm, có thể phân phối, lưu kho, kiểm 
tra và thương mại… một cách thuận lợi. 
Bao bì thực phẩm là phần tiếp xúc trực tiếp và có ảnh hưởng rất lớn tới chất 
lượng thực phẩm. Nếu bao bì không đảm bảo an toàn vệ sinh, chất lượng kém hoặc 
chứa các chất độc hại dễ thôi ra và ngấm vào thực phẩm thì sẽ gây hại cho sức khỏe 
con người. Trên thị trường có các loại bao bì được sản xuất từ các loại nguyên liệu như 
giấy, thủy tinh, cao su, nhựa tổng hợp và kim loại,…Mỗi loại bao bì đều có những quy 
chuẩn nhất định mà bộ y tế đã đặt ra nhằm đảm bảo sức khỏe cho người dân. 
1.1. Chức năng của bao bì thực phẩm 
Bao bì thực phẩm thể hiện qua 3 chức năng quan trọng: 
 Đảm bảo số lượng và chất lượng thực phẩm 
– Bao bì đảm bảo thực phẩm được chứa đựng bên trong không thay đổi về khối  lượng hay thể tích. 
– Chất lượng của sản phẩm thực phẩm bao gồm mùi vị, trạng thái, cấu trúc, màu 
sắc, dinh dưỡng, an toàn vệ sinh, cảm quan luôn được đảm bảo trong suốt thời hạn sử  dụng sản phẩm. 
– Vi sinh vật có thể xâm nhập vào thực phẩm thông qua sự xâm nhập của nước, 
hơi nước, không khí. Ánh sáng là tác nhân xúc tác cho một số phản ứng oxy hóa khử, 
các phản ứng sinh hóa tạo ra nguồn tự do có thể gây độc cho cơ thể, các gốc tự do tạo 
phản ứng dây chuyền và phân cắt các mạch polyme gây biến đổi thành phần dinh dưỡng 
– Nhiệt độ: tùy theo quy trình công nghệ xử lý chế biến và thành phần của sản 
phẩm mà áp dụng nhiệt độ bảo quản khác nhau. 
– Tác động của lực cơ học là do va chạm trong quá trình vận chuyển, bốc dỡ hoặc 
bị rơi làm mất giá trị thực phẩm cũng như cảm quan và có thể gây hư hỏng bao bì. 
 Thông tin, giới thiệu sản phẩm, thu hút người tiêu dùng     
– Bao bì thực phẩm thực hiện nhiệm vụ truyền tải thông tin của nhà sản xuất đến 
người tiêu dùng như đặc tính của sản phẩm về dinh dưỡng, trạng thái, cấu trúc, mùi vị, 
nguồn nguyên liệu, nhà sản xuất, địa chỉ quốc gia chế biến ra sản phẩm. 
– Sản phẩm tự thông tin,giới thiệu thu hút khách hàng thông qua nhãn hiệu, hình 
thức bao bì và kết cấu bao bì. 
– Cách trình bày hình ảnh, màu sắc, thương hiệu, tên sản phẩm chính là sự thu hút 
của sản phẩm đối với người tiêu dùng. 
– Kết cấu của bao bì cho biết trạng thái, cấu trúc, màu sắc của sản phẩm nhằm 
đáp ứng yêu cầu khách hàng giúp họ có sự lựa chọn dễ dàng hơn. 
 Thuận tiện trong phân phối, lưu kho, quản lý và tiêu dùng 
– Bao bì được thiết kế thuận tiện, tiết kiệm cho sự bảo quản sản phẩm, phân phối, 
lưu kho, quản lý và tiêu dùng 
– Để dễ dàng phân phối, vận chuyển thì bao bì được cấu trúc hình chữ nhật để dễ 
xếp khối, đóng thành kiện, có kích thước như nhau để tiện xếp vào kho, chất chồng lên  nhau. 
– Nhiều chủng loại được sắp xếp chung trong một bao bì theo từng loại ,theo từng 
vị trí để tạo vẻ mỹ quan, thu hút người tiêu dùng. 
– Thuận tiện trong việc sử dụng: bao bì được chọn lựa từ vật liệu chế tạo đến thiết 
kế kiểu dáng, kích thước,… để đáp ứng yêu cầu sử dụng của người tiêu dùng. 
1.2. Phân loại bao bì thực phẩm 
 Phân loại bao bì theo thực phẩm 
– Sản phẩm thực phẩm vô cùng đa dạng về chủng loại. 
– Những vật liệu có tính chống thấm khí, chống thấm hơi nước cao có thể ngăn 
chặn được môi trường ngoài xâm nhập vào thực phẩm. Để sản phẩm hấp dẫn khách 
hàng thì cần phải có phần trong suốt có thể thấy một cách rõ ràng sản phẩm bên trong 
và có phần đục để in chữ, nhãn hiệu.       
Hình 1: Bao bì sản phẩm bánh kẹo 
– Nhiều chủng loại thực phẩm khác nhau được bao gói cùng một loại bao bì,sử 
dụng cùng một kỹ thuật đóng gói   
Hình 2: Bao bì sản phẩm đồ hộp 
– Sản phẩm nước giải khát có thể chứa đựng trong bao bì bằng plastic, kim loại,  thủy tinh,…   
Hình 3: Bao bì nước giải khát 
 Phân loại bao bì theo tính năng kỹ thuật 
– Bao bì chịu nhiệt: yêu cầu vật liệu bền cơ ở nhiệt độ thấp hoặc cao, bao bì không  bị giòn, vỡ, rách…     
– Bao bì chịu áp suất chân không hoặc áp suất dư và bền cơ, tính mềm dẻo để bao 
bì có thể áp sát bề mặt thực phẩm. 
– Bao bì chịu lực: yêu cầu vật liệu có độ cứng vững cao, không mềm dẻo co giãn 
đảm bảo tính chống thấm khí hơi cao. 
– Bao bì thấu quang và cảm quan: bao bì kim loại, plastic được phủ màu đục hay 
chai lọ thủy tinh có màu nâu hoặc xanh lá cây. 
– Bao bì tetrapak: là bao bì vô trùng. 
 Phân loại bao bì theo vật liệu cấu tạo 
– Bao bì bằng giấy có đặc tính nhẹ, dễ in ấn, trang trí, dễ phân hủy và tái sinh dễ 
dàng không gây ô nhiễm môi trường.   
Hình 4: Bao bì giấy 
– Bao bì bằng gỗ: chịu được tải trọng và chịu va chạm cơ học nhưng giá thành 
cao và phá hoại môi trường.    Hình 5: Bao bì gỗ 
– Bao bì bằng kim loại thép tráng thiếc: chịu nhiệt độ thanh trùng, tiệt trùng,chịu 
được va chạm cơ học, không chịu ảnh hưởng bởi nhiệt độ cao.       
Hình 6: Bao bì kim loại 
– Bao bì bằng plastic: chịu được nhiệt độ thấp.   
Hình 7: Bao bì plastic 
– Bao bì bằng thủy tinh: chịu được nhiệt độ thanh trùng, có thể nhìn thấy sản 
phẩm bên trong, nhưng không bền cơ học, dễ bị vỡ nứt, bất tiện cho quá trình vận  chuyển.   
Hình 8: Bao bì thủy tinh 
– Bao bì sành sứ: chống thấm tốt, chịu nhiệt tốt, chống ăn mòn nhưng nặng.       
Hình 9: Bao bì sành sứ 
– Bao bì bằng màng ghép nhiều loại vật liệu: dễ dàng che lấp mọi khuyết điểm 
đồng thời đáp ứng mọi tính chất cần thiết của sản phẩm.   
Hình 10: Bao bì màng ghép 
2. TIÊU CHUẨN AN TOÀN VỆ SINH BAO BÌ THỰC PHẨM 
2.1. Chất lượng bao bì thực phẩm 
2.1.1. Bao bì sản xuất từ nguyên liệu an toàn 
Bao bì chứa đựng thực phẩm phải được làm từ nguyên liệu an toàn, bảo đảm 
không thôi nhiễm các chất độc hại, mùi vị lạ vào thực phẩm, bảo đảm chất lượng thực 
phẩm trong thời hạn sử dụng. Chất liệu làm bao bì phải tuân thủ quy định về hàm lượng 
và chỉ sử dụng các thành phần được cho phép theo quy định của Bộ Y Tế. Ngay cả 
những thiết bị, dụng cụ dùng để sản xuất bao bì cũng phải tuân thủ quy định này. 
Phẩm màu in ấn trên bao bì phải được kiểm tra và đảm bảo không gây thôi 
nhiễm vào sản phẩm. Đặc biệt đối với các sản phẩm được hướng dẫn làm nóng trong 
lò vi sóng thì yêu cầu này càng phải được kiểm soát khắt khe hơn.     
Lưu ý: không nên in ấn mặt trong của bao bì trừ trường hợp loại mực in ấn đã 
được cơ quan chức năng kiểm tra và cho phép sử dụng. 
2.1.2. Bao bì đáp ứng kỹ thuật về an toàn thực phẩm 
Bao bì chứa đựng thực phẩm phải đáp ứng quy chuẩn kỹ thuật do Bộ trưởng 
Bộ Y tế ban hành. Mỗi loại bao bì sẽ có một quy chuẩn tương ứng khác nhau. Dưới 
đây là các quy chuẩn kỹ thuật của một số bao bì thông dụng: 
– TT 34/20118TT-BYT – Quy chuẩn kỹ thuật quốc gia về an toàn vệ sinh đối với 
bao bì, dụng cụ bằng nhựa tổng hợp tiếp xúc trực tiếp với thực phẩm. 
– QCVN 12-2: 2011/BYT – Quy chuẩn kỹ thuật quốc gia về an toàn vệ sinh đối 
với bao bì, dụng cụ bằng nhựa tổng hợp tiếp xúc trực tiếp với thực phẩm. 
– QCVN 12-2: 2011/BYT – Quy chuẩn kỹ thuật quốc gia về an toàn đối với bao 
bì, dụng cụ bằng cao su tiếp xúc trực tiếp với thực phẩm. 
– QCVN 12-3:2011/BYT – Quy chuẩn kỹ thuật quốc gia về an toàn vệ sinh đối 
với bao bì, dụng cụ tiếp xúc trực tiếp với thực phẩm bằng kim loại. 
– QCVN 12-4:2015/BYT – Quy chuẩn kỹ thuật quốc gia về vệ sinh an toàn đối 
với bao bì, dụng cụ làm bằng thủy tinh, gốm sứ và tráng men tiếp xúc trực tiếp với thực  phẩm. 
– QCVN 46:2007/BYT – Kiểm nghiệm sản phẩm gỗ.   
Hình 11: Bao bì phải đáp ứng tiêu chuẩn về an toàn vệ sinh bao bì thực phẩm theo 
quy định của Bộ Y Tế.     
2.2. Tiêu chuẩn phẩm màu in ấn 
Sự đảm bảo an toàn vệ sinh cho thực phẩm được bao gói bằng bao bì plastic 
chính là đảm bảo không nhiễm chất tiềm ẩn, bên cạnh đó cũng đảm bảo không có sự 
nhiễm độc từ sự in ấn bao bì. Điều này cũng bao hàm cả quy định không được in trên 
mặt trong của bao bì thực phẩm tiếp xúc trực tiếp với thực phẩm với các loại mực in 
theo tiêu chuẩn vệ sinh an toàn thực phẩm trừ trường hợp chất liệu in được chính thức 
phê duyệt là đạt yêu cầu riêng khi tiếp xúc trực tiếp với thực phẩm. 
Sự nhiễm chất độc từ mực in cũng có thể xảy ra trong những trường hợp: 
– In trên mặt ngoài bao bì: sau khi in trong bao bì được cuộn lại ngay thành cuộn 
to. Khi đó mực ở lớp ngoài dính vào mặt trong của lớp bao bì kế tiếp cuộn chồng lên. 
– In mặt trong của bao bì hai lớp, của lớp tiếp xúc thực phẩm của loại bao bì ghép 
hai lớp. Do có thể xảy ra trường hợp lớp ngăn cản (lớp trong) bị thấm ướt hoặc thấm 
chất béo từ thực phẩm hoặc các chất độc hữu cơ, dung môi hữu cơ còn lại sau quá trình 
in thấm xuyên qua lớp ngăn cản nhiễm vào môi trường chưa thực phẩm. Trường hợp 
thực phẩm khô có bánh, chocolate sẽ dễ hấp thụ các chất bốc hơi này gây mất giá trị 
cảm quan và có thể gây độc, ảnh hưởng sức khỏe tiêu dùng. 
Đối với những loại bao bì thực phẩm có thể hâm nóng, đun trong lò vi-ba thì 
phải lựa chọn mực in một cách nghiêm khắc, vì ở nhiệt độ cao các chất độc hữu cơ từ 
mực in có thể bị phân hủy thoát ra ngoài và có khả năng khuếch tán dễ dàng qua màng 
ngăn cách, nhiễm vào thực phẩm. 
Quyết định số 867/1998/QĐ-BYT ngày 4/4/1998 về: “Tiêu chuẩn An toàn vật 
liệu bao bì ” thì màu dùng để in ấn nhãn hàng hóa trang trí bao bì được yêu cầu là: 
phẩm màu cho phép dùng trong thực phẩm. 
Các phẩm màu tổng hợp được phép dùng trong thực phẩm với lượng phẩm màu 
tối đa cho phép nhiễm vào thực phẩm từ dụng cụ, vật liệu bao bì chưa đựng theo quy 
định: “ Danh mục các chất phụ gia được phép sử dụng trong thực phẩm” ban hành kèm 
theo quyết định số 3742/2001/QĐ-BYT ngày 31/8/2001.     
3. PHƯƠNG PHÁP VỆ SINH BAO BÌ 
3.1. Vệ sinh bao bì kim loại trước khi sử dụng  Nguyên tắc: 
Các lon đựng thực phẩm thường không được tái sử dụng để đựng thực phẩm 
cũng như không thể dùng cho các mục đích khác; các loại hộp đã qua sử dụng có thể 
bị phân hủy ngoài môi trường nhưng rất chậm, những hộp kim loại phế thải đươc tái 
sinh tạo nguyên liệu kim loại. Do đó, ở đây ta chỉ đề cập đến vệ sinh lon mới được sản  xuất. 
Lon thường bám dầu và bụi bẩn trong quá trình gia công và bảo quản, do đó cần 
rửa sạch trước khi sử dụng.   
Hình 12: Bao bì kim loại 
3.1.1. Đặc điểm của bao bì kim loại trong việc vệ sinh 
Lon có tráng vecni: do trong quá trình sản xuất lon đã được trải qua giai đoạn 
sấy khô và đóng thành kiện bởi màng bọc PVC nên chế độ vệ sinh tương đối nhẹ nhàng. 
Lon được tráng vecni có thể được làm từ thép hoặc làm từ nhôm. Nếu là lon nhôm thì 
không được tiệt trùng hay thanh trùng sau khi đựng thực phẩm. Ngược lại lon thép 
tráng thiếc có thể đựng các loại thực phẩm được thanh trùng hoặc tiệt trùng. Tùy vào 
từng trường hợp khác nhau mà ta có các chế độ vệ sinh khác nhau. Lon đựng thực 
phẩm không qua thanh trùng hoặc tiệt trùng thì chế độ vệ sinh khắc khe hơn. 
Lon không tráng vecni: loại lon này thường được đựng thực phẩm dạng bột khô 
hoặc thực phẩm có pH cao,…ví dụ: như sữa bột, sữa đặc,… Lon không tráng vecni bắt 
buộc phải tiệt trùng trước khi chiết rót thực phẩm (tùy loại lon người ta sử dụng phương 
pháp tiệt trùng khác nhau). Loại này được sát trùng bằng loại hóa chất không gây hư     
hỏng lớp thiếc, được sấy khô và đóng bao bì trong điều kiện vô trùng, có hút chân  không hoặc bơm khí trơ. 
Khi vệ sinh lon cần chú ý đến hóa chất sát trùng. Vì lon không tráng vecni rất 
dễ bị ăn mòn. Ở quy trình vệ sinh lon cần phân loại lon được thanh trùng, tiệt trùng. 
Lon được thanh trùng và tiệt trùng: bao gồm lon được làm từ vật liệu thép tráng 
thiếc – có tráng vecni và tất cả những lon không tráng vecni. 
Lon không được thanh trùng và tiệt trùng: loại lon được làm từ vật liệu nhôm  có tráng vecni. 
3.1.2. Quy trình vệ sinh 
3.1.2.1. Lon không được thanh trùng và tiệt trùng  Nhập chai  Nước 30°C  Rửa lần 1          NaOH 1.5%  Rửa lần 2  60-80 °C  Nước 90-95°C  Rửa lần 3  Hơi nước  Phun hơi  105-120 °C  Sấy khô  Lon sạch   
3.1.2.2. Lon được thanh trùng, tiệt trùng  Nhập chai  Nước sạch  Phun nước  30 °C  Làm ráo/ sấy khô      Lon sạch   
3.1.3. Thuyết minh quy trình 
 Lon không được thanh trùng, tiệt trùng sau khi đựng thực phẩm. 
Loại lon này chủ yếu là lon nhôm có tráng vecni, trải qua 3 chế độ sấy khô và 
được đóng thành kiệt bởi màng bọc bằng PVC, tuy nhiên sau khi đựng thực phẩm nó 
không qua chế độ thanh trùng hay tiệt trùng, do đó việc vệ sinh tương đối khắc khe 
hơn. Loại lon không có tráng vecni bắt buộc phải tiệt trùng trước khi chiết rót sản  phẩm. 
– Khi nhập lon vào máy, thì máy sẽ tiết hành rửa lon theo đúng quy trình:   
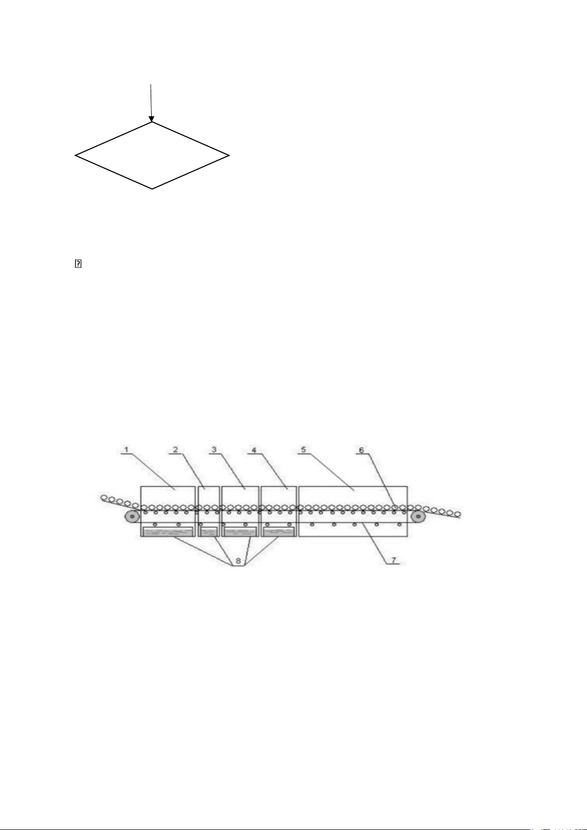
Hình 13: Máy rửa hộp sắt kiểu băng chuyền 
1. Khu vực phun rửa bằng nước lạnh 5. Buồng sấy khô lon 
2. Khu vực phun rửa hóa chất 6. Lon sạch 
3. Khu vực phun nước nóng 90 C 7. Băng tải bằng thép không gỉ⁰ 
4. Khu vực phun hơi nước 8. Thu hồi nước rửa 
– Lon được phun nước lạnh để thấm ướt và làm sạch bụi sơ bộ trên lon.     
– Tiếp theo, lon được rửa với dung dịch NaOH 1,5% để làm sạch bụi bẩn dầu nhớt 
và sát trùng lon. Công đoạn này được thực hiện ở nhiệt độ cao để tăng hiệu quả quá 
trình tẩy rửa, đối với một số sản phẩm lon dễ bị ăn mòn không chịu được nhiệt độ tẩy 
rửa có thể bỏ qua bước này. 
– Phun nước nóng ở 90-95 C làm cho bụi trương nở rất nhanh, bong ra khỏi bề⁰ 
mặt lon và theo dòng nước ra ngoài. 
– Sau khi rửa bằng nước nóng, hơi có nhiệt độ cao 105-120 C được phun vào bên⁰ 
trong lon. Mục đích tiêu diệt toàn bộ vi sinh vật. 
– Vì loại lon này không qua chế độ thanh trùng hoặc tiệt trùng nên ta chọn chế dộ 
sấy khô ở nhiệt độ 115 C trong 15 phút trước khi chiết rót sản phẩm vào ⁰ lon. 
 Lon được thanh trùng, tiệt trùng sau khi đựng thực phẩm. 
Đối với lon có tráng vecni được thanh trùng tiệt trùng chỉ phun nước ở nhiệt độ 
thường đẻ làm sạch bụi, sau đó làm khô hoặc sấy khô và đem đi chiết rót thực phẩm. 
Việc vệ sinh nhẹ nhàng vì sau khi chiết rót thực phẩm sẽ được mang đi thanh trùng,  tiệt trùng. 
3.2. Vệ sinh bao bì thủy tinh tái sử dụng 
Bao bì tái sử dụng bao gồm chai, lọ, kệ, thùng chứa, ...đảm bảo sản phẩm an 
toàn trong suốt quá trình sử dụng. Bao bì tái sử dụng thường được dùng bởi các nhà 
sản xuất, chế biến, người tiêu dùng. Thủy tinh, kim loại, plastic, giấy là những loại vật 
liệu bao bì thông dụng dễ bắt gặp trong đời sống hằng ngày. Trong đó, thủy tinh là loại 
bao bì có thể “tái sử dụng” nhiều lần, còn giấy, plastic, kim loại là những loại bao bì 
không thể tái sử dụng nhưng có thể dùng để tái chế và dùng cho những mục đích khác. 
Bao bì plastic cũng có vài loại có thể tái sử dụng nhưng chỉ được một đến vài lần và 
không khuyến khích mọi người tái sử dụng bao bì plastic trong thời gian dài. 
Do bản chất của các loại bao bì, an toàn vệ sinh thực phẩm và sức khỏe nên ta 
chỉ có thể tái sử dụng bao bì thủy tinh sau khi vệ sinh sạch sẽ.