















Preview text:
lOMoAR cPSD| 61224927
BỘ GIÁO DỤC VÀ ĐÀO TẠO
TRƯỜNG ĐẠI HỌC KINH TẾ QUỐC DÂN KHOA MARKETING __________ BÀI TẬP CÁ NHÂN
Bộ môn: Hành vi người tiêu dùng
Giáo viên hướng dẫn: Nguyễn Thu Lan
Sinh viên thực hiện: Nguyễn Phương Hà Mã số SV: 11201190 Lớp: Marketing 62A
Hà Nội, tháng 4/2022 lOMoAR cPSD| 61224927 A) ĐỀ BÀI
Câu 1: Hãy chọn một trong những yếu tố môi trường bên ngoài sau đây: văn hóa,
giai tầng, nhóm tham khảo và gia đình. Phân tích mức độ ảnh hưởng của yếu tố này
đến hành vi của nhóm người tiêu dùng sinh viên trên một thị trường sản phẩm mà
bạn ưa thích. Trên cơ sở đó đề xuất các giải pháp marketing cho các doanh nghiệp
kinh doanh loại sản phẩm này hướng tới thị trường sinh viên
Câu 2: Hãy chọn một trong những yếu tố bên trong của người tiêu dùng: cá tính,
động cơ, nhận thức và thái độ. Phân tích sự ảnh hưởng của yếu tố này đến hành vi
tiêu dùng một sản phẩm cụ thể của bạn và đưa ra giải pháp cho doanh nghiệp sản
xuất kinh doanh sản phẩm nói trên lOMoAR cPSD| 61224927 B) BÀI LÀM Câu 1:
=> Yếu tố lựa chọn: Nhóm tham khảo
=> Sản phẩm lựa chọn: Giày thể thao
1.1. Mô tả về yếu tố nhóm tham khảo
● Nhóm tham khảo, cá nhân tham khảo là nhóm người hay một cá nhân mà thái
độ, hành vi của họ được xem như là chuẩn mực cho thái độ và hành vi
của mình, điều này làm ảnh hưởng nhiều đến quyết định mua hàng. Nhóm tham
khảo có thể là một tổ chức, một đoàn thể, một ban nhạc, một tầng lớp xã hội…
Cá nhân tham khảo thì có thể là một người bạn, một thành viên trong gia đình
hay một người nổi tiếng được ngưỡng mộ.
● Ảnh hưởng của nhóm tham khảo đến hành vi tiêu dùng: Ảnh hưởng trực tiếp
và ảnh hưởng gián tiếp.
- Ảnh hưởng trực tiếp của gia đình, bạn bè là những người thường xuyên
tiếp xúc qua việc uốn nắn, dạy dỗ những quy tắc chuẩn mực hoặc hành vi tiêu dùng.
- Ảnh hưởng gián tiếp không tiếp xúc “mặt đối mặt” như ảnh hưởng của
các ngôi sao điện ảnh, những nhân vận trên truyền hình, người nổi tiếng
trong giới thể thao, những người ở một tầng lớp xã hội khác, những
người nổi tiếng trên mạng xã hội ( tiktok, instagram, facebook…), ca sĩ idol …
● Những lý do chấp nhận ảnh hưởng của nhóm tham khảo
- Tìm kiếm thông tin: Do người tiêu dùng lúc nhận thức được rằng kiến
thức của họ về sản phẩm luôn thiếu sót và cần được nâng cao. Vì vậy
họ luôn muốn tìm kiếm thông tin, dịch vụ từ nhóm người họ tin tưởng
để tham khảo nâng cao hiểu biết và nhận thức tiêu dùng.
- Tìm kiếm lợi ích riêng: Người tiêu dùng chấp nhận ảnh hưởng của
nhóm tham khảo đó mang lại cho họ phần thưởng, tránh đi hình phạt
hoặc nhận thấy hành vi của họ được quan tâm và được chú ý bởi những người mà họ thích.
- Lý do biểu thị giá trị: Người tiêu dùng chấp nhận ảnh hưởng của nhóm
tham khảo vì muốn cho mọi người nhận thấy giá trị bản thân của mình
và đề cao cái tôi của mình
● Mức độ ảnh hưởng của nhóm tham khảo đối với hành vi người tiêu dùng
- Thông tin và kinh nghiệm: Đối với người tiêu dùng có ít thông tin về
sản phẩm và dịch vụ muốn mua thì mức độ ảnh hưởng của nhóm tham
khảo đến họ sẽ rất lớn. Còn ngược lại đối với người tiêu dùng đã có đầy
đủ thông tin kinh nghiệm trong việc mua và sử dụng sản phẩm đó thì sẽ
ít chịu ảnh hưởng bởi những lời khuyên hay kinh nghiệm của người lOMoAR cPSD| 61224927
khác. Và nhóm tham khảo cũng có 2 loại thông tin mang ý nghĩa tích
cực và tiêu cực đối với nhà sản xuất, người tiêu dùng.
- Độ tin cậy, sự thu hút, quyền lực của nhóm tham khảo: Độ tin cậy, sự
thu hút, quyền lực của nhóm tham khảo cũng có thể làm thay đổi thái
độ và hành vi mua của người tiêu dùng
Khi người tiêu dùng quan tâm đến những thông tin chính xác về
đặc tính, chất lượng sản phẩm thì họ có thể bị thuyết phục bởi nhóm
tham khảo mà họ cho là đáng tin cậy và có nhiều hiểu biết như những chuyên gia trong ngành
Khi người tiêu dùng quan tâm đến sự chấp nhận, sự tán thưởng
của những người, nhóm người mà họ thích nên sẵn sàng bắt chước mua
và sử dụng sản phẩm, nhãn hiệu giống với những người có thể tạo cho
họ những địa vị,lợi ích ví dụ như nhóm người nổi tiếng, idol. Khi người
tiêu dùng quan tâm đến quyền lực của người hay nhóm ảnh hưởng đến
họ như sợ sự nhạo báng, sự trừng phạt. Trong trường hợp này hành vi
tiêu dùng của họ mặc dù phải thích nghi với tiêu chuẩn của người hay
nhóm người đó nhưng thái độ của họ có thể không thay đổi.
- Đặc tính của sản phẩm: có 4 đặc tính của sản phẩm được phân ra để
xem xét mức độ ảnh hưởng của nhóm tham khảo đến sản phẩm và nhãn
hiệu đó là: Thiết yếu, xa xỉ, sử dụng riêng tư,sử dụng công khai
Thiết yếu: các sản phẩm như quần áo, giày dép, điện thoại…
Hàng hóa thiết yếu sử dụng riêng tư như quần áo ở nhà, chăn đệm…
=> Ảnh hưởng của nhóm đến: Sản phẩm: Yếu Nhãn hiệu: Yếu
Hàng hóa thiết yếu sử dụng công khai: Giày dép, túi xách, điện thoại
=> Ảnh hưởng của nhóm đến: Sản phẩm: Yếu Nhãn hiệu: Mạnh
Xa xỉ: Các sản phẩm như xe hơi, phi cơ, du thuyền, trang sức
Hàng hóa xa xỉ sử dụng riêng tư như lò sưởi, bàn ghế sofa…
=> Ảnh hưởng của nhóm đến: Sản phẩm: Mạnh Nhãn hiệu:Yếu
Hàng hóa xa xỉ sử dụng công khai như điện thoại smartphone, xe hơi.
=> Ảnh hưởng của nhóm đến: Sản phẩm:Mạnh Nhãn hiệu: Mạnh lOMoAR cPSD| 61224927
Như vậy nhìn chung các sản phẩm mang đặc tính thiết yếu thì mức độ
ảnh hưởng của nhóm tham khảo sẽ yếu do các sản phẩm này rất khó
thay thế và có độ cần thiết cao, ngược lại nhóm sản phẩm mang đặc
tính xa xỉ sẽ chịu tác động mạnh đến từ nhóm tham khảo. Các sản phẩm
thuộc 2 nhóm này nếu được sử dụng công khai thì sẽ chịu ảnh hưởng
mạnh đến nhãn hiệu, còn nếu sử dụng riêng tư thì ảnh hưởng đến nhãn hiệu sẽ yếu hơn.
● Ứng dụng của việc sử dụng nhóm tham khảo vào hoạt động Marketing
- Sử dụng nhóm tham khảo trong quảng cáo: Nhóm tham khảo có tính
thu hút thường được các nhà quảng cáo sử dụng để lôi kéo khách hàng
tiềm năng. Các nhóm này thường được sử dụng nhằm gây chú ý đến
quảng cáo từ đó mang lại các mục đích sau: gia tăng nhận thức về nhãn
hiệu sản phẩm, giúp người tiêu dùng an tâm hơn khi sử dụng. Các nhóm
tham khảo thường được sử dụng là các nhân vật truyền thông nổi tiếng
hoặc các chuyên gia, người bình thường đã trải nghiệm, lãnh đạo công ty
- Sử dụng nhóm tham khảo trong bán hàng: Dùng để thuyết phục khách
hàng, những người bán hàng thường sử dụng 1 số câu nói như: “nhiều
người đã mua nhãn hiệu này hơn nhãn hiệu kia”, “ca sĩ nổi tiếng thường mua của tôi"
1.2. Phân tích mức độ ảnh hưởng của nhóm tham khảo đến hành vi của nhóm người
tiêu dùng sinh viên trên thị trường sản phẩm giày thể thao.
● Nhu cầu của nhóm người tiêu dùng sinh viên đối với giày thể thao
Hiện nay giày thể thao đang được rất ưa chuộng trong giới trẻ, và lý do cho
sự ưa chuộng này là các bạn trẻ mong muốn chọn được các phụ kiện để phối
với trang phục hàng ngày thể hiện được sự cá tính, đa dạng. Và với thị trường
giày thể thao ngập tràn các mẫu mã, thương hiệu thì đã đang và sẽ luôn đáp
ứng được các nhu cầu của bạn trẻ và đặc biệt là nhóm người tiêu dùng sinh viên.
- Ứng dụng của giày thể thao đối với các bạn sinh viên
Giày thể thao mang lại sự trẻ trung : Với thiết kế trẻ trung cùng với những
màu sắc ấn tượng, những đôi giày này đang dần trở nên phổ biến và được yêu
thích trong nhóm khách hàng mục tiêu sinh viên. Ngoài ra để đáp ứng nhu cầu
nâng chiều cao cho khách hàng thì các thiết kế bây giờ cũng được bổ sung
thêm đế giày, các thiết kế luôn được cập nhật theo xu hướng, sở thích
Giày thể thao mang lại sự tiện dụng: Dòng sản phẩm này mang lại sự thoải
mái, êm ái, giúp di chuyển thuận lợi và dễ dàng hơn.
Giày thể thao với giá thành hợp lý: Với nhu cầu sử dụng giày thể thao ngày
càng tăng thì các cửa hàng và xưởng sản xuất cũng tăng cường. Giá thành của
giày thể thao rất hợp lý và có thể chọn những sản phẩm với nhiều mức giá lOMoAR cPSD| 61224927
khác nhau theo nhiều phân phúc khách hàng. Từ các đôi giày có giá vài trăm
đến những đôi giày có giá vài chục triệu.
● Các nhóm tham khảo ảnh hưởng đến hành vi tiêu dùng giày thể thao của nhóm tiêu dùng sinh viên. a) Gia đình
- Phương thức ảnh hưởng: Ảnh hưởng trực tiếp.
Gia đình là nơi tiếp xúc trực tiếp và thường xuyên đối với nhóm đối
tượng này. Họ góp phần hình thành tính cách, phong cách ăn mặc và họ
cũng có những ý kiến góp ý tác động trực tiếp đến ý thức, hành vi mua của con cái, anh chị.
- Lý do khiến họ chịu ảnh hưởng của nhóm tham khảo này là tìm kiếm
lợi ích riêng. Họ chịu tác động của gia đình một phần lớn vì mong muốn
tránh khỏi sự trách móc, phản đối của gia đình khi sắm cho mình một
đôi giày không hợp thẩm mỹ,mỹ quan của xã hội.
Ví dụ: như đôi giày mới ra đang tạo ra xu hướng này của hãng giày nổi
tiếng Balenciaga, chắc hẳn nếu bạn quyết định rước cho mình em giày
này về nhà với mức giá vào khoảng 15 triệu VNĐ thì sẽ chịu sự phản
đối khá gay gắt đến từ bố mẹ. Vì những ý kiến của bố mẹ khi bạn tham
khảo sẽ khiến bạn phải cân nhắc và suy nghĩ lại về việc có nên đưa ra
quyết định mua hay không.
Hoặc đôi khi bạn cũng mong muốn khi mua được một đôi giày về sẽ
nhận được sự ủng hộ, ưa thích của cha mẹ.
Ngoài ra một vấn đề hết sức quan trọng đối với nhóm khách hàng là
sinh viên đó là họ vẫn chưa thể tự chủ về kinh tế. Vì vậy phần lớn khoản
tiền họ bỏ ra để chi mua cho các đôi giày thể thao đều đến từ khoản tiền
bố mẹ cho, vì vậy vấn đề tài chính của gia đình cũng có tác động rất
lớn đến hành vi mua của họ.
- Mức độ ảnh hưởng của nhóm tham khảo gia đình
Sản phẩm: Yếu. Vì giày thể thao là 1 loại sản phẩm khá thiết yếu đối
với các bạn sinh viên hiện nay vì vậy việc tác động của gia đình đến
quyết định mua giày hay không là không mạnh. lOMoAR cPSD| 61224927
Nhãn hiệu: Yếu. Đối với gia đình thì việc lựa chọn nhãn hiệu nào không
quá quan trọng và họ cũng không quan tâm nhiều đến sự lựa chọn của
con cái. Họ chỉ để ý đến hình thức dễ nhìn hay không. b) Bạn bè
- Phương thức ảnh hưởng: Ảnh hưởng trực tiếp
Đối với nhóm người tiêu dùng là sinh viên thì bạn bè là nhóm tham
khảo có ảnh hưởng lớn và gần gũi nhất đối với họ trong hành trình đi
từ nhận thức đến quyết định mua. Việc bạn bè suy nghĩ, có thái độ hay
xu hướng sử dụng các loại hình sản phẩm gây ảnh hưởng khá lớn đến
nhóm người tiêu dùng này.
- Lý do khiến họ chịu ảnh hưởng của nhóm tham khảo này: Có 2 lý do
đó là tìm kiếm thông tin và biểu thị giá trị.
Tìm kiếm thông tin: Nhóm tham khảo này thường có tính cách và thói
quen sử dụng khá tương đồng với khách hàng vì vậy những thông tin
mà khách hàng biết về sản phẩm cũng như thương hiệu nếu chưa đầy
đủ thì họ thường có xu hướng tham khảo bạn bè để tìm kiếm thêm thông
tin cũng như biết được thái độ và xu hướng tiêu dùng của đám đông.
Ví dụ: tôi đang muốn mua 1 đôi giày Air Jordan của hãng Nike tuy
nhiên tôi vẫn cảm thấy lo ngại về chất lượng nhận được của sản phẩm.
Vì vậy tôi muốn tìm đến 1 vài người bạn cũng đang sở hữu đôi giày
này hoặc sở hữu các sản phẩm tương tự để tham khảo họ về trải nghiệm
sử dụng sản phẩm, thông tin thương hiệu. Nếu họ có những phản hồi
tốt về sản phẩm thì tôi sẽ cảm thấy tin tưởng hơn khi mua, ngược lại
nếu những phản hồi đó mang tính tiêu cực thì tôi sẽ cân nhắc lại về việc
có nên tiếp tục mua sản phẩm của hãng này hay không.
Biểu thị giá trị: Bản thân khách hàng muốn tiêu dùng các sản phẩm
giày thể thao của các hãng nổi tiếng, sử dụng theo xu hướng mà bạn bè
đang sử dụng để thể hiện đẳng cấp của bản thân và mong muốn có được
sự công nhận từ bạn bè.
- Mức độ ảnh hưởng của nhóm tham khảo bạn bè
Sản phẩm: Yếu. Vì giày thể thao là 1 loại sản phẩm khá thiết yếu đối
với các bạn sinh viên hiện nay vì vậy việc tác động của bạn bè đến
quyết định mua giày hay không là không mạnh
Nhãn hiệu: Mạnh. Đối với người tiêu dùng là sinh viên thì họ rất dễ bị
dao động trong việc lựa chọn nhãn hiệu giày thể thao, đặc biệt là trong
bối cảnh bão hòa các loại hình giày cũng như thương hiệu giày như trên
thị trường hiện nay. Việc đưa ra quyết định lựa chọn sản phẩm thuộc
nhãn hiệu nào chịu tác động rất mạnh bởi nhóm tham khảo là bạn bè.
c) Người nổi tiếng
- Phương thức ảnh hưởng : Ảnh hưởng gián tiếp lOMoAR cPSD| 61224927
Tại Việt nam hiện nay, 85% số người mua sắm cho biết họ theo dõi
những người có tầm ảnh hưởng; 67% người tiêu dùng Việt Nam đồng
ý rằng những người nổi tiếng góp phần quan trọng trong quyết định
mua giày của họ. Vì vậy người nổi tiếng đóng vai trò rất quan trọng
trong các nhóm tham khảo của người tiêu dùng và đặc biệt là sinh viên.
- Lý do khiến họ chịu ảnh hưởng của nhóm tham khảo này: Biểu thị giá trị
Ở độ tuổi này thì khách hàng thường mong muốn thể hiện cá tính của
mình thông qua các sản phẩm thiết yếu được sử dụng công khai, đặc
biệt là giày thể thao vì đôi khi nó cũng được coi là một sản phẩm xa xỉ
(những đôi giày có giá lên đến vài chục triệu). Và việc sử dụng những
sản phẩm mà người nổi tiếng tin dùng giúp họ cảm thấy mình đang sử
dụng những sản phẩm chất lượng hơn, và đặc biệt là họ cũng mong
muốn trở nên xinh đẹp hoặc có sức hút như những người nổi tiếng đang sử dụng sản phẩm.
Một trường hợp đặc biệt đang diễn ra khá phổ biến đối với đối tượng
sinh viên trong văn hóa tiêu dùng giày thể thao hiện nay đó là văn hóa
thần tượng (Idol). Họ rất quan tâm những gì người họ yêu thích, thần
tượng sử dụng và có xu hướng sử dụng theo sản phẩm đó và tạo nên
một trào lưu tiêu dùng. Cũng như chạy thành thích cho idol của họ. Ví dụ:
Đôi giày của hãng Prada được thành viên Jungkook (nhóm BTS)- một
người nổi tiếng sử dụng trong 1 buổi livestream đã ngay lập tức được
khách hàng săn lùng và mua hàng. Dù có giá 1.200 USD tương ứng 27
triệu nhưng ngay lập tức được bán sạch 5/9 size ngay sau đó. Và nhóm
khách hàng chủ yếu là giới trẻ và sinh viên. Như vậy có thể cho thấy
hành vi mua của người tiêu dùng có thể bị tác động ngay trong chốc lát
bởi hành vi sử dụng của nhóm tham khảo này.
- Mức độ ảnh hưởng của nhóm tham khảo
Sản phẩm: Yếu. Vì giày thể thao là 1 loại sản phẩm khá thiết yếu đối
với các bạn sinh viên hiện nay vì vậy việc tác động của người nổi tiếng
đến quyết định mua giày hay không là không mạnh
Nhãn hiệu: Mạnh. Việc người nổi tiếng đại diện hoặc sử dụng sản phẩm
của nhãn hiệu nào có ảnh hưởng rất lớn đến nhóm khách hàng sinh viên lOMoAR cPSD| 61224927
vì những đối tượng này thường đem đến sự tin tưởng, kỳ vọng cho
người tiêu dùng. Ngoài ra họ có một lượng “fan” khá lớn thuộc tập
khách hàng này. Ngoài ra hành vi mua các sản phẩm này thường tạo
nên làn sóng xu hướng của số đông. Ngược lại đôi khi họ cũng đem đến
những ảnh hưởng tiêu cực cho nhãn hiệu nếu họ có những hành vi gây
ấn tượng xấu đến đối tượng khách hàng.
1.3. Đề xuất các giải pháp Marketing cho các doanh nghiệp kinh doanh giày thể thao
hướng đến thị trường sinh viên.
a) Ứng dụng cho quảng cáo.
Trước kia người tiêu dùng thường đưa ra quyết định mua sắm giày thể
thao của mình thông qua các hình thức tiếp thị truyền thống như truyền hình,
tạp chí, hay những buổi giới thiệu tại chính cửa hàng… Nhưng ngày nay, khi
xã hội phát triển, nhu cầu giải trí, tìm hiểu đều tăng vọt với sự ra đời của nhiều
kênh truyền thông khác nhau và điển hình là mạng xã hội. Điều này đã dẫn
đến sự thay đổi về việc tiếp nhận thông tin cũng như nhận thức của người tiêu
dùng. Họ đặt niềm tin nhiều hơn ở những cá nhân trực tiếp trải nghiệm sản
phẩm (như bạn bè) và hoặc những người nổi tiếng mà những phát ngôn của
họ đều có giá trị khi đưa ra những review chuẩn xác cho một sản phẩm mà họ đang quan tâm.
Tuy nhiên việc tác động trực tiếp đến những người bạn bè của từng
khách hàng là việc rất khó vì vậy các doanh nghiệp kinh doanh giày thể thao
muốn hướng đến thị trường sinh viên nên tiến hành marketing trên diện rộng
để tạo nên những hiệu ứng, làn sóng cho sinh viên. Và việc sử dụng quảng
cáo, tiếp thị thông qua người nổi tiếng đang là một hướng đi rất đúng với xu
hướng truyền thông xã hội trong tương lai.
Đề xuất các cách marketing thông qua nhóm tham khảo là người nổi tiếng:
- Chọn gương mặt nổi tiếng, có uy tín và xây dựng hình ảnh phù hợp với
hình ảnh của thương hiệu hay dòng sản phẩm giày tung ra lần này để
làm gương mặt đại diện quảng bá cho nhãn hiệu và chiến dịch. Lưu ý
là gương mặt đại diện cần tránh những Scandal có thể gây ảnh hưởng
đến hình ảnh đã xây dựng.
- Tiến hành tặng các sản phẩm mới ra mắt cho người nổi tiếng, các KOLs
rồi thông qua họ đăng các hình ảnh lên mạng xã hội, video review trải
nghiệm để cung cấp thêm thông tin cũng như phủ sóng rộng trong tập
khách hàng mục tiêu là sinh viên.
Các KOLs tập trung nhiều là những người có ảnh hưởng và nhận được
sự quan tâm lớn đến tệp khách hàng hướng tới.
- Tài trợ giày cho các chương trình có người nổi tiếng tham gia phù hợp
với hình ảnh, phong cách của thương hiệu (ví dụ như chương trình street
dance Việt Nam) để tăng độ nhận diện và khơi dậy hứng thú với khách hàng. lOMoAR cPSD| 61224927
b) Ứng dụng cho bán hàng.
- Đặt các banner/standee phía bên ngoài các cửa hàng phân phối, bán lẻ
có in hình người nổi tiếng sử dụng để thu hút sự quan tâm đến từ khách
hàng hoặc kích thích hành vi mua đối với nhóm “người hâm mộ” của người nổi tiếng này.
- Các nhân viên tư vấn, chăm sóc khách hàng có thể thông qua việc nhóm
tham khảo người nổi tiếng có sử dụng sản phẩm này để tăng thêm niềm tin của khách hàng. Câu 2.
Yếu tố lựa chọn: Nhận thức
Sản phẩm lựa chọn: Biti's Hunter
2.1. Mô tả về yếu tố Nhận thức
● Nhận thức là tập hợp những thông tin được thu thập, xử lý và lưu trữ trong bộ
nhớ. Lượng thông tin càng nhiều, được tổ chức càng hợp lý thì khách hàng
càng có khả năng đưa ra các quyết định đúng đắn. Khi đó trình độ nhận thức
của khách hàng ngày càng cao và ngược lại. Những thông mà khách hàng sử
dụng trên thị trường để đánh giá và mua sắm thể hiện là trình độ nhận thức của khách hàng.
Nhận thức của khách hàng là những thông tin mà khách hàng sử dụng để đánh
giá và mua sắm được. Nhận thức của người tiêu dùng là toàn bộ thông tin về
Sản phẩm, Nhãn hiệu, Thị trường, Nhà cung cấp, Đối thủ cạnh tranh… liên
quan đến quá trình mua sắm và sử dụng của người tiêu dùng.
Trình độ nhận thức của khách hàng có ảnh hưởng quan trọng đến việc nhận
thức của họ. Nếu trình độ nhận thức về sản phẩm của họ cao thì các thông
điệp marketing mà các nhà quản trị muốn gửi gắm sẽ được khách hàng đánh
giá về sản phẩm đúng và chính xác chứ không bị bóp méo hoặc làm sai lệch.
Đồng thời những sản phẩm được mua càng có khả năng thỏa mãn tốt được
nhu cầu, ước muốn của họ.
● Phân loại nhận thức theo Marketing
Marketing phân loại nhận thức của người tiêu dùng theo mức độ và các thức
ảnh hưởng tới hành vi của họ. Nhận thức được chia thành: lOMoAR cPSD| 61224927 dụng
- Biết về sản phẩm: Là sự nhận biết của khách hàng về nhãn hiệu hay
một loại sản phẩm nào đó. Có thể họ đã từng nghe bạn bè nhắc đến sản
phẩm, xem trên các kênh quảng cáo, biết được một số giá trị có lợi của
sản phẩm hoặc cũng có thể biết về nhà sản xuất. Tuy nhiên biết về sản
phẩm chưa đủ tính quyết định để khách hàng lựa chọn sản phẩm đó.
- Biết về giá: Là mức độ hiểu biết về giá của loại sản phẩm. Khách hàng
thường có những phân tích đánh giá xem giá của sản phẩm đó “rẻ” hay
“đắt”. Họ không muốn mua những món đồ quá rẻ vì nghi ngờ về chất
lượng của nó, nhưng họ cũng không muốn bỏ tiền ra để mua những món
đồ quá đắt so với giá trị thực. Qua đó nhà marketing cần phải hiểu biết
được các loại giá cấu thành nên sản phẩm để có những điều chỉnh về
giá của sản phẩm đó phù hợp với lòng tin của khách hàng.
- Biết mua (Mua ở đâu, mua khi nào): Thể hiện khách hàng thu thập được
nhiều nguồn thông tin đáng tin cậy để vận dụng vào quá trình mua sản
phẩm. Đây là mức độ cao hơn của biết giá và biết về sản phẩm. Một
khách hàng biết mua là khách hàng có đủ thông tin cần thiết để ra quyết định mua hàng.
Trả lời cho câu hỏi “mua ở đâu”: khi ra quyết định mua khách
hàng sẽ phải quyết định nên mua ở đâu. Vì khách hàng có thể mua qua
nhiều kênh khác nhau, nhiều cửa hàng khác nhau… Biết mua cũng
được thể hiện ở việc khách hàng biết được loại sản phẩm mà họ cần
được bán ở đâu và ở vị trí nào. Điều này cũng làm ảnh hưởng đến hành vi mua.
Trả lời cho câu hỏi “mua khi nào” : Một khách hàng có biết mua
hay không còn phụ thuộc vào họ biết chọn thời điểm mua hàng. Nếu họ
biết mua thì phải có được thông tin về việc cửa hàng nào đó giảm giá
khi nào và họ thường có xu hướng đợi đến thời điểm đó mới mua. Nhận
thức về việc nên mua khi nào có thể là nhân tố rất quan trọng ảnh hưởng
đến hành vi mua của khách hàng với các sản phẩm mới ra, đôi khi họ
sẽ không bao giờ mua sản phẩm ngay khi nó được giới thiệu bởi họ lOMoAR cPSD| 61224927
chắc chắn rằng giá của sản phẩm sẽ giảm trong nay mai. Và họ sẽ mua khi đó.
- Biết sử dụng: Thể hiện mức độ nhận thức cao của khách hàng. Có những
hiểu biết nhiều về sản phẩm thì họ mới tận dụng được hết các tính năng
của sản phẩm từ đó sản phẩm được đánh giá cao. Khách hàng sẽ không
lựa chọn sản phẩm nếu họ không biết cách sử dụng nó như thế nào.
Chính vì vậy mà các nhà marketing cần phải đưa các thông tin về cách
sử dụng sản phẩm một cách đơn giản và dễ tiếp cận với khách hàng để
tăng khả năng thành công của sản phẩm trên thị trường.
● Bản chất của thông tin để khách hàng tiếp nhận
Thông tin bao gồm toàn bộ sự thật, phỏng đoán hay ước lượng và
các mối tương quan ảnh hưởng tới nhận thức về bản chất và hoàn cảnh của một
vấn đề hay cơ hội nào đó của người ra quyết định. Thông tin tồn tại dưới nhiều
dạng như: Sự kiện, ước lượng, phỏng đoán, mối tương quan. ● Cách thức xử lý thông tin
Người ta có thể có nhận thức khác nhau đối với cùng 1 nhân tố tác động do
có 3 quá trình của nhận thức là: Sự chú ý có Sự bóp méo Sự ghi nhớ có chọn lọc thông tin chọn lọc -
Sự chú ý có chọn lọc: Trong quá trình mua hàng thì khách hàng luôn
chịu tác động của vô số các nhân tố ảnh hưởng cũng như những thông tin tuy
nhiên nhận thức của chúng ta không thể xử lý được hết những nguồn thông
tin này. Do đó chỉ có 1 số có vai trò quan trọng trong quyết định mua hàng,
còn lại sẽ ảnh hưởng ít hơn và bị khách hàng sàng lọc. Và khách hàng sẽ có
khuynh hướng quan tâm những thông tin liên quan đến nhu cầu hiện tại nảy
sinh của họ, về những sản phẩm mà họ quan tâm. Ngoài ra thì họ cũng thường
chú ý đến các tác nhân kích thích có sự khác biệt, mới lạ, độc đáo so với bình thường. -
Sự bóp méo thông tin: Ngay cả những thông tin mà khách hàng đang
chú ý đến cũng chưa chắc đã được khách hàng nhận thức đúng đắn như ý của
các người truyền thông tin. Họ thường áp đặt những thông tin vào khuôn khổ
ý nghĩ, định kiến sẵn có của mình. SỰ bóp méo thông tin hay nhận thức thiên
vị là khuynh hướng sửa đổi, điều chỉnh thông tin theo ý nghĩ riêng của mỗi người. -
Sự ghi nhớ có chọn lọc: Khách hàng có xu hướng quên đi những gì họ
đã tiếp nhận được mà chỉ lưu giữ lại những thông tin phù hợp với quan điểm,
niềm tin và thái độ của họ. Khi các thông tin đã được khách hàng sàng lọc và
tiếp nhận đúng với ý tưởng của người truyền thông nhưng chúng vẫn có thể
không được ghi nhớ lâu, có nghĩa là khách hàng có khả năng ghi nhớ chọn lOMoAR cPSD| 61224927
lọc. Điều này là tự nhiên bởi khả năng ghi nhớ trong trí não của con người là có hạn.
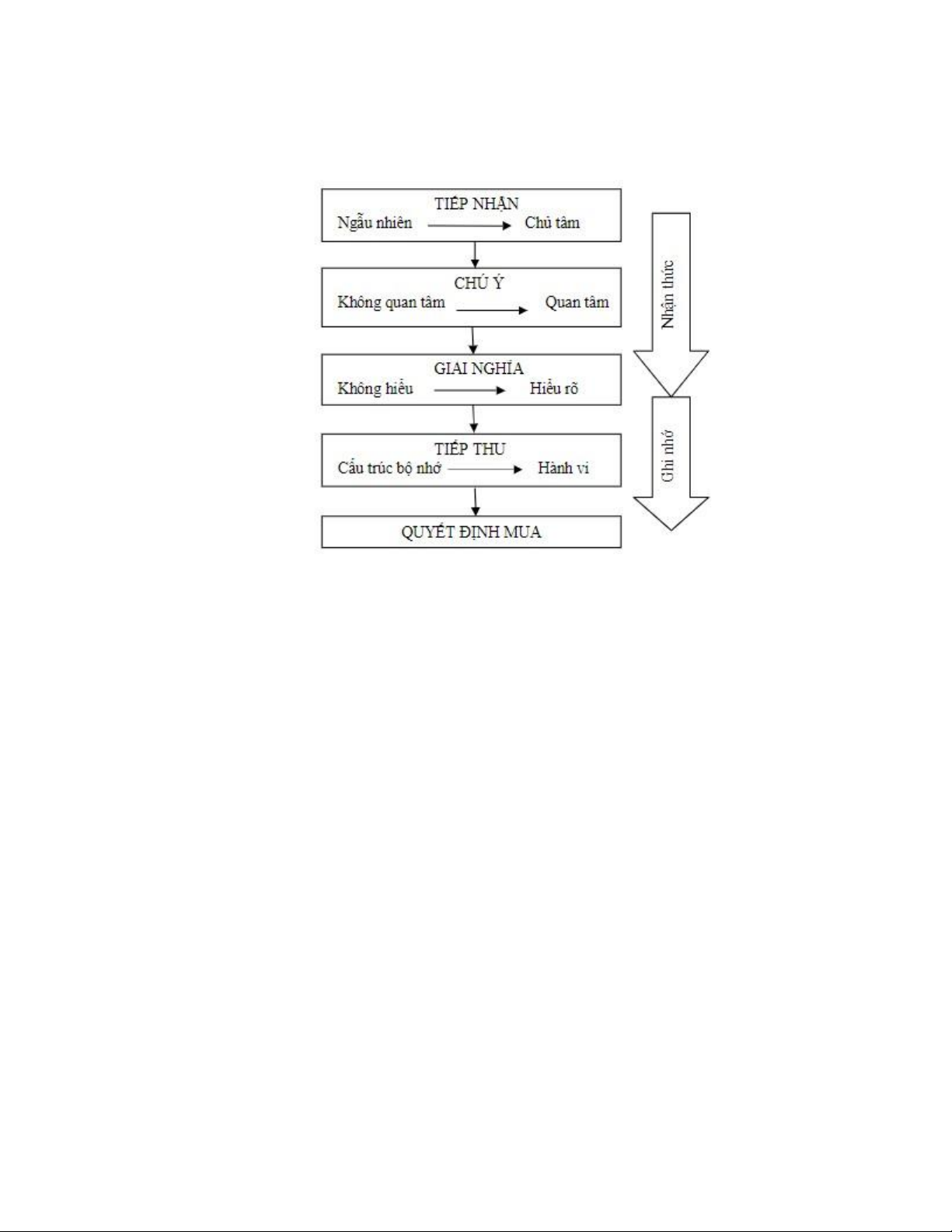
● Quá trình xử lý thông tin của khách hàng ra quyết định
Được thể hiện bởi sơ đồ sau
● Ứng dụng của nhận thức trong Marketing - Định vị sản phẩm
- Sử dụng phương tiện truyền thông - Bao gói và sản phẩm - Đặt tên thương hiệu
- Thiết kế thông điệp truyền thông
2.2. Phân tích mức độ ảnh hưởng của nhận thức đến hành vi của nhóm người tiêu
dùng sinh viên trên thị trường sản phẩm giày thể thao Biti’s Hunter.
● Giày thể thao Biti’s Hunter’
Giày thể thao Biti’s Hunter là một dòng sản phẩm thuộc công ty TNHH
sản xuất hàng tiêu dùng Bình Tiên và hoạt động trong lĩnh vực giày dép và là
công ty lớn nhất và đi đầu trong lĩnh vực này tại Việt Nam. Hiện nay thì dòng
sản phẩm này đang tung ra rất nhiều mẫu mã đẹp mắt cùng với chất lượng
đảm bảo thu hút được một lượng lớn khách hàng sinh viên.
Và bản thân em cũng đã sở hữu 2 đôi giày thể thao thuộc thương hiệu này.
● Phân tích hành vi mua theo quá trình xử lý thông tin
Giai đoạn 1: Sự chú ý có chọn lọc
Mở đầu của giai đoạn 1 trong quá trình nhận thức là sự tiếp nhận các
thông tin một cách ngẫu nhiên. Vì bản thân em là một tín đồ của giày thể thao,
vì vậy em có theo dõi một vài trang chung của các nhóm chia sẻ về giày thể lOMoAR cPSD| 61224927
thao. Do đó em đã vô tình tiếp cận được thông tin về sản phẩm cũng như
thương hiệu thông qua các bài thảo luận trong nhóm, ngoài ra em cũng được
tiếp cận thông qua khá nhiều nguồn như các sàn TMĐT shopee, Lazada, hoặc
các bài quảng cáo trên mạng xã hội . Đặc biệt là thông qua MV ca nhạc như
Đi để trở về 1, Đi để trở về 2… là các ca khúc khá hay trong dịp tết em cũng
vô tình được nghe qua TV hoặc trên đường. Tuy có khá nhiều nguồn thông tin
nhưng chỉ duy nhất những MV ca nhạc khiến em cảm thấy chú ý và muốn tìm
hiểu thêm về nó, còn những nguồn thông tin còn lại thì không có nhiều ảnh
hưởng đến nhận thức của em.
Sau khi nghe được giai điệu của các bài hát này thì em cảm thấy nó khá
là hay và mong muốn được nghe lại và xem MV. Vì vậy em đã đi tìm kiếm và
quan tâm nhiều hơn về các ca khúc này. Sau khi xem MV thì sự quan tâm của
em đã tăng lên và em chú ý về nó nhiều hơn. Việc xem nhiều lần giúp cho em
bắt được khá nhiều chi tiết và đặc biệt là thương hiệu tài trợ cho MV là Biti’s
Hunter ngoài ra thì hình ảnh các đôi giày xuất hiện xuyên suốt MV. Điều này
làm em bắt đầu chú ý đặc biệt đến những sản phẩm giày Biti’s Hunter. Từ đó
em bắt đầu đi tìm hiểu các thông tin về sản phẩm
Ở giai đoạn này thì em mong muốn tìm kiếm những thông tin về sản
phẩm và về giá của sản phẩm này. Các thông tin về sản phẩm mà em quan tâm
như: sản phẩm của thương hiệu này có uy tín không? Chất lượng của sản
phẩm thế nào? Các loại hình mẫu mã có đa dạng, thu hút không? Sau khi trả
lời được các câu hỏi này từ thông tin thu thập được và các câu trả lời này phù
hợp với mong muốn của em về sản phẩm thì em sẽ tiếp tục tìm kiếm các thông
tin về giá cả. Mặc dù các sản phẩm phù hợp với sở thích của em tuy nhiên nó
phải có mức giá phù hợp với khả năng chi trả của bản thân em thì em mới có
thể ra quyết định mua hay không. Mức giá cụ thể của các sản phẩm giày rơi
vào khoảng 500.000VNĐ đến vài triệu. Còn sản phẩm em cảm thấy ưng ý về
mẫu mã cũng như chất lượng rơi vào tầm 6-700.000 VNĐ và phù hợp với khả
năng chi trả của bản thân. Vì vậy em sẽ chuyển sang giai đoạn thứ 2 là giai đoạn giải nghĩa
Giai đoạn 2: Sự bóp méo thông tin
Sau khi tiếp nhận những thông tin đặc biệt gây chú ý về sản phẩm như
cách truyền thông, định giá thì em vẫn tiếp tục đi tìm hiểu các thông tin sâu
hơn về những nhận xét, review của các nhóm tham khảo mà em tin tưởng như:
KOLs, người đã sử dụng qua, bạn bè. Và các thông tin thu được sẽ có cả 2
chiều hướng tiêu cực và tích cực. Các thông tin tích cực tiêu biểu như: Sản
phẩm của thương hiệu Việt đảm bảo hình ảnh, có nhiều người nổi tiếng làm
gương mặt đại diện cho dòng sản phẩm này (Và trùng hợp có rất nhiều người
em thích trong đó), có lượng người rất lớn đã và đang sử dụng sản phẩm của
thương hiệu này. Tuy nhiên thì mẫu mã lại không được đa dạng và có tính độc đáo, thẩm mỹ cao. lOMoAR cPSD| 61224927
Tuy nhiên vì ấn tượng ban đầu của em về sản phẩm khá tốt, cũng như
định kiến của bản thân em dành cho các sản phẩm nội địa là chất lượng uy tín,
đảm bảo vì vậy em thường có xu hướng gạt bỏ đi những bình luận mang tính
tiêu cực về sản phẩm. Mức giá của sản phẩm cao hơn một chút so với mặt
bằng chung thì em sẽ cho rằng vì chất lượng của sản phẩm tốt hơn, đem đến
nhiều lợi ích hơn nên họ mới đưa ra mức giá như vậy.
Những thông tin mà em mong đợi nhận được ví dụ như những review
tốt về sản phẩm thì em lại có xu hướng hoàn toàn tin tưởng và được nhận thức nhanh hơn.
Giai đoạn 3: Sự ghi nhớ có chọn lọc
Sau khi đã có một lượng thông tin khá đầy đủ về sản phẩm thì em sẽ
dựa trên nhận thức được ghi nhớ của bản thân. Vì những thông tin về sản
phẩm để lại ấn tượng sâu sắc trong tiềm thức của em (Như hình ảnh của đôi
giày, ca khúc quảng bá cho sản phẩm, hình ảnh người nổi tiếng sử dụng) và
được ghi nhớ nên em mong muốn được sở hữu đôi giày này.
Đến giai đoạn này em sẽ tiếp tục đi tìm kiếm thêm thông tin về cách mua và cách sử dụng.
Để trả lời cho câu hỏi “mua ở đâu” thì em sẽ đọc các review của người
đã sử dụng, có thể mua trực tiếp tại cửa hàng hoặc mua online trên mạng. Nếu
mua trực tiếp tại cửa hàng thì em sẽ có cơ hội tự mình trải nghiệm thử rồi đưa
ra quyết định tuy nhiên việc di chuyển từ nhà đến cửa hàng khá mất thời gian
cũng như chi phí. Còn mua online qua trang thương mại điện tử như shopee
thì khá phù hợp với thói quan và nhu cầu của bản thân em. Vì vậy em sẽ đưa
ra được quyết định mua ở đâu để đạt được sự thuận tiện nhất.
Để trả lời cho câu hỏi “mua khi nào” thì em sẽ đi tìm hiểu những chiến
dịch giảm giá, khuyến mãi của sản phẩm cũng như tại nơi bán. Nếu không có
chiến dịch gì sắp tới thì em sẽ quyết định mua luôn vì mong muốn sở hữu lúc
này, còn nếu sắp tới sẽ có đợt giảm giá thì em sẽ đợi để mua được sản phẩm với mức giá hời hơn.
Về cách sử dụng thì đối với dòng sản phẩm giày thể thao gần như là
tương tự nhau vì vậy em không cần tìm kiếm thêm nhiều thông tin về nó.
Và cuối cùng sau khi trải qua 3 giai đoạn trong quá trình nhận thức thì em sẽ
đưa ra quyết định mua và hành vi mua sản phẩm của mình.
2.3. Giải pháp marketing cho doanh nghiệp kinh doanh sản phẩm giày thể thao Biti’s Hunter.
Cho đến hiện nay thì em cảm thấy doanh nghiệp Biti’s đang làm rất tốt trong
việc kinh doanh các dòng sản phẩm Biti’s Hunter ở hầu hết các khâu. Tuy nhiên vẫn
còn 1 vài hạn chế vì vậy em xin đề xuất 1 số giải pháp như sau:
a) Thiết kế thông điệp truyền thông lOMoAR cPSD| 61224927
Sau khi thực hiện rất tốt trong các chiến dịch quảng cáo trước đây và để lại ấn
tượng sâu sắc trong lòng khách hàng mục tiêu thì hiện nay các sản phẩm mới của
Biti’s có vẻ đang bị bế tắc trong chính thành công của họ.
Khách hàng trẻ hiện nay luôn cập nhật các xu hướng mới và bị thu hút bởi
những điều độc đáo mới lạ hơn, còn Biti’s lại lặp đi lặp lại thông điệp cũ đã thành
công của mình dẫn đến sự nhàm chán trong mắt người tiêu dùng.
Vì vậy doanh nghiệp có thể đưa ra một dòng sản phẩm mới với chiến dịch
không xoay quanh thông điệp cũ ở dịp cận tết mà có thể rơi vào mùa hè, thể hiện sự
tươi mát, sức trẻ của họ. Khiến khách hàng chú ý hơn.
b) Sử dụng phương tiện truyền thông
Trong quá khứ Biti’s cũng đã hoàn thành rất tốt ở mảng này khi khai thác triệt
để trên nền tảng Youtube, các video quảng bá thương leo ở vị trí cao trên top trending
và nhận được sự thu hút của khách hàng.
Tuy nhiên xu hướng của khách hàng trẻ hiện nay đang thay đổi khá nhiều, họ
bắt đầu dần chuyển sang ưa chuộng nền tảng video Tiktok hơn, do đó doanh nghiệp
nên sản xuất nhiều video ngắn giới thiệu sản phẩm trên cả nền tảng này để tăng tần
suất xuất hiện trước khách hàng mục tiêu. Từ đó giúp họ dễ dàng ghi nhớ hình ảnh,
thông điệp của sản phẩm trong nhận thức c) Bao gói và sản phẩm.
Đây lại là một điểm yếu của doanh nghiệp khi các bao bì trước của họ thường
không thể hiện được hình ảnh thương hiệu mà thường do bên vận chuyển chuẩn bị.
Điều này làm cho khách hàng khi nhận được sản phẩm thường không có ấn tượng
nhiều dẫn đến việc sản phẩm sẽ dễ bị sàng lọc trong trí nhớ của họ.
Vậy nên doanh nghiệp nên thiết kế một hệ thống bao bì mang đậm dấu ấn của
thương hiệu, có gắn liền với logo do hình ảnh dễ giúp người khác ghi nhớ hơn các
con chữ. Từ đó gây ấn tượng và lưu giữ những gì đặc trưng trong mắt người tiêu dùng.