



















Preview text:
  lOMoAR cPSD| 59691467 BÁO CÁO 
THIẾT KẾ VÀ XÂY DỰNG WEBSITE BÁN LAPTOP 
Khoa: Công nghệ thông tin  Ngành: CNTT/TKĐH 
SINH VIÊN THỰC HIỆN: LÊ THANH TÙNG 
MÃ SỐ SINH VIÊN: 2109610165  LỚP: 1621- CNT05 
GV HƯỚNG DẪN: ĐINH THỊ THU TRANG 
HÀ NỘI, THÁNG 5 NĂM 2024      lOMoAR cPSD| 59691467 Thành viên nhóm: 
• Lê Thanh Tùng: làm biểu đồ trình tự, triển khai, thành phần, thiết kế giao 
diện trang chủ, chi tiết sản phẩm, danh mục sản phẩm, viết báo cáo 
• Nguyễn Thành Đạt: viết báo cáo, phân tích và đặc tả yêu cầu, thiết kế biểu 
đồ usecase, biểu đồ lớp, thiết kế CSDL, caì đặt CSDL trên MySQL 
• Nguyễn Ngọc Huy: làm biểu đồ trạng thái, hoạt động, thiết kế giao diện 
giỏ hàng, thiết kế giao diện đăng nhập, đăng ký, viết báo cáo      lOMoAR cPSD| 59691467
CỘNG HÒA XÃ HỘI CHỦ NGHĨA VIỆT NAM 
Độc lập – Tự do – Hạnh phúc   
Hà Nội, Ngày ..... tháng ..... năm 20.... 
PHIẾU NHẬN XÉT THỰC TẬP 
Họ tên sinh viên (nhóm): Lê Thanh Tùng.................Lớp-khóa: 1621-CNT05-K21 
Ngày bắt đầu:19-02-2024............................ngày kết thúc: 12-05-2024........................ 
Nội dung thực tập: Thiết kế và xây dựng website bán laptop........................................ 
....................................................................................................................................... 
....................................................................................................................................... 
1. Nhận xét của GVHD về chất lượng công việc được giao: Các công việc được  giao:   Hoàn thành xuất sắc   Khá   Yếu   Tốt   Trung bình   
Hoàn tất công việc được giao: 
 Hoàn thành đúng  Thỉnh thoảng đúng  Không đúng thời hạn 
Tính hữu ích của đợt thực tập với cơ quan 
 Giúp ích nhiều  Giúp ích ít  Không giúp ích mấy cho cơ quan 
2. Nhận xét của GVHD về cá nhân sinh viên: 
2.1 Năng lực chuyên môn được sử dụng vào công việc được giao ở mức:     Giỏi   Khá   Trung bình  Yếu 
2.2 Tinh thần, thái độ đối với công việc được giao:     Tích cực   Bình thường   Thiếu tích cực 
2.3 Đảm bảo kỷ luật lao động (giờ giấc lao động, nghỉ làm,...):     Tốt   Trung bình   Kém 
2.4 Khả năng sử dụng phần mềm văn phòng (office):     Giỏi   Khá   Trung bình   Yếu 
2.5 Khả năng sử dụng Ngoại ngữ chuyên ngành (nếu có):     Giỏi   Khá   Trung bình   Yếu 
3. Nhu cầu nhân lực của cơ quan (kiến thức, kỹ năng, số lượng):......................... 
....................................................................................................................................................... 
....................................................................................................................................................... 
4. Các nhận xét khác (nếu có): 
............................................................................................................................................................... 
............................................................................................................................................................... 
...............................................................................................................................................................    lOMoAR cPSD| 59691467 5. Đánh giá: 
a. Điểm chuyên cần, tác phong và đạo đức (Đạt/Không 
đạt):................................. 
b. Điểm thực tập (GVHD đánh 
giá):.......................................................................  Cơ  quan/Đơn  vị  (Ký và ghi rõ  họ tên)  GVHD 
(Ký và ghi rõ họ tên)    lOMoAR cPSD| 59691467
BẢN KẾ HOẠCH THỰC TẬP TỐT NGHIỆP CÁ NHÂN 
Họ và tên SV: Lê Thanh Tùng............................................Lớp-khóa:1621CNT05-K21 
Số ĐT:0375511896.................................Email: leetungg03@gmail.com....................... 
1. Nội dung thực tập: Thiết kế và xây dựng website bán laptop................................ 
......................................................................................................................................... 
......................................................................................................................................... 
2. Yêu cầu:...................................................................................................................... 
......................................................................................................................................... 
......................................................................................................................................... 
3. Kế hoạch thực hiện  Ngày 
Công việc triển khai cụ thể 
Kết quả đạt được Ghi chú  thực hiện 
(theo tỷ lệ %)  11/3/2024  - Mô tả bài toán  100%   
- Phân tích và đặc tả yêu cầu  18/3/2024 
- Phân tích và thiết kế hệ thống  100%   
- Thiết kế cơ sở dữ liệu  25/3/2024  - 
Cài đặt xong cơ sở dữ liệu trên 100%    MySQL  1/4/2024 
- Xây dựng và phát triển giao  100%    diện  8/4/2024    - 
Xây dựng API cần thiết cho đề 100%    tài                                         
4. Nội dung chi tiết thực hiện chi tiết 
......................................................................................................................................... 
......................................................................................................................................... 
......................................................................................................................................... 
......................................................................................................................................... 
.........................................................................................................................................    lOMoAR cPSD| 59691467
......................................................................................................................................... 
......................................................................................................................................... 
......................................................................................................................................... 
......................................................................................................................................... 
......................................................................................................................................... 
......................................................................................................................................... 
......................................................................................................................................... 
......................................................................................................................................... 
......................................................................................................................................... 
......................................................................................................................................... 
......................................................................................................................................... 
......................................................................................................................................... 
......................................................................................................................................... 
......................................................................................................................................... 
......................................................................................................................................... 
......................................................................................................................................... 
......................................................................................................................................... 
......................................................................................................................................... 
......................................................................................................................................... 
......................................................................................................................................... 
......................................................................................................................................... 
......................................................................................................................................... 
......................................................................................................................................... 
......................................................................................................................................... 
......................................................................................................................................... 
......................................................................................................................................... 
Hà Nội, ngày tháng năm 20 
 Xác nhận của Cán bộ hướng dẫn  Sinh viên 
 (ký, ghi rõ họ và tên) 
 (ký, ghi rõ họ và tên) 
CHƯƠNG I: KHẢO SÁT HỆ THỐNG 
1.1 Mô tả về môi trường hoạt động    lOMoAR cPSD| 59691467
 1.1.1 Môi trường Phát triển:  • 
Ngôn ngữ lập trình: Sử dụng các ngôn ngữ lập trình như HTML, CSS, 
JavaScript cho phần frontend và Node.js cho phần backend.  • 
Framework: Sử dụng các framework như React.js cho frontend và Express.js 
cho backend để tạo ra một ứng dụng web động và hiệu quả.  • 
Cơ sở dữ liệu: Sử dụng MongoDB làm cơ sở dữ liệu để lưu trữ thông tin về sản 
phẩm, người dùng và đơn hàng.  • 
Môi trường phát triển tích hợp (IDE): Sử dụng các IDE như Visual Studio 
Code, Sublime Text hoặc Atom để phát triển và chỉnh sửa mã nguồn. 
 1.1.2 Môi trường Sản xuất:  • 
Hệ điều hành: Triển khai trên các hệ điều hành như Linux hoặc Windows  Server.  • 
Máy chủ web: Sử dụng các máy chủ web như Apache hoặc Nginx để phục vụ  trang web.  • 
Dịch vụ đám mây: Triển khai trên các dịch vụ đám mây như Amazon Web 
Services (AWS), Microsoft Azure hoặc Google Cloud Platform (GCP) để đảm 
bảo tính sẵn sàng và mở rộng dễ dàng khi cần thiết.  • 
Bảo mật: Cài đặt các biện pháp bảo mật như SSL/TLS để bảo vệ thông tin cá 
nhân và thanh toán của người dùng.  • 
Quản lý phiên bản: Sử dụng các công cụ quản lý phiên bản như Git để theo dõi  và quản lý mã nguồn. 
1.2 Khảo sát bài toán 
Bài toán: Thiết kế và Xây dựng Website Bán Laptop   1.2.1 Mô tả:  • 
Mục tiêu: Xây dựng một trang web thương mại điện tử chuyên bán laptop, cung 
cấp cho người dùng một nền tảng để xem, mua sắm và đặt hàng các sản phẩm  laptop.   1.2.2 Yêu cầu:  • 
Hiển thị danh sách sản phẩm laptop: Trang web cần hiển thị danh sách các sản 
phẩm laptop với thông tin như hình ảnh, giá cả, thông số kỹ thuật và đánh giá.  • 
Chi tiết sản phẩm: Người dùng có thể xem thông tin chi tiết về từng sản phẩm 
bao gồm các tính năng, đặc điểm kỹ thuật, và mô tả.  • 
Thêm vào giỏ hàng: Cho phép người dùng thêm sản phẩm vào giỏ hàng và điều 
hướng đến trang giỏ hàng để xem và quản lý đơn hàng.  • 
Thanh toán đơn hàng: Cung cấp giao diện thanh toán để người dùng có thể 
nhập thông tin thanh toán và hoàn tất quy trình mua hàng.  • 
Quản lý người dùng: Hỗ trợ đăng ký, đăng nhập và quản lý tài khoản cho người  dùng.   1.2.3 Phân tích:  • 
Nền tảng công nghệ: Sử dụng Node.js và React.js để phát triển cả frontend và 
backend của trang web với MongoDB là cơ sở dữ liệu.    lOMoAR cPSD| 59691467 • 
Thiết kế giao diện người dùng: Tạo giao diện thân thiện với người dùng, dễ sử  dụng và trực quan.  • 
Tối ưu hóa trải nghiệm người dùng: Đảm bảo trang web hoạt động mượt mà và 
có thời gian tải nhanh, đồng thời tối ưu hóa trải nghiệm mua sắm trực tuyến. 
 1.2.4 Triển khai và Kiểm tra:  • 
Triển khai trang web trên môi trường sản xuất sau khi đã kiểm tra kỹ lưỡng và 
đảm bảo tính ổn định.  • 
Tiến hành kiểm tra chức năng và hiệu suất của trang web để đảm bảo rằng tất cả 
các tính năng hoạt động đúng và hiệu quả. 
 1.2.5 Quản lý và Phát triển:  • 
Liên tục cập nhật và phát triển trang web để cải thiện trải nghiệm người dùng 
và tăng tính linh hoạt và tính năng của nền tảng.  • 
Theo dõi và phản hồi từ phía người dùng để thúc đẩy sự phát triển và cải thiện  liên tục của trang web. 
1.3 Yêu cầu đề tài 
 1.3.1: Mô tả bài toán  Mô tả yêu cầu:  • 
Tạo một liên kết trên trang web, trong đó có một biểu tượng (icon) và một đoạn  văn bản (chữ).  • 
Yêu cầu có sự khoảng cách giữa biểu tượng và văn bản để tạo ra một bố cục hài  hòa và dễ nhìn.  Chức năng:  • 
Tạo ra một liên kết trực quan và dễ nhận biết cho người dùng.  • 
Hiển thị một biểu tượng hình ảnh kèm theo một đoạn văn bản mô tả chức năng 
hoặc nội dung của liên kết. 
Yêu cầu kỹ thuật:  • 
Sử dụng ngôn ngữ đánh dấu HTML để tạo các phần tử cần thiết: ,  (biểu 
tượng) và  (văn bản).  • 
Sử dụng CSS để tùy chỉnh kiểu dáng của liên kết, bao gồm cả biểu tượng và 
văn bản, và tạo khoảng cách giữa chúng. 
Điều kiện tiên quyết:  • 
Đảm bảo rằng trang web đã tích hợp thư viện biểu tượng (ví dụ: Font 
Awesome) để sử dụng biểu tượng.  • 
Cần có kiến thức cơ bản về HTML và CSS để triển khai yêu cầu. 
Yêu cầu không chức năng:  • 
Liên kết phải có sự tương tác và có thể nhận dạng dễ dàng.  • 
Biểu tượng và văn bản phải tương thích với giao diện và mục tiêu trang web. 
1.3.2: Phân tích và đặc tả yêu cầu 
A. Yêu cầu chức năng    lOMoAR cPSD| 59691467
1. Cho phép cập nhật hàng vào CSDL. 
2. Hiển thị danh sách các mặt hàng theo từng loại. 
3. Hiển thị hàng hóa khách hàng đã chọn mua. 
4. Quản lý đơn đặt hàng. 
5. Cập nhật hàng hóa, nhà sản xuất, loại hàng.  6. Xử lý đơn hàng. 
7. Thống kê các khách hàng mua trong ngày. 
 Hệ thống có 2 phần:  • 
Phần khách hàng: là những người có nhu cầu mua sắm hàng hóa. Chức năng  bao gồm:  • 
Hiển thị danh sách các mặt hàng của cửa hàng để khách hàng xem, lựa chọn và  mua.  • 
Đăng ký, đăng nhập, xem các thông tin, khuyến mãi trên trang web.  • 
Phần quản trị viên: là người có quyền kiểm soát mọi hoạt động của hệ thống.  Chức năng bao gồm:  • 
Cập nhật, sửa, xoá các mặt hàng, loại hàng, nhà sản xuất, tài khoản khách hàng,  slider.  • 
Tiếp nhận kiểm tra đơn đặt hàng của khách, hiển thị đơn đặt hàng.  B. Yêu  cầu phi chức năng  • 
Trang web phải được thiết kế dễ hiểu, giao diện dễ dùng và hấp dẫn.  • 
Cung cấp thông tin quảng cáo hấp dẫn và tin tức khuyến mãi.  • 
Đảm bảo an toàn thông tin khách hàng trong quá trình thanh toán.  • 
Tích hợp nhiều phương thức thanh toán.  • 
Luôn đổi mới và hấp dẫn. 
CHƯƠNG II: PHÂN TÍCH HỆ THỐNG 
2.1 Phân tích chức năng hệ thống 
2.1.1 Xác định các Actor và Usecase tổng quát của hệ thống  A. Các actor 
- Actor là một thực thể hoặc hệ thống bên ngoài tương tác với hệ thống mà bạn đang 
phân tích hoặc thiết kế. Một actor không nhất thiết phải là một con người, mà có thể    lOMoAR cPSD| 59691467
là một hệ thống, một máy móc, hoặc một thành phần khác của môi trường xung  quanh.  - Ký hiệu :    STT  Actor  Use case  1  Quản trị viên  - Đăng nhập 
- Chức năng quản lý sản phẩm  - Quản lý người dùng  2  Khách hàng  - Đăng nhập  - Đăng ký 
- Chức năng giỏ hàng và thanh  toán 
- Tìm kiếm sản phẩm, mua bán  Hình 5 
B. Các usecase tổng quát của hệ thống 
- Use case là một kỹ thuật phân tích và thiết kế trong lĩnh vực phát triển phần mềm. 
Nóđược sử dụng để mô tả các hành vi của hệ thống từ quan điểm của người sử dụng 
và làm rõ các yêu cầu và chức năng của hệ thống.  - Ký hiệu :      Hình 6    lOMoAR cPSD| 59691467  
2.1.6: Biểu đồ usecase 
A. Chức năng đăng nhập, đăng ký    Hình 7 
Đăng nhập: o Tác nhân (Actor): Người dùng o Mô tả: Người 
dùng muốn truy cập vào tài khoản đã đăng ký. o Hành động:    lOMoAR cPSD| 59691467  
Người dùng nhập email và mật khẩu   
Hệ thống kiểm tra thông tin đăng nhập   
Nếu thông tin đúng, hệ thống cho phép truy cập vào tài khoản   
Người dùng được đưa đến trang chính sau khi đăng nhập thành  công 
Đăng ký: o Tác nhân (Actor): Người dùng o Mô tả: Người 
dùng muốn tạo tài khoản mới trên hệ thống. o Hành động:   
Người dùng nhập thông tin cá nhân (tên, email, mật khẩu, v.v.).   
Hệ thống kiểm tra tính hợp lệ của thông tin.   
Nếu thông tin hợp lệ, hệ thống tạo tài khoản mới.   
Người dùng nhận thông báo xác nhận đăng ký. 
B. Chức năng đổi mật khẩu    Hình 8  • 
Tác nhân (Actor): Người dùng  • 
Mô tả: Người dùng muốn thay đổi mật khẩu hiện tại của họ.  • 
Hành động: o Người dùng đăng nhập vào hệ thống. 
o Chọn tùy chọn “Đổi mật khẩu”. o Nhập mật khẩu hiện tại và 
mật khẩu mới. o Hệ thống kiểm tra tính hợp lệ của mật khẩu  mới. 
o Nếu mật khẩu mới hợp lệ, hệ thống cập nhật mật khẩu và  thông báo thành công. 
 C. Chức năng quản lý giỏ hàng, thanh toán    lOMoAR cPSD| 59691467   Hình 9 
1. Quản lý giỏ hàng (Manage Cart): 
o Tác nhân (Actor): Người dùng 
o Mô tả: Người dùng muốn thêm, xóa hoặc chỉnh sửa các sản phẩm 
trong giỏ hàng. o Hành động:   
Người dùng xem danh sách sản phẩm trong giỏ hàng.   
Thêm sản phẩm mới vào giỏ hàng.   
Xóa sản phẩm khỏi giỏ hàng.   
Cập nhật số lượng hoặc thuộc tính của sản phẩm trong giỏ hàng. 
2. Thanh toán (Checkout): 
o Tác nhân (Actor): Người dùng o Mô tả: Người dùng muốn 
thanh toán và hoàn tất đơn hàng. o Hành động:   
Người dùng chọn chức năng thanh toán.   
Form thanh toán xuất hiện, hệ thống hiển thị các yêu cầu thanh  toán.   
Người dùng nhập thông tin cá nhân (họ tên, số tài khoản, 
phương thức thanh toán, địa chỉ email, v.v.).  Chọn gửi thông  tin. 
3. Xóa sản phẩm o Tác nhân (Actor): Người dùng o Mô tả: Người dùng 
muốn xóa những mặt hàng không cần thiết. 
o Hành động: chọn vào ô xóa sản phẩm cạnh sản phẩm cần xóa, 
bấm xóa, sản phẩm sẽ tự biến mất khỏi giỏ hàng D. Chức năng 
quản lý sản phẩm    lOMoAR cPSD| 59691467   Hình 10 
1. Thêm thông tin sản phẩm (Add Product): 
o Tác nhân (Actor): Người quản lý 
o Mô tả: Cho phép người quản lý thêm thông tin về một sản phẩm mới 
vào hệ thống. o Hành động:   
Người quản lý chọn “Thêm sản phẩm” từ giao diện quản lý  sản phẩm.   
Hệ thống hiển thị biểu mẫu hoặc giao diện để nhập thông tin  sản phẩm mới.   
Người quản lý điền thông tin liên quan đến sản phẩm, bao  gồm:    Tên sản phẩm   
Mã số sản phẩm (nếu có)    Mô tả sản phẩm    Giá sản phẩm    Danh mục sản phẩm   
Thông tin kỹ thuật (nếu cần)   
Hệ thống kiểm tra thông tin và thêm sản phẩm mới vào cơ sở  dữ liệu.   
Người quản lý xác nhận việc thêm sản phẩm.   
Hệ thống thông báo kết quả thành công và hiển thị thông tin 
về sản phẩm đã được thêm. 
2. Sửa thông tin sản phẩm (Edit Product): 
o Tác nhân (Actor): Người quản lý 
o Mô tả: Cho phép người quản lý thay đổi thông tin của một sản phẩm 
trong hệ thống. o Hành động:    lOMoAR cPSD| 59691467  
Người quản lý chọn “Sửa thông tin sản phẩm” từ giao diện quản  lý sản phẩm.   
Hệ thống hiển thị danh sách sản phẩm có sẵn.   
Người quản lý chọn sản phẩm cần chỉnh sửa.   
Hệ thống hiển thị biểu mẫu hoặc giao diện để cập nhật thông tin  sản phẩm.   
Người quản lý thay đổi thông tin cần sửa (ví dụ: giá, mô tả, danh  mục).   
Hệ thống kiểm tra thông tin và cập nhật sản phẩm trong cơ sở dữ  liệu.   
Người quản lý xác nhận việc sửa thông tin sản phẩm.  Hệ thống 
thông báo kết quả thành công. 
3. Xóa sản phẩm (Delete Product): 
o Tác nhân (Actor): Người quản lý o Mô tả: Cho phép người quản 
xóa một sản phẩm trong hệ thống. o Hành động:   
Người quản lý chọn “xóa sản phẩm” từ giao diện quản lý sản  phẩm.   
Người quản lý xác nhận việc xóa sản phẩm.  Hệ thống thông 
báo kết quả thành công. 
4. Quản lý người dùng (User management): 
o Tác nhân (Actor): Người quản lý o Mô tả: Cho phép người quản 
xóa một sản phẩm trong hệ thống. 
o Hành động: có thể xem thông tin người dùng, chặn hoặc xóa người  dùng 
2.1.7: Biểu đồ lớp 
A. Biểu đồ lớp đối với ca sử dụng mua bán hàng    lOMoAR cPSD| 59691467   Hình 11 
2.1.8: Biểu đồ hoạt động    lOMoAR cPSD| 59691467   Hình 12 
1. Tìm kiếm sản phẩm (Search Product): 
o Tác nhân (Actor): Người dùng o Mô tả: Người dùng 
muốn tìm kiếm sản phẩm trên trang web. o Hành động:   
Người dùng nhập từ khóa tìm kiếm (ví dụ: “laptop Dell”, “laptop  Samsung”).   
Hệ thống hiển thị danh sách sản phẩm phù hợp với tìm kiếm.   
Sau khi lập đơn mua hàng với sản phẩm cần thiết, người dùng sẽ 
xem xét yêu cầu, nếu phù hợp thì sẽ sang bước tiếp theo, còn 
không thì sẽ yêu cầu chọn sản phẩm khác    lOMoAR cPSD| 59691467
2. Thanh toán (Checkout): 
o Tác nhân (Actor): Người dùng o Mô tả: Người dùng 
muốn thanh toán và hoàn tất đơn hàng. o Hành động:   
Người dùng chọn chức năng thanh toán.   
Hệ thống hiển thị form thanh toán và yêu cầu thông tin cá nhân 
(họ tên, địa chỉ, phương thức thanh toán, v.v.).   
Người dùng nhập thông tin và xác nhận thanh toán. 
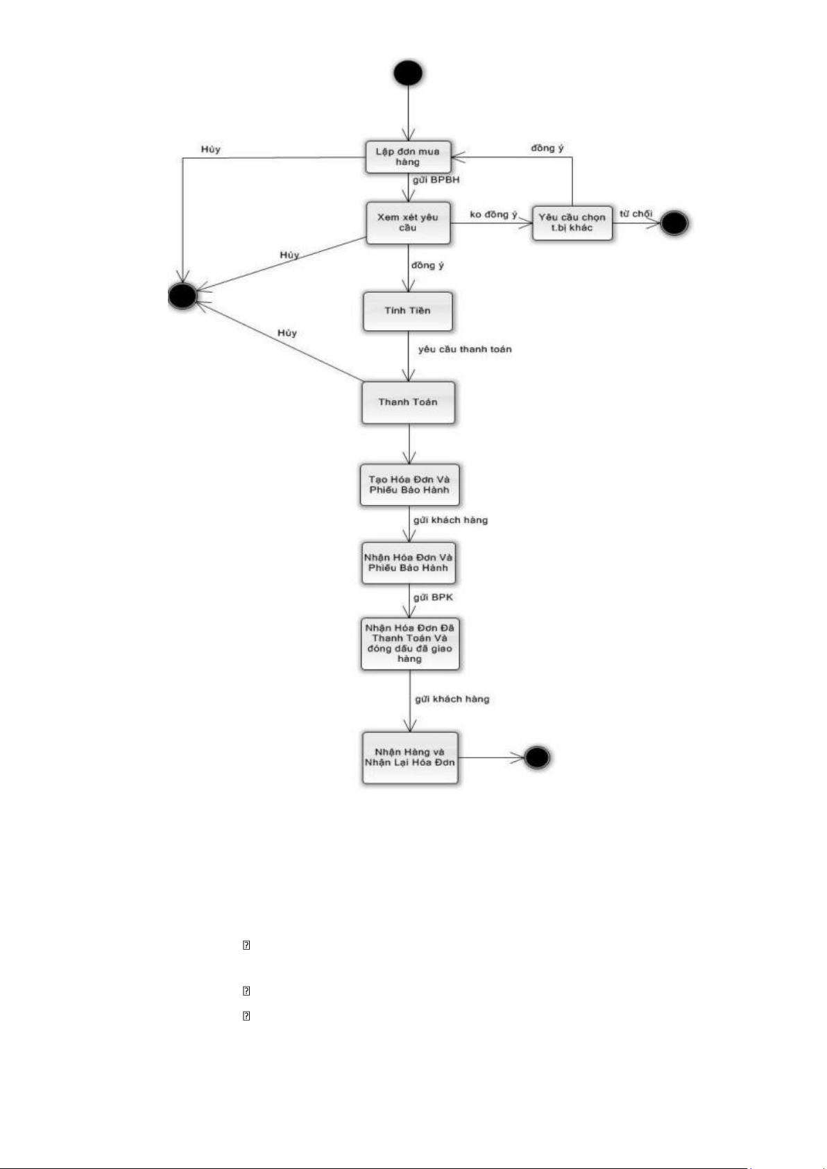
2.1.9: Biểu đồ trình tự 
A. Biểu đồ trình tự đối với ca sử dụng mua bán hàng    Hình 13 
Biểu đồ trình tự mua bán hàng 
1.Tìm kiếm sản phẩm (Search Product): o Tác nhân (Actor): 
Người dùng o Mô tả: Người dùng muốn tìm kiếm sản phẩm 
trên trang web. o Hành động:    lOMoAR cPSD| 59691467  
Người dùng nhập từ khóa tìm kiếm (ví dụ: “laptop Dell”, “laptop  Samsung”).   
Hệ thống hiển thị danh sách sản phẩm phù hợp với tìm kiếm.   
Sau khi lập đơn mua hàng với sản phẩm cần thiết, người dùng sẽ 
xem xét yêu cầu, nếu phù hợp thì sẽ sang bước tiếp theo, còn 
không thì sẽ chọn sản phẩm khác 
2.Thanh toán (Checkout): o Tác nhân (Actor): Người dùng o 
Mô tả: Người dùng muốn thanh toán và hoàn tất đơn hàng. o  Hành động:   
Người dùng chọn chức năng thanh toán.   
Hệ thống hiển thị form thanh toán và yêu cầu thông tin cá nhân 
(họ tên, địa chỉ, phương thức thanh toán, v.v.).   
Người dùng nhập thông tin và xác nhận thanh toán, nhận phiếu  bảo hành.   
Nếu có sai sót trong quá trình thanh toán, hệ thống sẽ báo lỗi, 
không chấp nhận thanh toán và sau đó hủy thanh toán 
2.1.10: Biểu đồ trạng thái  A. Thêm khách hàng    Hình 14 
Thêm khách hàng (Add Customer): 
o Tác nhân (Actor): Nhân viên bán hàng o Mô tả: Nhân viên muốn 
thêm thông tin khách hàng mới vào hệ thống. o Hành động:   
Nhân viên nhập thông tin khách hàng (tên, số điện thoại, địa chỉ,  v.v.).   
Hệ thống kiểm tra tính hợp lệ của thông tin.    lOMoAR cPSD| 59691467  
Nếu thông tin hợp lệ, hệ thống tạo khách hàng mới và gán một mã  khách hàng.   
Nhân viên xác nhận việc thêm khách hàng.   Hệ thống thông 
báo kết quả thành công. 
B. Sửa thông tin khách hàng    Hình 15 
Sửa thông tin khách hàng (Edit Customer Information): 
o Tác nhân (Actor): Nhân viên bán hàng 
o Mô tả: Nhân viên muốn cập nhật thông tin của một khách hàng trong 
hệ thống. o Hành động:   
Nhân viên chọn khách hàng cần sửa thông tin.   
Hệ thống hiển thị biểu mẫu hoặc giao diện để cập nhật thông tin  khách hàng.   
Nhân viên thay đổi thông tin cần sửa (ví dụ: số điện thoại, địa chỉ,  email).   
Hệ thống kiểm tra thông tin và cập nhật khách hàng trong cơ sở  dữ liệu.   
Nhân viên xác nhận việc sửa thông tin khách hàng.   
Hệ thống thông báo kết quả thành công. 
C. Xóa thông tin khách hàng