











Preview text:
Hóa đại cương 1 (Đại học Khoa học Tự nhiên, Đại học Quốc gia Thành phố Hồ Chí Minh)
Chuyên đề - HÓA ĐẠI CƯƠNG THUYẾT MO-PHƯƠNG PHÁP OBITAN PHÂN TỬ
II/ TỔNG QUAN
1.Những luận điểm cơ bản của thuyết MO:
- Trong phân tử, tính cá thể (độc lập) của các nguyên tử không còn tồn tại. Phân tử
gồm có một số giới hạn các hạt nhân nguyên tử và các electron. Các electron (chủ yếu là các electron hóa trị) phân bố trên các obitan chung của phân tử.
- Trong phân tử tồn tại những trạng thái riêng cho các electron, trạng thái đó được
xác định bởi một hàm không gian gọi là obitan phân tử (MO). Mỗi MO tương ứng với một mức năng lượng xác định.
- Trong phân tử, sự phân bố các electron trên các MO cũng tuân theo nguyên lý vững bền, nguyên lý Pauli và qui tắc Hund, từ đó ta có cấu hình electron của phân tử.
- Các AO chủ yếu được sử dụng trong việc thành lập các MO phải mãn các điều
kiện sau:
- Có năng lượng xấp xỉ nhau.
- Có tính đối xứng giống nhau đối với trục liên kết (hay có mức độ xen phủ rõ rệt).
2. MO liên kết và MO phản liên kết
- MO liên kết: có sự tập trung mật độ xác suất có mặt của electron ở khoảng giữa hai hạt nhân. Electron có tác dụng liên kết hai hạt nhân và khi ở trạng thái này, electron có năng lượng thấp hơn khi ở trạng thái nguyên tử.
- MO phản liên kết: Xác suất có mặt của electron ở khoảng giữa hai hạt nhân nhỏ và ở trạng thái này, electron có năng lượng cao hơn ở trạng thái nguyên tử (điều đó có nghĩa trạng thái đó kém bền hơn trạng thái nguyên tử).
* Chú ý: Chỉ hai AO có tính đối xứng giống nhau mới có khả năng xen phủ và tạo thành 1 MO liên kết và 1 MO phản liên kết. Đối với những AO không có tính đối xứng giống nhau thì không có sự xen phủ. Khi đó ta có MO không liên kết.
III/ NỘI DUNG
III.1. Thuyết MO và phân tử 2 nguyên tử III.1. 1.Phân tử 2 nguyên tử đồng hạch A2 a) Các phân tử A2 thuộc chu kỳ 1:
Giản đồ phân tử các MO như sau:
E | AO |
| MO |
|
| AO |
s*
1s 1s
s
Để có sự phù hợp với lý thuyết kinh điển, người ta đưa ra khái niệm số liên kết (bậc liên kết hay độ bội liên kết) N và định nghĩa: N = (n - n*)/2 trong đó, n : số electron trên MO liên kết (số electron liên kết). n*:số electron trên MO phản liên kết (số e phản liên kết).
Dựa vào N, thuyết MO cho phép đánh giá về năng lượng liên kết và độ dài liên kết (Giữa 2 nguyên tử, số liên kết càng lớn thì năng lượng liên kết càng lớn và độ dài liên kết càng nhỏ).
Thuyết MO cũng cho ta xác định được từ tính của phân tử (thuận từ khi có electron độc thân, nghịch từ khi các electron đều ghép đôi)
VD: Phân tử H2 : Cấu hình s1
AO Ha MO H2 AO Hb


s
s
p
x
*




1
S
1
S
b
a
a
+
b
a
-
b
VD: Phân tử H2; H2- : H2: s2 ; H2- : s2s* 1
b) Các phân tử A2 thuộc chu kỳ 2:
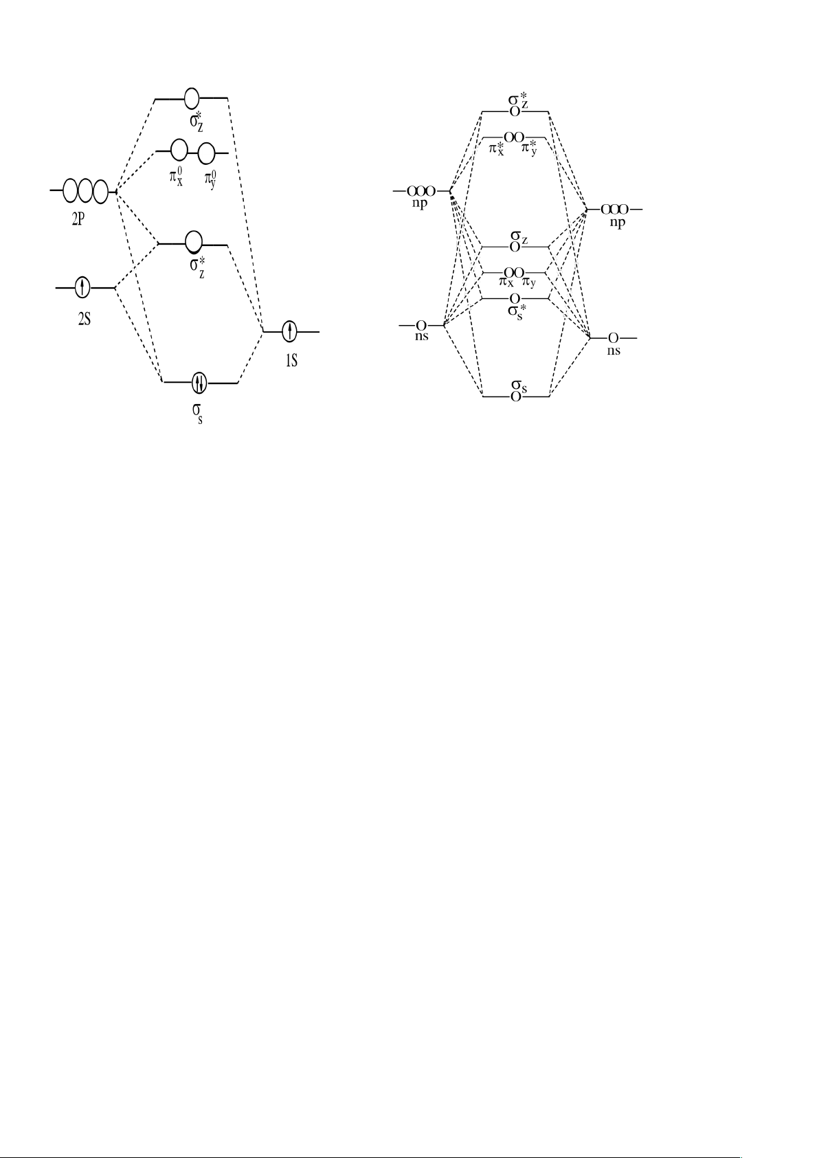
Quang phổ nghiệm cho biết, đối với nguyên tử O, F và Ne, hiệu năng lượng của obitan 2p và 2s khá lớn, vì vậy ta chỉ tổ hợp các obitan 2s riêng với nhau, các obitan 2p riêng với nhau. Đối với phân tử O2 và F2, phổ phân tử cho biết các mức năng lượng của các MO có thứ tự như hình vẽ (Giản đồ I).
Đây là trường hợp của O2 và F2:
S < *S < Z < px = py < p*x = p*y < *Z
Đối với các nguyên tử thuộc đầu chu kỳ 2 (Li, Be, B, C, N), hiệu hai mức năng lượng 2p và 2s tương đối nhỏ, vì vậy có sự tổ hợp của tất cả các obitan 2s và 2pz. Thứ tự các mức năng lượng của các MO như hình vẽ (Giản đồ II).
Trường hợp của Li2, Be2, C2, N2:
S < *S < px = py < Z < p*x = p*y < *Z
E AOAa MOA2 AOAbE AOAa MOA2 AOAb


1sa2 1s2b s
VD1. Phân tử Li2 :có cấu hình electron (S)2
VD2.Phân tử Be2: Cấu hình electron hoá trị của nguyên tử Berili là 2s2.
Phân tử Be2 có cấu hình S2 *S2 với số liên kết =
= 0.
Do đó phân tử Be2 không tồn tại, phù hợp với thực tế.
VD3.Phân tử B2: Cấu hình electron hoá trị của nguyên tử Bo: 2s2 2p1.
Cấu hình electron của B2: S2 *S2 p1x p1y , ứng với một liên kết.
VD4.Phân tử C2.
Cấu hình electron hoá trị của nguyên tử cacbon là: 2s2 2p2. các mức năng lượng của Z và px,y được phân bố sao cho cấu hình (S)2 (*S)2 (px,y)4 và
(S)2 (*S)2 (px,y)3 (Z)1 hầu như tương đương về năng lượng.
Hiện này người ta coi trạng thái cơ bản là trạng thái với cấu hình (S)2 (*S)2 (px,y)4
(bền vững hơn so với cấu hình kia là 0,1eV).
VD5.Phân tử N2: Cấu hình electron hoá trị của nguyên tử nitơ là: 2s2 2p3.
Phù hợp với tính nghịch từ của N2 xác định được bằng thực nghiệm cho thấy cấu hình electron của phân tử N2 có dạng (S)2 (*S)2 (px,y)4 (Z)2.
Trong phân tử N2 có ba liên kết (một liên kết và hai liên kết p). Đó là liên kết cực đại của phân tử A2 và do đó N2 rất bền vững VD6.Phân tử O2.
Cấu hình electron hoá trị của nguyên tử oxi ở trạng thái cơ bản: 2s2 2p4. Cấu hình electron của phân tử oxi O2: (S)2 (*S)2 (Z)2 (px,y)4 (p*x )1 (p*y )1.
Như vậy, trong O2 có hai electron trên các MO p*x,y chưa cặp đôi và do đó O2 là chất thuận từ.
Kết quả này hoàn toàn phù hợp với thực nghiệm. Đó là một thành công của phương pháp MO, vì theo Lewis, sự tồn tại hai electron chưa cặp đôi trong phân tử oxi là hoàn toàn không giải thích được.
VD7.Phân tử F2.
Cấu hình electron hoá trị của nguyên tử flo: 2s2 2p5.
Cấu hình electron của phân tử F2:(S)2 (*S)2 (Z)2 (px,y)4 (p*x,y )4 ứng với một liên kết và không có electron độc thân. Cấu hình electron này phù hợp với tính nghịch từ của F2 VD8.Phân tử Ne2.
Nguyên tử Neon có cấu hình electron lớp ngoài cùng 2s2 2p6.
Phân tử neon giả định có cấu hình electron là: (S)2 (*S)2 (Z)2 (px,y)4 (p*x,y )4 (*Z)2. Do đó trong Ne2 có số liên kết bằng không. Do đó phân tử Ne2 không tồn tại. Điều đó hoàn toàn phù hợp với thực nghiệm.
Một số phân tử A2 khác:
Khi khảo sát cấu tạo của các phân tử bất kì loại A2, có thể sử dụng giản đồ các mức năng lượng của các MO đối với các phân tử của các nguyên tố thuộc chu kì 2 hệ thống tuần hoàn bằng cách thay giá trị số lượng tử chính n.
Các phân tử Na2, K2, Rb2, Cs2.
Phân tử hai nguyên tử của tất cả các kim loại kiềm ở trạng thái cơ bản có cấu hình
(S)2 với một liên kết chúng là những chất nghịch từ.
Các phân tử Cl2, Br2, I2:
Trạng thái cơ bản của các phân tử halogen (X2) có cấu hình electron (S)2 (*S)2 (Z)2
(px,y)4 (p*x,y )4, có 1 liên kết trong X2. Tất cả các phân tử đều nghịch từ.
III.1.2. Phân tử 2 nguyên tử dị hạch AB
a) Phân tử LiH: cấu hình electron của LiH là S2 .Khi đó phần lớn thời gian các electron ở gần nguyên tử
H làm cho phân tử LiH phân cực: Li+ H
AO Li MO LiH AO H E AO-A MO-AB AO-B

b)Giản đồ năng lượng các MO của phân tử AB (độ âm điện của A nhỏ hơn B).Một số phân tử AB cụ thể.
Phân tử BN (8 electron hoá trị):
Cấu hình electron của phân tử BN ở trạng thái cơ bản: (S)2 (*S)2 (px,y)4 .Như vậy, về cấu tạo electron, phân tử BN tương tự C2.
Các phân tử BO, CN, CO+ (đều có 9 electron hoá trị):
Ở trạng thái cơ bản, cấu hình electron của tất cả ba phân tử là: S2 *S2 px,4 y 1Z ứng với trạng thái 2 và 2,5 liên kết (ít hơn BN là 0,5 liên kết). Khoảng cách giữa các nguyên tử
ngắn hơn so với trong BN (hoặc trong C2) và là 1,20 Å ở BO; 1,17 Å ở CN; 1,15 Å ở CO+.
Các phân tử CO, NO+, CN (10 electron hoá trị):
Cả ba phân tử này có số electron giống nitơ và trạng thái cơ bản của chúng được mô tả bởi số hạng 1. Cấu hình S2 *S2 px,4 y 2Z ứngvới sự hình thành một liên kết và hai liên kết p.
Khoảng cách giữa các nguyên tử tăng theo thứ tự NO+ < CO < CN và tương ứng là 1,062;
1,128; 1,14 Å. Năng lượng liên kết trong phân tử CO là 255,8 Kcal/mol, thậm chí cao hơn năng lượng liên kết của phân tử N2 (225 Kcal/mol).
Phân tử NO (11 electron hoá trị):
Trạng thái cơ bản của phân tử NO có cấu hình: S2 *S2 px,4 y 2Z p*x,1y ứng với trạng thái 2p.
Số liên kết ở NO là 2,5
III.2. Phương pháp MO và phân tử nhiều nguyên tử.
III.2. 1. Phân tử ba nguyên tử AB2 thẳng.
- Phân tử BeH2:
Trạng thái cơ bản của phân tử BeH2 có cấu hình electron: S2, 2Z.
E AO-Be MO-BeH2 AO-H E AOC MOCO2 AOO


- Phân tử ba nguyên tử thẳng với các liên kết p:
Ví dụ ta khảo sát cấu tạo của phân tử CO2
Trạng thái cơ bản của phân tử CO2:(2sa)2 (2sb)2(S)2 (Z)2 (px,y)4 (p0xy )4 . Do đó, trong phân tử CO2 có 2 liên kết và hai liên kết p. Kết quả này cũng thu được khi khảo sát phân tử CO2 theo phương pháp liên kết hoá trị.
III.2. 2. Phân tử ba nguyên tử AB2 không thẳng.
Phân tử H2O. Phân tử NO2
E AOO MO H2O AO H AON MO NO2 AO O


III.2. 3. Phân tử AB3 tháp tam giác. Phân tử NH3
E AON MONH3 AOH

s
III.2. 4. Các phân tử tứ diện AB4. Phân tử CH4.
AOC MOCH4 AOH

III. Những mô hình khác nhau về liên kết.
3.1. Mô hình liên kết hai tâm.
+
+
+
+
H
H
Be
Hai obitan liên kết của BeH2: 1 2
Phân tử C2H4
Giản đồ các mức năng lượng của các MO p trong C2H4
AOC MO p (C2H4) AO C

Phân tử C2H2.
Giản đồ mức năng lượng của các MO. x
AO C MO p (C2H2) AO C 
x
*
p









p
*
y
,
,
y
p




p
x
2
p
x
,2p
y
2
p
x
,2p
y




E


Phân tử CH3CN (Axetônitril): Axetônitril có nhóm chức C N:

Phân tử H2CO (Phân tử có nhóm chức cacbonyl C=O)
AO C MO H2CO AO O

3.2. Mô hình liên kết ba tâm.
Phân tử B2H6. (Đi Boran).
AO BB MOB-H-B AO H

Phân tử XeF2. (Phân tử thừa electron).
Dựa vào mô hình liên kết ba tâm ta có thể giải thích dễ dàng trạng thái liên kết trong XeF2 (mà không cần sử dụng phân lớp d để tạo thành lai hoá pd khó thực hiện, vì năng lượng kích thích quá lớn).
F
+
+
F
X
e
F
+
+
F
X
e
X
e
F
+
+
+
+
+
F
o
*
Hình . MO liên kết (), không liên kết (o) và phản liên kết (*)
Do sự xen phủ obitan p của Xe với hai obitan p của hai nguyên tử F cũng xuất hiện 3 obitan phân tử trong đó obitan liên kết và obitan không liên kết bị chiếm bởi hai electron của hai nguyên tử F. ở đây ta có liên kết ba tâm 4 electron.
3.3. Mô hình liên kết nhiều tâm.
Đối với nhiều trường hợp, đặc biệt các phân tử phẳng liên hợp vòng (ví dụ C6H6) chỉ có thể biểu diễn một cách gần đúng, các liên kết bằng những MO định cư hai tâm, còn các obitan phân tử p không thể biểu diễn bằng các MO định cư hai tâm tương đương được.
Theo thuyết MO, phân tử benzen có cấu tạo phẳng.
H
H
H
H
C
C
C
C
C
C
H

p
Ph©n tö benzen
- c) b)
Hình. a) Các liên kết (MO định cư 2 tâm);
- MOp không định cư 6 tâm; c) Công thức benzen.
TÀI LIỆU THAM KHẢO
- Hóa học đại cương- Đào Đình Thức
- Nguyên tử và liên kết hóa học-Đào Đình Thức
- Một số nội dung được lấy từ internet
- Trần Thành Huế: Hoá học đại cương; Tập một : Cấu tạo chất; Nxb Giáo dục-
2000, tái bản 2001.
- Nguyễn Đức Chuy: Hoá học đại cương; Nxb Đại học Quốc gia; Nxb Giáo dục 1998