














Preview text:
Câu 6: Cơ cấu chỉ thị từ điện: Cấu tạo, nguyên lý, ứng dụng • Cấu tạo:
Phần tĩnh: Nam châm vĩnh cữu (nam châm hình móng ngựa), lõi sắt, cực từ (bằng sắt
non). Giữa cực từ và lõi sắt có khe hở không khí rất hẹp.
Phần động: Khung dây được quấn bằng dây đồng. Khung dây gắn trên trục, nó quay trong khe hở không khí.
• Nguyên lý: Dòng điện chạy qua khung dây, dưới tác dụng của từ trường (Do nam
châm tạo ra), tạo ra momen làm khung quay.
• Ứng dụng: Cơ cấu chỉ thị từ điện có độ nhạy khá cao, thang đo đều nên được ứng
dụng để chế tạo Vônmet, Ampemet, Ohmmet nhiều thang đo với dải đo rộng.
Câu 7: Cơ cấu chỉ thị điện từ: Cấu tạo, nguyên lý, ứng dụng • Cấu tạo:
Phần tĩnh: Cuộn dây bên trong có khe hở không khí, một lá thép cố định nằm trong
lòng cuộn dây, gọi là lá tĩnh.
Phần động: lá thép có khả năng di chuyển tương đối với lá tĩnh trong khe hở không khí, gọi là lá động • Nguyên lý:
Lò xo dây quấn tạo ra momen cản hay lực điều khiển để dừng kim chỉ.
Momen quay do từ trường của nam châm điện tạo ra
• Ứng dụng: Cơ cấu chỉ thị điện từ có thể được dùng để chế tạo dụng cụ đo dòng
một chiều và dòng xoay chiều như Vônmet, Ampemet tần số công nghiệp.
Câu 8: Vẽ sơ đồ nguyên lý và trình bày nguyên lí hoạt động của 1 Volmet
(ampemet)từ điện để đo điện áp(hoặc dòng điện). Phương pháp mở rộng thang
đo, bù sai số nhiệt độ, bù sai số phi tuyến… Phân tích ưu nhược điểm của Volmet
đó só với các loại Volmet khác đã được học. • Sơ đồ nguyên lí:
• Nguyên lý hoạt động: Dòng điện chạy qua khung dây, dưới tác dụng của từ
trường (Do nam châm tạo ra), tạo ra momen làm khung quay.
• Phương pháp mở rộng thang đo: Đo các dòng điện một chiều khác nhau, ta phải
sử dụng các Sun mắc song song với cơ cấu Khi dùng làm volmet, ta phải thêm điện trở phụ
• Bù sai số nhiệt độ: Mắc nối tiếp R có hằng số nhiệt độ bằng 0
• Bù sai số phi tuyến: Bù phần mềm • Ưu điểm:
Tuyến tính với dòng điện hay nói cách khác thang chia độ của cơ cấu này đều.
Cơ cấu từ điện được chế tạo chủ yếu để đo dòng điện một chiều.
Độ nhạy cao do BW lớn và D nhỏ.
Độ chính xác cao vì Mq lớn hơn nhiều so với ma sát và B lớn hơn nhiều so với từ
trường nhiễu ảnh hưởng.
Khi nhiệt độ thay đổi thì B và D cùng tăng hoặc cùng giảm nên bù trừ lẫn nhau
Khung quay được chế tạo bằng đồng nên thay đổi điện trở theo nhiệt độ vì vậy
khi sử dụng phải chú ý đến ảnh hưởng của nhiệt độ đến điện trở của khung quay • Nhược điểm:
Dòng cần đo đưa vào cơ cấu chỉ được phép theo một chiều nhất định, nếu đưa
dòng vào theo chiều ngược lại kim chỉ sẽ bị giật ngược trở lại và có thể gây hỏng cơ cấu.
Vì vậy, phải đánh dấu + (dây màu đỏ) và - (dây màu xanh) cho các que đo.
Chiều quay của kim chỉ thị phụ thuộc vào chiều dòng điện nên các đại lượng xoay
chiều (tần số từ 20Hz – 100KHz) muốn chỉ thị bằng cơ cấu từ điện phải chuyển
thành đại lượng một chiều và đưa vào cơ cấu theo một chiều nhất định.
Câu 9: Vẽ sơ đồ nguyên lý và trình bày nguyên lí hoạt động của 1 xoay chiều.
Phương pháp mở rộng thang đo, bù sai số nhiệt độ, bù sai số phi tuyến… Phân
tích ưu nhược điểm của Volmet đó só với các loại Volmet khác đã được học.
• Sơ đồ nguyên lí:
• Nguyên lý hoạt động:
Lò xo dây quấn tạo ra momen cản hay lực điều khiển để dừng kim chỉ.
Momen quay do từ trường của nam châm điện tạo ra
• Phương pháp mở rộng thang đo: Chia khoảng cuộn dây động
• Sai số bù nhiệt độ: • Sai số bù phi tuyến:
• Ưu điểm: chắc chắn, rẻ tiền và đo được dòng hiệu dụng của dòng điện xoay chiều • Nhược điểm:
α là hàm của I2 cho phép đo giá trị hiệu dụng của dòng điện xoay chiều.
α quan hệ với I2 cho nên thang chia độ của dụng cụ điện từ không đều, làm khó
khăn cho việc khắc độ.
α phụ thuộc dL/dα mà cuộn dây không có lõi thép nên hệ số k1= dL/2Ddα nhỏ, độ nhạy thấp
Từ trường trong cuộn dây nhỏ nên cơ cấu điện từ bị ảnh hưởng nhiều từ trường
bên ngoài và cơ cấu không chính xác.
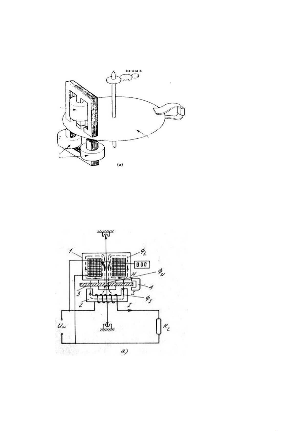
Câu 10 : Nguyên lý làm việc và cấu tạo của công tơ cảm ứng
• Cấu tạo công tơ cảm ứng 1 pha:
Cuộn dây 1 (tạo nên nam châm điện 1): gọi là cuộn áp được mắc song song với phụ
tải. Cuộn này có số vòng dây nhiều, tiết diện dây nhỏ để chịu được điện áp cao.
Cuộn dây 2 (tạo nên nam châm điện 2): gọi là cuộn dòng được mắc nối tiếp với phụ
tải. Cuộn này dây to, số vòng ít, chịu được dòng lớn.
Đĩa nhôm 3: được gắn lên trục tì vào trụ có thể quay tự do giữa hai cuộn dây 1, 2.
Hộp số cơ khí 5: gắn với trục của đĩa nhôm.
Nam châm vĩnh cửu 4: có từ trường của nó xuyên qua đĩa nhôm để tạo ra mômen hãm • Nguyên lý làm việc:
Cuộn dây địên áp có lõi thép tạo ra từ thông Φu xuyên qua đĩa nhôm xoay được
xung quanh trục. Cơ cấu có một cuộn dòng điện tạo ra từ thông ΦI. Hai từ
thông này cảm ứng lên dòng địên xoáy trên bề mặt của đĩa. Dòng điện cảm ứng
bị từ thông của dòng địên và địên áp tác dụng lực
Câu 12: Chức năng, phạm vi ứng dụng của các chuyển đổi đo lường sơ cấp Giải:
Các loại cảm biến đo nhiệt độ:
-Đo tiếp xúc: Nhiệt kế giãn nở vì nhiệt Nhiệt điện trở Cặp nhiệt ngẫu
-Đo không tiếp xúc: Đo bằng hỏa quang kế Đo bằng hồng ngoại Nhiệt điện trở
Cấu tạo: Nhiệt kế điện trở có thể chế tạo bằng dây platin, đồng, niken, bán dẫn,.. quấn trên một lõi cách
điện đặt trong vỏ bằng kim loại có đầu nối ra ngoài. Nhiệt kế điện trở có thể dùng mạch đo bất kỳ để
đo điện trở nhưng thông thường được dùng mạch cầu không cân bằng, chỉ thị là loogomet từ điện
hoặc cầu tự động cân bằng, trong đó một nhánh là nhiệt điện trở. Nếu nhiệt điện trở mắc vào mạch
cầu cân bằng hai dây dẫn Rd1 và Rd2 (Cầu hai dây), dụng cụ sẽ có sai số do sự thay đổi điện trở của
đường dây khi nhiệt độ môi trường thay đổi.
Nhiệt điện trở kim loại: thường chế tạo bằng Pt, dây đồng, dây Ni, ký hiệu là Pt-100, Cu-100, Ni-100
Ứng dụng: thường được dùng trong công nghiệp
Ưu điểm: Bền, rẻ, dễ chế tạo Dãy tuyến tính rộng
Nhiệt điện trở bán dẫn: Làm từ hỗn hợp các oxid kim loại: mangan(MgO), nickel(Nio), Cobalt(Co2O3),…
Ứng dụng: làm các chức năng đo nhiệt độ để bảo vệ, ép vào cuộn dây động cơ, mạch điện tử
Ưu điểm: Bền, rẻ, dễ chế tạo
Khuyết điểm: Dãy tuyến tính hẹp nên dải đo ngắn Mạch đo:
Nguyên nhân gây ra sai số: Nhiệt kế điện trở có thể dùng mạch đo bất kỳ để đo điện trở nhưng thông
thường được dùng mạch cầu không cân bằng, chỉ thị là loogomet từ điện hoặc cầu tự động cân bằng,
trong đó một nhánh là nhiệt điện trở. Nếu nhiệt điện trở mắc vào mạch cầu cân bằng hai dây dẫn Rd1
và Rd2 (Cầu hai dây), dụng cụ sẽ có sai số do sự thay đổi điện trở của đường dây khi nhiệt độ môi trường thay đổi. Cặp nhiệt điện: Nguyên lý: Cấu tạo: Ứng dụng ??? Mạch đo:
Nguyên nhân sai số: do ảnh hưởng của dây nối và do nhiệt độ đầu tự do thường không phải 0o