



















Preview text:
lOMoAR cPSD| 61229936
PHÁT TRIỂN HỆ THỐNG THÔNG TIN QUẢN LÝ CỦA THƯ
VIỆN TẠ QUANG BỬU
TÊN DỰ ÁN:Xây dựng phát triển hệ thống thông tin quản lý cho Thư viện Tạ Quang
Bửu - Trường đại học Bách Khoa Hà Nội.
MỤC TIÊU: Tăng cường ứng dụng mạnh mẽ, toàn diện công nghệ thông tin, nhất
là công nghệ số nhằm nâng cao năng lực hoạt động của thư viện và hình thành mạng
lưới thư viện hiện đại; đảm bảo cung ứng dịch vụ đáp ứng nhu cầu của người sử
dụng; thu hút đông đảo sinh viên trường quan tâm, sử dụng dịch vụ thư viện.
CƠ QUAN CHỦ ĐẦU TƯ: Trường Đại Học Bách Khoa - Hà Nội.
CƠ QUAN CHỦ TRÌ: Công Ty Công Nghệ Và Kinh Tế Số Neu.
TỔNG CHI PHÍ DỰ KIẾN: 500.000.000đ (500 triệu đồng).
THỜI HẠN: 91 ngày (từ ngày 16/8/2022 đến ngày 16/11/2022).
I. MÔ TẢ TỔ CHỨC
1. Cơ cấu tổ chức và nhân sự
Cơ cấu tổ chức và nhân sự thực tế hiện nay tại Thư viện gồm có: + Ban giám đốc.
+ 03 phòng chuyên môn (Trong đó mỗi phòng gồm 4 bộ phận).
- Nhân sự của Thư viện hiện nay đang được bố trí như sau:
+ Ban giám đốc: 3 người.
+ Phòng Dịch vụ Thông tin: 18 người. lOMoAR cPSD| 61229936
+ Phòng Xử lý thông tin: 8 người.
+ Phòng Thông tin Thư mục: 6 người.
2. Chức năng và nhiệm vụ cụ thể của một số chức danh 2.1. Ban Giám đốc
2.1.1. Chức danh: Giám đốc
- Quản lý các hoạt động chung của thư viện;
- Quản lý công tác tổ chức và nhân sự thư viện;
- Quản lý công tác tài chính và các vấn đề thanh quyết toán;
- Công tác thi đua khen thưởng;
- Quan hệ hợp tác thư viện trong nước và quốc tế;
- Hoạch định chiến lược phát triển thư viện;
- Thực hiện các nhiệm vụ khác do Hiệu trưởng phân công. lOMoAR cPSD| 61229936
2.1.2. Chức danh: Phó giám đốc
- Phụ trách nghiệp vụ Thư viện;
- Quản lý các dịch vụ thông tin - thư viện; - Xây dựng và triển khai dự án;
- Quản lý Hệ thống thông tin số Thư viện;
- Quản lý Công tác đào tạo người dùng tin và hướng dẫn sinh viên thực tập; - Thực
hiện các nhiệm vụ khác do Giám đốc Thư viện phân công.
2.1.3. Chức danh: Phó giám đốc
- Quản lý Phát triển nguồn lực thông tin và thanh lọc tài liệu;
- Quản lý Cơ sở vật chất, Thiết bị thư viện;
- Quản lý về ngày công, Công tác văn phòng, văn thư lưu trữ;
- Quản lý Công tác đoàn thể;
- Thực hiện các nhiệm vụ khác do Giám đốc Thư viện phân công.
2.2. Các phòng chuyên môn
2.2.1. Chức danh: Trưởng phòng Xử lý thông tin.
- Thu thập, bổ sung và xử lý nghiệp vụ toàn bộ tài liệu Thư viện;
- Nghiên cứu và ứng dụng các chuẩn nghiệp vụ tiên tiến vào hoạt động thư viện; - Bộ phận kỹ thuật;
- Thực hiện các nhiệm vụ khác do Giám đốc Thư viện phân công.
2.2.2. Chức danh: Trưởng phòng Dịch vụ thông tin.
- Tổ chức, sắp xếp, kiểm kê, thanh lọc và bảo quản nguồn tài nguyên thông tin của Thư viện
- Thực hiện các nhiệm vụ khác do Giám đốc Thư viện phân công lOMoAR cPSD| 61229936
2.2.3. Chức danh: Trưởng phòng Thông tin – Thư mục
- Tổ chức hướng dẫn, đào tạo người dùng tin sử dụng thư viện hiệu quả;
- Đánh giá mức độ đáp ứng nhu cầu tin qua phiếu điều tra;
- Giải đáp thông tin theo yêu cầu;
- Vận hành các hệ thống thông tin số của thư viện;
- Quản lý trang thiết bị thư viện;
- Phục vụ các nguồn tài liệu điện tử;
- Cập nhật và phát triển thư viện số;
- Nghiên cứu và triển khai ứng dụng công nghệ thông tin vào hoạt động thư viện;
- Tổ chức sự kiện, hội nghị hội thảo;
- Thực hiện các nhiệm vụ khác do Giám đốc Thư viện phân công.
2.3. Dung lượng giao dịch
- Mô hình đảm bảo phục vụ 10000 lượt tra cứu/ngày, khoảng 3.000 lượt/ngày bạn
đọc đến đọc và mượn tài liệu về nhà.
II. MÔ TẢ VỀ HỆ THỐNG THÔNG TIN QUẢN LÝ 1. Phần cứng
1.1. Hệ thống máy tính
Hiện nay, thư viện đang được trang bị hệ thống máy chủ Web phục vụ các dịch vụ
cung cấp thông tin, các máy chủ CSDL, 50 máy tính để cán bộ thư viện quản lý và
khai thác các dịch vụ của thư viện , 100 máy tính tại các Phòng đọc đa phương tiện
phục vụ bạn đọc truy nhập tra cứu, khai thác thông tin, đọc tài liệu. lOMoAR cPSD| 61229936
Các máy tính xách tay phục vụ cho việc quản trị mạng, quản trị hệ thống phần mềm thư viện điện tử.
1.2. Hệ thống mạng và các thiết bị mạng
- Hệ thống mạng tại thư viện bao gồm một hệ thống thống nhất về các thiết bị của
hãng Nortel. Hệ thống mạng được xây dựng thành 3 khối, khối truy nhập bên ngoài,
khối cung cấp dịch vụ máy chủ, khối lớp mạng Core và lớp Access.
- Các đường cáp quang từ các nhà cung cấp dịch vụ ISP (VDC, FPT, Viettel,
EVN....) cung cấp các đường internet kết nối băng thông rộng (lease line) và các
đường kết nối FTTH tới Trường Đại học Bách khoa Hà Nội và vào trực tiếp mạng Thư viện.
- Do tính chất của mạng thư viện (trải ra trên nhiều tầng, mỗi tầng có nhiều nút mạng
và máy trạm, dùng nhiều Access switch) nên cần phải có hệ thống Core switch,
Distribution switch và Server Farm switch với hiệu năng và băng thông đủ lớn để
đảm bảo đem lại tốc độ truyền tối đa cho mạng. Hiện nay, Thư viện đang sử dụng
03 core switches ERS8610 của Hãng Nortel. 1.3. Phần mềm
- Hiện nay, Thư viện đang sử dụng phần mềm Nền tảng dịch vụ thư viện (Library
Service Platform - LSP), model Sierra do hãng Innovative Interfaces của Mỹ cung
cấp. Phần mềm đã đáp ứng các yêu cầu triển kahi nghiệp vụ thông tin - thư viện
theo các tiêu chuẩn quốc gia/quốc tế; có khả năng nâng cấp, mở rộng chức năng
phù hợp với quy mô và chiến lược phát triển lâu dài của thư viện.
- Thư viện cũng đang sử dụng phần mềm DSpace. DSpace là phần mềm mã nguồn
mở dùng để quản lý các nguồn tài nguyên số nội sinh nhằm phục vụ cho các thư
viện, các cơ quan, trường học sử dụng và phát triển. Thư viện đã triển khai phần lOMoAR cPSD| 61229936
mềm quản lý tài nguyên số Dspace từ năm 2008. Phần mềm đã thể hiện được tính
ưu việt của mình trong việc thu thập, quản lý tài liệu.
- Ngoài ra, Thư viện còn sử dụng một số phần mềm khác để phục vụ cho công tác
chuyên môn như: phần mềm in nhãn, phần mềm đếm lượt bạn đọc… 2. Nhân sự:
- Nhân sự vận hành HTTT quản lý thư viện là phòng Thông tin – Thư mục gồm: 1
Trưởng phòng và 7 nhân viên phụ trách chính trong việc vận hành HTTT số của thư viện.
3. Cơ sở dữ liệu:
- Cơ sở dữ liệu thư mục: Năm 1995, cùng với sự phát triển của công nghệ thông
tin, thư viện đã bước đầu ứng dụng phần mềm trong việc tin học hóa công tác thư
viện. Việc ứng dụng này đã hỗ trợ cho thư viện trong việc xây dựng các cơ sở dữ
liệu tài liệu phục vụ cho việc lưu trữ và tìm kiếm thông tin.
Cho đến nay, Thư viện đã xây dựng CSDL thư mục với gần 100.000 biểu ghi, giúp
bạn đọc không chỉ trong trường mà cả các bạn đọc của các trường, các thư viện khác
có thể tra cứu và tiếp cận đến nguồn tài nguyên thông tin của thư viện.
- Cơ sở dữ liệu toàn văn: Nhằm tăng tối đa khả năng truy cập và khai thác thông
tin cho người dùng tin dù ở bất kỳ đâu, tháng 1/2008, thư viện trường Đại học Bách
khoa Hà Nội bắt tay vào nghiên cứu và triển khai xây dựng các cơ sở dữ liệu toàn
văn trên phần mềm Dspace. Hiện nay, Thư viện đã xây dựng được CSDL tài liệu
toàn văn với gần 12.000 biểu ghi bao gồm: sách điện tử, tạp chí điện tử bài giảng
điện tử, luận văn, luận án và trong tương lại là các sưu tập hình ảnh, âm thanh, phim.
Số lượng tài liệu được đưa vào các bộ sưu tập khoảng trên 2.000 đầu tài liệu. lOMoAR cPSD| 61229936
III. NHỮNG VẤN ĐỀ VÀ CƠ HỘI 1. Ưu điểm:
- Đã xây dựng được thư viện số đi vào hoạt động sớm từ năm 2006 cho tới nay.
- Bạn đọc trong dải địa chỉ IP của trường ĐHBK HN có thể truy cập 24/7.
- Thư viện Tạ Quang Bửu trường ĐHBK HN đã có sự đầu tư về trang thiết bị, phần
mềm, và hệ thống mạng. Do đó, thuận lợi cho xây dựng và phát triển thư viện số.
- Thư viện đã lựa chọn phần mềm Dspace với giao diện thân thiện với người dùng
đã giúp cho việc truy cập vào thư viện số tại thư viện Tạ Quang Bửu trường ĐHBK
HN trở nên dễ dàng. Không chỉ những sinh viên có những kỹ năng về máy tính mới
có thể sử dụng thư viện số mà bất cứ ai cũng có thể truy cập vào hệ thống này chỉ
với những thao tác đơn giản. Phần mềm mã nguồn mở Dspace là phần mềm phổ
biến cho thư viện số, đã được nhiều thư viện trên thế giới áp dụng. Ưu điểm của
Dspace là không tốn nhiều kinh phí để sử dụng, có tính ổn định cao.
- Về quy mô các bộ sưu tập thư viện: đã xây dựng được các bộ sưu tập tài liệu số
dựa trên chính nguồn tài liệu nội sinh phong phú, đó chính là các công trình nghiên
cứu khoa học, luận án, luận văn, các báo cáo khoa học, các cơ sở dữ liệu môn học
do giảng viên biên soạn...
- Thư viện đã sớm áp dụng các chuẩn biên mục quốc tế vào công tác biên mục tài
liệu số của thư viện mình. Đó là lựa chọn chính xác, khách quan và khoa học, giúp
cho công tác biên mục tài liệu số đạt chất lượng cao, đảm bảo tính thống nhất. Điều
này cũng tạo điều kiện thuận lợi trong việc liên kết và chia sẻ thông tin với các thư
viện lớn trong và ngoài nước. lOMoAR cPSD| 61229936
- Thư viện có đội ngũ cán bộ trẻ, đông đảo, có trình độ chuyên môn nghiệp vụ cũng
như công nghệ thông tin, giúp cho việc nghiên cứu, triển khai các thiết bị công nghệ
và hiện đại trong hoạt động thư viện được dễ dàng. Số lượng cán bộ thư viện đã
đảm bảo được việc vận hành thư viện số trong mọi khâu, từ xử lý tài liệu số, biên
mục và phục vụ bạn đọc một cách tốt nhất. Hơn nữa, TV TQB trường ĐHBK HN
có sẵn một nguồn lực rất lớn kỹ sư công nghệ thông tin từ trường Đại học Bách
khoa Hà Nội. Đây là một trong những thế mạnh của thư viện. - Qua khảo sát tốc độ
truy cập mạng vào thư viện số cho thấy chất lượng khá tốt, tính ổn định cao, thuận lợi cho việc sử dụng. 2. Nhược điểm
- Số lượng tài liệu số còn ít.
- Số lượng bộ sưu tập còn chưa phong phú.
- Biên mục chưa cao còn lỗi trong việc xử lý hình thức và nội dung: lỗi chính tả,
chưa biên mục đủ các trường, đề mục chủ đề không có công cụ kiểm soát dễ dẫn
đến chất lượng biên mục không cao và thiếu tính thống nhất.
- Quản lý qua dải địa chỉ IP, dẫn đến bạn đọc không đến trường không sử dụng được.
IV. NGUYÊN NHÂN VÀ GIẢI PHÁP 1. Nguyên nhân:
- Số lượng tài liệu số còn tương đối ít. lOMoAR cPSD| 61229936
- Số lượng BST còn chưa phong phú.
- Chưa có sự quan tâm đúng mức của BGĐ, BGH của trường ĐHBK HN, dẫn đến
số lượng tài liệu còn ít.
- Công tác xây dựng TVS còn bị bỏ ngỏ chưa được đâu tư tiền bạc, thời gian hợp lý.
- Hoat động biên mục theo từng cá nhân, do vậy chưa thống nhất thành quy định nên
trong trong quá trình biên mục còn nhiều lỗi.
- Chất lượng hoạt động biên mục chưa cao: do đội ngũ cán bộ biên mục chưa được
đào tạo về biên mục tài liệu số một cách bài bản hay nói cách khác họ chưa từng
được trải qua một lớp đào tạo nào về công tác biên mục tài liệu số mà chủ yếu là tự
nghiên cứu và tiến hành biên mục. Thực tế này đã có những ảnh hưởng nhất định
đến chất lượng biên mục.
- Hạ tầng CNTT chưa kịp nhu cầu: Thư viện số tại TV TQB trường ĐHBK HN xây
dựng từ năm 2006 nhưng đến nay chưa được bảo trì nhiều, số lượng máy tính phục
vụ cho bạn đọc tra cứu hỏng khá nhiều. 2. Giải pháp:
2.1. Tăng cường quy mô của các bộ sưu tập số
- Qua khảo sát các bộ sưu tập ở trên, số lượng các tài liệu số trong các bộ sưu tập
còn rất ít so với nhu cầu tin của người sử dụng. Để xây dựng được bộ sưu tập số
phong phú, đa dạng và đáp ứng nhu cầu tintrong thời gian tới thư viện cần phải:
- Tăng cường biên mục các tài liệu ở sẵn dạng số còn lại: Đó chính là Các bài giảng
của giảng viên, các bản trình bày, giới thiệu, bài viết trong các hội nghị, hội thảo tổ
chức tại Trường, các tài liệu của cán bộ đi thăm quan, côngtác nước ngoài với số lOMoAR cPSD| 61229936
lượng rất nhiều. Đây chính là nguồn TLS nội sinh có sẵn ở dạng số có giá trị và
quan trọng. Nhưng hiện nay số lượng nộp về TV TQB trường ĐHBK HN còn rất ít
và chưa có xu hướng tăng lên. Nguyên nhân là mặc dù đã có quy định các giảng
viên phải nộp bản mềm bài giảng môn học về TV TQB trường ĐHBK HN. Tuy
nhiên, do tâm lý lo sợ các bài giảng của mình khi đưa lên mạng sẽ bị sao chép, mất
bản quyền do vậy nhiều giảng viên đã không thực hiện quy định này. Do vậy, trong
thời gian tới cần ra những quy định cụ thể, chi tiết nhằm thu thập đầy đủ nguồn tài
liệu này và đưa vào biên mục để đưa vào sử dụng.
- Số hóa những tài liệu truyền thống cũ: Hiện nay thư viện mới chỉ tập trung biên
mục các tài liệu sẵn ở dạng số như bài giảng điện tử, luận văn – luận án, sách điện
tử mà chưa chú trọng biên mục tài liệu truyền thống có nhu cầu sử dụng cao. Trong
thời gian thực tập tại TV TQB trường ĐHBK HN tôi nhận thấy sinh viên có nhu
cầu sử dụng tài liệu truyền thống rất nhiều. Cụ thể là giáo trình, tài liệu tham
khảo…Vì vậy, trong thời gian tới Nhà trường cần hoàn thiện chính sách số hoá,
chú trọng mở rộng đối tượng số hoá, ưu tiên số hóa những tài liệu truyền thống.
Trong khi số hóa cần phải có sự chọn lựa dựa trên những tiêu chí như: Tài liệu
truyền thống được sử dụng nhiều, tài liệu quý hiếm, tài liệu phục vụ cho mục đích
nội bộ, tài liệu đặc biệt vì một lý do nào đó mà người dùng không được phép tiếp
cận với bản gốc… để đưa vào biên mục.
- Tăng cường bổ sung thêm các tài liệu số: để đáp ứng tốt nhất nhu cầu tin của người
dùng tin không chỉ trong mà cả ngoài trường ĐHBK HN trong thời gian tới TV
TQB trường ĐHBK HNcần phải tăng cường số lượng các tài liệu số. Bằng các con đường như:
- Mua bổ sung thêm các tài liệu số trong nước và nước ngoài. lOMoAR cPSD| 61229936
- Bổ sung tài liệu số trên mạng internet có giá trị: mạng internet là nơi lưu trữ số
lượng thông tin rất lớn và có rất nhiều thông tin có giá trị cao. Nếu thư viện biết
chọn lọc tài liệu phù hợp có giá trị sẽ tiết kiệm kinh phí và làm phong phú hơn kho tài liệu số của mình.
2.2. Nâng cao trình độ cho cán bộ
Đội ngũ cán bộ của TV TQB trường ĐHBK HN hiện nay, không thể phủ nhận là có
chuyên môn và ngoại ngữ, đáp ứng rất tốt yêu cầu. Tuy nhiên, để nâng cao chất lượng
công tác biên mục tài liệu số, công tác đào tạo của thư viện cần tập trung vào một số điểm sau:
- Công tác đào tạo bồi dưỡng cán bộ biên mục phải được hoạch định trong kế hoạch
chiến lược phát triển thư viện và tiến hành thường xuyên, định kỳ.
- Chương trình đào tạo: Cần có chương trình đào tạo khác nhau cho từng loại đối tượng. Cụ thể:
+ Đối với cán bộ thư viện, cần có chương trình đào tạo về thư viện số nâng cao,
nghiên cứu sâu hơn về các chuẩn biên mục, các phần mềm thư viện số đã và đang
được áp dụng nhằm nâng cao kiến thức chuyên môn.
+ Đối với các cán bộ không tham gia trực tiếp biên mục tài liệu số, cần có chương
trình đào tạo mang tính tổng quan, đi sâu vào việc áp dụng các phần mềm trong việc
tổ chức khai thác các sản phẩm dịch vụ và dịch vụ phục vụ người dùng tin.
- Các hình thức đào tạo: Tùy theo từng đối tượng, thư viện cần có các hình thức
đào tạo cho phù hợp như vậy mới thực sự phát huy được hiệu quả và chất lượng.
+ Đối với cán bộ biên mục, để nâng cao trình độ, kinh nghiệm về biênmục tài liệu
số có thể áp dụng nhiều biện pháp như: lOMoAR cPSD| 61229936
• Mời chuyên gia tổ chức đào tạo trong nước
• Thực hiện các đề tài nghiên cứu khoa học
• Tổ chức các hội thảo nghiên cứu chuyên đề
+ Đối với cán bộ không tham gia trực tiếp:
Tổ chức các khóa đào tạo ngắn hạn, có thể do cán bộ trong thư viện trực tiếp giảng
dạy, cung cấp những kiến thức cơ bản nhất về hoạt động biên mục tài liệu số.
2.3. Tăng cường đầu tư hạ tầng Công nghệ thông tin
- Hiện nay trang thiết bị dùng cho TV TQB trường ĐHBK HN khá đầy đủ và hiện
đại nhưng để phát triển TLS thì cần có nguồn kinh phí lớn đầu tư trang thiết bị hiện
đại đặc biệt mua máy scan hiện đại. Chỉ với 02 máy scanner HP hiện nay không
thể đáp ứng cho công tác số hoá cũng như triển khai, phát triển mạnh các hoạt động
này trong thời gian tới. Vì vậy, đầu tư mua các trang thiết bị mới, hiện đại phục vụ
cho xây dựng phát triển TLS, TVS là việc làm quan trọng và cần thiết. Một số trang
thiết bị cần đầu tư như: Máy scan tốc độ cao, phần mềm nhận dạng ký tự quang học
OCR, máy tính cấu hình cao, ổ lưu trữ dữ liệu,...
- Bên cạnh đầu tư thiết bị số hoá hiện đại TV TQB trường ĐHBK HN cần nâng
cao chất lượng số hoá bằng đầu tư mua phần mềm nhận dạng chữ in tiếng Việt. Phần
mềm nhận dạng chữ in tiếng Việt ABBYY ứng dụng trong xây dựng TVS. Với nhiều
tính năng hiện đại, phần mềm nhận dạng của ABBYY đang được nhiều trung tâm
TT-TV đưa vào ứng dụng trong quá trình xây dựng TVS. Đây là giải pháp hoàn chỉnh
giải quyết vấn đề số hóa nhận dạng. Mục đích của dây chuyền số hóa là chuyển kho
tài liệu giấy thành TLS. Nếu TLS chỉ đơn thuần là các ảnh quét thì dây chuyền số
hóa đó mới chỉ thực hiện được việc “file hóa” tài liệu, việc số hóa cần được hiểu là lOMoAR cPSD| 61229936
một quá trình tự động chuyển đổi kho tài liệu giấy thành tài liệu điện tử ở dạng có
thể biên tập lại, trích dẫn và tìm kiếm được. Với ý nghĩa của việc số hóa như vậy,
phần mềm nhận dạng rõ ràng đóng một vai trò then chốt của dây chuyền số hóa. TV
TQB trường ĐHBK HN chưa sử dụng phần mềm nhận dạng, trong thời gian tới để
nâng cao chất lượng số hoá cần nghiên cứu và mua phần mềm nhận dạng cho phù hợp.
- Hiện nay, trên thị trường Việt Nam có một số phần mềm nhận dạng chữ in (OCR)
tiếng Việt và giải pháp số hóa. Tuy nhiên, thực tế sử dụng các phần mềm này cho
thấy chúng còn nhiều hạn chế như không đọc được ảnh màu (chỉ làm việc với ảnh
đen trắng), dàn trang của tài liệu sau nhận dạng hay bị vỡ, công suất xử lý thấp, thao
tác thủ công, chỉ làm việc với rất ít ngôn ngữ. Phần mềm nhận dạng phiên bản mới
của ABBYY đang được đánh giá là giải pháp nhận dạng tiếng Việt chính xác và toàn
diện nhất hiện nay. Các phần mềm nhận dạng của ABBYY có thể được dùng như
một giải pháp số hóa tài liệu hoàn chỉnh hoặc tích hợp vào các hệ thống quản lý tài
liệu hay hệ thống quản lý thông tin sẵn có khác. ABBYY có 2 dòng sản phẩm nhận
dạng chính: 81 ABBYY Recognition Server và ABBYY FlexiCapture. Phần mềm
nhận dạng của ABBYY đã được nhiều cơ quan tổ chức đánh giá cao và đưa vào sử
dụng như: Bộ Khoa học và Công nghệ (Cục Sở hữu trí tuệ), Trung tâm Thông tin
Thư viện Đại học Quốc gia Hà Nội, Văn phòng Trung Ương Đoàn
Thanh niên Cộng sản Hồ Chí Minh, Công ty Cổ phần Chứng Khoán Vndirect,…
Theo TS. Nguyễn Huy Chương, Giám đốc Trung tâm TT-TV Đại học Quốc gia Hà
Nội: “Sau khi kiểm nghiệm các sản phẩm cùng loại, chúng tôi đánh giá ABBYY
Recognition Server vượt trội hơn cả. Với khả năng làm việc tự động, chất lượng nhận
dạng cao, chấp nhận nhiều định dạng đầu vào và cho phép kết xuất kết quả nhận
dạng ra nhiều định dạng lưu trữ khác nhau, phần mềm nhận dạng của ABBYY là giải
pháp tốt nhất để giải quyết bài toán số hóa tại các thư viện hiện nay”. lOMoAR cPSD| 61229936
- Bên cạnh, tạo lập và phát triển tài liệu số hoá cần quan tâm tới chất lượng của
việc số hoá cũng như có các biện pháp sao lưu đầy đủ, kịp thời để tránh các rủi ro,
tránh mất dữ liệu phải làm lại lãng phí nhiều tiền bạc, công sức, thời gian. Sau một
thời gian dài sử dụng các TLS có thể bị hư hỏng, xuống cấp. Do vậy, các TLS được
lưu trữ trên các vật mang tin như đĩa CDROM, DVD cần phải được đầu tư kinh phí
dành cho bảo quản TLS. TV TQB cần nghiên cứu, đầu tư mua các ổ cứng dung lượng
lớn hơn, có cơ chế sao lưu, phục hồi dữ liệu, chuyển dạng cho phù hợp, đảm bảo tuổi
thọ, an ninh TLS. Tăng cường cơ sở vật chất, trang thiết bị bảo quản TLS cũng như
mua các phần mềm diệt virut, nâng cấp đường truyền internet. Một số biện pháp bảo
quản TLS, TV TQB trường ĐHBK HN thực hiện chưa hiệu quả, chưa triển khai
được với số lượng lớn. Trong thời gian tới cần đầu tư kinh phí cho các hoạt động như:
- Làm mới dữ liệu: Copy (sao chụp) lại dữ liệu sang hệ thống hoặc phương tiện
mang tin mới hơn. Ví dụ: chuyển dữ liệu về chế tạo máy hàn từ một cuộn băng cũ
sang một băng mới,… cần thực hiện điều này khi phần mềm hoặc phần cứng cần
thiết cho việc đọc dữ liệu không còn được sử dụng hoặc chúng không có khả năng
hiểu format của dữ liệu.
- Di chuyển dữ liệu là quá trình chuyển dời dữ liệu sang các môi trường có hệ điều
hành mới hơn ví dụ: chuyển đổi các nguồn tài nguyên thông tin từ một format cũ
sang loại format mới, hệ điều hành này sang hệ điều hành khác, từ một loại ngôn
ngữ lập trình này sang ngôn ngữ lập trình khác. Tuy nhiên, khi tiến hành di chuyển
dữ liệu các nguồn tài nguyên chuyển dịch hoạt động có nguy cơ bị mất một vài chức
năng do format mới có thể không có khả năng thâu tóm được mọi chức năng của format gốc,... lOMoAR cPSD| 61229936
- Đa phục chế dữ liệu - thiết lập nhiều bản sao ở các vị trí khác nhau vì dữ liệu chỉ
có 1 bản và chỉ ở một điểm có nguy cơ bị tổn thương cao (do hỏng phần cứng, phần
mềm, hoả hoạn,…). Cần sao dữ liệu làm nhiều bản và lưu ở nhiều địa chỉ khác nhau.
Tuy nhiên, biện pháp này cũng gặp phải khó khăn là gây khó khăn cho các quy trình
làm mới dữ liệu hay chuyển dời dữ liệu, tạo phiên bản mới và kiểm tra truy cập vì
dữ liệu được đặt ở nhiều chỗ khác nhau.
2.4. Đào tạo người dùng tin
Người dùng tin là yếu tố quan trọng hàng đầu, không thể thiếu, quyết định đến sự
tồn tại và phát triển của một cơ quan TT-TV. Trong nhiều năm qua TV TQB trường
ĐHBK HN đã tiến hành hoạt động đào tạo người dùng tin trong suốt năm học và
theo yêu cầu của họ. Tuy nhiên, một số cách thức thực hiện đào tạo người dùng tin
còn chưa thực sự phát huy hiệu quả. Do đó trong thời gian tới TV TQB trường ĐHBK
HN cần đầu tư, chú trọng hơn cho hoạt động này. Qua khảo sát, hiện naycông tác
đào tạo thư viện số cho người dùng tin không có. Điều này cũng có thể lý giải là do
số lượng bạn đọc quá đông, trong khi cán bộ thư viện thì không nhiều. Sắp tới, thư
viện cần chú trọng hơn nữa công tác này, thu hút nhiều hơn sự quan tâm của các đối
tượng độc giả đối với thư viện số bằng các hoạt động như:
- Đào tạo chuyên sâu các kiến thức, kỹ năng cho cán bộ tham gia giảng dạy các
lớp hướng dẫn sử dụng thư viện hiệu quả.
- Không ngừng củng cố chất lượng, cập nhật nội dung các bài giảng hướng dẫn sử
dụng thư viện, thư viện số.
- Đầu tư trang thiết bị giảng dạy hiện đại, chất lượng tốt như micro, máy tính cá
nhân, sử dụng iternet tốc độ cao, đường truyền ổn định để giảng tra cứu online tạo
sự sinh động, tăng khả năng tiếp thu của người nghe lOMoAR cPSD| 61229936
- Tổ chức nhiều hơn nữa các buổi tập huấn chuyên về kỹ năng tìm kiếm, khai thác
thông tin hiệu quả đặc biệt nhấn mạnh đến khai thác TLS.
- TV TQB trường ĐHBK HN cũng mở thêm các lớp về tìm kiếm, đánh giá, chọn
lọc thông tin trên Internet, các CSDL miễn phí online, giới thiệu các nguồn tin hữu
ích trên ở các cơ quan TT-TV khác hữu ích với người dùng tin mà bạn đọc có thể trở
thành người dùng tin nơi đó ví dụ như: Thư viện Quốc gia Việt Nam, Cục Thông tin
khoa học công nghệ quốc gia,...
II. Nghiên cứu sơ bộ 2.1 Lập kế hoạch
2.2 Lợi ích hệ thống mang lại
STT Các đối Lợi ích từ dự án tượng hưởng lợi lOMoAR cPSD| 61229936 1 Độc giả -
Dễ dàng biết được thông tin các loại sách, truyện, tài liệu… được bán
ở cửa hàng. Trước khi có hệ thống thông tin quản lý thư viện thì độc giả phải
mất nhiều thời gian để lựa chọn các quyển sách phù hợp với mình thì nay có
thể rút ngắn thời gian đó bằng việc tìm hiểu thông tin ngay tại nhà của mình. -
Có thể đăng ký mượn sách trực tuyến bằng việc đăng ký qua hệ thống hoặc gọi
điện đến thư viện để được nhân viên tư vấn. -
Giúp tăng thói quen đọc sách của giới trẻ lên trong thời đại kỹ thuật số
phát triển như hiện nay. -
Giúp độ hài lòng của độc giả tăng 20%-30% 2 Thủ thư -
Thông qua hệ thống thủ thư biết được nhu cầu cũng như phản hồi của
người đọc để có những tư vấn phù hợp giúp người đọc luôn tìm được tài liệu
mình mong muốn. Từ đó tăng hiệu suất thư viện từ 10-20%. -
Tiết kiệm thời gian khi xử lý các yêu cầu của độc giả. -
Lưu trữ được thông tin các độc giả quen thuộc để có thể triển khai dịch
vụ chăm sóc, giới thiệu bạn đọc mới. -
Chỉ cần biết mã sách và mã bạn đọc thì thủ thư dễ dàng tìm kiếm được
thông tin của người đó và sau đó giúp bạn đọc có các tài liệu cần thiết cũng
như biết được thời hạn trả sách đúng hạn 3 Văn phòng khoa -
Kiểm soát tốt các quyển sách cho mượn và các quyển sách tồn kho từ
đó phân tích được xu hướng đọc sách của bạn đọc để có những quyết định nhập
tài liệu cũng như giải pháp tư vấn hợp lý. -
Cắt giảm được số lượng nhân viên không cần thiết đối với thư viện sau
khi áp dụng hệ thống thông tin quản lý. -
Tạo ra phong cách làm việc chuyên nghiệp hiện đại cho thư viện khi có
thể xử lý nhanh chóng chính xác các yêu cầu của độc giả. -
Những dữ liệu về thông tin mượn sách, thông tin độc giả, dòng tiền ra
vào thư viện, báo cáo doanh thu theo từng đơn mượn, nhóm độc giả, nhóm tài
liệu đều được cập nhật đầy đủ. Năng suất bình quân tăng trên 30% 4 Ban
tài -Sự chuyên nghiệp trong quản lý số giúp ban tài chính kiểm soát chính xác chính
dòng tiền đầu tư cũng như doanh thu mang lại của thư viện.
- Sự chuyên nghiệp trong quá trình tư vấn, chăm sóc độc giả giúp cho họ cảm
thấy chuyên nghiệp, bổ ích, giúp cho thư viện giữ chân các bạn đọc cũ. - Sự
thuận tiện trong việc chăm sóc độc giả giúp cho chất lượng chăm sóc được nâng cao. 5 Đối tác
-Giúp tăng doanh số bán hàng, có khách hàng uy tín, lâu dài, nguồn ra sách được đảm bảo lOMoAR cPSD| 61229936
2.3 Bảng phân tích các đối tượng hưởng lợi từ hệ thống
III. Phân tích chi tiết 3.1 Sơ đồ BFD
3.2 Sơ đồ luồng thông tin IFD
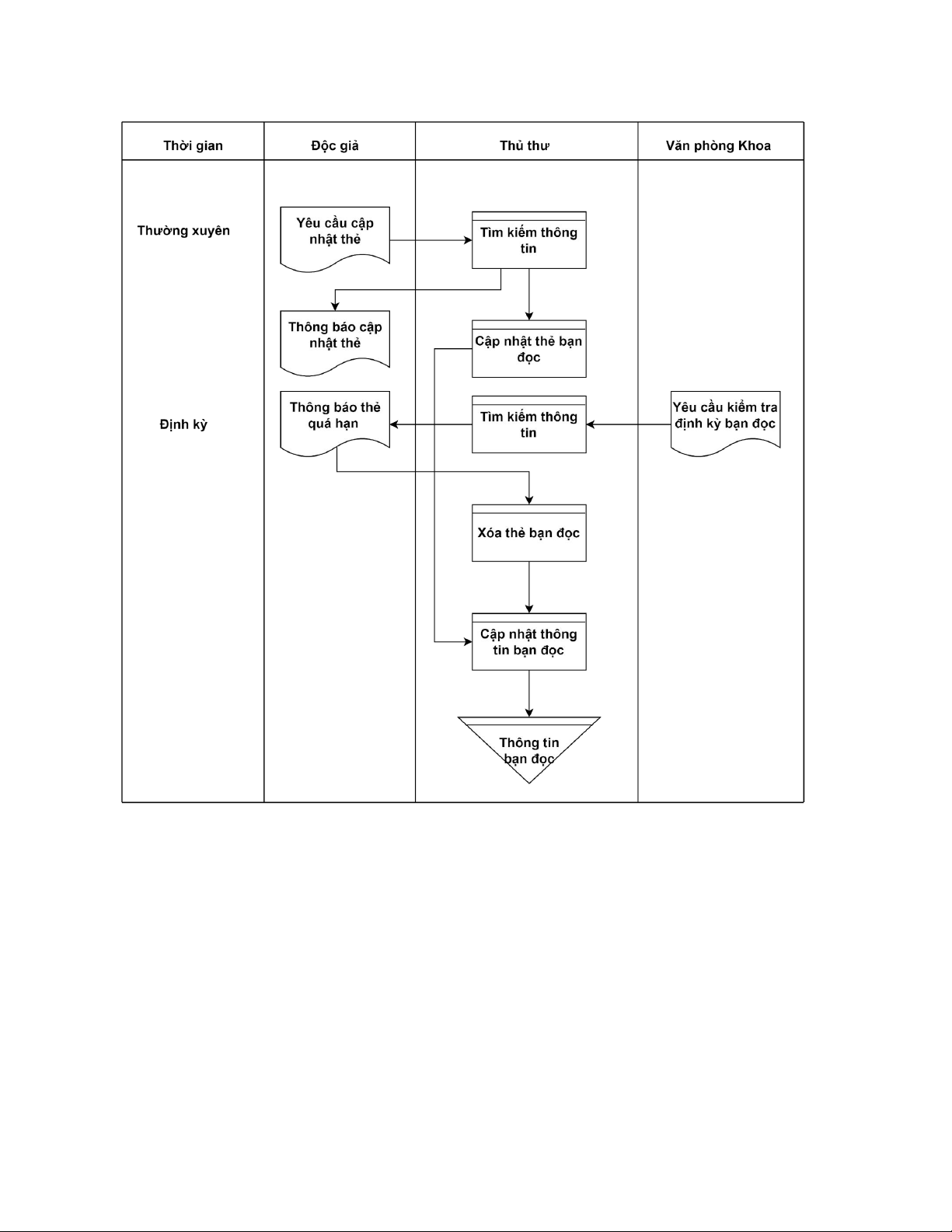
3.2.1 IFD quản lý độc giả lOMoAR cPSD| 61229936
3.2.2 IFD Quản lý mượn trả lOMoAR cPSD| 61229936
3.2.3 IFD Quản lý tài liệu