






Preview text:
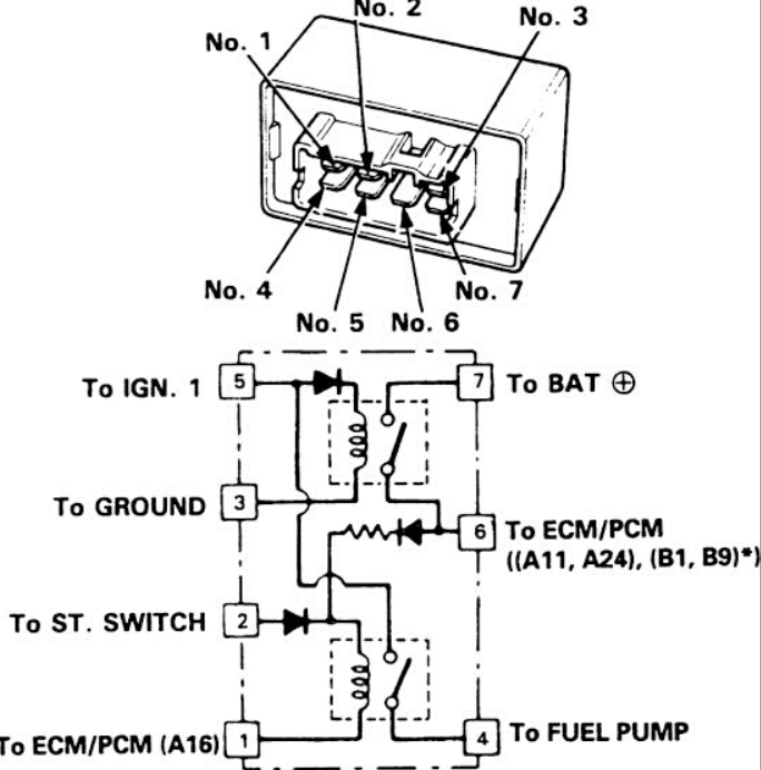
Relay 7 chân.

(Hình ảnh được lấy từ Fuel Pump Circuit Wiring Diagram)

(Hình ảnh relay 7 chân thực tế)
Nguyên lí hoạt động của relay 7 chân được sử dụng trong mạch bơm nhiên liệu:
Trạng thái khóa điện OFF:
- IGN.1 không có điện
- ST switch không hoạt động
- ECM không kích relay
→ Cả hai cuộn relay không được cấp điện
→ Tiếp điểm mở
→ Bơm nhiên liệu không hoạt động
Khi bật khóa điện ON (chưa đề máy):
- Nguồn IGN.1 cấp điện vào cuộn relay thứ nhất
- ECM/PCM cấp mass điều khiển cho cuộn relay
→ Cuộn relay hút
→ Tiếp điểm đóng
→ Nguồn BAT được cấp đến bơm nhiên liệu
Khi đề máy (START)
- ST switch cấp điện trực tiếp vào cuộn relay thứ hai
- Cuộn relay này hoạt động độc lập với ECM
→ Relay hút
→ Tiếp điểm đóng
→ Bơm nhiên liệu hoạt động liên tục trong quá trình đề
Khi động cơ đã nổ và đang chạy:
- ST switch ngắt
- ECM/PCM tiếp tục cấp tín hiệu điều khiển relay (qua chân A11, A24, B1, B9…)
→ Cuộn relay chính vẫn được duy trì
→ Tiếp điểm vẫn đóng
→ Bơm nhiên liệu tiếp tục hoạt động bình thường
Đặc điểm nổi bật của relay này:
- Có 2 cuộn relay:
- Một cuộn do ECM điều khiển
- Một cuộn do ST switch điều khiển trực tiếp
- Cho phép bơm hoạt động:
- Khi đề máy
- Khi động cơ đang chạy
- Tự động ngắt bơm khi động cơ dừng
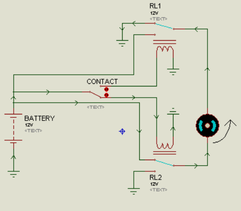
4 Mạch điều khiển động cơ
Các linh kiện được sử dụng :
- Motor DC
- 5-Pin Relay (2 chân coil, 3 chân tiếp điểm Common, NO và NC)
- Contact SW-SPDT
- Battery
- Wire
Nguyên lí hoạt động:
Khái quát về động cơ DC: Động cơ điện một chiều hoạt động dựa trên tác dụng của từ trường lên dây dẫn có dòng điện chạy qua. Khi đặt một dây dẫn mang dòng điện vào trong từ trường, dây dẫn sẽ chịu lực điện từ, làm cho phần tử mang dòng điện chuyển động.
Trong động cơ DC thông thường, các bộ phận chính gồm:
- Stator: tạo từ trường (nam châm vĩnh cửu hoặc cuộn kích từ)
- Rotor (phần ứng): gồm các cuộn dây đặt trong từ trường
- Cổ góp (commutator) và chổi than (brush ): có nhiệm vụ đổi chiều dòng điện trong cuộn dây phần ứng
Khi cấp nguồn điện một chiều vào động cơ, dòng điện chạy qua các cuộn dây phần ứng đặt trong từ trường của stator. Dưới tác dụng của lực điện từ, các cạnh dây dẫn trong cuộn dây chịu lực có phương ngược nhau, tạo thành mô men quay làm rotor quay quanh trục.
Cổ góp và chổi than liên tục đảo chiều dòng điện trong các cuộn dây phần ứng sau mỗi nửa vòng quay, nhờ đó mô men điện từ luôn giữ cùng chiều, giúp động cơ quay liên tục theo một hướng xác định.
Chiều quay của động cơ điện một chiều phụ thuộc vào chiều của lực điện từ, mà lực này phụ thuộc vào:
- Chiều của từ trường
- Chiều của dòng điện chạy trong cuộn dây phần ứng
Theo quy tắc bàn tay trái (Fleming):
- Ngón trỏ chỉ chiều từ trường
- Ngón giữa chỉ chiều dòng điện
- Ngón cái chỉ chiều lực (chiều chuyển động)
Khi đổi chiều dòng điện chạy qua phần ứng (đảo cực nguồn DC), chiều của lực điện từ tác dụng lên các dây dẫn cũng đổi chiều, dẫn đến mô men quay đổi chiều và rotor quay theo chiều ngược lại.
=> Dựa vào nguyên lí trên kết hợp với Relay 5 chân mà ta có thể tạo được mạch đổi chiều động cơ đơn giản như sau

(Mạch được thiết kế và mô phỏng trên Protues)
Khi contact up:

Khi contact down:

Khi lắp thực tế:

