



















Preview text:
  lOMoAR cPSD| 59671932    
bí mật sẽ được tiết lộ sau khi bạn click vào đây!!!    BÀI GIẢNG  
 THÍ NGHIỆM SỨC BỀN VẬT LIỆU  
Bài 1& 2: Kéo thép, và Kéo gang  
Bài 3&4: Nén thép, và nén gang  
 Bài 5: Xác định môdun đàn hồi E khi kéo, hay (nén)  
Bài 6: Xác định môdun đàn hồi trƣợt G khi xoắn thanh tròn  
Bài 7: Đo chuyển vị và góc xoay của dầm console chịu uốn ngang phẳng  
Bài 8: Đo chuyển vị dầm console khi chịu uốn xiên  
Bài 9: Tìm lực Pth khi uốn dọc         
 Phòng thí nghiệm Sức Bền Vật Liệu 
Bộ môn Sức Bền & Kết Cấu 
 Khoa Kỹ Thuật Xây Dựng 
 Đại học Bách Khoa TPHCM   
 bí mật sẽ được tiết lộ 
sau khi bạn click vào đây!!!          lOMoAR cPSD| 59671932    BÀI 1 & 2  
 THÍ NGHIỆM KÉO MẪU THÉP & GANG  
1.1 MỤC ĐÍCH THÍ NGHIỆM 
 Tìm hiểu sự liên hệ giữa lực và biến dạng khi kéo mẫu thép và mẫu gang, và xác định 
các đặc trưng cơ học của thép và gang: 
+ Đối với thép: Tìm - Giới hạn chảy ch  - Giới hạn bền B 
- Độ dãn tương đối khi kéo đứt % - Độ thắt tỷ 
đối khi kéo đứt %. 
+ Đối với gang: Tìm giới hạn bền khi kéo đứt kb,  1.2 CƠ SỞ LÝ THUYẾT 
 Trong chương kéo, nén đúng tâm ta biết đồ thị quan hệ giữa lực kéo P và biến dạng dài L  của mẫu kéo như sau:    P  P        B   C  A     P    B    D     A         L   O    L   PB     Pch     Ptl             O       lOMoAR cPSD| 59671932 Kéo thép   Kéo gang          Gang   
Đặc trưng tính bền    Thép   Không xác định 
 Giới hạn chảy : ch   Pch A k  o   B  PB  Ao 
 Giới hạn bền : B  PB Ao  L 
Đặc trưng tính dẻo đối với thép     %  L 1  0 .100%   Độ dãn tương đối :    L0    Độ thắt tỉ đối  :    A0 A1 .100%  %  A0 
 Trong đó: Ao : diện tích mặt cắt ngang ban đầu của mẫu thí nghiệm 
 A1 : diện tích mặt cắt ngang mẫu nơi bị kéo đứt 
 Lo, L1 : Chiều dài tính toán của mẫu trước và sau khi bị kéo đứt 
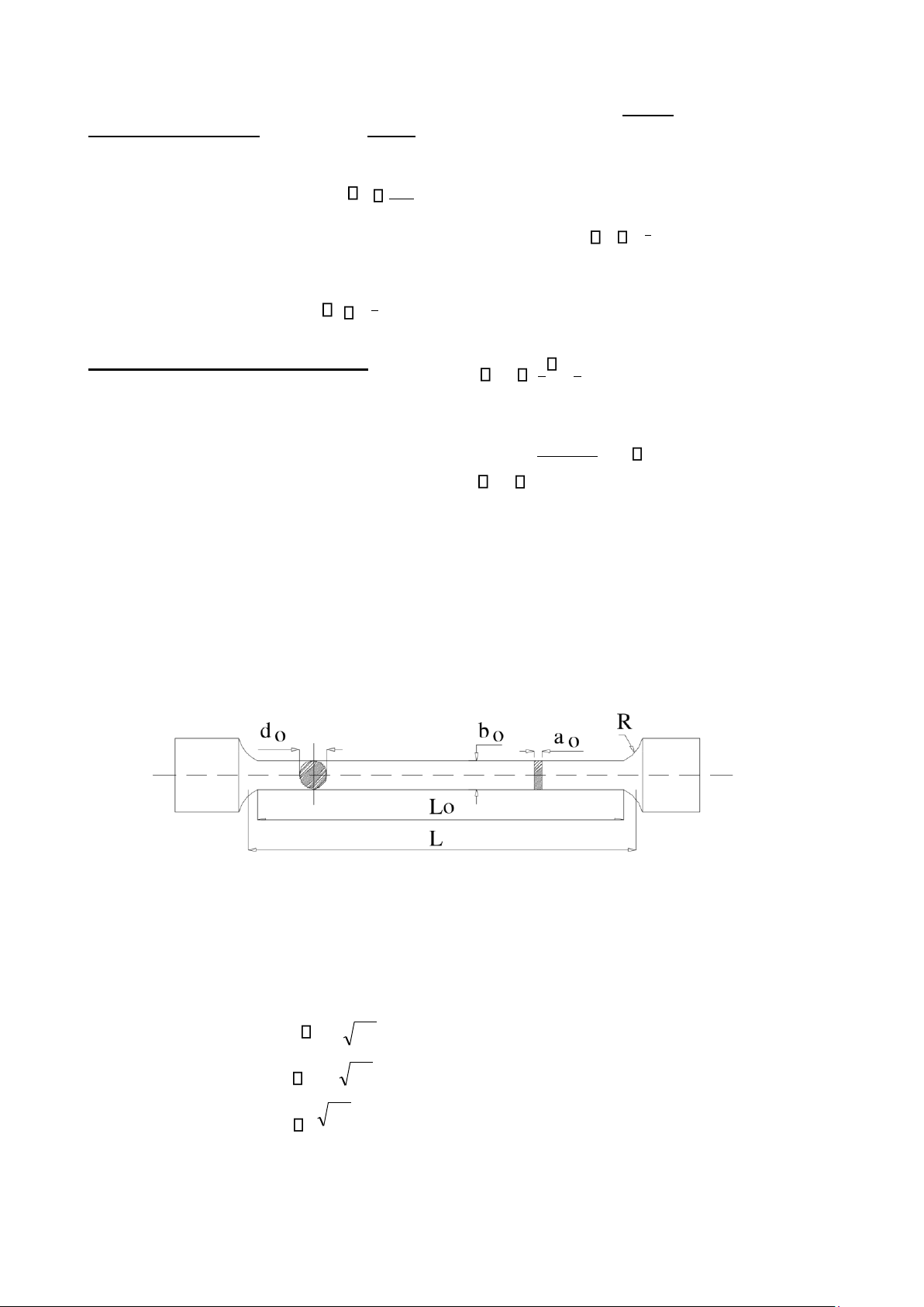
1.3 MẪU THÍ NGHIỆM 
 Theo tiêu chuẩn nhà nước TCVN 197-85 (197-2000). Mẫu có thể là tiết diện tròn (đường 
kính d0) hoặc tiết diện chữ nhật (tiết diện a0xb0 ) có dạng sau:     Trong đó: 
 Chiều dài tính toán (chiều dài khảo sát) ban đầu Lo của mẫu   
Với mẫu tròn : Lo = 10do hay 5do        
 L = (10do hay 5do) + do   
Với mẫu dẹp : Lo 11,3 Ao  (mẫu dài)         Lo  5,65 Ao  (mẫu ngắn)         Lo  4 Ao  (mẫu vật liệu dòn)         L = Lo + bo/2  
 Bán kính R và kích thước đầu ngàm (đầu to của mẫu thử tùy thuộc do và máy kéo).      lOMoAR cPSD| 59671932
1.4 DỤNG CỤ THÍ NGHIỆM 
 - Dùng thước kẹp chính xác 1/50mm, hoặc cân kỹ thuật 0,01g 
 - Dụng cụ kẻ vạch (để chia khoảng) lên mẫu - Máy kéo nén  vạn năng M.A.N. 
1.5 CHUẨN BỊ THÍ NGHIỆM 
- Đo do Lo, (mẫu tròn) hay bo, ao (mẫu chữ nhật) ban đầu. 
- Khắc vạch lên mẫu (1cm một khoảng chia) dùng để tính L1 sau khi kéo đứt -  Dự 
đoán giới hạn bền của vật liệu, (lực kéo đứt của mẫu) để từ đó định cấp tải trọng  thích hợp 
- Chọn ngàm kéo và cấp tải của máy thích hợp với đường kính của mẫu thử. 
- Đặt mẫu vào ngàm kéo, kiểm soát kim chỉ lực, bút trên ru lô vẽ biểu đồ. 
1.6 TIẾN HÀNH THÍ NGHIỆM 
 Cho máy tăng lực từ từ, theo dõi trên đồng hồ lực và biểu đồ, đọc lực chảy Pch (nơi lực 
không tăng mà biến dạng tăng), và lực bền Pb. (lực lớn nhất khi mẫu bị đứt) dựa theo biểu 
đồ quan hệ lực biến dạng. Khi mẫu đứt tắt máy, xả áp lực trong máy và lấy mẫu thử ra.             
1.7 TÍNH TOÁN KẾT QUẢ 
 A. Đối với thép:  
a. Tính Ao và giới hạn chảy ch  Pch , giới hạn bền B  PB    Ao  Ao 
b. Chấp liền mẫu bị đứt lại, vẽ lại dạng mẫu sau khi chấp liền, đo lại chiều dài sau khi đứt 
L1 của mẫu bằng thước kẹp tùy theo vị trí vết đứt cho các trường hợp sau:  
 Gọi N là số khoảng phân đều trên chiều dài Lo của mẫu trước khi kéo    N khoảng    A         x    
 Gọi A là vạch ngoài cùng gần vị trí đứt 0 nhất: A0 = x (đếm số khoảng chia)      Lo  2Lo  * Nếu   x  
 (xem như mẫu bị đứt ở khoảng giữa đoạn L0): thì L1 là khoảng  cách      lOMoAR cPSD| 59671932 3 
3 của 2 vạch biên mẫu thử với N  khoảng ban đầu. 
* Nếu x  Lo (vết đứt ở biên) lấy điểm B nằm trên vạch đối xứng của A qua vị trí vết đứt  3 
0 (tính bằng khoảng chia), gọi n là số khoảng trên đoạn AB đó.  
• Trƣờng hợp N - n  bằng số chẵn: lấy điểm C sao cho số khoảng trên đoạn từ B đến 
C là: BC = (N - n) / 2 và L1 tính như sau :  L1 = AB + 2BC.  
• Trƣờng hợp N - n bằng số lẻ: Lấy điểm C sao cho số khoảng trên đoạn từ B đến 
C là BC bằng (N - n -1)/2 và lấy điểm C' tiếp theo sao cho CC' = 1 khoảng và tính  L1 theo : 
 L1 = AB + 2BC + CC'. 
 Tính độ dãn tƣơng đối khi đứt.    %  L L 1  0 100%   L0 
c. Đo đường kính d1 tại tiết diện thắt nhỏ nhất (hay b1, a1). Tính A1 và tính độ thắt   tương đối.    %  A A 0  1 100%  A0 
d. Vẽ lại đồ thị P - L và dạng mặt cắt bị phá hỏng của mẫu thép sau khi kéo đứt.  B. Đối với gang 
a. Tính giới hạn bền theo công thức: k  B  PB   Ao 
b. Vẽ lại đồ thị P - L và dạng mặt phá hỏng của mẫu của mẫu gang sau khi kéo đứt. 
1.8 NHẬN XÉT KẾT QUẢ THÍ NGHIỆM   
- Nhận xét dạng biểu đồ P - L giữa lý thuyết và thí nghiệm. Nêu cơ tính về vật liệu 
dẻo của thép và gang (vật liệu dẻo và dòn).Giải thích dạng phá hỏng của vật liệu.                lOMoAR cPSD| 59671932                       lOMoAR cPSD| 59671932   
BÀI 3 & 4  
 THÍ NGHIỆM NÉN MẪU THÉP &GANG  
3.1 MỤC ĐÍCH THÍ NGHIỆM   
Xác định các đặc trưng cơ học của thép và gang: 
 Tìm: - Giới hạn chảy ch khi nén mẫu thép 
 - Giới hạn bền nB khi nén mẫu gang 
3.2 CƠ SỞ LÝ THUYẾT   
Đồ thị quan hệ giữa lực kéo P và biến dạng dài L của mẫu thí nghiệm nén như sau:        P  P           A  P B          P ch    A            L     O   O    L     Nén thép  Nén gang       lOMoAR cPSD| 59671932
Đặc trưng chịu lực khi chịu nén của   Thép: ch   Pch  Ao  Gang: n  B  PB h Ao 
3.3 MẪU THÍ NGHIỆM 
 Hình trụ tròn (hoặc lăng trụ)  h 
có đường kính do, chiều cao h, với : 1 d0 3   
3.4 DỤNG CỤ THÍ NGHIỆM  0  
 - Thước kẹp chính xác 1/50 mm 
3.5 CHUẨN BỊ THÍ NGHIỆM 
- Đo do và h 
- Tính Ao, dự đoán lực lớn nhất để định cấp tải trọng của máy 
- Đặt mẫu vào giữa hai bàn nén sao cho nén được đúng tâm - Điều chỉnh 
số 0 (nếu có yêu cầu), kiểm soát bộ phận vẽ biểu đồ    
3.6 TIẾN HÀNH THÍ NGHIỆM 
- Mở máy cho lực tác dụng tăng từ từ 
- Với thép theo dõi đồ thị lực và biến dạng và đọc lực Pch ở giai đoạn chảy, tiếp tục 
tăng lực đến 70 - 80% cấp tải đang sử dụng thì dừng lại. 
- Với gang tăng lực đến khi 
phá hỏng PB (lực bền) thì dừng lại 
- Xả áp lực máy, lấy mẫu ra   
3.7 KẾT QUẢ THÍ NGHIỆM 
- Tính giới hạn chảy của thép:  ch    Pch  Ao 
- Tính giới hạn bền của gang: n  B  PB  Ao 
- Vẽ lại biểu đồ quan hệ giữa lực P và biến dạng L      lOMoAR cPSD| 59671932
- Vẽ lại dạng sau cùng (sau khi thí nghiệm) của mẫu thép hay dạng phá hỏng của mẫu  gang. 
3.8 NHẬN XÉT THÍ NGHIỆM 
- Đánh giá phẩm chất của vật liệu trên cơ sở so sánh với bài thí nghiệm kéo thép. 
- Giải thích dạng mẫu thép và dạng phá hỏng mẫu gang sau khi thí nghiệm.   BÀI 5  
XÁC ĐỊNH MÔ ĐUN ĐÀN HỒI E BẰNG TEN XƠ MÉT QUANG  
5.1 MỤC ĐÍCH THÍ NGHIỆM  
 Xác định môđun đàn hồi E khi kéo (nén) của thép và kiểm nghiệm định luật Hooke. 
5.2 CƠ SỞ LÝ THUYẾT 
 Trường hợp chịu kéo (nén) đúng tâm, trong giai đoạn đầu tác dụng lực thì đa số các 
vật liệu tuân theo định luật Hooke và chúng ta có:       
E  hay P  E L E   PLo    Ao  Lo  Ao L 
Trong đó: P : lực kéo (hay nén) 
 Lo : chiều dài khảo sát ban đầu (chuẩn đo của dụng cụ)   
 L : độ dãn dài tương ứng với khoảng Lo của mẫu khi chịu lực P 
Ao : diện tích mặt cắt ngang của mẫu thử. 
Thường L nhỏ, nên dể xác định được L ta dùng dụng cụ khuyếch đại là ten xơ mét quang  . 
 * Đo biến dạng bằng ten xơ mét quang học  
 Ten xơ mét quang học là một dụng cụ khuyếch đại, dùng để đo biến dạng bé. Hệ thống 
dụng cụ này gồm: một thanh bằng kim loại tuyệt đối cứng (1) còn gọi là chuẩn đo, một đầu 
có mấu nhọn đầu kia có rãnh V. Con dao hình thoi (2) một cạnh chạm vào mẫu (3), một 
cạnh được giữ cố định vào đáy rãnh V (xem hình vẽ); trên con dao có gắn liền một trục với 
gương phẳng phản chiếu. Một cây thước thẳng có phân độ đến mm, gắn vào hệ 
thống chân ba (5) và chân ba này có mang thêm ống kính (6), ống kính có thể điều chỉnh 
để nhìn rõ ảnh của thước phản chiếu qua gương        
 Dùng ten xơ mét quang học để tìm một cách gián tiếp độ biến dạng L tương ứng với 
đoạn Lo ban đầu của mẫu thử dưới tác dụng của lực P bằng hai tenxơmét đặt hai bên của 
mẫu khi chưa tác dụng lực (hay lực ban đầu P0 ), gương ở vị trí ban đầu, nhìn qua ống kính 
ta đọc được số đọc A0 trên cây thước A,và B0 trên thước B; khi tác dụng thêm lực P vào 
mẫu thử (lúc nầy lực tác dụng là P1= P0+ P), thì đoạn mẫu thử Lo giãn ra một đoạn là  l 
làm đầu tiếp xúc của mẫu với đầu con dao hình thoi di chuyển theo; làm quay gương một      lOMoAR cPSD| 59671932
góc α và tia phản chiếu quay một góc 2α do đó ta đọc được số đọc A1 trên cây thước bên  A và B1 trên thước B…. 
Gọi khoảng cách A0A1 = A1, khoảng cách từ gương đến thước là L, đường chéo lớn 
của con dao hình thoi là a như hình vẽ, vì α là góc nhỏ nên ta có:      a   tg = L A    ; 2 tg2 =  1 Từ đây suy ra L A1  a  LB  2LB 
Ta thấy hiệu số đọc A1 và B1 trên thước A và B ứng với độ giãn LTB của mẫu thử liên 
hệ với nhau bởi độ phóng đại m. 
 m =2L /a ( thí dụ: mB tương ứng với LB…) Với a=4,5mm   
Như vậy từ một độ biến dạng bé L trên mẫu chúng ta đã dùng dụng cụ khuyếch đại để đọc 
một trị số lớn L thông qua hệ số phóng đại m. 
 Thí du: với a = 4,5mm, LB = 2250mm thì độ phóng đại là :        m 1000 lần 
Chúng ta có thể thay đổi m bằng cách thay đổi LB ; LB càng lớn ta có độ phóng đại 
càng lớn nhưng khoảng cách LB giữa thước và ống kính càng xa số đọc sẽ không rõ. 
Như vậy từ một độ biến dạng bé L trên mẫu chúng ta đã dùng dụng cụ khuyếch đại để đọc 
một trị số lớn L thông qua hệ số phóng đại m. 
 Thí du: với a = 4,5mm, LB = 2250mm thì độ phóng đại là :        m 1000 lần 
Chúng ta có thể thay đổi m bằng cách thay đổi LB ; LB càng lớn ta có độ phóng đại 
càng lớn nhưng khoảng cách LB giữa thước và ống kính càng xa số đọc sẽ không rõ.   
5.3 MẪU THÍ NGHIỆM 
 Tương tự như mẫu thí nghiệm kéo đúng tâm, mặt cắt ngang có thể hình tròn hay hình chữ 
nhật, chiều dài sao cho có thể gắn được chuẩn đo ten xơ mét (chiều dài chuẩn đo thường 
100 hay 200mm), đầu mẫu tùy thuộc ngàm kéo thế nào đảm bảo được càng đúng tâm càng  tốt.   
5.4 DỤNG CỤ THÍ NGHIỆM  - Thước kẹp  - Thước dây thép      lOMoAR cPSD| 59671932
- Bộ ten xơ mét quang: gồm 2 ten xơ mét A và B với hệ số phóng đại mA và mB    
5.5 CHUẨN BỊ THÍ NGHIỆM 
- Đo kích thước mặt cắt ngang của mẫu, tính Ao và dự đoán lực chảy mẫu để định cấp tải  trọng của máy. 
- Đặt mẫu thí nghiệm vào ngàm kéo, gắn ten xơ mét vào và điều chỉnh sao cho khi nhìn 
qua ống kính thấy rõ được các vạch chia trên thước. 
- Đo khoảng cách LA, LB từ gương đến thước của 2 ten xơ mét A và B tương ứng. 
- Lập bảng ghi kết quả 5 – 1                     Số lần   Tải trọng  
Số đọc trên thước của ten xơ mét (cm)      Lực   Số gia   A   B      P(kG,  P   Số đọc   Hiệu số đọc   Số đọc   Hiệu số đọc   N)     P0     Ao      Bo      1   P1   P=P1 -Po   A1   A1= A1 -Ao   B1   B1= B1 -Bo   2   P2   P=P B 2-P1   A2  
AB2…………………  2  
B2…………………….      …  .  .   . .   . .   . .   .  . .   .   . .     n   Pn   P=Pn-Pn-1   An   An= An –An-1   Bn   Bn= Bn –Bn-1               Ai       Bi     
5.6 TIẾN HÀNH THÍ NGHIỆM 
 Tăng lực đến P0 =100 kG (1000N) hay 200kG(2000N) ban đầu để mẫu thử được kẹp sát 
vào mẫu ngàm và hệ thống đo bắt đầu làm việc đều đặn. 
 Sau đó tăng lực theo từng cấp P bằng nhau, ứng với mỗi lần tăng lực đọc và ghi lại trị 
số đọc trên hai ten xơ mét tương ứng. 
5.7 TÍNH TOÁN KẾT QUẢ THÍ NGHIỆM 
- Tính hiệu số trung bình của hiệu các số đọc bên phải và bên trái      lOMoAR cPSD| 59671932  A A  B  tb  , Btb 
; và hệ số phóng đại: mA = 2LA /a, mB = 2LB /a n n   
- Tính độ dãn dài tuyệt đối trung bình: L tb  tb  tb  12  mAA mBB   P.Lo 
- Tính mô đun đàn hồi E     Ltb .Ao 
- Vẽ lại hai đường biểu diễn liên hệ giữa Pi và các số đọc Ai và Bi    
5.8 NHẬN XÉT THÍ NGHIỆM 
- Nhận xét về các số gia Ai = Ai - Ai-1 ; Bi = Bi - Bi-1 có phải là hằng số theo P không? 
Nếu có sai nhiều thì tìm nguyên nhân vì sao? Định luật Hooke có chính xác không? 
- Nhận xét đồ thị (P, Ai ) và (P, Bi) 
- So sánh kết quả thí nghiệm với mô đun đàn hồi lý thuyết của vật liệu (giả sử thép có E = 
200.000N/mm2), tính sai số phần trăm.            lOMoAR cPSD| 59671932                 lOMoAR cPSD| 59671932      
 Hệ thống tenxơmét quang dùng đo biến dạng 
 Thước, ống kính, gương, thanh tuyệt đối cứng (chuẩn đo)                lOMoAR cPSD| 59671932                        
              
 Chuyển vị kế dùng đo chuyển vị 0,01mm                                   lOMoAR cPSD| 59671932     BÀI 6 
 XÁC ĐỊNH MÔ ĐUN ĐÀN HỒI TRƢỢT G  
6.1 MỤC ĐÍCH THÍ NGHIỆM  
 Xác định mô đun đàn hồi trượt G của thép và kiểm nghiệm định luật Hooke. 
6.2 CƠ SỞ LÝ THUYẾT 
 Khi xoắn thuần tuý thanh mặt cắt ngang hình tròn, góc xoắn tương đối giữa hai mặt cắt 
ngang A, B cách nhau một khoảng là LAB bằng:    M z LAB  M z LAB    AB     G       G.I P  .I P AB   
Trong đó: Mz - mô men xoắn (hằng số trên chiều dài LAB) 
 Ip - mô men quán tính cực của mặt cắt ngang. Nếu chúng ta xác định được Mz, 
LAB, Ip và đo được AB thì có có thể suy ra G. 
6.3 MẪU THÍ NGHIỆM 
Dụng cụ đo modun đàn hồi trượt G  
Mẫu thí nghiệm (1) là 1 thanh có tiết diện tròn một đầu được kẹp chặt vào ngàm, đầu kia 
cho vào ổ bi (bạc đạn) (2) có thể xoay tự do được, bên ngoài có 1 đầu thừa để gắn một thanh 
ngang (3) để treo các quả cân tạo ra momen xoắn Mz. Trong khoảng giữa ngàm và ổ bi gắn 
2 thanh ngang (4) tại A và tại B, ở đầu mỗi thanh ngang đặt một chuyển vị kế (xem hình  vẽ). 
Khi đặt quả cân, thanh chịu xoắn thuần tuý, tại A,B có những góc xoắn A , B (góc 
xoắn tuyệt đối giữa A, B với ngàm) làm cho hai thanh ngang (4) xoay và đầu hai thanh ngang 
chuyển vị. Với chuyển vị kế ta đo được chuyển vị A, B và được.        A  A  tg A  ; B  tg B B   a  a      lOMoAR cPSD| 59671932    
từ đó xác định: AB = A - B      lOMoAR cPSD| 59671932                 lOMoAR cPSD| 59671932
6.4 DỤNG CỤ – THIẾT BỊ THÍ NGHIỆM   - 
Thước kẹp ; Bộ phận treo cân và các quả cân   
- Hai chuyển vị kế chính xác đến 0.01mm   
6.5 CHUẨN BỊ THÍ NGHIỆM IP  do4    
- Đo đường kính do của mẫu suy ra  32 
- Đo khoảng cách b để suy ra cấp tải trọng (quả cân) tối đa đặt vào hệ thống 
- Đo khoảng cách LAB và a 
- Gắn thanh treo cân vào hệ thống - Đặt chuyển vị kế chạm vào thanh ngang 
- Lập bảng ghi kết quả như sau:    Số lần   Tải trọng   -2 
Số đọc trên chuyển vị kế (x 10 mm)      Lực   Số gia   A   B      P(kG,  P   Số đọc   Hiệu số   Số đọc   Hiệu số   N)     P0     Ao      Bo      1   P1   P=P1 -Po   A1   A1= A1 -Ao   B1   B1= B1 -Bo   2   P2   P=P B 2-P1   A2   2  
A2…………………. 
B2……………………….  .   .   3   P3   P=P B 3-P2   A3   3  
A3………………….  
B3……………………….  .   .  .   . .   . .   . .   . .   . .   .   .  n   Pn   P=Pn-Pn-1   An   An= An –An-1   Bn   Bn= Bn –Bn-1               Ai       Bi    
6.6 TIẾN HÀNH THÍ NGHIỆM 
- Xem trọng lượng của móc treo và thanh ngang (3) là tải trọng ban đầu P0, đọc A0, B0 trên 
2 chuyển vị kế (có thể điều chỉnh các số đọc là 0) 
- Đặt 1 quả cân 1kG vào móc treo (tức P1 = P0 + P= P0 +1kG) đọc các số đọc A1, B1 tương  ứng. 
- Lần lượt đặt thêm một quả cân 1kG vào móc treo và đọc các số đọc tương ứng.         lOMoAR cPSD| 59671932
6.7 TÍNH TOÁN KẾT QUẢ THÍ NGHIỆM  - 
Mô men xoắn: Mz = P.b  - 
Tính trung bình của hiệu các số đọc trên chuyển vị kế    tb  Ai ;  Btb  Bi            A     n  n  - 
Góc xoắn tương đối trung bình giữa A, B và ngàm ứng với gia tải P 
(tương ứng là: Mz = P.b):     A,tb  Atb ; B,tb  Btb a a  - 
Góc xoắn tương đối giữa A và B là :  tb  A,tb  B,tb  M z .LAB  
- Mô đun đàn hồi G xác định như sau : G    I P . tb   
-Vẽ đường biểu diễn quan hệ P và các số đọc Ai và Bi    
6.8 NHẬN XÉT KẾT QUẢ THÍ NGHIỆM 
  Nhận xét về sự tuyến tính các số đọc trên chuyển vị kế (kiểm nghiệm định luật Hooke).   
So sánh kết quả G tìm được với G tính theo công thức:      GLT   E  hay GLT= 8100kg/mm2  2(1 ) 
- Với E, µ có được từ thí nghiệm ta có thể tính GLT. (E=200.000N/mm2,  =0,3) 
 -Tính sai số phần trăm. 
- Nhận xét về sự chính xác của phép đo, dụng cụ đo và phương pháp tính.