













Preview text:
    TRƯỜNG CƠ KHÍ   KHOA CƠ ĐIỆN TỬ  
NCM CƠ HỌC VẬT LIỆU & KẾT CẤU                       
BÀI GIẢNG THÍ NGHIỆM  
SỨC BỀN VẬT LIỆU I        
(Tài liệu lưu hành nội bộ, cấm sao chép)             HÀ NỘI - 2022          BÀI 1 
XÁC ĐỊNH ĐẶC TRƯNG CƠ HỌC CỦA VẬT LIỆU DẺO VÀ DÒN  KHI KÉO     I. 
Mục ích thí nghiệm:   
Nghiên cứu quá trình kéo một mẫu kim loại (Thép CT3) và mẫu gang xám 
ến lúc ứt và xác ịnh các ặc trưng cơ học sau: 1. Giới hạn chảy của vật liệu ( Nếu  có)  2. Giới hạn bền. 
3. Độ dãn tỷ ối khi ứt. ( Nếu có) 
4. Độ thắt tỷ ối (Nếu có) 
So sánh sự làm việc của hai loại vật liệu dẻo và dòn. 
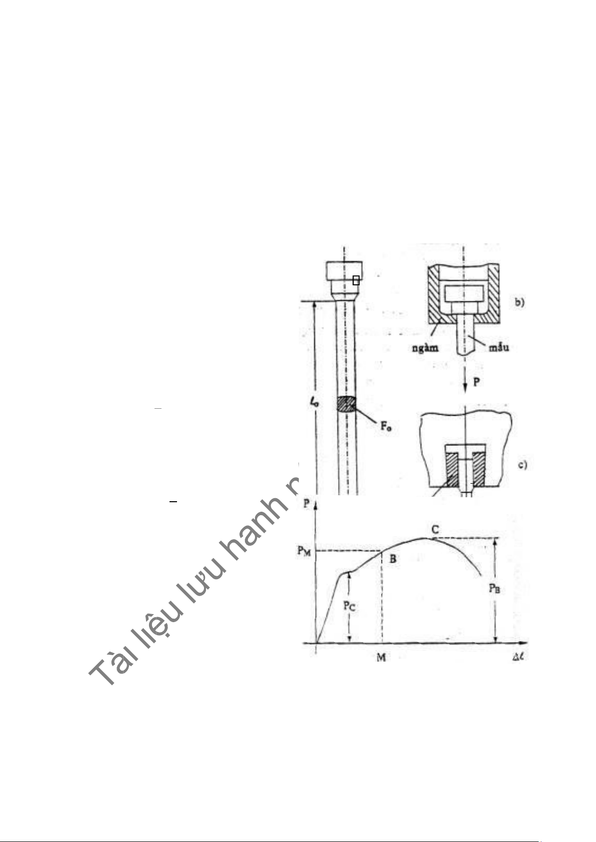
Bố trí thí nghiệm: 
Để dễ so sánh tính chất cơ học của các loại vật liệu, người ta quy ịnh hình 
dạng của các mẫu thí nghiệm có tiết diện tròn như sau: Nếu ường kính là d thì 
chiều dài mẫu thí nghiệm L0 = 10d (hay L0 = 5d). 
Để o ộ dãn của mẫu khi ứt, người ta chia chiều dài thí nghiệm làm 10 
khoảng bằng nhau (xem hình 1.1a). 
Thí nghiệm kéo ược thực hiện trên máy kéo nén vạn năng, trên máy này có 
ồng hồ chỉ lực kéo và bộ phận tự ộng vẽ biểu ồ. 
Muốn kéo mẫu, ta phải ặt mẫu vào ngàm của máy, cấu tạo của ngàm có thể 
như trên hình 1.1b hay 1.1c. 
Trong thí nghiệm này chúng ta sẽ thí nghiệm kéo với vật liệu dẻo với một 
mẫu vật liệu dòn có tiết diện và hình dáng như nhau. Do ó, ta dễ dàng so sánh tính 
bền và tính dẻo của hai loại vật liệu dẻo và dòn khi chịu kéo. 
II. Tiến hành thí nghiệm:      
A) Trình tự thí nghiệm kéo mẫu như sau: 
*Đối với vật liệu dẻo( Thép CT3)   1. 
Đo kích thước tiết diện o tại ba tiết diện, ở mỗi tiết diện ta o theo hai 
chiều vuông góc với nhau. Đo chiều dài thí nghiệm l0.  2. 
Đặt mẫu vào ngàm của máy kéo, iều chỉnh cho mẫu nằm vào giữa 
ngàm, kiểm tra bộ phận vẽ biểu ồ, ặt giấy vẽ biểu ồ. Điều chỉnh kim chỉ lực về số:  “0”.  3. 
Cho máy chạy với tốc ộ chậm, lúc ầu do ngàm của máy chưa ngàm 
chặt mẫu nên biên ộ là ường cong. Khi ngàm chặt rồi thì ường biểu diễn là ường 
thẳng. Kéo dài phần ường thẳng cho gặp trục l giao iểm O là gốc của biểu ồ 
(hình 1.2). Nếu tiếp tục cho lực tăng thì tỷ lệ giữa lực và ộ dãn bị mất i khi lực ạt 
ến trị số tương ứng với giới hạn chảy. 
Đối với thép non, biên ộ 
thường là ường gấp khúc như hình 
1.3. Khi ó kim chủ ộng trên ồng hồ  chỉ lực sẽ dao ộng.  Điểm A trên hình 1.3 là 
iểm tương ứng với giới hạn  Hình 1.1 
chảy trên, iểm B tương ứng với giới hạn chảy dưới, muốn ọc ược chỉ số ứng với 
giới hạn chảy dưới, ta ọc kim chủ 
ộng, khi kim này ở vị trí lực nhỏ 
nhất trong lúc dao ộng. Ta còn có thể 
o lực ứng với giới hạn chảy trên, ta 
ọc kim bị ộng khi kim này ở vị trí 
lực lớn nhất trong lúc dao ộng.   
Ta còn có thể o lực ứng    Hình 1.2 
với giới hạn chảy bằng thước o tỷ lệ của máy bằng cách o tung 
ộ của iểm B trên biểu ồ. 
Sau khi quá giới hạn chảy, lực tiếp tục tăng ến iểm C (trên biểu ồ kéo) thì 
lực giảm dần và mẫu ứt. Lực tương ứng với C cho ta xác ịnh giới hạn bền. Muốn 
ọc chỉ số này ta ọc vị trí của kim bị ộng trên ồng hồ chỉ lực hay o bằng thước tỷ  lệ của máy.     
Sau khi có trị số lực tương ứng với giới hạn chảy và bền ta tính ược giới 
hạn chảy và bền theo công thức sau.  P   Giới hạn chảy: = c C    F0  P   Giới hạn bền: = B B    F0 
Trong ó: F0 - diện tích ban ầu của  mẫu. 
Trong quá trình tăng lực ta có 
thể quan sát ược hiện tượng biến 
cứng nguội khi mẫu ã chịu  Hình 1.3  kéo như sau: 
Tăng lực lên quá giới hạn chảy. Ví dụ, tăng lực ến một trị số PM nào ó (hình 
1.3) ột nhiên ta giảm lực i, như vậy bút vẽ biểu ồ sẽ chạy về từ từ theo ường thẳng 
MN. Như vậy trên mẫu sẽ còn lại một ộ dãn dài còn dư ON. 
Nếu bây giơ chúng ta lại cho tăng lực từ từ lên, bút sẽ lại từ từ theo ường 
MN chạy lên và nếu tiếp tục tăng lực nữa, bút sẽ vạch nốt oạn biểu ồ ang bỏ dở. 
Ta nhận thấy rằng với một mẫu ã chịu kéo qua giới hạn chảy nếu chịu kéo lại mẫu 
không còn giai oạn chảy nữa. Hiện tượng ó gọi là hiện tượng biến cứng nguội. 
Bây giờ ta xác ịnh các ặc trưng tính dẻo của vật liệu. Muốn xác ịnh ộ dãn 
tỷ ối mẫu, ta phải o ược chiều dài sau khi kéo ứt l1. Ghép hai phần của mẫu khi 
cắt với nhau và o khoảng cách giữa hai vạch ngoài cùng ã ược khắc trên mẫu trước 
khi thí nghiệm. Nhưng vì mẫu có thể ứt ở giữa hoặc ở các vị trí khác, ể có thể so 
sánh ộ dãi tỉ ối giữa các mẫu với nhau, nếu người ta quy ịnh lấy chỗ ứt nằm giữa 
mẫu. Do ó khi mẫu ứt không úng giữa thì ta phải tính như sau ể chuyển chỗ ứt về 
úng giữa. Giả thử chỗ ứt ở gần ầu phải, ta ếm về phía ầu phải bắt ầu từ chỗ ứt các 
khoảng 1,2,3 (hình 1.4). Về phía ầu trái ta cũng lấy ba khoảng: 4,5,6 vì mẫu có 10 
khoảng, nên nếu coi chỗ ứt ở giữa thi ta tưởng tượng phải có hai khoảng phía sau 
khoảng 1,2,3 có ộ dãn dài tương tự như khoảng 1’ và 2’ (ở phía sau khoảng 4, 5,     
6). Nếu ta gọi chiều dài của các khoảng 1, 2, 3, 4, 5, 6 là m và chiều dài của hai 
khoảng 1’ và 2’ là n thì chiều dài sau khi ứt:            l 1  Hình 1.4   = m + 2n    − 
 Độ dãn tỉ ối tính theo công thức:  1  0  =  1 00(%)  Hình 1.5  0   
 Muốn tính ộ thắt tỷ ối, ta o ường kín 
h ở chỗ ứt d 1 (hình 1.5).  F −F    Độ thắt tỷ ối   tính theo công th ứ c:  0  1 =  1 00(%) trong ó F 1 là  0 F 
d iện tích ở cổ thắt (chỗ ứt ) 
* Đối với vật liệu  dòn (gang xám) : 
 T a chỉ quan sát ược hiện tượng phá huỷ mẫu khi ạt ến lực P  b, lúc này 
trên khoảng làm việc của mẫu sẽ xuất hiện vết ứt gãy với biến dạng rất 
nhỏ( mắt thường không quan sát ược) 
Công thức tính Giới hạn bền:  B P  =  B    0 F   
B) Ghi báo cáo và quan sát thí nghiệm: 
Trong lúc thí nghiệm phải chú ý theo dõi ồng hồ o lực và biểu ồ kéo, ta sẽ 
thấy rõ sự làm việc của mẫu trong từng giai oạn. 
Chú ý: Trong lúc thí nghiệm phải ể tốc ộ tăng lực chậm vì tính chất cơ học của vật 
liệu thay ổi theo tốc ộ tăng lực và tải trọng là tải trọng tĩnh. 
III. Câu hỏi chuẩn bị cho thí nghiệm   1) 
Trong thí nghiệm kéo thép phải tìm những ặc trưng cơ học gì và 
phương pháp xác ịnh những ặc trưng ó?      2) 
Xác ịnh chiều dài làm việc của mẫu trước và sau khi thí nghiệm như 
thế nào? Tại sao phải làm như vậy?  3) 
Thế nào là biến dạng àn hồi và biến dạng dẻo? 
4) Vật liệu nào chịu lực kéo tốt hơn và vì sao?       
BÀI 2 THÍ NGHIỆM NÉN VẬT LIỆU DẺO 
I. Mục ích thí nghiệm:  
Nghiên cứu tính chất cơ học của vật liệu dẻo chịu nén. 
II. Tiến hành thí nghiệm:  
Để ạt ược mục ích trên ta thí nghiệm với một mẫu thép. 
Mẫu thí nghiệm có hình trụ tròn, chiều cao h và ường kính theo tỷ lệ    sau: l 
h 2 (chiều cao không quá lớn, ể tránh hiện tượng mẫu bị cong do d  uốn). 
Thí nghiệm thực hiện trên máy nén hay máy vạn năng. 
Thí nghiệm thực hiện theo trình tự sau:  1) 
Đo kích thước của mẫu thí nghiệm: ường kính, chiều cao.  2) 
Đặt mẫu thí nghiệm lên mặt nén của máy; và iều chỉnh cho  úng tâm của mặt nén.  3) 
Cho lực tăng từ từ, giai oạn ầu, biểu ồ nén là oạn thẳng, chứng 
tỏ tải trọng và biến dạng có liên hệ ường thẳng. 
Sau ó biến dạng tăng nhanh, trong khi lực tăng rất chậm, biểu diễn sự chảy  của vật liệu.              Trước thí nghiệm  Sau thí nghiệm    Hình 2.1  Hình 2.2 
Nếu tiếp tục tăng lực thì ường kính của mẫu to dần và chiều cao ngắn lại. 
Mẫu có hình dạng cái trống (do có lực ma sát giữa mặt nén và mặt mẫu thí nghiệm, 
nên mặt cắt ngang của mẫu ở mặt tiếp giáp không phình ra ược). Sau ó, vì diện 
tích chịu nén tăng lên, nên ộ dốc của biểu ồ lớn dần (hình 2.1). Mẫu thí nghiệm 
có dạng như hình 2.2, mẫu không bị phá hỏng tuy có biến dạng khá lớn. Qua thí 
nghiệm này ta thấy ược tính chất iển hình của vật liệu dẻo khi chịu nén.     
Thí nghiệm xong quan sát dạng của mẫu thí nghiệm và vẽ vào báo cáo thí  nghiệm. 
III. Câu hỏi chuẩn bị cho thí nghiệm:  
1) Trong thí nghiệm nén thép phải tìm những ặc trưng cơ học gì?  Phương pháp xác ịnh? 
2) Tại sao mẫu thép sau khi nén có hình dạng hình trống? 
3) Tại sao người ta không xác ịnh giới hạn bền của thép khi nén? 
4) So sánh giới hạn chảy khi nén với giới hạn chảy khi kéo (bài 1) và 
nêu nhân xét về 2 kết quả 
Kết quả thí nghiệm ghi theo mẫu sau:     
BÀI 3 THÍ NGHIỆM NÉN VẬT LIỆU DÒN 
I. Mục ích thí nghiệm:  
Nghiên cứu tính chất cơ học của vật liệu dẻo và dòn khi chịu nén. 
II. Tiến hành thí nghiệm:  
Để ạt ược mục ích trên ta thí nghiệm với một mẫu gang. 
Mẫu thí nghiệm có hình trụ tròn, chiều cao h và ường kính theo tỷ lệ sau:l 
 h 2 (chiều cao không quá lớn, ể tránh hiện tượng mẫu bị cong do d uốn). 
Thí nghiệm thực hiện trên máy nén hay máy vạn năng. 
Trình tự thí nghiệm mẫu gang cũng giốn như ối với mẫu vật liệu dẻo. Biểu 
ồ nén có dạng như hình 3.1. Ban ầu biểu ồ là ường thẳng, chứng tỏ giữa biến dạng 
và tải trọng có liên hệ tỷ lệ. Sau ó, biểu ồ cong dần và ột ngột ngắt do mẫu thí 
nghiệm bị phá huỷ. Lực nén giảm i nhanh chóng do mẫu ã mất khả năng chịu lực.        Hình 3.1  Hình 3.2 
Mẫu nén thường vỡ theo ường chéo, góc nghiêng của ường nứt với 
ường sinh của mẫu thường là 45 -50 0 , khi ó biến dạng còn dư của mẫu rất nhỏ  ( Hình 3.2). 
Trong thí nghiệm này, ta ghi trị số của lực phá hỏng và vẽ dạng phá 
hỏng của mẫu gang và báo cáo thí nghiệm.   
III.  Câu hỏi chuẩn bị cho thí nghiệm   
1) Trong thí nghiệm nén gang, phải tìm những ặc trưng cơ học gì?    Phương pháp xác ịnh? 
2) Biểu ồ nén thép và gang khác nhau thế nào?   
3) So sánh tính chất chịu kéo và nén của gang?                  Bài 4      
XÁC ĐỊNH MÔĐUN ĐÀN HỒI CỦA VẬT LIỆU    
I. Mục ích thí nghiệm :  
1) Kiểm nghiệm ịnh luật Húc, nếu vật liệu tuân theo ịnh luật Húc thì biến dạng 
phải tỷ lệ với lực ( kéo hay nén)  2) Xác  ịnh  mô  un  àn  hồi  của  thép 
3) Biết phương pháp xác ịnh mô un àn hồi.  Hình 4.1 
 Mẫu thí nghiệm là một thanh có tiết diện chữ nhật ( xem hình 3.1) có ặt hai 
ten-sơ-met ( dụng cụ o biến dạng) ở hai bên của mẫu và dọc theo trục thanh. Vì 
lực P có thể không ặt úng vào trục của mẫu thí nghiệm, nên cần ặt hai tensơ-met 
như trên ể o ộ dãn trung bình trên trục mẫu. 
- Dụng cụ o biến dạng là ten-sơ-met Ai-stôp ( bài ten-sơ-met Ai-stôp) 
- Chuẩn o của ten-sơ-met l =100mm, ộ dãn o ược là ộ dãn trên chiều dài của  chuẩn o l.     
1) Dụng cụ o biến dạng trong thí nghiệm o E có thể là ten-sơ-met, òn, hay ten- sơ-mét iện ... 
2) Ghi số hiệu của dụng cụ o, chuẩn o và hệ số khuếch ại của dụng cụ o. 
3) Cho lực tăng ến 200Kg. Đọc số o ầu tiên trên hai dụng cụ. 
4) Cho lực tăng tiếp tục ến các giá trị : 400, 600, 800 kg. 
Để bảo ảm ứng suất kéo của mẫu không quá giới hạn tỷ lệ, ta chỉ tăng lực ến  1200Kg. 
5) Cho lực trở vế 200Kg, kiểm tra số gia của số ó xem có ều không. Nếu số gia 
khác nhau xa, phải làm lại thí nghiệm. 
Chú ý : * Khi tăng lực phải chậm và ều. 
 * Phải chú ý ọc dụng cụ o cho chính xác.  III. 
Kết quả thí nghiệm  
 Sau khi làm xong thí nghiệm, tính số gia sau mỗi lần tăng lực, từ các số gia 
ó, tính số gia trung bình Atb 
 Biến dạng trung bình sẽ là : = ltbAtb K 
 K giá trị của vạch chia trên bảng chia cột, K = 1.10-3. 
 Nếu diện tích của mấu là E, chuẩn o của ten-sơ-met là l =100mm, lực trong 
mỗi lần tăng P, mô un àn hỗi sẽ là :   =  E Pl     (4.3)  l Ftb  IV. 
Câu hỏi chuẩn bị thí nghiệm  
1) Ảnh hưởng của mô un àn hồi với biến dạng như thế nào ? 
2) Nếu vật liêu tuân theo ịnh luật Húc thì kết quả thí nghiệm sẽ như thế nào? 
Sự liên hệ giữa tải trọng và số ọc của dụng cụ như thế nào. 
3) Trình tự tiến hành thí nghiệm và cách tính mô un àn hồi theo kết quả thí  nghiệm?                                            
BÀI 5 XOẮN PHÁ HỎNG MẪU VẬT LIỆU DẺO VÀ DÒN 
I. Mục ích thí nghiệm.    
Nghiên cứu quá trình phá hỏng của vật liệu dẻo và dòn, xác ịnh tính chất 
cơ học của vật liệu khi xoắn. 
 Để thực hiện mục ích ó, ta thí nghiệm với một mẫu thép và một mẫu gang có 
cùng mặt cắt ngang với kích thước như nhau. 
 Xác ịnh giới hạn chảy và bền của mẫu thép, giới hạn bền của mẫu gang. So sánh 
tính dẻo của hai loại vật liệu dựa vào góc xoắn tỷ ối. II. Trình tự thí nghiệm  
Thí nghiệm tiến hành trên máy thí nghiệm xoắn K-50. Trước khi thí nghiệm, trên 
bề mặt của mỗi mẫu ta dùng phấn kẻ ường dọc theo trục của mẫu.  a) Với mẫu Thép:  - 
Đo ường kính và chiều dài của mẫu rồi kẹp mẫu vào ngàm của máy, kiểm 
tra các bộ phận của máy, kiểm tra xem bộ phận o góc xoắn ã chuyển về “0” 
chưa? Kiểm tra bộ phận vễ ồ thị...  - 
Sau ó ta bắt ầu tăng lực, giai oạn ầu ta dùng tay tăng lực ể thấy dõ hiện 
tượng. Ban ầu trên biều ồ cho ta là ường thẳng, lúc này mẫu ang biến dạng trong 
giới hạn àn hồi, tiếp tục tăng lực, tới giới hạn chảy sẽ thấy ồ thị bắt ầu dạng 
ường cong, ộ dốc của ường cong phụ thuộc vào ộ biến dạng dẻo của vật liệu, 
biến dạng dẻo các lớn thì ường cong có ộ dốc càng nhỏ... sau khi quan sát hiện 
tượng trên ta bật môtơ iện ến khi mẫu bị phá hủy. Tắt môtơ iện và ghi lại góc  xoắn phá hỏng.          Hình 5.1        - 
Tại iểm bị ứt, không bị thắt như kéo mẫu thép mà ứt nhẹ nhàng, mặt cắt 
vuông góc với trục, biểu ồ bị dừng lại và không có oạn cong xuống như bị kéo. 
Các ường kẻ bằng phấn ban ầu trở thành các ường xoắn ốc. Mẫu thép bị phá hủy  do ứng suất tiếp. 
Để tìm giới hạn chảy và bền ta ghi lại trị số mômen lưc ở giai oạn chảy và phá 
hỏng. Đối với vật liệu có tính dẻo cao, giai oạn chảy thường là ường gẫy khúc, 
nên ở giai oạn chảy kim chỉ thị sẽ dao ộng, ta chú ý quan sát và ọc trị số mômen 
nhỏ nhất trong lúc kim ồng hồ dao ộng, ó chính là trị số mômen ứng với giai oạn 
chảy. Mômen xoắn phá hỏng là trị số ứng với kim ồng hồ bị ộng sau khi mẫu ứt. 
• Giới hạn chảy của thép sẽ ược tính theo công thức sau:    0 = Mch  (5.1)  Wp 
 Mch là mô men xoắn ứng với giới hạn chảy  d3   Wp = 
, trong ó d là ường kính của mẫu.  16 
Tại thời iểm mẫu bị phá hỏng, mẫu biến dạng trong giai oạn chảy dẻo. Do vậy 
ứng suất tiếp ược tính gần úng như sau:    B =3MB  (5.2)    4Wp 
MB là mô men xoắn ứng với giới hạn bền 
• Góc xoắn tỷ ối tính theo công thức:      =  (5.3)  l 
 , l: là góc xoắn khi ứt và chiều dài mẫu.   
b) Với mẫu gang: làm thí nghiệm tương tự như trên 
Làm tương tự như trên, ô thị của mẫu gang khi kéo là ường cong trên 
hình 5.3, sự phá hỏng mẫu gang xảy ra ột ngột và có tiếng kêu, mẫu bị 
ứt theo ường góc. Mẫu gang bị phá hủy do ứng suất pháp.     
Đường phấn chỉ hơi cong chứng tỏ mẫu gang biến dạng dẻo rất nhỏ. 
Trong thí nghiệm xoắn mẫu gang ta chỉ cần quan tâm tới trị số mômen 
gây phá hỏng MB. Trị số này ọc kim ồng hồ bị ộng khi mẫu ã ứt.  = M
• Giới hạn bền của gang tính theo công thức:  B B   Trong ó MB là  Wp 
mô men xoắn ứng với giới hạn bền của vật liệu dòn.   
• Góc xo ắn tỷ ối tính theo công thức : = l 
III. Câu hỏi chuẩn bị cho thí nghiệm:   
1. Vật liệu dẻo và dòn bị phá huỷ bởi ứng suất nào? 
2. Khả năng chịu xoắn của 2 loại vật liệu nêu trên có khác nhau gì?   
3. Vật liệu dòn có biến dạng khi xoắn hay không?