



Preview text:
BÀI TẬP CHƯƠNG 3
TRẠNG THÁI ỨNG SUẤT VÀ THUYẾT BỀN
3.5. Tìm ứng suất chính và phương chính của các phân tố chịu lực như trên hình 3.5
bằng hai phương pháp giải tích và đồ thị. Vẽ ra các mặt chính ở mỗi phân tố (đơn vị là kN/cm 2 ) Hình bài 3.5
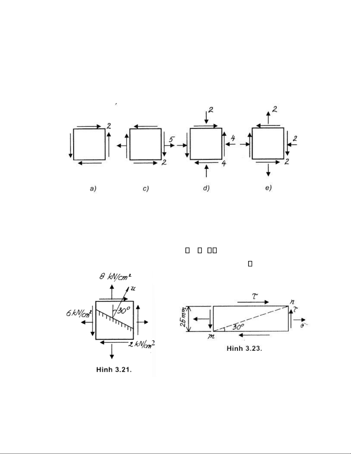
3.7. Cho một phân tố ở trạng thái ứng suất phẳng có các ứng suất tác dụng như trên hình 3.21.
Hãy xác định các thành phần biến dạng x, y,
u (phương u tạo với trục thẳng
đứng một góc 300). Cho E = 2.104 kN/cm2, hệ số poát - xông = 0,34.
3.9. Trên một phân tố lấy từ vật thể chịu lực có tác dụng ứng suất 30 kN/cm2
15 kN/cm2. Xác định biến dạng dài tuyệt đối của đường chéo mn.
Cho E = 2.104 kN/cm2, G = 8.103 kN/cm2 = 0,28 (Hình 3.23).
3.17. Một khối hình trụ tròn A bằng đồng được nhét khít vào một lỗ khoét của một vật
cứng tuyệt đối B và chịu lực nén P = 50 kN. Xác định áp lực nén vào vách lỗ khoét,
các biến dạng h và V của khối đồng (hình vẽ bài 3.31).
Cho d = 4 cm, h =10 cm, = 0,31; E = 1,1.104 kN/cm2.
3.18. Xác định biến dạng a, b, c của các cạnh a, b, c và biến dạng thể tích của một
phân tố hình hộp chịu lực ép P2, P3 như trên hình 3.32. Cho P2 = 60 kN, P3 = 120 kN,
a = c = 2 cm, b = 4 cm; E = 2.104 kN/cm2 = 0,3.
Xác định giá trị lực P1 cần thiết đặt vào hai mặt còn lại của phân tố để biến dạng thể
tích V = 0. Xác định max trong trường hợp này.
3.20. Tính ứng suất tính (ứng suất tương Phân tố 1 2 3
đương) của các phân tố có ứng suất chính 1 160 60 20
ghi ở bảng bên theo các lý thuyết bền thứ
ba, thứ tư và lý thuyết bền Mo 2 40 30 - 50 (đơn vị MN/m2); = 0,3; 3 55 - 60 - 90 ok 1,4. 4 -10 - 75 - 80 5 40 0 - 150 6 160 0 - 70 on
3.21. Tính ứng suất tương đương của các
phân tố theo các lý thuyết bền thứ ba, thứ
tư dựa theo số liệu ở bảng bên (các phân
tố ở trạng thái ứng suất phẳng) (đơn vị MN/m2).
3.23. Một khối thép hình lập phương đặt khít trong rãnh của một khối thép lớn (coi như
tuyệt đối cứng) (Xem hình 3.35). Khối thép chịu áp lực p = 120 MN/m2.
Kiểm tra độ bền của khối thép theo lý thuyết bền ứng suất tiếp cực đại và lý thuyết
thế năng biến đổi hình dáng, biết [ ] = 140 MN/m2. Bỏ qua lực ma sát tiếp xúc giữa hai khối; thép= 0,3.