


















Preview text:
lOMoARcPSD| 36086670
Khai thác hệ thống phun xăng iện tử L-Jectronic lOMoAR cPSD| 36086670
Khai thác hệ thống phun xăng iện tử L-Jectronic LỜI MỞ ĐẦU
Ngày nay khoa học kĩ thuật phát triển mạnh mẽ và ược ứng dụng sâu rộng
trong mọi ngành nghề, mọi lĩnh vực trong ó có ngành xe ôtô nói chung. Các hệ thống
trên xe ược cải tiến, bổ xung một cách nhanh chóng theo hướng ngày càng hoàn thiện
từ tính năng, công dụng cho ến kích thước nhỏ gọn. Kỹ thuật iện tử và tự ộng hoá là
yếu tố chủ yếu tạo nên sự tiến bộ ấy. Nó làm thay ổi hẳn nội dung truyền thống của ô
tô, không chỉ ơn thuần là những cụm kết cấu cơ khí mà là những modul iện tử tinh
xảo và phương thức giao tiếp cũng “người” hơn. Tuy nhiên, song hành với iều này là
việc tìm hiểu, ứng dụng, khai thác chúng cũng phức tạp, khó khăn hơn. Trong bài tiểu
luận này, tôi xin trình bày vấn ề “Khai thác hệ thống phun xăng iện tử LJetronic”.
Đây là hệ thống ược sử dụng nhiều trên các xe ôtô hiện ại ngày nay.
Nội dung tiểu luận này là sự tích luỹ kinh nghiệm bản thân, kiến thức môn
Cơ sở iều khiển Điện - Điện tử trên xe và sự giúp ỡ tận tình của thầy giáo, TS. Đào
Hoa Việt. Mặc dù ã cố gắng trình bày nhưng do hạn chế về thời gian và kinh nghiệm
nên bài viết không thể tránh khỏi thiếu sót.
Kính mong thầy giáo và các bạn cho ý kiến óng góp.
HỆ THỐNG PHUN XĂNG ĐIỆN TỬ L- JETRONIC lOMoARcPSD| 36086670
Khai thác hệ thống phun xăng iện tử L-Jectronic
TIỂU LUẬN: CƠ SỞ ĐIỀU KHIỂN ĐIỆN -ĐIỆN TỬ TRÊN XE 1 lOMoAR cPSD| 36086670
Khai thác hệ thống phun xăng iện tử L-Jectronic
L-Jetronic là hệ thống phun xăng a iểm, iều khiển bằng iện tử. Lượng xăng
phun vào ược iều khiển theo lượng không khí nạp vào trong xi lanh ộng cơ nhờ bộ xử
lí và iều khiển trung tâm ECU.
Sơ ồ hệ thống như sau: 2. Bơm xăng iện 5. Vòi phun 1. Thùng xăng 3. Lọc xăng 4. ECU 6. Bộ iều áp lOMoARcPSD| 36086670
Khai thác hệ thống phun xăng iện tử L-Jectronic 7. Ống hút
10. Cảm biến dòng khí nạp 14. Đen cô
8. Vòi phun khởi 11. Cảm biến Lam a ộng lạnh 15. Cơ cấu cung cấp khí phụ trội
12. Công tắc nhiệt-thời gian
9. Cảm biến vị trí 13. Cảm biến nhiệt ộ ộng cơ 16. ắc qui bướm ga 17. Khoá khởi ộng
Hệ thhống L-Jetronic gồm 3 khối chức năng cơ bản:
- Hệ thống cung cấp nhiên liệu:
Cung cấp xăng ến các vòi phun với áp suất cần thiết ể phun xăngvad duy trì
áp suất ổn ịnh trong hệ thống
- Hệ thống ghi nhận về chế ộ hoạt ộng của ộng cơ:
Có nhiệm vụ ghi nhận các chế ộ làm việc khác nhau của ộng cơ như:
lượng không khí nạp vào ộng cơ, ộ mở bướm ga, nhiệt ộ nước làm mát,… - Hệ thống
ịnh lượng nhiên liệu:
Bộ xử lí và iều khiển trung tâm ECU tiếp nhận và xử lí thông tin từ hệ thống
thứ 2 ể ưa ra tín hiệu iều khiển mở van phun xăng.
I. HỆ THỐNG CUNG CẤP NHIÊN LIỆU lOMoARcPSD| 36086670
Khai thác hệ thống phun xăng iện tử L-Jectronic
Sơ ồ hệ thống cung cấp nhiên liệu. 1. Thùng chứa 2. Bơm xăng iện 3. Bộ lọc
4. Dàn ống xăng 5. Bộ iều áp xăng 6. Vòi phun
1. Bơm xăng
Là loại bơm iện kiểu bi gạt, kích từ bằng nam châm vĩnh cửu.
Kết cấu bơm xăng iện 1. Lỗ hút
2. Đĩa rô to chứa bi gạt
3. Bi gạt 4. Tấm dẫn hướng 5. Lỗ thoát
Mặt cắt ngang thân bơm
1. Lỗ hút 2. Van giới hạn áp suất 3. Bi gạt 4. Rô to 5. Van chặn 6. Lỗ thoát lOMoARcPSD| 36086670
Khai thác hệ thống phun xăng iện tử L-Jectronic
Trong bơm có van giới hạn áp suất 2 và van chặn 6. Khi áp suất trong dàn
ống cao quá mức qui ịnh, van 2 mởcho xăng quay ngược về thùng chứa. Van 6 luôn
giữ một lượng xăng nhất ịnh trong dàn ống phun ể tránh không khí lọt vào trong ống
phun cũng như ảm bảo vòi phun hoạt ộng ngay khi mới khởi ộng.
2. Lọc xăng
Có nhiệm vụ lọc sạch các tạp chất trong xăng.
Lọc xăng thường dùng loại lọc giấy và ược thay ịnh kì
3. Bộ iều áp nhiên liệu
Ta biết rằng: lượng xăng phun vào ộng cơ phụ thuộc vào thời gian mở vòi phun và áp suất phun.
Bộ iều áp có tác dụng ổn ịnh áp suất nhiên liệu trong giàn ống phun, nhờ vậy
iều khiển lượng xăng phun ra ược ơn giản hơn, chỉ phụ thuộc vào thời gian mở vòi phun do ECU quyết ịnh.
Cấu tạo bộ iều áp xăng.
1. Đầu nối với ống hút 2. Lò xo 3. Chụp giữ van 4. Màng 5. Van 6. Cửa xăng vào 7. Cửa xăng hồi về lOMoARcPSD| 36086670
Khai thác hệ thống phun xăng iện tử L-Jectronic
Khi áp suất nhiên liệu vượt quá mức quy ịnh, màng 4 bị ẩy lên mở van 5 cho
xăng hồi về thùng. Do ngăn lò xo thông với họng hút phiá sau bướm ga nên tạo
ược sự liên hệ thường trực giữa áp suất nhiên liệu với ộ chân không sau bướm ga.
Nhờ ó ộ sụt áp tại vòi phun là như nhau với bất kỳ vị trí nào của bướm ga.
4. Vòi phun
Vòi phun xăng thường dùng loại iện từ. ECU iều khiển thời gian mở vòi
phun ể phun vào cửa nạp, (ngay trước xupáp hút), một lượng xăng chính xác theo
chế ộ hoạt ộng của ộng cơ.
Khi vòi phun chưa hoạt ộng, không có dòng iện.
chạy qua cuộn dây 3, lò xo ấn van kim 7 óng kín vào bệ van.
Khi ECU gửi tín hiệu iện ến cuộn dây, làm từ hoá cuộn dây, do ó lõi từ 5 bị
hút lên, van kim mở ra, xăng ược phun ra ngoài.
Kết cấu của vòi phun xăng loại iện từ: lOMoARcPSD| 36086670
Khai thác hệ thống phun xăng iện tử L-Jectronic
1. Lọc xăng tại cửa vào. 2. Đầu giắc cắm iện. 3. Cuộn dây. 4. Vỏ. 5. Lõi từ. 6. Thân van kim. 7. Van kim.
II. Hệ thống cảm biến, ghi nhận thông tin
Trong hệ thống phun xăng iện tử L-Jetronic, hệ thống các cảm biến có nhiệm
vụ nhận biết tình hình và chế ộ hoạt ộng cụ thể của ộng cơ, chuyển chúng thành các
tín hiệu iện và truyền lên ECU ộng cơ.
Thông số chính cần thiết cho việc iều khiển phun xăng là lượng không khí
nạp và tốc ộ trục khuỷu ược ghi nhận bởi cảm biến dòng khí nạp và cảm biến tốc ộ trục khuỷu. lOMoARcPSD| 36086670
Khai thác hệ thống phun xăng iện tử L-Jectronic
1. Cảm biến lắp trong ống hút
Sơ ồ cảm biến lắp trong ống hút. 1. Bướm ga. 4. ECU.
2. Bộ cảm biến dòng khí nạp.
5. Tín hiệu cảm biến lưu lượng dòng
3. Tín hiệu cảm biến nhiệt ộ khí nạp. khí nạp. 6. Bầu lọc gió. Q : Dòng không khí nạp. L
Dòng khí nạp thổi xuyên qua bộ cảm biến, tác dụng lực lên mâm o 4 và i vào
họng hút ộng cơ. Lực này làm mâm o xoay góc α quanh trục mâm o. Như vậy, góc
quay α tỉ lệ với tiết diện lưu thông tự do của dòng khí nạp hay chính là tỉ lệ với lượng
không khí nạp vào xi lanh. Thông số góc quay ược chuyển thành tín hiệu iện áp nhờ lOMoARcPSD| 36086670
Khai thác hệ thống phun xăng iện tử L-Jectronic
mạch iện lắp ráp bên trong cảm biến. Thực chất ây là một cảm biến chiết áp dạng xoay.
Hình dạng ngoài của cảm biến dòng khí nạp 1. Cánh bù trừ 2. Buồng giảm chấn 3. Mạch không khí tắt 4. Cánh o dòng khí nạp 5. Vít chỉnh không tải
Hình dạng ngoài cảm biến dòng khí nạp.
Trong cảm biến còn có cánh 1 có tác dụng làm giảm sự dao ộng của thiết bị
o do sóng áp suất bị triệt tiêu khi tác dụng lên hai bề mặt ối diện của cánh 1 vad cánh
4. Buồng thể tích 2 công dụng như một giảm chấn không khí, làm ổn ịnh góc o α.
2. Cảm biến tốc ộ trục khuỷu
Cảm biến tốc ộ trục khuỷu thực chất là một bộ ếm xung, nó ếm các xung iện
áp của cơ cấu ánh lửa. Đó là tín hiệu ánh lửa (trong cơ cấu ánh luae iện tử) hay tác
ộng óng mở tiếp iểm (trong enco ánh lửa thường). Những thông tin này ược cấp
cho ECU, ECU tính toán ể ưa ra tốc ộ trục khuỷu. lOMoARcPSD| 36086670
Khai thác hệ thống phun xăng iện tử L-Jectronic
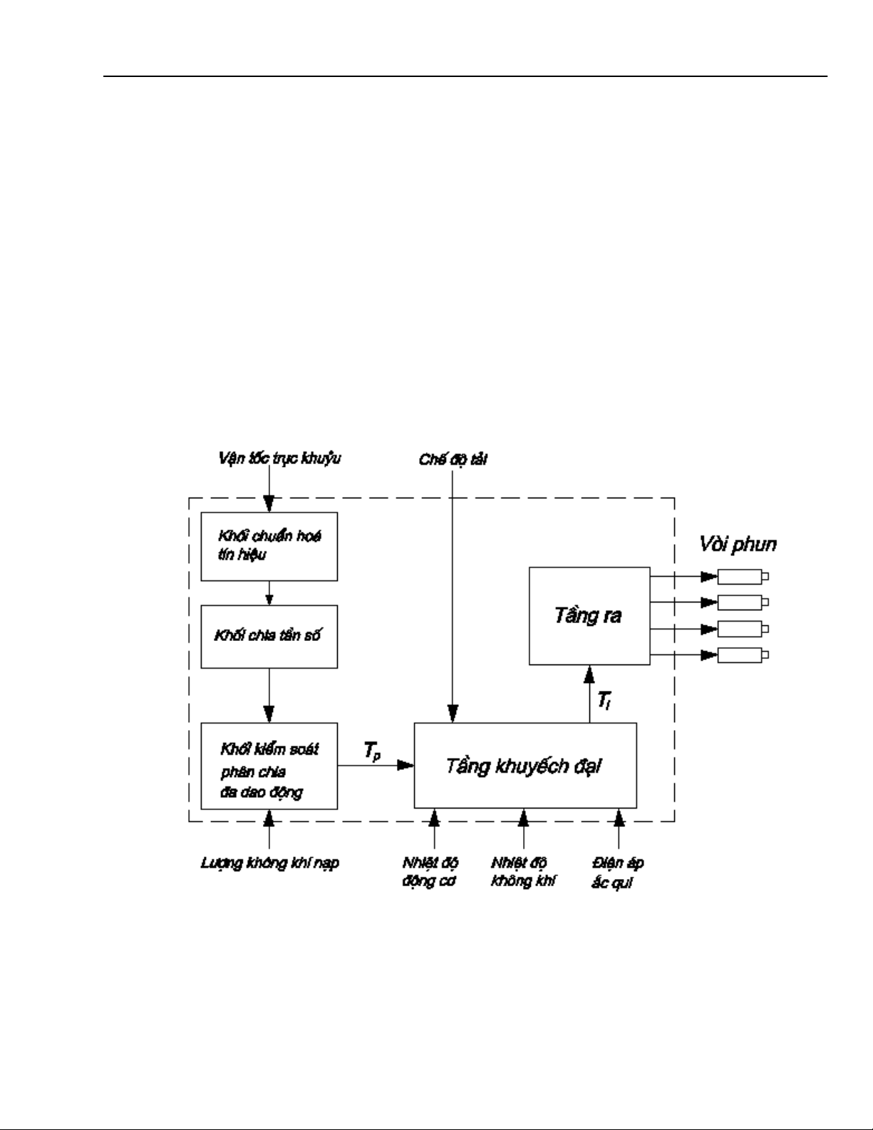
III. Định lượng nhiên liệu
Lượng không khí nạp và tốc ộ trục khuỷu là hai thông số chính ể iều khiển
thời gian mở vòi phun cơ bản T , ó là lượng xăng cung cấp cho thì hút khi không tính p
ến các giá trị hiệu chỉnh. Sơ ồ khối khối xử lí thông tin ECU:
Trước hết, khối chuẩn hoá tín hiệu chuyển tín hiệu vận tốc trục khuỷu ộng cơ
thành các xung vuông. Cứ trong một chu kì thì lượng tín hiệu này ược chia ra làm
hai tín hiệu nhờ khối chia tần số. Như vậy, mỗi vòng quay của trục khuỷu, mỗi vòi lOMoARcPSD| 36086670
Khai thác hệ thống phun xăng iện tử L-Jectronic
phun sẽ phun một lần, không kể xupáp ó óng hay mở. Độ dài thời gian mở cơ bản Tp
phụ thuộc hai yếu tố: lượng không khí nạp, tốc ộ trục khuỷu và ược xác ịnh bởi khối
kiểm soát phân chia a dao ộng.
Tầng khuyếch ại có nhiệm vụthích ứng hoá thời gian phun cơ bản với những
chế ộ tải khác nhau của ộng cơ ể cung cấp hỗn hợp nhiên liệu giàu hay nghèo tới ộng
cơ úng theo yêu cầu tải trọng.
Khi ó tầng khuyếch ại sẽ thu nhận các thông tin về chế ộ tải từ các cảm biến:
cảm biến vị trí bướm ga, cảm biến nhiệt ộ ộng cơ,… ể tính toán nên trị số hiệu chỉnh
K ể tạo nên thời gian phun bổ xung: Tm=K .Tp
Ngoài ra, ECU còn kiểm soát iện áp ắc qui của hệ thống vì thời gian cần thiết
ể mở van kim phụ thuộc nhiều vào iện áp bình ắc qui. Nếu iện áp yếu, thời gian ể từ
hoá cuộn dây vòi phun tăng => thờigian phun xăng bị rút ngắn => hỗn hợp bị thiếu xăng (hoà khí nghèo).
Để khắc phục iều này, trong ECU có bộ phận hiệu chỉnh iện áp. Khi cần thiết,
bộ phận này sẽ kéo dài xung iện mở vòi phun thêm một lượng Tu.
Như vậy, tổng thời gian phun thực tế là: Ti = Tp+ Tm + Tu
Tín hiệu Ti tiếp tục ược khuyếch ại tại tầng ra và tín hiệu ra này ược dùng ể iều khiển vòi phun.
Sau ây ta xét hoạt ộng cơ bản iều khiển phun xăng trong một số chế ộ hoạt
ộng chủ yếu của ộng cơ.
1. Chế ộ khởi ộng lạnh
Khi thởi tiết lạnh, nhiên liệu khó bay hơi, sự hoà trộn xăng-không khí kém
do ó ộng cơ khó khởi ộng. Vì vậy trong trường hợp này, cần phải bổ xung thên một
lượng xăng nữa ể ộng cơ khở ộng dễ dàng. Trong hệ thống L-Jetronic, xăng ược phun
thêm nhờ vòi phun khởi ộng lạnh. Lượng xăng phun vào nhiều hay ít ược iều khiển
bởi công tắc nhiệt-thời gian. lOMoARcPSD| 36086670
Khai thác hệ thống phun xăng iện tử L-Jectronic
a. Vòi phun khởi ộng lạnh
Thông thường là vòi phun loại iện từ, có kết cấu và nguyên tắc hoạt ộng gần
giống với vòi phun chính.
Vòi phun khởi ộng lạnh. 1. Đầu nối dây iện.
2. Cửa nạp xăng có lưới lọc. 3. Lỡi từ. 4. Cuộn dây. 5. Miệng phun. 6. Bệ van.
b. Công tắc nhiệt-thời gian
Tấm lưỡng kim 3 ược nung nóng bởi cuộn dây 4. Khi ộng cơ ã nóng, tấm 3
cong lại làm mở tiếp iểm 5, ngắt dòng iện vào cuộn dây vòi phun khởi ộng lạnh => vòi ngừng phun.
Nếu tiếp tục khởi ộng thì vòi phun không hoạt ộng, tránh ược hiện tượng lOMoARcPSD| 36086670
Khai thác hệ thống phun xăng iện tử L-Jectronic “ngộp xăng”.
Sơ ồ cấu tạo công tắc nhiệt-thời gian 1. Đầu nối dây iện. 2. Vỏ. 3. Tấm lưỡng kim. 4. Cuộn dây. 5. Tiếp iểm.
2. Chế ộ tăng tốc
Khi tăng tốc, bướm ga mở lớn ột ngột, không khí vào nhiều hơn, hỗn hợp sẽ
loãng. Vì vậy, phải phun thêm nhiên liệu ể tăng tốc ộng cơ tức thì.
Khi này ECU nhận tín hiệu tăng tốc từ bộ cảm biến lưu lượng dòng khí nạp.
Khi góc quay α mở lớn ột ngột, ECU tính toán và chỉ huy phun thên nhiên liệu ể hệ
số dư lượng không khí ≈ 0,9.
3. Chế ộ toàn tải
Ở chế ộ toàn tải, ộng cơ phát huy công suất tối a vì vậy cần phải cung cấp
thêm xăng ể có hỗn hợp khí giàu (hệ số dư lượng không khí ≈1,1).
Việc iều khiển này thực hiện nhờ ECU và thông tin cấp cho ECU từ công tắc vị trí bướm ga. lOMoARcPSD| 36086670
Khai thác hệ thống phun xăng iện tử L-Jectronic
Kết cấu Công tắc vị trí bướm ga. 1. Tiếp iểm toàn tải.
2. Đĩa vòng cung nhiều nấc. 3. Trục bướm ga. 4. Tiếp iểm không tải. 5. Đầu nối dây iện.
Công tắc vị trí bướm ga ược mắc trên trục bướm ga. Khi bướm ga quay, dẫn
ộng ĩa cam 2 quay. Cam 2 có biên dạng vòng cung nhiều nấc, khi xoay nó sẽ óng tiếp
iểm toàn tải (ứng với vị trí bướm ga mở > 90% ộ mở bướm ga ) hay óng tiếp iểm
không tải (ứng với khi bướm ga óng kín).
Khi óng mạch, tín hiệu iện áp sẽ ược gửi ến bộ ECU ể thông báo về 2 chế ộ
hoạt ộng này của ộng cơ.
4. Chế ộ không tải
Thông tin về chế ộ này ược phát hiện nhờ công tắc vị trí bướm ga như ã nói ở trên.
Bên trong hệ thống có mạch cung cấp không khí phụ nối ngay trước và sau
bướm ga. Mạch này ược iều khiển óng mở nhờ một công tắc nhiệt.
Số lượng không khí cung cấp thêm vẫn ược cảm biến dòng khí nạp o lường
và gửi tín hiệu tới ECU. Bộ ECU tính toán phun thên xăng là tăng số vòng quay không tải của ộng cơ. lOMoARcPSD| 36086670
Khai thác hệ thống phun xăng iện tử L-Jectronic
5. Mach hiệu chỉnh khép kín Lam a
Để giảm mức ộ ộc hại trong khí xả, hệ thống L-Jetronic có thêm mạch phản
hồi âm cứng với phần tử phản hồi là cảm biến Lam a ể tự ộng iều chỉnh thành phần
hoà khí sao cho thành phần ộc hại trong khí xả là ít nhất.
Mạch hiệu chỉnh Lam a hoạt ộng theo cách thường trực o lượng ô xi dư trong
kí xả và so sánh với một mức chuẩn, từ ó iều chỉnh lượng xăng phun ra hợp lí nhờ bộ iều khiển ECU.
Sơ ồ khối mạch phản hồi Lam a. lOMoARcPSD| 36086670 ệ th iện tử Khai thác h ống phun xăng L-Jectronic 1. Tín hiệu chuẩn.
2. Bộ iều chỉnh dư không khí. 3,4. Tầng cuối. 5,6. Bộ giữ chậm. 7. Cảm biến Lam a
Khối giữ chậm 5,6 có tác dụng tạo khoảng nghỉ. Khối 5 tượng trưng cho thời
gian tính từ thời iểm chuẩn bị xong hỗn hợp cháy ến thời iểm o hệ số dư lượng khí
xả. Khối 6 tượng trưng cho quá trình hỗn hợp khí iền ầy hệ thống nạp.
Ngoài ra, hệ thống còn các chế ộ iều khiển hỗn hợp khí theo mật ộ không khí, chế
ộ xe xuống dốc, chế ộ giới hạn vận tốc trục khuỷu,… Ậ T Ử E lOMoAR cPSD| 36086670
Khai thác hệ thống phun xăng iện tử L-Jectronic 17
HỆ THỐNG PHUN XĂNG HFM TRÊN XE MERCEDES BENZ
Sơ ồ cấu tạo:
1. Bầu than hoạt tính. 2. Van thông với khí trời 3. Van hồi xăng 4. Bình tích áp. 5. Van phun. 6. Van iều khiển EGR. 7. Bô bin
8. Cảm biến vị trí trục cam 9. Bồm neùn khờ.
10. Van phun khờ. 11. Bầu lọc gió 12. ECU
13. Cảm biến vị trí bướm ga
14. Điều khiển bướm ga
15.Cảm biến nhiệt ộ khí nạp 16. Van EGR 17. Lọc xăng
18. Cảm biến kích nổ 19. Cảm biến tóc ộ vòng quay trục khuỷu 20. Cảm biến
nhiệt ộ nước làm mát 21. Cảm biến oxy 22. Cảm biến 23. Cảm biến áp suất.
24. Cảm biến chênh lệch áp suất 25. Bơm nhiên liệu KẾT LUẬN
Vấn ề sử dụng, khai thác những kết cấu mới, ặc biệt công tác kiểm tra xử lí
hỏng hóc hệ thống phun xăng iện tử là iều tương ối khó ối với công nhân sửa chữa ô
tô cũng như các cán bộ khoa học kĩ thuật ngành xe. Để làm ược tốt thì việc ược trang lOMoAR cPSD| 36086670
Khai thác hệ thống phun xăng iện tử L-Jectronic
bị các kiến thức cơ bản là yêu cầu không thể thiếu. Vì lí do ó cũng như trình ộ, kinh
nghiệm của bản thân còn hạn chế nên nội dung của tiểu luận chỉ tập trung vào tìm
hiểu các kết cấu và nguyên tắc hoạt ộng cơ bản của hệ thống phun xăng L-Jetronic.
Những iều này cũng là kiến thức tham khảo khi khai thác các hệ thống phun xăng iện tử khác.
TÀI LIỆU THAM KHẢO
1. Ứng dụng kỹ thuật tự ộng trên xe - TS Đào Hoa Việt, Th.S Đặng Sỹ Vạc.
NXB Quân ội nhân dân. lOMoAR cPSD| 36086670
Khai thác hệ thống phun xăng iện tử L-Jectronic
2. Phun xăng iện tử EFI - Nguyễn Oanh. NXB Tổng hợp Đồng Nai. TIỂ Ậ ĐIỀ ĐIỆ 19
Downloaded by Dung Tran (tiendungtr12802@gmail.com)
MỤC LỤC TRANG
LỜI MỞ ĐẦU ................................................................................................................ 2
HỆ THỐNG PHUN XĂNG L- JETRONIC .................................................................. 3
I. Hệ thống cung cấp nhiên liệu: .................................................................................... 4
1. Bơm xăng: .................................................................................................................. 4
3. Bộ iều áp nhiên liệu:................................................................................................. 5 4.
Vòi phun: .................................................................................................................... 6 II. Hệ thống cảm biến, ghi nhận thông tin:
................................................................... 7
1. Cảm biến lắp trong ống hút ........................................................................................ 8
2. Cảm biến tốc ộ trục khuỷu: .................................................................................... 10
III. Định lượng nhiên liệu: .......................................................................................... 10
1. Chế ộ khởi ộng lạnh: ............................................................................................ 11
a. Vòi phun khởi ộng lạnh: ......................................................................................... 12
b. Công tắc nhiệt-thời gian: .......................................................................................... 12
2. Chế ộ tăng tốc: ........................................................................................................ 13
3. Chế ộ toàn tải: ........................................................................................................ 13
4. Chế ộ không tải: ..................................................................................................... 14
5. Mach hiệu chỉnh khép kín Lam a: ........................................................................... 14
HỆ THỐNG PHUN XĂNG HFM TRÊN XE MERCEDES BENZ ................................................... 15
KẾT LUẬN .................................................................................................................. 16
TÀI LIỆU THAM KHẢO ............................................................................................ 17