















Preview text:
  lOMoAR cPSD| 59671932
 ĐẠI HỌC BÁCH KHOA HÀ NỘI 
TRƯỜNG ĐIỆN-ĐIỆN TỬ 
VIỆN ĐIỆN TỬ-VIỄN THÔNG  -----□□ □□-----   
BÁO CÁO BỘ MÔN THỰC TẬP CƠ BẢN 
BÀI TẬP: THIẾT KẾ LẮP RÁP MẠCH ĐẾM  THUẬN 
Sinh viên thực hiện: Phạm Thị Hà MSSV:20213895 
 Phạm Duy Khánh MSSV:20210473  
 Mã lớp học: 726374 
GVHD: Thầy Tào Văn Cường            HÀ NỘI 17/11/2022      lOMoAR cPSD| 59671932 MỤC LỤC  I. 
Mục đích thực hành...........................................................................................2  II. 
Trang thiết bị cần thiết.......................................................................................2  III.  Lý thuyết 
1. Tìm hiểu về các linh kiện.............................................................................3 
1.1:IC74LS00...............................................................................................3 
1.2:IC74LS90...............................................................................................4 
1.3:IC74LS47...............................................................................................8 
1.4:LED 7 thanh...........................................................................................9 
2. Sơ đồ khối và sơ đồ nguyên lý 
 2.1: Sơ đồ khối.......................................................................................9 
 2.2: sơ đồ nguyên lý...............................................................................9 
3. Tín hiệu số.................................................................................................10 
4. Cổng logic..................................................................................................11 
 VI. Kết luận.................................................................................................................13        lOMoAR cPSD| 59671932
Danh sách hình ảnh và bảng được sử dụng  Hình 
1.1:IC74LS00.................................................................................................3 
Hình 1.2:IC74LS90.................................................................................................3 
Hình 1.2.1: Sơ đồ nối chân......................................................................................5 
Hình 1.3: Sơ đồ nối chân của IC74LS47.................................................................6 
Hình 1.4: LED 7 thanh.............................................................................................7 
Hình 2.1: Sơ đồ thiết kế khối chức năng cho mạch đồng hồ điện tử số...................8 
Hình 2.2: Sơ đồ nguyên lý toàn mạch......................................................................9 
Hình 2.2.1:Sơ đồ mạch hướng dẫn của giáo viên.....................................................9 
Hinh 2.2.2: Mạch đếm thuận sau khi lắp đặt............................................................9 
Hình 4.1: Cổng NAND IC 74LS00..........................................................................12 
Bảng 1.1:Bảng hoạt động, các chân vào ra và sơ đồ bên trong IC74LS90...............4 
Bảng 1.3:Bảng mô tả hoạt động của IC74LS47........................................................7       
Thiết kế lắp ráp mạch đếm thuận    I. 
MỤC ĐÍCH THỰC HÀNH 
 Lắp ráp mạch đếm thuận hiển thị trên LED 7 thanh. 
 Vận dụng thành thạo các vi mạch số: IC 7447 để giải mã LED 7 thanh anôt 
chung (Common Anode); IC 7490 để tạo bộ đếm. IC 7400 để tạo xung clock 
1Hz (không yêu cầu độ chính xác cao). 
 Sử dụng thành thạo đồng hồ đo. Ổn định kỹ năng lắp ráp, đo, nhận dạng linh  kiện rời rạc. 
 Rèn luyện kĩ năng làm việc nhóm, tỉ mỉ trong công việc và lắp ráp, tập cách  viết báo cáo.    II. 
TRANG THIẾT BỊ CẦN THIẾT 
 Breadboard, nguồn DC, dụng cụ lắp ráp. 
 Một số linh kiện cần thiết: 
Bảng 2.1 Danh sách các linh kiện cần thiết   IC   Tụ điện   Điện trở   LED  2 IC 7490  1 tụ hóa 100µF  2 điện trở 10Ω  1 đèn LED nhỏ  2 IC 7447   
2 điện trở 4.7k Ω  2 LED 7 đoạn  1 IC 7400          III. LÝ THUYẾT 
1. Tìm hiểu về các linh kiện  1.1 IC 74LS00  - Số lượng 1 cái 
- Có tác dụng tạo xung nhịp làm nhiệm vụ kích cho bộ đếm. 
- Ứng dụng của IC 74LS00  • 
Nó có thể được sử dụng trong logic mục đích chung.  • 
Hầu hết các thiết bị điện tử kỹ thuật số sử dụng 74LS00 do chi phí thấp của nó.  • 
PCS và một số Máy tính xách tay cũng đi kèm với cổng NAND IC.  • 
Các máy chủ có sử dụng rộng rãi của 74LS00.  • 
IC 74LS00 cũng có nhiều tập quán trong ALU và các hệ thống kỹ thuật số khác.  • 
Trong các hệ thống mạng, LS7400 cũng được sử dụng cho các trạng thái logic. 
*Sơ đồ chân của IC 7400 được thể hiện ở hình dưới đây:          Hình1.1:IC74LS00    1.2 IC 74LS90 
- Số lượng: 2 cái Hình 1.2:IC74LS90       
- IC 74LS90 thuộc họ TTL có công dụng đếm mã nhị phân chia 10 mã hóa BCD. Cứ mỗi 
xung vào thì IC 74LS90 đếm tiến lên 1 và được mã hóa ra 4 chân. Khi đếm đến 10 nó 
sẽ reset và trở về ban đầu. IC 74LS90 này có ứng dụng rộng trong các mạch số ứng 
dụng đếm 10 và trong các mạch chia tần. 
- Sơ đồ chân của IC 7490 được thể hiện ở hình dưới đây:           
 Bảng 1.1:Bảng hoạt động, các chân vào ra và sơ đồ bên trong IC 74LS90.. 
- Bộ đếm 74LS90 là IC số họ TTL. Đây là bộ đếm không đồng bộ gồm bộ đếm cơ số 2 
và bộ đếm cơ số 5 bên trong. Bộ đếm cơ số 2 có đầu vào xung nhịp là CP0 (chân số 14) 
và đầu ra là QA (chân số 12). Bộ đếm cơ số 5 có đầu vào xung nhịp là 
CP1 (chân số 1) và đầu ra là QB, QC, QD (tương ứng các chân số 9, 8 và 11). Với     
2 đầu vào xung clock CP0, CP1 (tích cực sườn âm của xung nhịp) cùng với các chân 
điều khiển trực tiếp xoá (MR) và thiết lập (MS) (tích cực mức cao) thì IC 7490 trở 
thành bộ đếm đa năng giúp ta dễ dàng thiết kế dạng đếm 10. Nghiên cứu sơ đồ bên 
trong của IC 7490 sẽ giúp hiểu rõ hơn hoạt động của IC 7490 . Qua đó ta biết lợi 
dụng các 2 chân clock và các chân xoá của IC để thực hiện các bộ đếm.Dùng IC 
74LS90 tạo bộ đếm hàng đơn vị và hàng chục 
Dùng 2 IC 74LS90 tạo bộ đếm 99, trong đó 1 IC để tạo bộ đếm 10 cho hàng đơn vị, IC 
để tạo bộ đếm cho hàng chục. 
- Bằng cách nối đầu ra của bộ đếm cơ số 2 với đầu vào bộ đếm cơ số 5, tức là nối chân 
số 1 với chân số 12, ta sẽ có một bộ đếm cơ số 10. Xung nhịp sẽ đưa vào chân số 14 
(CP0) và đầu ra là bộ đếm 10 mã BCD là QA, QB, QC và QD. Tất nhiên để IC đếm 
được thì ta sẽ để các chân MR và MS ở mức thấp (nối xuống GND).   
Hình 1.2.1:Sơ đồ nối chân IC  1.3 IC 74LS47 
- Dùng để thiết kế khối giải mã hiển thị LED 7 thanh. 
- IC 74LS47 là vi mạch chuyên dụng để giải mã LED 7 thanh. Đầu vào đã được thiếtkế 
với mã BCD, đầu ra đưa tín hiệu điều khiển LED 7 thanh loại chung Anốt (Common 
Anode. Tổng cộng ta phải dùng 2 IC 74LS47.         
 Hình 1.3: Sơ đồ chân của IC 74LS47 
 IC 74LS47 giải mã LED 7 thanh hiển thị các chữ số thập phân. 
Sơ đồ chân và hình ảnh IC 74LS47 tạo được:             
Bảng 1.3:Bảng mô tả hoạt động của 74LS47  1.4 LED 7 thanh  -  Số lượng: 2 Cái  - 
Có tác dụng hiển thị số cho mạch đếm    Hình 1.4: LED 7 thanh    - 
Khối hiển thị gồm 2 LED 7 thanh dùng là loại chung Anốt, với nguồn nuôi 
5V và điều khiển bằng 74LS47 
 LED 7 thanh loại Anốt chung     
2. Sơ đồ khối và sơ đồ nguyên lý  2.1 Sơ đồ khối   
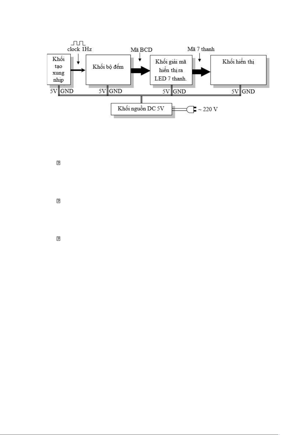
 Hình 2.1: Sơ đồ thiết kế khối chức năng cho mạch đồng hồ điện tử số. 
Mô tả chức năng từng khối 
 Khối nguồn DC 5 V : Các vi mạch số họ TTL (74LSxxx) thường dùng nguồn 
nuôi 1 chiều 5V, vì vậy ta cần có khối tạo nguồn nuôi DC 5V đưa đến tất cả 
các khối mạch còn lại. 
 Khối tạo xung nhịp với chức năng tạo ra xung nhịp chuẩn tần số 1 Hz (chu kỳ 
1 giây) để tác động vào khối bộ đếm. Như vậy, mỗi nhịp xung sẽ tác động làm 
bộ đếm tăng lên 1 đơn vị tương ứng với 1 giây. 
 Khối bộ đếm với chức năng đếm theo sự tác động của xung nhịp 1 Hz cho ra  số đếm mã BCD.      lOMoAR cPSD| 59671932
 Khối giải mã hiển thị LED 7 thanh với chức năng nhận các số đếm mã BCD từ 
khối bộ đếm chuyển sang để giải mã thành các tín hiệu điều khiển khối LED 7  thanh 
 Khối hiển thị gồm 2 LED 7 thanh để hiển thị 2 chữ số hàng đơn vị và hàng 
chục. Đây là yêu cầu đặt ra cho thiết kế. 
2.2 Sơ đồ nguyên lý   
Hình 2.2: Sơ đồ nguyên lý toàn mạch   
 Hình 2.2.1:Sơ đồ mạch hướng dẫn của giảng viên 
Hình 2.2.2: Mạch đếm thuận sau khi lắp thành  công  9        
3. Tín hiệu số 
- Tín hiệu số là tín hiệu được sử dụng để biểu diễn dữ liệu dưới dạng một chuỗi các giá 
trị rời rạc; tại bất kỳ thời điểm nào, nó chỉ có thể đảm nhận một trong số các giá trị hữu 
hạn. Điều này tương phản với một tín hiệu tương tự, đại diện cho các giá trị liên tục; tại 
bất kỳ thời điểm nào, tín hiệu tương tự đại diện cho một số thực trong phạm vi giá trị  liên tục.   
- Tín hiệu nhị phân, còn được gọi là tín hiệu logic, là tín hiệu số có hai mức phân biệt. 
- Các tín hiệu số đơn giản biểu thị thông tin trong các dải rời rạc của các mức tương tự. 
Tất cả các cấp trong một dải các giá trị đại diện cho cùng một trạng thái thông tin. 
Trong hầu hết các mạch kỹ thuật số, tín hiệu có thể có hai giá trị có thể; đây được gọi 
là tín hiệu nhị phân hoặc tín hiệu logic. Chúng được biểu thị bằng hai dải điện áp: một 
dải gần giá trị tham chiếu (thường được gọi là điện áp đất hoặc 0 volt) và giá trị kia 
gần điện áp cung cấp. Các giá trị này tương ứng với hai giá trị "0" và "1" (hoặc "sai" 
và "đúng") của miền Boolean, do đó tại bất kỳ thời điểm nào, tín hiệu nhị phân đại diện 
cho một chữ số nhị phân (bit). Do sự rời rạc này, những thay đổi tương đối nhỏ đối với 
các mức tín hiệu tương tự không rời khỏi đường bao rời rạc và kết quả là bị bỏ qua bởi 
mạch cảm biến trạng thái tín hiệu. Kết quả là, tín hiệu số có khả năng chống nhiễu; 
nhiễu điện tử, miễn là nó không quá lớn, sẽ không ảnh hưởng đến các mạch kỹ thuật 
số, trong khi nhiễu luôn làm suy giảm hoạt động của tín hiệu tương tự ở một mức độ  nào đó. 
- Tín hiệu số có nhiều hơn hai trạng thái đôi khi được sử dụng; mạch sử dụng các tín hiệu 
như vậy được gọi là logic đa trị. Ví dụ, các tín hiệu có thể giả sử ba trạng thái có thể 
được gọi là logic ba giá trị. 
- Trong tín hiệu số, đại lượng vật lý đại diện cho thông tin có thể là dòng điện hoặc điện 
áp thay đổi, cường độ, pha hoặc phân cực của trường quang hoặc điện từ khác,     
áp suất âm, từ hóa của phương tiện lưu trữ từ tính, vân vân. Tín hiệu số được sử dụng 
trong tất cả các thiết bị điện tử kỹ thuật số, đáng chú ý là thiết bị điện toán và truyền  dữ liệu.   
- Tín hiệu số nhận được có thể bị suy giảm do nhiễu và biến dạng mà không nhất thiết 
ảnh hưởng đến các số.  4. Cổng logic 
 Cổng logic được lập bằng sử dụng điốt hoặc transistor làm công tắc điện tử. Trước đây 
nó có thể được xây dựng từ các đèn điện tử chân không, rơ le điện từ, quang học, thậm chí 
là cơ cấu cơ học, tuy nhiên những dạng này đã lỗi thời hoặc không thích hợp với thực tế. 
Công nghệ lượng tử thì đang hướng đến sử dụng các phân tử. 
 Hiện nay trong công nghiệp điện tử chúng được chế thành mạch tích hợp (IC). 
 Loại 7400: TTL dùng transistor lưỡng cực, ví dụ IC 4 cổng NAND 7400. 
 Trong thực tế thực hiện, các mạch đều không lý tưởng, và đặc trưng bởi:  • 
Độ trễ thực thi: chênh thời gian nhận được kết quả với thời gian tín hiệu đến  • 
Tần số làm việc cao nhất  • 
Mức điện áp ngưỡng của logic ngõ vào: Tuỳ thuộc cách lập mạch ngõ vào của nhà 
sản xuất. Các TTL thường có mức 0.7 V, trong khi CMOS là nửa mức điện áp nguồn. 
Nó dẫn đến việc phải tính đến tương thích mức logic khi ghép các mạch logic thuộc  họ khác nhau với nhau.  • 
Khả năng chịu tải đầu ra.     TÍNH NĂNG 74LS00 
 IC này có thể được sử dụng như một cổng NAND tuy nhiên do tính phổ quát của 
cổng NAND, nó có thể được chuyển đổi thành các cổng khác một cách dễ dàng.     
 Cấu trúc bên trong của IC là TTL dựa trên đó là lý do tại sao đầu ra của nó cũng  đi kèm trong TTL. 
 Nó đi kèm trong nhiều gói,SOIC, PDIP và SOP. 
 Nó có thể được sử dụng trong các hệ thống tần số cao        
 Hình 4.1: Cổng NAND IC 74LS00      VI. KẾT LUẬN 
Qua bài thực hành này, chúng em đã và chạy thử thành công mạch đếm thuận, đã tìm hiểu 
và biết được những thông số, nguyên lý hoạt động của các linh kiện trong mạch đếm 
thuận. Dù gặp nhiều khó khăn nhưng được sự giúp đỡ của thầy và sự cố gắng tìm hiểu của 
cá nhân chúng em đã hoàn thành được đề tài và báo cáo. Dù rất cố gắng nhưng do thiếu 
kinh nghiệm nên trong quá trình thực hành và làm báo cáo chúng em khó có thể tránh 
khỏi sai xót. Vì vậy, chúng em rất mong có thể nhận được sự góp ý của thầy để có thể 
khắc phục những nhược điểm và ngày càng hoàn thiện hơn. Một lần nữa, chúng em xin 
chân thành cảm ơn thầy Tào Văn Cường đã hướng dẫn chúng em hoàn thành bài thực 
hành và báo cáo này. Chúc thầy và gia đình mạnh khỏe và thành đạt, công tác tốt, ngày 
càng thành công trong tương lai. Chúng em xin chân thành cảm ơn!