



















Preview text:
Chương 2 DAO ĐỘNG ĐA HÀI 2.1. KHÁI NIỆM
Dao động đa hài dùng để chỉ những mạch tạo ra tín hiệu có dạng xung vuông có hình vẽ như trong hình 2.1. v0 t t1 t2 T
Hình 2.1. Tín hiệu xung vuông
Tùy thuộc vào linh kiện cấu thành mạch người ta chia thành mạch dao động đa hài dùng BJT, OP-AMP, IC555.
Tùy theo chế độ hoạt động người ta phân biệt thành ba loại mạch:
- Mạch hai trạng thái bền (bistable)
- Mạch một trạng thái bền (monostable)
- Mạch không trạng thái bền (astable)
Trạng thái bền là trạng thái làm việc ổn định của mạch và chỉ thay đổi trạng thái khi có
xung kích khởi. Ngược lại, trạng thái không bền là trạng thái tạm thời, tồn tại trong thời
gian ngắn và sẽ tự động chuyển đổi sang trạng thái khác.
2.2. DAO ĐỘNG ĐA HÀI DÙNG TRANSISTOR
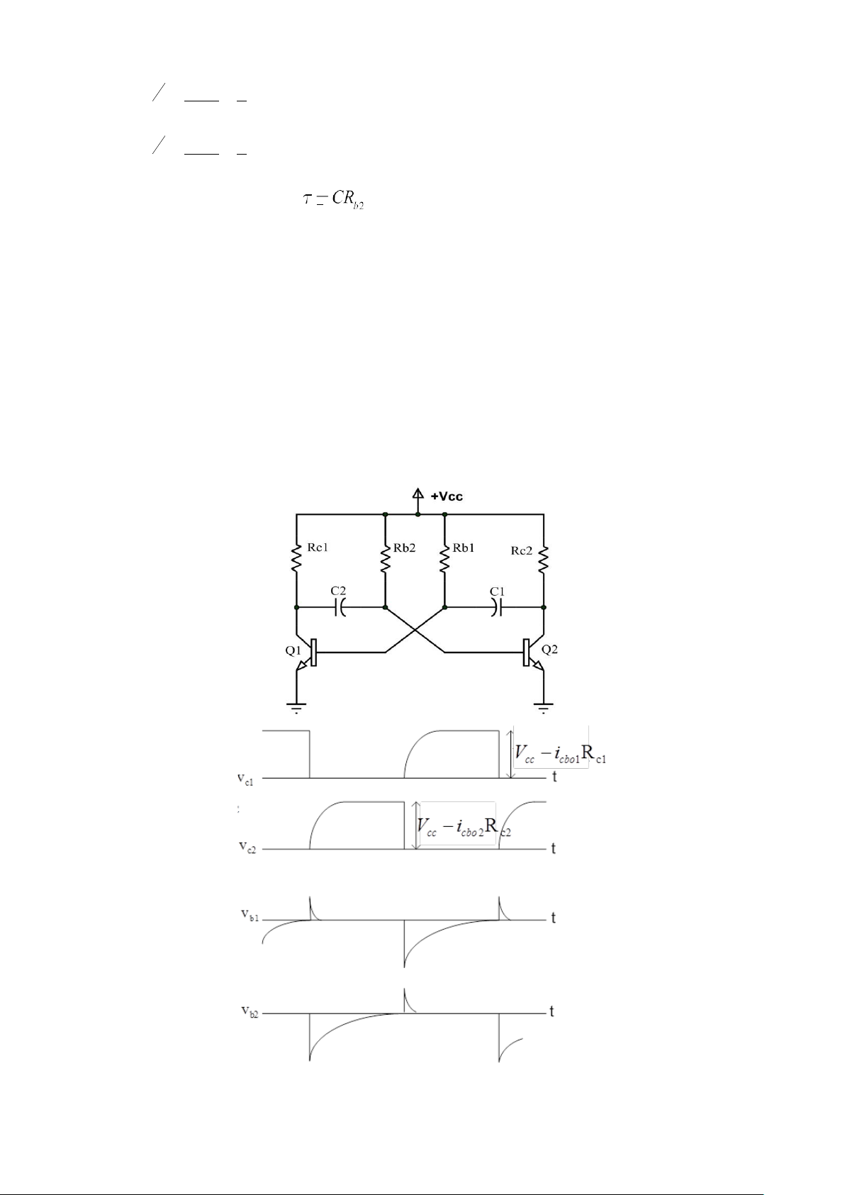
2.2.1. Mạch đa hài hai trạng thái bền
a. Sơ đồ mạch và dạng sóng
Đây là loại mạch có hai trạng thái bền vững còn được gọi là Trigơ hay Flip Flop. Trên
hình 2.2 là dạng mạch đối xứng dùng BJT và giản đồ xung mô tả hoạt động của mạch. Vi1 t Vi2 t vC1 t vC2 t
Hình 2.2. Sơ đồ mạch bistable dùng BJT và dạng sóng hoạt động
Mạch cấu tạo gồm hai tầng khuếch đại, ngõ vào tầng này ghép với ngõ ra tầng kia qua
mạch RC tạo thành một vòng hồi tiếp dương khép kín. Nhờ vậy mạch luôn tồn tại ở một
trong hai trạng thái bền vững, mỗi trạng thái tương ứng với một BJT dẫn và một BJT tắt.
Để nâng cao mức ổn định tĩnh của mạch người ta thường chọn chế độ dẫn của BJT là bão
hòa. Mạch chỉ đổi trạng thái khi có xung kích khởi từ bên ngoài. Để bảo đảm cho BJT tắt
không bị tự kích dẫn khi chưa có xung kích khởi, người ta đưa một điện thế âm vào cực
Base bằng nguồn -Vbb .
Về nguyên tắc chỉ cần sử dụng các điện trở trong mạch hồi tiếp là đủ, tuy nhiên việc
mắc thêm tụ song song (C1, C2) với điện trở sẽ làm tăng tốc độ chuyển đổi trạng thái của mạch.
b. Nguyên lý làm việc
- Trạng thái bền ban đầu: giả thiết Q1 tắt và Q2 bão hòa. Bỏ qua dòng icbo, Vbes và Vces, khi đó: Với Q1 tắt: i 0 0 c1 và ib1
V = V R /(R + R ) c1 CC 2 2 c1 Với Q
i = i − i 2 dẫn: b2 R2 Rb2 với V + V V + V V i = b2 bb = bes bb = bb Rb2 R R R b2 b2 b2 với V + V V + V V i = c 2 bb = ces bb = bb R1 R + R R + R R + R 1 b1 1 b1 1 b1 Trên tụ C2: Trên tụ C1: VC1 = Vb1
- Tại thời điểm t1: khi kích một xung dương vào cực nền Q1 làm Q1 dẫn, ic1 và ib1 tăng
lên, Vc1 giảm xuống. Do điện áp trên tụ C2 không thể đột biến nên Vb2 giảm và trở nên âm
làm Q2 tắt. Khi đó, ic2 giảm, Vc2 tăng lên làm ib1 càng tăng nên Q1 nhanh chóng dẫn bão hòa.
Điện thế Vc2 sẽ tăng theo mức nạp của tụ C1. Như vậy mạch chuyển sang trạng thái bền
mới với Q1 dẫn và Q2 tắt.
- Tại thời điểm t2: ta lại kích một xung dương vào cực nền Q2 thì Q2 lại dẫn bão hòa, còn
Q1 sẽ tắt. Lúc này, mạch đã trở về trạng thái bền ban đầu.
Trong mạch bistable có thể mắc tải song song với Rc hoặc song song với BJT; mắc đối
xứng và không đối xứng.
❖ Giả thiết tải mắc song song với Rc. Nếu Q2 đang bão hòa thì dòng ic2 khi có tải sẽ là:
Trong khi dòng ib2 không thay đổi khi có tải thì việc mắc tải có thể làm BJT ra khỏi
trạng thái bão hòa phá vỡ hoạt động bình thường của mạch.
❖ Giả thiết tải mắc song song với Q1. Nếu Q1 tắt thì khi mắc tải ta có: iRc1 = iL + iR2
Nếu trở tải quá nhỏ thì iL rất lớn làm giảm dòng iR2 và làm Q2 không bão hòa được.
2.2.2. Mạch đa hài một trạng thái bền
a. Sơ đồ mạch và dạng sóng
Sơ đồ mạch và giản đồ xung mô tả hoạt động của mạch cho trên hình 2.3.
b. Nguyên lý làm việc
- Trạng thái bền: Q1 tắt, Q2 dẫn
Do được cấp nguồn điện thế -Vbb vào cực B nên Q1 tắt, còn Q2 được cấp dòng cực nền
từ nguồn Vcc nên Q2 dẫn bão hòa. Khi đó: Vc2 = 0
Vc1 = VCC-icbo1Rc1 = Vcc
Tụ C nạp đến mức xác lập:
V = V = V − i R V C c1 CC cbo1 c1 CC
Khi kích một xung âm vào cực B của Q2 sẽ làm Q2 tắt. Lúc này, ib2 và ic2 giảm dần và tiến
đến gần bằng 0, Vc2 bắt đầu tăng và khi đó toàn bộ dòng iRc2 đổ qua R1 vào cực nền Q1 làm
Q1 chuyển sang dẫn và đi vào chế độ bão hòa. Khi đó, ic1 tăng dần còn Vc1 giảm xuống gần bằng 0.
Hình 2.3. Sơ đồ mạch và dạng sóng hoạt động mạch một trạng thái bền dùng BJT
Do điện áp trên tụ C không thể đột biến nên ngay thời điểm này điện áp trên cực nền
của Q2 là: V = −V = −V b2 C CC duy trì Q2 tắt.
Như vậy, mạch đã chuyển sang trạng thái không bền với Q1 bão hòa, Q2 tắt.
- Ở trạng thái không bền tụ C bắt đầu xả theo chiều ngược lại từ nguồn VCC qua Rb2 và Q1
đang dẫn và điện áp V = −V C
CC khi xác lập. Tụ càng nạp thì điện thế Vb2 càng tăng về chiều
dương và tiến tới bằng VCC. Tuy nhiên, khi tiến tới V = V b2
thì Q2 bắt đầu dẫn, ic2 tăng cňn
Vc2 giảm xuống gần bằng 0 làm Vb1 chịu tác động của nguồn -Vbb nên Q1 tắt.
Như vậy, mạch đã trở về lại trạng thái bền với Q1 tắt,
Q2 bão hòa. Sau khi về lại trạng thái bền tụ C lại nạp bổ sung từ nguồn Vcc qua Rc1 và Q2 dẫn.
Tác dụng của tụ C1: làm tăng tốc độ chuyển đổi trạng thái của mạch, tức là làm cho Q1
đang tắt chuyển sang dẫn sẽ nhanh chóng sang dẫn bão hòa và khi dẫn ở chế độ khuếch
đại sẽ nhanh chóng chuyển sang tắt khi đổi trạng thái.
c. Tính độ dài xung ra T0
Thời gian T0 chính là thời gian mạch tồn tại ở trạng thái không bền ứng với Q1 bão hòa,
Q2 tắt và tụ C nạp xả từ nguồn VCC qua Rb2 và Q1 đang dẫn và giá trị biên độ biến thiên từ
mức VCC đến mức -VCC.
Phương trình xả của tụ như sau:
V (t) = V ()− V ()−V (0)e− t C C C C với V (0) = V C CC V () = −V C CC
Từ điều kiện V (T C
0 ) = 0 , thay các thông số vào ta tính được T0 như sau: −T0
V (T ) = −V − −V −V e = 0 C 0 CC CC CC V 1
e−T0 = CC = 2V 2 CC V 1
e−T0 = CC = 2V 2 CC T = ln 2 = 0,7CR 0 b2 (với )
+ Nếu ta chọn cố định Rb2 thì để T0 lớn ta phải tăng C. Tuy nhiên, trong thực tế nếu
tăng giá trị của C sẽ làm cho thời gian phục hồi tăng lên. Do đó, trong thực tế thiết kế
người ta sẽ chọn C cố định và thay đổi giá trị Rb2.
+ Nếu ta tăng Rb2 thì T0 tăng nhưng nếu tăng Rb2 quá lớn sẽ làm cho Q2 không phân cực
được. Đây cũng chính là nhược điểm của mạch dùng BJT vì nó không cho phép định thời
gian dao động quá dài được.
2.2.3. Mạch đa hài không trạng thái bền
a. Sơ đồ mạch và dạng sóng
Sơ đồ và dạng sóng của mạch cho trên hình 2.4.
Hình 2.4. Sơ đồ mạch và dạng sóng hoạt động mạch không trạng thái bền dùng BJT
Đây là mạch dao dộng đa hài có hai trạng thái nhưng cả hai trạng thái đều không bền
và mỗi một trạng thái như vậy ứng với một BJT dẫn bão hòa và một BJT tắt. Và chính nhờ
quá trình nạp và xả của các tụ điện trong mạch mà làm cho trong mạch luôn có quá trình
tự động chuyển đổi trạng thái từ trạng thái không bền này sang trạng thái không bền khác
mà không cần có xung kích khởi.
b. Nguyên lý làm việc
- Giả sử ở thời điểm ban đầu: Q1 tắt còn Q2 dẫn bão hòa. Điện thế tại các cực của Q2 gần
bằng 0. Lúc này tụ C2 bắt đầu nạp điện từ nguồn VCC qua trở Rc1 và Q2 đang dẫn và sẽ đạt
đến giá trị VCC khi xác lập. Nhờ vậy điện thế cực C của Q1 tăng dần và cũng đạt giá trị VCC khi xác lập.
Mặt khác lúc này tụ C1 cũng sẽ bắt đầu nạp từ nguồn VCC qua Rb1 và Q2 đang dẫn. Theo
mức độ nạp điện của tụ C1 điện thế cực B của Q1 sẽ càng tăng và tiến đến giá trị VCC.
Nhưng khi Vb1 vượt qua V thì lúc này Q1 chuyển sang dẫn, ib1 và ic1 tăng nhanh còn điện
thế Vc1 giảm xuống gần bằng 0. Sự giảm điện thế Vc1 thông qua tụ C2 sẽ làm điện thế tại cực
B của Q2 giảm xuống và tiến đến giá trị V = −V b2
CC làm cho Q2 tắt. Toàn bộ dòng qua điện
trở Rb1 lúc này đổ vào cực nền Q1 duy trì Q1 bão hòa.
Như vậy mạch đã chuyển sang trạng thái mới, Q1 bão hòa và Q2 tắt.
- Quá trình hoạt động tiếp theo cũng tương tự như trạng thái trước. Tụ C1 nạp từ VCC
qua Rc2 và Q1 đang dẫn. Do đó điện thế cực C của Q2 là Vc2 tăng dần lên và đạt giá trị Vc2 =
VCC khi xác lập. Tụ C2 nạp từ nguồn VCC qua điện trở Rb2 và Q1 đang dẫn. Điện áp trên tụ C2
biến đổi dẫn đến điện thế cực nền Vb2 của Q2 tăng lên. Nhưng khi Vb2 vượt qua V thì Q2
bắt đầu dẫn, ic2 tăng nhanh còn điện áp Vc2 giảm dần về 0. Sự thay đổi điện áp Vc2 thông
qua tụ C1 sẽ làm giảm điện thế cực nền của Q1 và Vb1 = -VCC nên Q1 tắt. Toàn bộ dòng qua
Rb2 đổ vào cực nền của Q2 duy trì Q2 bão hòa.
Như vậy mạch đã quay trở về trạng thái ban đầu, Q1 tắt và Q2 bão hòa.
- Quá trình lặp đi lặp lại liên tục tạo thành dãy xung vuông ở các cực thu của các BJT.
c. Tính chu kỳ dao động T0 Gọi
T1 là khoảng thời gian Q1 đang dẫn.
T2 là khoảng thời gian Q2 đang dẫn.
Chu kỳ dao động T0 = T1 + T2 - Tính T1:
Quy luật biến thiên tại cực B của Q2:
V (t ) = V ()− V (t )1 − e −(t −t ) 1 + V (t ) 1 b2 1 b2 b2 b2 1 Trong đó: V ( ) b2 t1 = − VCC V () b2 = VCC Tại t = t2: Vb2(t2) = 0 T1 = t2-t1 Nên: T =
1 1 ln 2 = 0,7C2Rb2 (với 1 = C R 2 b2 ) - Tính T2:
Quy luật biến thiên tại cực B của BJT Q1: −(t −t ) 2
V (t ) = V ()−V (t )1− e
2 + V (t ) b1 b1 b1 2 b1 2 Trong đó:
V (t ) = −V b1 2 CC V () = V b1 CC Tại t = t3: Vb1(t3) = 0 T2 = t3 - t2 Nên: T =
2 2 ln 2 = 0,7C1Rb1 (với 2 = C R 1 b1 )
Như vậy, chu kỳ dao động:
T0 = T1+T2 = 0,7(C1Rb1+C2Rb2) và tần số dao động:
f0=1/T0=1/0.7(C1Rb1+C2Rb2)
2.3. DAO ĐỘNG ĐA HÀI DÙNG OP-AMP
2.3.1. Mạch đa hài một trạng thái bền
a. Sơ đồ mạch và dạng sóng
Sơ đồ và dạng sóng mạch một trạng thái bền cho trên hình 2.5. v t +V i Ro Co vi 1 vo v+ t C R +E v t 0 -E
Hình 2.5. Mạch một trạng thái bền dùng OP-AMP
b. Nguyên lý làm việc
- Trạng thái bền: điện thế v+ = 0 , v- = V, vì vậy OP-AMP ở mức bão hòa âm nên v0 = -
E. Tụ C sẽ có điện áp VC = E với cực tính âm tại ngõ ra của OP-AMP.
- Khi tác động xung vi âm làm v- < 0 , còn v+ = V = E C
nên OP-AMP bão hòa dương và
ngõ ra v0=+E, dẫn đến sự thay đổi trạng thái của mạch.
Sự đột biến điện áp ở đầu ra qua tụ C truyền đến đầu vào thuận làm điện áp này tăng đột biến lên mức
. Thiết kế chọn 2E>V để duy trì OP-AMP vẫn hoạt động ở chế
độ bão hòa dương ngay cả khi xung kích khởi đã kết thúc.
Sau khi mạch đổi trạng thái, tụ C bắt đầu xả qua R với thời hằng RC. Theo mức độ xả
của tụ C thì v+ sẽ càng giảm, đến khi v+ giảm đến giá trị V, khi đó v+ < v- thì mạch lại
chuyển về trạng thái bền với OP-AMP bão hòa âm và v0 = -E.
Sự giảm đột biến của điện thế ngõ ra thông qua tụ C làm điện thế ngõ vào thuận trở
nên âm, khi đó Diode dẫn giúp tụ C nhanh chóng nạp phục hồi. c. Tính T0
Quy luật biến đổi của điện áp v+ trong khoảng thời gian mạch ở trạng thái không bền
cũng chính là phương trình xả của tụ C: với và vC (0)= 2E nên
vC (t)= 2Ee- t / t
tại t = T0 ta có vC (T0 )= V
2Ee- T / t 0 = V 2E eT0 / t = V 2E T = t ln 0 V 2E T = RC ln 0 V
2.3.2. Mạch đa hài không trạng thái bền
a. Sơ đồ mạch và dạng sóng
Sơ đồ và dạng sóng mạch không trạng thái bền cho trên hình 2.6.
Hình 2.6. Mạch không trạng thái bền dùng OP-AMP
b. Nguyên lý làm việc
Hai trạng thái của mạch tương ứng với hai mức bão hòa dương hoặc âm của OP-AMP.
Tín hiệu hồi tiếp dương đưa vào đầu vào thuận thông qua cầu phân áp gồm R1, R2 có giá
trị nhỏ hơn R1/(R1+R2) lần so với v0. Do đó OP-AMP sẽ đổi trạng thái tín hiệu ra v0 mỗi khi
tín hiệu ở đầu vào đảo (cũng là giá trị điện áp trên tụ C) đạt giá trị: hoặc
- Giả thiết mạch đang ở trạng thái không bền với v0 = +E:
Tụ C lúc này nạp qua R về chiều dương và tiến đến E khi xác lập, nhưng khi điện áp
trên tụ C tăng đến giá trị
, nghĩa là bằng với điện áp ở đầu vào thuận, khi đó
mạch sẽ chuyển sang trạng thái bão hòa âm và v0 = -E. Như vậy, mạch đã chuyển sang
trạng thái không bền mới.
- Sau đó tụ C lại nạp qua R theo chiều âm theo quy luật hàm mũ và tiến đến giá trị -E
khi xác lập, khi điện áp trên tụ C giảm đến giá trị
, nghĩa là bằng với điện áp ở
ngõ vào thuận, khi đó mạch chuyển sang trạng thái bão hòa dương nên v0 = +E. Như vậy
mạch lại chuyển về trạng thái ban đầu.
Quá trình trên liên tục lặp đi lặp lại tạo thành dãy xung vuông hai cực tính ở ngõ ra. Ở
mỗi chu kỳ dao động tụ C đều nạp qua R nghĩa là đều cùng thời hằng RC, do đó độ dài
hai nửa chu kỳ hoàn toàn bằng nhau.
c. Tính chu kỳ dao động T0
T0 = T1+T2 = 2T1 + Tính T1:
Phương trình nạp của tụ C: Trong đó: tại t = t2 ta có R R 1 1
nên T = ln1 + 2 = RC ln1 + 2 1 R R 2 2 + Tính T0: R 1
T0 = 2T1 = 2RC ln1 + 2 R 2
2.4. DAO ĐỘNG ĐA HÀI BẰNG VI MẠCH ĐỊNH THỜI 555
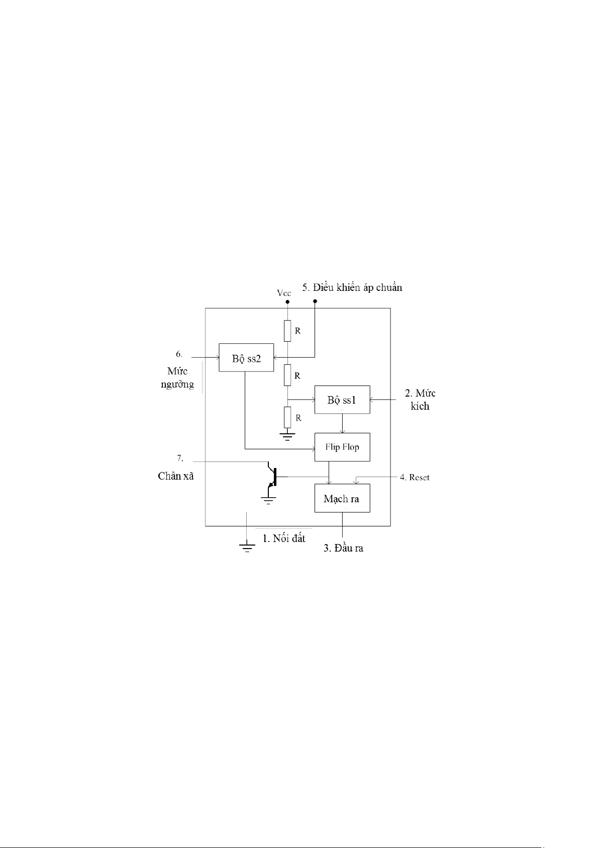
2.4.1. Cấu tạo vi mạch 555
Vi mạch 555 có khả năng định thời từ vài micro giây tới giờ. Khả năng tải khoảng
200mA. Điện áp nguồn VCC có phạm vi giá trị khá rộng từ 4,5V đến 16V. Khi dùng VCC
bằng 5V mạch dễ dàng giao tiếp với các mạch loại TTL. Sơ đồ khối của vi mạch cho trên hình 2.7.
Mạch cấu tạo gồm hai bộ so sánh, cầu phân áp với ba điện trở R, một Flip Flop và một
transistor hoạt động ở chế độ khóa. Các điện trở R tạo ra hai mức so sánh 1/3VCC và 2/3VCC.
Bộ so sánh thứ nhất (ss1) chỉ tác động khi tín hiệu vào chân 2 nhỏ hơn 1/3VCC, bộ so sánh
thứ hai (ss2) chỉ tác động khi tín hiệu vào chân 6 lớn hơn 2/3VCC:
+ Khi bộ so sánh thứ nhất tác động tín hiệu ra của nó có tác dụng làm Flip Flop chuyển
sang trạng thái 0 và ngõ ra của vi mạch (chân 3) có mức điện thế cao (VH). Flip Flop ở mức
0 thì transistor tắt và chân số 7 bị cách ly.
Hình 2.7. Sơ đồ khối vi mạch định thời 555
+ Khi bộ so sánh thứ hai tác động tín hiệu ra của nó có tác dụng thiết lập Flip Flop ở
trạng thái 1 và ngõ ra vi mạch ở mức điện thế thấp (VL). Flip Flop ở mức 1 thì transistor
bão hòa và chân 7 coi như nối đất.
Chân 5 thường được dùng để điều khiển hoặc có thể nối với điểm chung qua tụ CS =
0,01 🠢 0,1μF để chống nhiễu. Mức điện thế bằng không đưa đến chân số 4 sẽ làm ngõ ra vi
mạch duy trì ở mức điện thế thấp.
2.4.2. Mạch đa hài một trạng thái bền dùng vi mạch 555
a. Sơ đồ mạch và dạng sóng
Sơ đồ và dạng sóng mạch được trình bày trên hình 2.8. VCC v t R 8 4 i 3 v 0 2 V CC 7 5 v 3 t 6 C C C S VH 2 1 v t 0 vi T0
Hình 2.8. Mạch dao động đa hài một trạng thái bền
dùng vi mạch định thời 555
b. Nguyên lý làm việc
- Ở trạng thái bền Flip Flop ở mức 1 và ngõ ra ở mức điện thế thấp VL. Do transistor
trong vi mạch bão hòa nên chân 7 có điện thế gần bằng không. Điện áp trên C:
v » V R¢/(R+R¢) = v (0) C cc C
- Khi mạch được kích khởi bằng xung có biên độ nhỏ hơn 1/3VCC vào chân 2, bộ so sánh
thứ nhất tác động làm cho Flip Flop chuyển sang trạng thái 0, khi đó ngõ ra có mức điện
thế cao VH. Khi đó transistor tắt và tụ C nạp điện từ nguồn VCC qua R. Điện áp trên C tăng
dần theo thời gian và khi vC đạt mức 2/3VCC thì bộ so sánh thứ hai tác động và làm cho Flip
Flop chuyển sang mức 1, ngõ ra xuống mức thấp VL. Transistor lại bão hòa, khi đó tụ C xả
điện qua R¢ và chân 7 cho đến khi vC = 0. c. Tính T0
Thời gian tụ C nạp điện chính là khoảng thời gian để xác định độ rộng xung ra T0. Quy
luật biến đổi điện áp vC(t) khi mạch ở trạng thái không bền: Trong đó:
Khi t = T0 ta có vC(T0) = 2/3VCC Vậy: R¢ R¢ V - V 1- 3R T = RCln
R+R¢ = RCln R+R¢ = RCln cc cc 0 2 V - V 1 R+R¢ cc 3 cc 3
Điện trở R¢có tác dụng giới hạn dòng xả của tụ nên trị số cũng khá nhỏ, nghĩa là ta có
thể coi R¢<< R do đó: T » RCln 3 » 1,1RC 0 .
2.4.3. Mạch đa hài không trạng thái bền
a. Sơ đồ mạch và dạng sóng
Sơ đồ và dạng sóng mạch được trình bày trên hình 2.9. VCC VH R 8 4 V 1 3 v0 v L t 0 7 2 R V 2 3 CC 6 1 2 1 v V C C t t t 1 2 3
Hình 2.9. Mạch dao động đa hài không trạng thái bền
dùng vi mạch định thời 555.
b. Nguyên lý làm việc
Khi mới cấp nguồn VCC điện áp trên tụ vC bằng không và được đưa trực tiếp vào chân 2
nên bộ so sánh thứ nhất tác động đưa Flip Flop về mức 0, transistor tắt và ngõ ra ở mức
cao VH, chân 7 bị cách ly về điện thế. Tụ C nạp điện từ nguồn VCC qua R1 và R2, điện áp vC
tăng dần. Khi vC đạt 2/3VCC bộ so sánh thứ hai tác động, Flip Flop chuyển sang mức 1, ngõ
ra chuyển sang mức thấp VL, transistor bão hòa, chân 7 có điện thế bằng không. Lúc này tụ
C lại xả điện tích qua điện trở R2 và chân 7. Điện áp vC giảm dần tới không. Khi vC giảm
dần xuống còn 1/3VCC thì bộ so sánh thứ nhất tác động, Flip Flop chuyển sang trạng thái 0,
transistor tắt đầu ra ở mức cao VH, tụ C nạp điện qua R1 và R2. Quá trình trên tiếp tục lặp
lại và tạo thành dãy xung vuông ở đầu ra.
c. Tính chu kỳ dao động T
Thời gian tụ C nạp trong một chu kỳ: t1 = 0,7(R1+R2)C
Thời gian tụ C xả trong một chu kỳ: t2 = 0,7R2C
Chu kỳ dao động: T0 = t1+t2 = 0,7(R1+2R2)C 1 1,44 Tần số dao động: f= = T (R1+2R2 )C
2.5. CÁC KIỂU MẠCH TẠO XUNG KHÁC
2.5.1. Mạch kích khởi Schmitt
Đây là loại mạch có hai trạng thái bền được dùng để biến đổi dạng tín hiệu. Đặc tuyến
truyền đạt của mạch có dạng từ trễ vuông góc với hai mức ngưỡng so sánh. a. Mạch dùng BJT
Sơ đồ mạch và đặc tuyến truyền đạt cho trên hình 2.10.
Hình 2.10. Mạch kích khởi Schmitt dùng BJT
- Theo chiều tăng vi:
Tăng vi sao cho v v + v = v + I R i Re ES e
Lúc này Q1 dẫn, ib1, ic1 tăng dần còn Vc1 giảm dần về 0, sự giảm điện áp này thông qua
điện trở R1 sẽ làm giảm điện áp cực nền Vb2 của Q2 nên Q2 ra khỏi trạng thái bão hòa và đi
vào trạng thái khuếch đại, dòng ic2 giảm dần. Nhờ tác động hồi tiếp qua điện trở Re dòng
ic2 càng yếu làm dòng ie2 càng giảm và Q1 dẫn càng mạnh hơn, Q1 sẽ nhanh chóng đi vào
chế độ dẫn bão hòa còn Q2 sẽ nhanh chóng tắt, lúc đó v = =
0 VCC v02. Điện thế vi gây nên sự
chuyển đổi trạng thái từ v01 sang v02 gọi là mức ngưỡng trên UTP (Upper Threshold Point).
Nếu tiếp tục tăng vi sao cho vi>VUTP thì Q1 vẫn sẽ tiếp tục dẫn bão hòa, Q2 tắt, nghĩa là
mạch vẫn không đổi trạng thái nên v0 = v02.
- Theo chiều giảm vi:
Giảm tín hiệu vào vi xuống sao cho v v + v i Re
Lúc này Q1 ra khỏi chế độ dẫn bão hòa và bắt đầu đi vào chế độ dẫn khuếch đại, ib1, ic1
giảm dần còn vc1 tăng lên, sự gia tăng điện áp này thông qua điện trở R1 sẽ làm cho điện
thế tại cực nền của Q2 là Vb2 tăng lên. Theo chiều tăng này Q2 dẫn, ib2, ic2 tăng lên và dưới
tác dụng hồi tiếp qua điện trở Re thì Q1 nhanh chóng tắt còn Q2 nhanh chóng đi vào chế độ
bão hòa. Như vậy, mạch đã trở về trạng thái ban đầu: Q1 tắt, Q2 bão hòa và tương ứng thì
trạng thái đầu ra của mạch cũng sẽ chuyển từ mức v02 xuống v01. Mức điện thế của tín hiệu
vào vi mà tại đó trạng thái đầu ra của mạch thay đổi từ mức v02 sang mức v01 người ta gọi
đó là mức chặn dưới LTP (Low Trip Point).
Tiếp tục giảm vi sao cho vitrạng thái, đầu ra v0 = v01.
Độ rộng vòng từ trễ vuông gốc: b. Mạch dùng OP-AMP
Sơ đồ mạch và đặc tuyến truyền đạt cho trên hình 2.11.
Hình 2.11. Mạch kích khởi Schmitt dùng KĐTT
- Theo chiều tăng vi: tăng vi sao cho v v+ = v i
1 lúc này v− v+ nên đầu ra của mạch sẽ
đổi trạng thái sang mức bão hòa âm v0 = -E, v+ = −R /(R + R )E = v . Mức điện thế của tín 1 1 2 2
hiệu vào vi mà tại đó để cho đầu ra của mạch đổi trạng thái từ mức bão hòa dương +E
sang mức bão hòa âm -E, người ta gọi là mức UTP (v1).
Tiếp tục tăng vi>VUTP thì v− v+ đầu ra của mạch vẫn không thay đổi trạng thái, nghĩa là v0 = -E. − +
- Theo chiều giảm vi: giảm vi sao cho v = v v = v i
2 , lúc này ngõ ra của mạch đổi trạng
thái sang mức bão hòa dương v0 = +E, v+ = R /(R + R )E = v . Mức điện thế của tín hiệu 1 1 2 1
vào vi mà tại đó để cho đầu ra của mạch đổi trạng thái từ mức bão hòa âm sang mức bão
hòa dương, người ta gọi là mức LTP (v2).
Tiếp tục giảm vi < VLTP thì mạch vẫn giữ nguyên trạng thái, nên v0 = +E.
Độ rộng vòng từ trễ:
2.5.2. Mạch dao động dùng cổng logic Rt (1k- 100k) Rt (100R- 1k) +9V +5V U1:A U2:A 10k 40106 74LS14 3,0v 1,6v --> --> 2,2v 0,8v 1 1 Ct 0 Ct 0 (1pF- 100uF) (1pF- 1000uF) 0V 0V (a) (b) Hình 2.12. Dao động đa hài sử dụng cổng NOT họ TTL/LS và họ CMOS
Bên cạnh các mạch dao động đa hài tạo xung sử dụng BJT, khuếch đại thuật toán OP-
AMP, vi mạch định thời 555 như đã trình bày trong các mục trên. Các mạch dao động tạo
xung còn sử dụng các cổng logic. Để các mạch tạo xung với tần số có độ ổn định và chính
xác cao thì các tinh thể thạch anh được sử dụng để thay thế các linh kiện R, C. Bảng 2.1
trình bày sự khác biệt điện áp ngưỡng đầu vào cổng NOT của 2 IC sử dụng công nghệ TTL và CMOS.
Bảng 2.1. Sự khác biệt điện áp ngưỡng đầu vào cổng NOT của 2 IC sử dụng công nghệ TTL và CMOS Tham Giá trị Ghi chú số 74LS14 CD40106 Vcc +5V(±5%) +(515)V Điện áp nguồn Điện áp ngõ vào mức VIL(max) 0,8V 2,2V thấp (Vcc =5V) 3,0V Điện áp ngõ vào mức VIH(min) 1,6V (Vcc =5V) cao
Mạch tạo xung dùng cổng NOT được trình bày ở hình 2.12.
Khởi đầu khi Vc = 0V, ngõ ra Vout = VOH. Lúc này tụ C nạp điện từ ngõ ra đang ở mức
cao qua R làm cho điện áp trên tụ C tăng dần, phương trình tổng quát quá trình nạp điện trên tụ như sau:
V (t) = V ()- V (0)1− e− t RC + V (0) C C C C
Tương ứng cho sơ đồ mạch sử dụng cổng logic như trên, các giá trị ngưỡng được xác định như sau: V () = V ; V (0) = V C OH C 1L
Trong thời gian T1, tụ C nạp điện ứng với điện áp trên tụ tăng từ giá trị Vc(0) = VIL đến VIH V (T1) = V C 1H
Từ các phương trình trên ta sẽ suy ra được:
V (T1) = V = V + (V − V ).e−T1 RC C 1H OH 1L 0H
Sau thời gian nạp điện T1 đến thời điểm t1 điện áp trên tụ Vc(t1) > VIH nên cổng NOT
lật trạng thái, điện áp đầu ra về mức thấp VOL, tụ C chuyển sang quá trình xả điện từ C qua R đến đầu ra.
Phương trình tổng quát quá trình xả điện trên tụ như sau:
V (t) = V (0)- V ().e− t RC + V () C C C C
Và tương tự, xác định các giá trị V (T2) = V ; V () = V ; V (0) = V C 1L C OL C 1H ta có được phương trình:
V (T2) = V = V + (V − V ).e−T2 RC C 1L OL 1H 0L
Tùy thuộc vào từng loại IC, họ IC khác nhau được sử dụng trong các mạch tạo dao
động mà các giá trị điện áp ngưỡng đầu vào V1L, V1H và đầu ra V0L, V0H khác nhau.
Do vậy, trong các trường hợp cho phép tính gần đúng, chu kỳ dao động To = T1 + T2
của mạch được xác định như sau: To = T1 + T2 2,2.R.C(s)
Dạng xung trên tụ và tín hiệu ngõ ra được thể hiện trên hình 2.13.
Hình 2.13. Dạng xung trên tụ C và đầu ra.
Một số kiểu mạch dao động khác dùng cổng logic dùng cổng NOT (hoặc NAND) được
trình bày như hình 2.14. Công thức tính chu kỳ dao động của mạch cũng tương tự công
thức tính To đối với mạch dao động dùng cổng NOT đã được trình bày ở phần trên.
Hình 2.14. Mạch tạo xung dùng cổng NOT và NAND
2.6. MẠCH ỨNG DỤNG
2.6.1. Mạch đảo điện DC sang AC
Thông thường các thiết bị điện dân dụng và công nghiệp hoạt động với nguồn điện
AC, dạng Sin, ở mức điện áp 110V hay 220V, tần số 50Hz. Tuy nhiên không phải ở đâu
chúng ta cũng có nguồn điện dạng này để sử dụng, do đó khi gặp trường hợp không có
nguồn điện AC, chúng ta có thể dùng nguồn điện DC 12V hay 24V DC và dùng mạch đảo
điện (DC/AC Inverter) để chuyển đổi dạng nguồn từ điện áp DC sang điện áp AC.
Hình 2.15. Mạch DC/AC inverter
Sơ đồ mạch điện DC/AC inverter được thể hiện trên hình 2.15. Trong mạch sử dụng
mạch dao động đa hài không trạng thái bền sử dụng cặp BJT Q1 và Q2. Ngõ ra của mạch
dao động được nối đến các mạch Darlington (Q3/Q4 và Q5/Q6) để tăng hệ số khuếch đại
cho tín hiệu trước khi tín hiệu này được đưa vào mạch khuếch đại công suất đẩy-kéo (Q7,
Q8) để tạo tín hiệu hình Sin ở ngõ ra qua biến áp. Ở đây biến áp ngõ ra có thể dùng loại
vào 9V ra 220V AC, dòng ra 6A. Công suất của mạch khoảng 60W.
2.6.2. Mạch điều khiển tốc độ động cơ dùng IC555
Hình 2.16 là sơ đồ mạch điều khiển tốc độ động cơ đơn giản sử dụng dao động đa hài
dùng IC555 dựa trên nguyên lý điều chế độ rộng xung PWM (Pulse Width Modulation).
Hình 2.16. Mạch điều khiển tốc độ động cơ dùng IC555
Trong mạch này, tụ điện C thực hiện quy trình nạp và phóng điện thông qua mạng
điện trở RA và RB làm chuyển đổi trạng thái hoạt động của IC555 như đã trình bày trong
phần nguyên lý hoạt động. Theo đó, dưới tác động nạp và xả của tụ IC555 sẽ xuất tín hiệu
xung vuông tại đầu ra ở chân số 3 với TH là thời gian ở mức cao và TL tương ứng với thời
gian ở mức thấp. Mà chân số 3 lại nối vào cực B của transistor 2N3055, nên nếu chân 3 ở
mức cao BJT sẽ dẫn bão hòa và nếu chân số 3 ở mức thấp BJT sẽ tắt, tương ứng với việc có
hay không có dòng điện chạy từ nguồn qua động cơ (M).
Việc điều chỉnh giá trị của biến trở VR1 thông qua hai điện trở R1 và R2 sẽ làm thay
đổi giá trị của RA và RB dẫn đến thay đổi thời gian nạp và xả của tụ hay thay đổi thời gian
đầu ra của IC555 ở mức cao hay mức thấp. Điều này dẫn đến độ rộng xung ra ở mức cao
và mức thấp thay đổi tác động qua mạch khóa BJT làm thay đổi tốc độ của động cơ theo
nguyên lý của kỹ thuật điều chế độ rộng xung PWM.
2.6.4. Mạch báo động
Mạch trên hình 2.17 sử dụng IC555 tạo dao động xung vuông tần số 1kHz cấp cho tải là
loa, còn LDR là cảm biến ánh sáng. Khi có ánh sáng thì LDR sẽ có điện trở bằng 0 khi đó
nó sẽ phân cực thuận cho BC158 cấp điện áp vào chân 4 của IC555 hoạt động và phát âm
thanh ra loa. Còn khi không có ánh sáng thì LDR có giá trị điện trở vô cùng do đó nó
không phân cực được cho BC158, nên không có nguồn cấp cho IC555 dẫn đến không có tín
hiệu ra loa. Biến trở 100K dùng để điều chỉnh mức cường độ ánh sáng cảnh báo.
Hình 2.17. Mạch báo động BÀI TẬP
1. Cho sơ đồ mạch một trạng thái bền sử dụng IC555 trên hình 2.18:
a. Xác định trạng thái bền (điện áp tại các chân 2, 3, 6, 7).
b. Tính thời gian không bền To. Hình 2.18.
2. Cho mạch dao động đa hài sử dụng BJT trên hình 2.19:
a. Tính chu kỳ dao động.
b. Vẽ tín hiệu dao động tại các điểm A, B, C. Hình 2.19. Hình 2.20.
3. Cho mạch dao động đa hài sử dụng BJT trên hình 2.20, giả sử biến trở VR1 tuyến tính.
Hãy tính chu kỳ dao động và vẽ dạng xung các cực B và C của Q1, cực B và C của Q2 trong các trường hợp:
a. Biến trở VR1 đặt chính giữa.
b. Biến trở VR1 chỉnh lệch về phía điểm A (VR1_A= 20%).
c. Biến trở VR1 chỉnh lệch về phía điểm B (VR1_A= 80%).
d. So sánh và cho nhận xét kết quả trong 3 trường hợp trên.
4. Cho mạch dao động đa hài dùng IC555 trên hình 2.21: a. Tính chu kỳ dao động
b. Vẽ dạng xung trên tụ C1 và ngõ ra chân 3.
5. Cho mạch dao động đa hài dùng IC555 trên hình 2.22.
a. Trình bày tác dụng của 2 điốt D1 và D2.
b. Hãy tính tần số dao động, vẽ dạng xung trên tụ C1 và ngõ ra chân 3. Hình 2.21. Hình 2.22.
6. Cho mạch dao động đa hài dùng OP-AMP điều chỉnh tần số xung trên hình 2.23, giả sử
biến trở RV1 tuyến tính.
a. Trình bày tác dụng biến trở RV1.
b. Tính tần số dao động, vẽ dạng xung trên tụ C1 và ngõ ra (các điểm A, B) trong
trường hợp biến trở RV1 đặt chính giữa.
c. Thực hiện như câu b khi biến trở RV1 chỉnh lệch về phía điểm D (RV1_D = 20%).
d. Thực hiện như câu b khi biến trở RV1 chỉnh lệch về phía điểm E (RV1_D = 80%). Hình 2.23. Hình 2.24.
7. Cho mạch dao động đa hài dùng OP-AMP điều chỉnh độ rộng xung trên hình 2.24:
a. Trình bày tác dụng biến trở VR1 và các điốt D1, D2.
b. Tính tần số dao động, vẽ dạng xung trên tụ C1 và ngõ ra (các điểm C1, Out) trong
trường hợp biến trở VR1 đặt chính giữa.
c. Thực hiện như câu b khi biến trở VR1 chỉnh lệch về phía điểm A (RV1_A = 20%).
d. Thực hiện như câu b khi biến trở VR1 chỉnh lệch về phía điểm B (RV1_A = 80%).
e. So sánh và cho nhận xét kết quả trong 3 trường hợp trên.
8. Cho sơ đồ mạch ứng dụng trên hình 2.25:
a. Giải thích chức năng của biến trở R1 và công tắc S1
b. Tính tần số dao động, vẽ dạng xung đầu ra chân 3 (IC555) trong hai trường hợp biến trở
R1 chỉnh hết về phía trái và phía phải.
c. Trình bày hoạt động và ứng dụng của mạch.