




Preview text:
TRƯỜNG ĐẠI HỌC BÁCH KHOA HÀ NỘI
VIỆN ĐIỆN TỬ - VIỄN THÔNG
TRUNG TÂM ĐÀO TẠO THỰC HÀNH ĐIỆN TỬ - VIỄN THÔNG **************
BÁO CÁO THỰC TẬP CƠ BẢN
Sinh viên : Nguyễn Thị Phương Liên 20192963 Lê Duy Quân 20193062 Vũ Hoàng Sơn 20193087
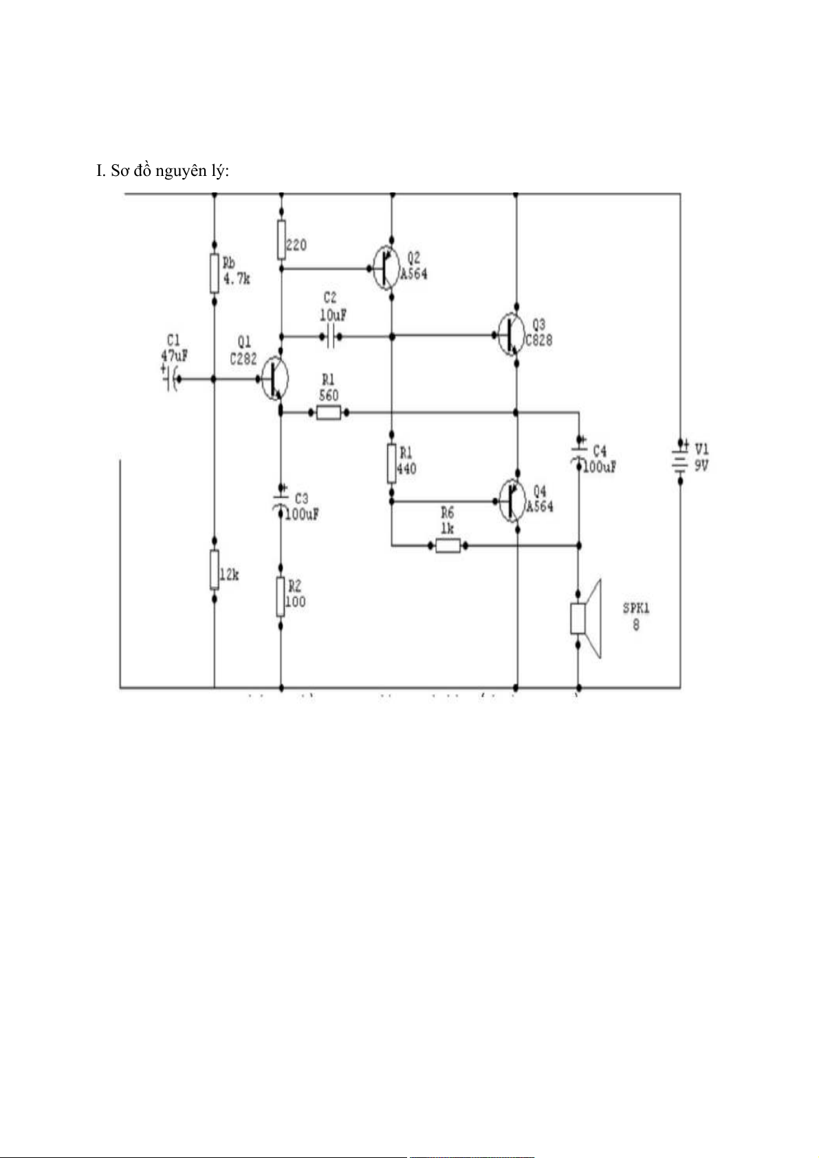
Học phần : Thực tập cơ bản ( ET2021 ) Mã lớp : 700422 I. Sơ đồ nguyên lý: II. Sơ đồ lắp ráp:
III. Cấu tạo mạch điện, tác dụng từng linh kiện:
Đây là 1 mạch khuếch đại âm tần được ứng dụng rất rộng rãi trong các thiết bị điện tử. Mạch gồm:
- Đèn Q1 là đèn C828 làm nhiệm vụ khuếch đại tín hiệu.
- Đèn Q2 là đèn A564 làm nhiệm vụ kích tín hiệu và đưa sang tầng khuếch đại công suất.
- Tầng khuếch đại công suất gồm hai loại đèn khác nhau: Q3 là C828, Q4 là A564 mắc
theo kiểu đẩy kéo song song, có tác dụng nâng cao công suất đưa tải ra. - R , R 1
2: điện trở định thiên của Q , tạo U 1 mở để đèn làm việc.
- R3: tải xoay chiều của Q , điện trở hạn chế đi 1
ện áp 1 chiều cung cấp cho colecter.
- R : tạo ra hệ số khuếch đại của v tầng khuếch đại.
- R : điện trở định thiên cho Q 5 , Q 3
4 và tạo chênh lệch điện áp Q , Q 2 3. - R , R 4
6: chống méo phi tuyến, hồi tiếp âm dòng điện về chân E của Q . 1 - R : tải xoay chiều. 7
IV. Nguyên lý hoạt động:
Tín hiệu vào dạng sin, biên độ 0,5 V, tần số 1 kHz được đưa vào cực B của Q1 thông qua
một một tụ lọc. Tín hiệu ra lấy ở cực C, do đó đèn Q1 mắc theo kiểu E chung.
Sau đó tín hiệu được lấy ra ở cực C của Q2 và chia làm hai đường: 1 đường vào Bazo của
đèn Q4. Tín hiệu ra được ghép nhau tại cực E nối chung của hai đèn và được đưa qua tải
qua 1 tụ lọc. Hai đèn Q3 và Q được mắc theo kiểu C 4 chung. V. Kết quả đo: 1. Cách điều chỉnh:
Để mạch hoạt động bình thường thì cả 4 đèn phải hoạt động bình thường. Ta cần chú ý tới các giá trị: - UCE của Q1: 0,5V đê
- Đèn Q3 mở thì UBE của Q3 có giá trị -1,45V - Khi đó UCE(Q )-U 3
CE(Q ) nằm trong khoảng từ 0-0,5V 2
2. Bảng đo điện áp 1 chiều: UBE UCE UE- Đất Q1 0,65 0,69 2,89 Q2 0,757 0,758 0,758 Q3 -1,45 0,757 0,757 Q4 0,66 -6,94 2,1 3. Điện áp vào ra: - Điện áp vào: 9V - Điện áp ra: 40,5V
- Hệ số khuếch đại: k= Ura/Uvào=4,5 4. Nhận xét:
Tín hiệu hình sin gợn giữa. VI. Trả lời câu hỏi:
1. Khi đo đèn thuận, đèn ngược, giá trị âm dương. Giải thích?
Khi đo đèn ngược ra giá trị dương, đèn thuận ra giá trị âm bởi vì:
Bản chất các transistor là 2 diode ghép với nhau.
- Đối với transistor thuận (PNP) thì khi phân cực thuận cho UBE thì cực dương sẽ đặt tại
chân E còn cực âm sẽ đặt tại chân B -> khi đó UBE ta luôn thấy nó âm. UCE cũng tương tự, ta cũng luôn có UCE < 0.
- Đối với transistor ngược (NPN) khi phân cực thuận cho UBE thì cực dương luôn đặt tại
chân B còn cực âm đặt tại chân E dẫn đến UBE > 0
UCE tương tự và cũng đạt được giá trị UCE > 0. 2. Cần điều chỉnh Q : U 3 BE = 0,5; UCE=UE-đất=3,8 Cần điều chỉnh Q : U 4
BE = 0,5; UCE=UE- đất=4,0 thì cần điều chỉnh linh kiện nào? - Để Q có U 3
BE= 0,5V thì ta cần điều chỉnh R1
- Để Q4 có UCE = UE- đất= 3,8V thì ta cần điều chỉnh R5
3. Chạy lại mạch trên phần mềm mô phỏng để tính hệ số khuếch đại. Tính Ku= Ura/Uvào=2,4/0,5=4,8
Tín hiệu đã khuếch đại 4,8 lần.