



















Preview text:
................................................................................................................................................................................ DANH MỤC HÌNH VÀ BẢNG
Hình 1.1: Các dạng buồng lắng bụi
Hình 1.2: Thiết bị lắng bụi quán tính
Hình 1.3: Thiết bị lá sách
Hình 1.4: Xiclon
Hình 1.5: Tháp đệm
Hình 1.6: Tháp đĩa
Bng 1.1: Tác hại của SO2 đối với người và động vật
Bng 1.2: Các thông số đặc trưng của thiết bị thu hồi bụi khô
Bng 2.1: Thành phần dầu DO(%)
Bng 2.2: Thành phần rác công nghiệp thông thường (%)
Bng 2.3: Thành phần các chất phát sinh trong quá trình cháy khi đốt nhiên liệu
Bng 2.4: Thành phần các chất phát sinh trong quá trình cháy khi đốt rác
Bng 2.5: Nồng độ các chất ô nhiDm từ lò đốt
Bng 3.1: Hiệu quả lọc theo cỡ hạt của xiclon
Bng 3.2: Hiệu quả lọc theo khối lượng của hệ thống
Bng 3.3: Bảng thể hiện độ hòa tan của SO tr o 2
ong nước ở 40 C và áp suất 1 atm
Bng 3.4: Bảng kết quả hệ số Henry Nồng độ phần mole SO tr
2 ong pha khí và pha lỏng
Bng 3.5: Bảng kết quả hệ số Henry
Bng 3.6: Khối lượng riêng của dung dịch NaOH 10% (kg/m3) theo nhiệt độ (ở áp suất khí quyển)
Bng 3.7: Độ nhớt động học của dung dịch NaOH 10% theo nhiệt độ
Bng 3.8: Chiều cao phần tách lỏng(Hc) và đáy (H ) đ
Bng 3.9: Hệ số dự trữ k
Bng 3.10: Hiệu suất của một số loại bơm
GVHD: PGS.TS Lê Hoàng Nghiêm SVTH: Phạm Đăng Minh 5 β
Bng 3.11: Hệ số an toàn công suất MỞ ĐẦU
Ngày nay, kinh tế của đất nước ngày càng phát triển, đi cùng với sự phát triển đó là
các khu công nghiệp, khu chế xuất được đầu tư rất nhiều. Trong đó, các khu công nghiệp
có sử dụng lò đốt rác để phục vụ cho việc sản xuất. Các đốt rác phần lớn sử dụng các loại
nhiên liệu như: dầu DO/FO…. Các loại nhiên liệu đốt của lò tạo ra tro bụi, CO, CO2, SO ,2
NO2,.... e Việt Nam, hầu hết các lò đốt rác đều sử dụng dầu DO làm nhiên liệu đốt. Đây
là loại dầu có hàm lượng lưu huỳnh cao, khi cháy sẽ thải ra một lượng lớn khí SO2 – loại
khí được xem là độc hại nhất trong họ các khí độc hại thải ra do cháy nhiên liệu. Trong
khi đó các nhà đầu tư và các doanh nghiệp vẫn chưa quan tâm lắm đến việc xử lý khí
thải, do vậy đa số các lò trên vẫn hoạt động mà không có hệ thống xử lý khí thải, từng giờ
từng ngày vẫn thải vào môi trường không khí hàng ngàn hàng triệu tấn các chất khí độc
hại gây ô nhiễm môi trường nghiêm trọng.
Do đó, có thể nói đề tài “ Lựa chọn phương án công nghệ và tính toán, thiết kế hệ
thống xử lý bụi và khí thải lò đốt rác công nghiệp thông thường công suất 3 tấn/h” là một
đề tài rất hay để nghiên cứu và học tập.
GVHD: PGS.TS Lê Hoàng Nghiêm SVTH: Phạm Đăng Minh 6 CHƯƠNG I: TỔNG QUAN I. KHÁI QUÁT 1.
Rác thải công nghiệp thông thường 1.1 Khái niệm
-Rác thải công nghiệp là rác được thải ra từ các nhà máy, khu công nghiệp, khu chế xuất,…
và không có giá trị đối với người sử dụng nữa
-Rác thải công nghiệp bao gồm: rác từ quá trình sinh hoạt của công nhân, nhân viên (túi,
bao bì ni lông, hộp đựng thức ăn, thức ăn dư thừa…) và rác từ quá trình sản xuất của nhà máy. 1.2
Hiện trạng rác thải công nghiệp
-Năm 2009, theo kết quả khảo sát của Tổng cục Môi trường, lượng chất thải rắn thông
thường phát sinh trong cả nước vào khoảng 28 triệu tấn/năm, trong đó chất thải rắn công
nghiệp thông thường là 6,88 triệu tấn/ năm. 2. Dầu diesel (DO) 2.1 Dầu DO là gì?
-Dầu Diesel ( DO – Diesel Oil) là một loại nhiên liệu lỏng, nặng hơn dầu lửa và xăng, sử
dụng chủ yếu cho động cơ Diesel và một phần được sử dụng cho các tuabin khí. Nhiên liệu
Diesel được sản xuất từ phân đoạn gasoil và là sản phẩm của quá trình chưng cất trực tiếp dầu mỏ. 2.2
Ô nhiDm không khí do đốt rác công nghiệp thông thường bằng dầu DO
-Gần đây ở nước ta, xử lý CTR công nghiệp bằng phương pháp thiêu đốt được áp dụng khá
phổ biến. Tuy nhiên, vấn đề nảy sinh là phải xử lý lượng khí thải vô cùng lớn.
-Quá trình đốt cháy: CTR thông thường + O2 sản phẩm cháy + Q (nhiệt)
Sản phẩm: bụi, NOx, SOx, CO2, THC, HCl, HF và tro. II. TÁC HẠI CỦA BỤI
Bụi là những phần tử vật chất rất nhỏ phân tán trong không khí, gồm các loại: bụi hữu cơ,
bụi vô cơ và bụi hỗn hợp. Bụi được phát sinh từ các hoạt động sinh hoạt (ăn ở, vui chơi,
học tập...), từ sản xuất, từ giao thông,... của con người. Đặc biệt, trong sản xuất công
nghiệp, bụi là nguồn thải phổ biến nhất. Bụi làm ảnh hưởng đến sức khỏ và môi trường sống
Đối v@i sức khỏe con người
-Gây ảnh hưởng đến sức khoẻ: hệ hô hấp (gây viêm phổi, ung thư phổi), da và giảm tầm nhìn.
Đối v@i môi trường tự nhiên
-Có khả năng ăn mòn vật liệu khi kết hợp với những chất khí có tính ăn mòn.
-Bụi không có khả năng gây hại cho thực vật trừ khi bụi có tính ăn mòn cao, lắng đọng quá
nhiều trên lá cây làm giảm khả năng quang hợp cho cây. Ví dụ: bụi xi măng lắp đầy các lỗ
GVHD: PGS.TS Lê Hoàng Nghiêm SVTH: Phạm Đăng Minh 7
khí khổng, bao quanh các hạt diệp lục làm giảm khả năng quang hợp, tăng khả năng nhiễm
bệnh, giảm sức sống, giảm khả năng thụ phấn.
-Gây ô nhiễm nguồn nước. III. TÁC HẠI CỦA SO2
-Khí sunfurơ là chất khí không màu, có mùi hăng cay khi nồng độ trong khí quyển là
1ppm, là sản phẩm của quá trình đốt cháy các nhiên liệu có chưa lưu huỳnh.
-SO2 có tỷ trọng d=2,92, tan nhiều trong nước nên dễ phản ứng với cơ quan hô hấp của con người và động vật.
-Tác hại của SO2 là do hình thành axid H2SO , H 3 2SO . 4
Bảng 1.1 : Tác hại của SO2 đối với người và động vật 20-30 mg SO2/m3
Giới hạn của độc tính 50 mg SO2/m3
Tác hại đường hô hấp, ho 130-260 mg SO2/m3
Liều nguy hiểm sau khi hít thở (30-60 phút)
260-1000 mg SO2/m3 Liều gây chết nhanh (30-60 phút)
Đối với người và động vật:
-Độc tính làm rối loạn chuyển hóa protein và đường, gây thiếu vitamin B, C, ức chế
enzyme, tạo ra methemoglobine để chuyển Fe2+ (hoà tan) thành Fe3+(kết tủa) gây tắc
nghẽn mạch máu cũng như làm giảm khả năng vận chuyển ôxy của hồng cầu, gây co hẹp dây thanh quản, khó thở. -Hít một lượng lớn SO 3
2 có nồng độ từ 260-1000 mg/m trong vòng 30-60 phút sẽ gây tử nhanh.
-Gây các bệnh cho người như viêm phổi, mắt
-SO2 nhiễm độc qua da làm giảm dự trữ kiềm trong máu, đào thải amoniac ra nước tiểu và kiềm ra nước bọt.
Đối với thực vật:
GVHD: PGS.TS Lê Hoàng Nghiêm SVTH: Phạm Đăng Minh 8
-Ảnh hưởng đến sự sinh trưởng của rau quả (nồng độ SO 0,03 ppm) 2
-Các loại thực vật nhạy cảm với SO : rêu, địa y…lá sẽ vàng úa và bị rụng 2
-Mưa axit gây tổn thương cho cây cối, cản trở sinh trưởng của bộ phận rễ, suy giảm khả
năng chống bệnh và sâu hại của cây. Làm axit hóa đất , giải phóng các ion kim loại trong
đất gây độc cho thực vật. IV.
CÁC PHƯƠNG PHÁP XỬ LÝ BỤI 1. Phương pháp khô
1.1 Thiết bị thu hồi bụi
Bảng 1.2 Các thông số đặc trưng của thiết bị thu hồi bụi khô STT Thiết bị Năng suất Hiệu quả xử lý Trở lực Gi@i hạn tối đa (m3/h) (Pa) nhiệt độ ( 0C) 1 Buồng lắng
Không giới (> 50µm 80 ); − 90% 50 ÷ 130 350 ÷ 550 hạn 2 Xiclon 85.000 (> 10 m µ 5 ); 0 − 90% 250 ÷ 1.500 350 ÷ 550 3 Thiết bị gió xoáy 30.000 (> 2 m µ ) 90 ; % <2000 < 250 4 Xiclon tổ hợp 170.000 (> 5 ) m µ ;90% 750 ÷ 1.500 350 ÷ 450 5 Thiết bị lắng quán 127.500 (> 2 m µ 90 ); % 750 ÷ 1.500 < 400 tính 6 Thiết bị thu hồi 42.500 (> 2µm 90 ); % < 400 bụi động a) Buồng lắng bụi
Thu gom bụi hoạt động theo nguyên lý sử dụng lực hấp dẫn, trọng lực để lắng đọng những
phần tử bụi ra khỏi không khí. Ưu điểm: m µ •
Có thể thu gom các hạt bụi có kích thước lớn hơn 10 . •
Thiết bị đơn giản, dễ chế tạo. •
Chi phí vận hành và bảo trì thấp. •
Thường được sử dụng để làm sạch sơ bộ.
GVHD: PGS.TS Lê Hoàng Nghiêm SVTH: Phạm Đăng Minh 9 Nhược điểm •
Buồng có kích thước lớn, thiết bị cồng kềnh. • Khó dọn vệ sinh. •
Vận tốc dòng khí nhỏ 1-2 m/s. µm •
Xử lý hiệu quả các hạt > 50
. Không xử lý được bụi có kích thước nhỏ. •
Hiệu quả xử lý thường chỉ đạt < 70%.
Một số dạng buồng lắng bụi: a a c c
a) Buồng đơn b) Buồng có vách ngăn c) Buồng nhiều tầng
Hình 1.1:Các dạng buồng lắng bụi b)
Thiết bị lắng quán tính
-Nguyên lý hoạt động: Khi đột ngột thay đổi chuyển hướng chuyển động của dòng khí, các
hạt bụi dưới tác dụng của lực quán tính tiếp tục chuyển động theo hướng cũ và tách ra khỏi khí, rơi vào bình chứa.
-Vận tốc của khí trong thiết bị khoảng 1 m/s, còn ở ống vào khoảng 10 m/s. Hiệu quả xử lý
của thiết bị này dạng này từ (65÷80)% đối với các hạt bụi có kích thước (25÷30 )µm. Trở
lực của chúng trong khoảng (150÷390) N/m .2
GVHD: PGS.TS Lê Hoàng Nghiêm SVTH: Phạm Đăng Minh 10 Khí saïch Khí saïch Khí baån Khí baån Khí saïch Khí baån Buïi Buïi Buïi
a) Có vách ngăn b) Có chóp mở rộng c) Nhập khí ngang hông
Hình 1.2: Thiết bị lắng bụi quán tính c) Thiết bị lá sách
-Khí đi qua mạng chắn, đổi hướng đột ngột, các hạt bụi do quán tính chuyển động theo
hướng cũ tách ra khỏi khí hoặc va đập vào các tấm phẳng nghiêng, lắng trên đó rồi rơi xuống dòng khí bụi.
-Kết quả khí được chia thành hai dòng: Dòng chứa bụi nồng độ cao (10% thể tích) được
hút qua xiclon để tiếp tục xử lý, rồi sau đó được trộn với dòng đi qua các tấm chắn (chiếm 90% thể tích).
-Vận tốc khí trước mạng chóp phải đủ cao (15m/s) để đạt hiệu quả tách bụi quán tính). Trở
lực của lưới khoảng(100÷500)N/m2.
-Thiết bị lá sách được sử dụng để thu hồi bụi có kích thước trên 20µm. Khí buïi Khí saïch Khí buïi
Hình 1.3: Thiết bị lá sách
GVHD: PGS.TS Lê Hoàng Nghiêm SVTH: Phạm Đăng Minh 11 d) Xiclon
-Thiết bị xiclon được ứng dụng rộng rãi trong công nghiệp có hiệu quả cao khi kích thước
hạt bụi > 5µm. Thu hồi bụi trong xiclon diễn ra dưới tác dụng của lực ly tâm.
Nguyên lý hoạt động: Dòng khí nhiễm bụi được đưa vào phần trên của xiclon. Thân xiclon
thường là hình trụ có đáy là chóp cụt. Ống khí bẩn vào thường có dạng khối chữ nhật,
được bố trí theo phương tiếp tuyến với thân xiclon. Khí vào xiclon thực hiện chuyển động
xoắn ốc, dịch chuyển xuống dưới và hình thành dòng xoáy ngoài. Lúc đó, các hạt bụi, dưới
tác dụng của lực ly tâm văng vào thành xiclon. Tiến gần đáy chóp, dòng khí bắt đầu quay
ngược trở lại và chuyển động lên trên hình thành dòng xoắn trong. Các hạt bụi văng đến
thành, dịch chuyển xuống dưới nhờ lực đẩy của dòng xoáy và trọng lực và từ đó ra khỏi
xiclon, qua ống xả bụi. Khí sạch sau xử lý được đưa ra ở phía trên đỉnh thiết bị bởi ống trụ tâm.
-Trong công nghiệp, xiclon được chia làm hai nhóm: hiệu quả cao và năng suất cao. Nhóm
thứ nhất đạt hiệu cao nhưng yêu cầu chi phí lớn, còn nhóm thứ hai có trở lực nhỏ nhưng
thu hồi các hạt mịn kém hơn. Ưu điểm: •
Không có phần chuyển động nên tăng độ bền của thiết bị •
Có thể làm việc ở nhiệt độ cao (đến 5000C) •
Thu hồi bụi ở dạng khô •
Trở lực hầu như cố định và không lớn (250÷1500) N/m2 • Làm việc ở áp suất cao • Năng suất cao; rẻ •
Có khả năng thu hồi vật liệu mài mòn mà không cần bảo vệ bề mặt xiclon •
Hiệu suất không phụ thuộc sự thay đổi nồng độ bụi • Chế tạo đơn giản. Nhược điểm: •
Hiệu quả vận hành kém khi bụi có kích thước nhỏ hơn 5 µm •
Không thể thu hồi bụi kết dính. Xiclon đơn
GVHD: PGS.TS Lê Hoàng Nghiêm SVTH: Phạm Đăng Minh 12
Xiclon đơn là thiết bị hoàn chỉnh hoạt động độc lập và có nhiều dạng khác nhau như dạng
hình trụ, dạng hình côn. Việc sử dụng loại nào là tùy thuộc vào đặc tính của bụi và yêu cầu
xử lý. Dạng hình trụ có năng suất lớn, còn loại hình côn có hiệu suất lớn.
Xiclon tổ hợp
-Xiclon tổ hợp là một thiết bị lọc bụi gồm một số lượng lớn các đơn nguyên xiclon mắc
song song trong một vỏ có chung đường dẫn khí vào, khí ra, thùng chứa bụi. Trong xiclon
tổ hợp, việc tạo nên chuyển động quay của dòng khí trong thiết bị không phải do dòng khí
được đưa vào theo phương tiếp tuyến mà do các dụng cụ định hướng dạng chong chóng
hoặc dạng hóa hồng đặt trong thiết bị. Do vậy kích thước của xiclon tổ hợp nhỏ hơn kích
thước của xiclon đơn có cùng công suất.
-Nguyên lý làm việc của xiclon tổ hợp: Khi bụi đi vào ống nối và sau đó di vào hộp phân
phối, từ đó đi vào các không gian giữa vỏ đơn nguyên và ống xả. Trong khoảng không gian
này có đặt các dụng cụ định hướng để tạo sự chuyển động xoáy. Bụi sau khi tách đi qua lỗ
tháo bụi và vào thùng chứa. Khí saïch Khí buïi Khí Buïi Buïi a) xiclon đơn b) xiclon nhóm Hình 1.4: Xiclon e)
Thiết bị thu hồi bụi xoáy
GVHD: PGS.TS Lê Hoàng Nghiêm SVTH: Phạm Đăng Minh 13
Cũng giống như xiclon, thiết bị này ứng dụng có chế lắng bụi ly tâm. Điểm khác cơ bản so
với xiclon là trong thiết bị này có dòng khí xoáy phụ trợ.
Ưu điểm của thiết bị thu hồi bụi xoáy so với xiclon là: •
Hiệu quả thu hồi bụi phân tán cao hơn •
Bề mặt trong của thiết bị không bị mài mòn •
Có thể xử lý khí có nhiệt độ cao hơn do ứng dụng dòng khí thứ cấp lạnh •
Có thể điều chỉnh quá trình phân riêng bụi bằng cách thay đổi lượng khí thứ cấp. Nhược điểm: •
Cần có cơ cấu thổi khí phụ trợ • Vận hành phức tạp •
Lượng khí qua thiết bị lớn.
1.2 Thiết bị lọc bụi khô a)
Thiết bị lọc vải
Đây là thiết bị phổ biến nhất. Thiết bị gồm nhiều ống tay áo đường kính từ 125-300 mm, chiều cao từ 2,5-3,5 m.
Vải lọc phải thỏa mãn các yêu cầu sau đây: •
Khả năng chứa bụi cao và ngay sau khi phục hồi bảo đảm hiệu quả lọc cao; •
Giữ được khả năng cho khí xuyên qua tối ưu; •
Độ bền cơ học cao khi ở nhiệt độ cao và môi trường ăn mòn; •
Có khả năng được phục hồi; • Giá thấp.
Ưu điểm: Hiệu suất lọc bụi cao (98-99%), phù hợp với các loại bụi có đường kính nhỏ. Nhược điểm: •
Giá thành và chi phí quả lý cao •
Độ bền nhiệt của thiết bị lọc bụi thấp và thường dao động theo độ ẩm b)
Thiết bị lọc bụi tĩnh điện
-Những thiết bị thu bụi tĩnh điện là những thiết bị tổng hợp để làm sạch không khí khỏi
những phần tử bụi rắn và lỏng. Ưu điểm: •
Mức độ làm sạch cao (99%) • Chi phí năng lượng thấp •
Có thể thu gom các hạt bụi có kích thước 0,1-100µm (và nhỏ hơn) khi nồng độ trong
không khí từ vài gam đến 50 g/m3
GVHD: PGS.TS Lê Hoàng Nghiêm SVTH: Phạm Đăng Minh 14 Nhược điểm: • Độ nhạy cao •
Không thể sử dụng cho các loại bụi dễ gây cháy nổ 2) Phương pháp ư@t a)
Thiết bị rửa khí trần.
-Thiết bị rửa khí trần là tháp đứng, thường là hình trụ mà trong đó có sự tiếp xúc giữa khí
và các giọt lỏng (được tạo ra bởi các vòi phun). Theo hướng chuyển động của khí và lỏng,
tháp trần chia ra ngược chiều, cùng chiều và tưới ngang.
-Tháp trần đạt hiệu quả xử lý cao đối với hạt bụi có d ≥ 10µm và kém hiệu quả khi bụi có d < 5 µm.
-Vận tốc dòng khí trong thiết bị thường trong khoảng (0,6÷1,2) m/s đối với thiết bị không
có bộ tách giọt và khoảng (5÷8) m/s đối với thiết bị có bộ tách giọt. Trở lực của tháp trần
không có bộ tách giọt và lưới phân phối khí thường không quá 250N/m2. b)
Thiết bị rửa khí đệm.
-Tháp rửa khí đệm là tháp với lớp đệm đổ đống hoặc được sắp xếp theo trật tự xác định.
Chúng được ứng dụng để thu hồi bụi dễ dính ướt, nhưng với nồng độ không cao và khi kết
hợp với quá trình hấp thụ do lớp đệm hay bị bịt kín nên loại thiết bị này ít được sử dụng.
-Để đảm bảo độ dính ướt của bề mặt lớp đệm, chúng thường được để nghiêng 7÷10 0về
hướng dòng khí, lưu lượng lỏng (0,15÷0,51) l/m3.
-Hiệu quả xử lý bụi phụ thuộc vào nhiều yếu tố như: cường độ tưới, nồng độ bụi, độ phân
tán. Hiệu quả thu hồi bụi có kích thước d ≥ 2µm trên 90%. Thực tế hạt có kích thước
(2÷5)µm được thu hồi 70% còn hạt lớn hơn (80÷90)%. c)
Thiết bị rửa khí vận tốc cao (thiết bị rửa khí Venturi)
-Để làm sạch khí khỏi bụi có kích thước (1÷2) µm và nhỏ hơn, người ta ứng dụng chủ yếu
các thiết bị rửa khí có vận tốc lớn.
-Nguyên lý hoạt động: dòng khí bụi chuyển động với vận tốc (70÷150)m/s đập vỡ nước
thành các giọt cực nhỏ. Độ xoáy rối cao của dòng khí và vận tốc tương đối giữa bụi và giọt
lỏng lớn thúc đẩy quá trình lắng bụi trên các giọt lỏng.
-Loại thiết bị này dễ bị tắc khi bụi bám dày các khâu đệm. Nó được sử dụng nhiều khi
dùng lọc bụi thấm ướt tốt và đặc biệt trong các trường hợp lọc bụi kèm theo làm nguội và hấp thụ khí.
-Các thiết bị rửa khí Venturi có năng suất đến 500000 m khí/h, vận tốc khí đến 150m/s. 3
GVHD: PGS.TS Lê Hoàng Nghiêm SVTH: Phạm Đăng Minh 15 V.
CÁC PHƯƠNG PHÁP XỬ LÝ SO2 1.
Phương pháp hấp thụ
Nguyên tắc cơ bản của việc hấp thụ khí là tạo ra một sự tiếp xúc giữa dòng khí chứa các
chất ô nhiễm và các hạt dung dịch hấp thụ thường được phun ra với kích thước nhỏ và mật
độ lớn. Các chất ô nhiễm được tách ra bằng việc hòa tan trong chất lỏng hấp thụ hoặc phản
ứng hóa học giữa chất ô nhiễm và dung dịch hấp thụ.
Hấp thụ khí SO2 bằng nước
-Là phương pháp đơn giản được áp dụng sớm nhất để loại bỏ khí SO2 trong khí thải, nhất
là trong khói từ các lò công nghiệp
-Ưu điểm: rẻ tiền, dễ tìm, hoàn nguyên được
-Nhược điểm: do độ hòa tan của khí SO 2trong nước quá thấp nên thường phải dùng một
lượng nước rất lớn và thiết bị hấp thụ phải có thể tích rất lớn
Hấp thụ khí SO2 bằng CaCO3 (Đá vôi) hoặc CaO (Vôi nung)
- Là phương pháp áp dụng rất rộng rãi trong công nghiệp vì hiệu quả xử lí cao, nguyên liệu
rẻ tiền và có sẵn ở mọi nơi. Các phản ứng xảy ra trong quá trình xử lí như sau: CaCO3 + SO2 CaSO3 + CO3 CaO + SO2 CaSO3 2CaSO3 + O2 2CaSO4
- Hiệu suất hấp thụ SO2 bằng sữa vôi đạt 98%. Quy trình công nghệ đơn giản, chi phí hoạt
động thấp, chất hấp thụ dễ tìm và rẻ tiền, có khả năng xử khí mà không cần làm nguội và xử lí bụi sơ bộ.
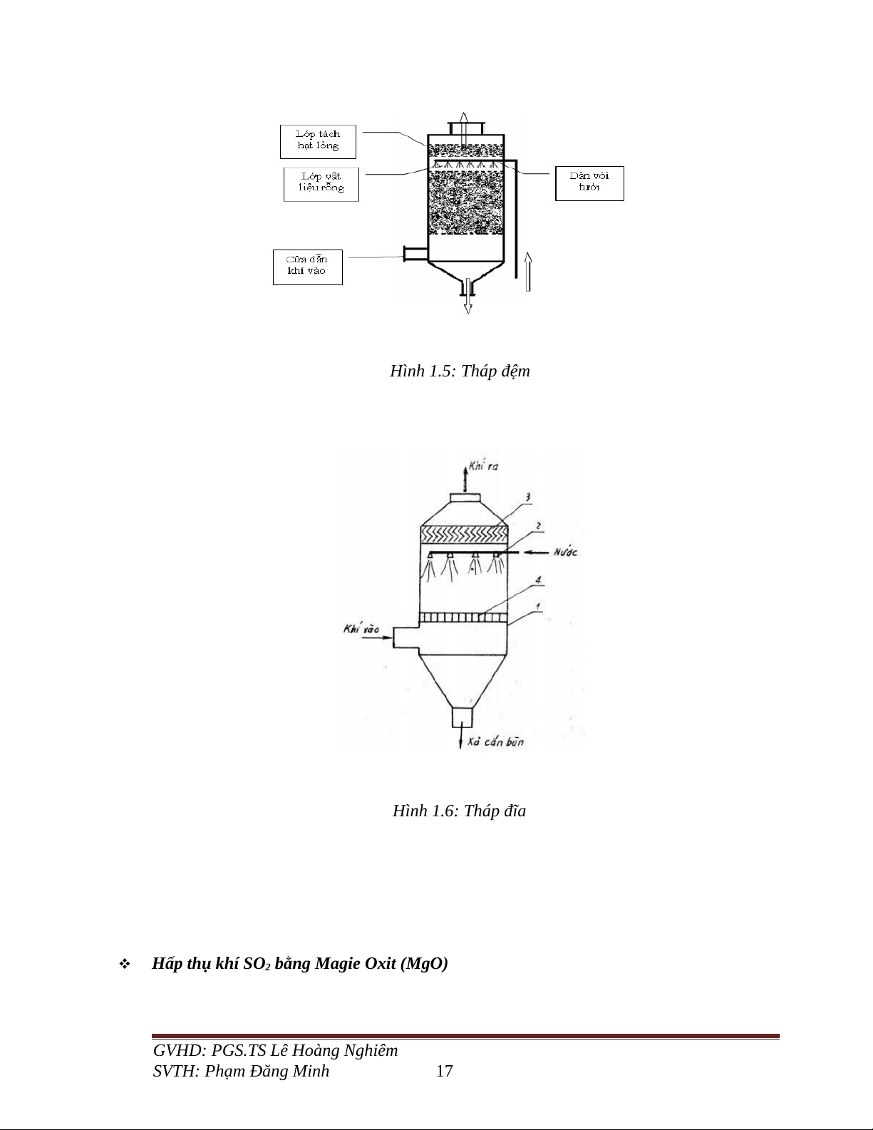
- Quá trình hấp thụ được thực hiện trong nhiều tháp khác nhau: tháp đệm, tháp chảy màng,
tháp đĩa, tháp phun, tháp sủi bọt và tháp tầng sôi.
GVHD: PGS.TS Lê Hoàng Nghiêm SVTH: Phạm Đăng Minh 16
Hình 1.5: Tháp đệm
Hình 1.6: Tháp đĩa
Hấp thụ khí SO2 bằng Magie Oxit (MgO)
GVHD: PGS.TS Lê Hoàng Nghiêm SVTH: Phạm Đăng Minh 17
- SO2 được hấp thụ bởi oxit – hydroxit magiê, tạo thành tinh thể ngậm nước sunfit magiê.
Trong thiết bị hấp thụ xảy ra các phản ứng sau: MgO + SO2 MgSO3 MgO + H2O Mg(OH)2
MgSO3 + H2O + SO2 Mg(HSO3)2
Mg(OH)2 + Mg(HSO3)2 2MgSO3 + 2H2O
- Độ hòa tan của sunfit magiê trong nước bị giới hạn, nên lượng dư ở dạng MgSO3.6H O 2
và MgSO3.3H2O rơi xuống thành cặn lắng.
Hấp thụ khí SO2 bằng Zn
- Xử lí khí SO2 bằng kẽm oxit (ZnO) cũng tương tự như phương pháp oxit magiê tức là
dùng phản ứng giữa SO2 với kẽm oxit để thu các muối sunfit và bisunfit, sau đó dùng nhiệt
để phân ly thành SO2 và ZnO.
- Trong phương pháp này, chất hấp thụ là kẽm. Phản ứng hấp thụ như sau:
SO2 + ZnO + 2,5H2O ZnSO3.2,5 H2O + Khi nồng độ SO lớn 2 2SO2 + ZnO + H O 2 Zn(HSO3)2
Sunfit kẽm tạo thành không tan trong nước được tách ra bằng xyclon nước và sấy khô.
Tái sinh ZnO bằng cách nung sunfit ở 350oC. ZnSO .2,5H 3 2O SO2 + ZnO + 2,5H O 2
- SO2 được chế biến tiếp tục còn ZnO quay lại hấp thụ.
Hấp thụ khí SO
2 bằng natri sunfit (Na2SO3)
- Ưu điểm của phương pháp: là ứng dụng chất hấp thụ hóa học không bay hơi có khả năng
hấp thụ lớn. Phương pháp có thể được ứng dụng để loại các SO ra khỏi khí 2 với bất kì nồng
độ nào. Có nhiều phương án khác nhau. Nếu dùng soda để hấp thụ ta thu được sunfit và bisunfit natri.
GVHD: PGS.TS Lê Hoàng Nghiêm SVTH: Phạm Đăng Minh 18 Na SO 2 3 + SO2 + H2O 2NaHSO3
- Khí tham gia phản ứng với sunfit và bisunfit làm tăng nồng độ bisunfit SO2 + NaHCO3 + Na SO 2 3 + H2O 3NaHSO3
- Dung dịch hình thành tác dụng với kẽm tạo thành sunfit kẽm NaHSO3 + ZnO ZnSO3 + NaOH 2.
Phương pháp hấp phụ
- Quá trình hấp phụ được sử dụng rộng rãi để khử ẩm trong không khí loại bỏ những chất
gây mùi, hơi dung môi, những chất màu, những ion hòa tan trong nước. Có hai phương thức hấp phụ:
+ Hấp phụ vật lý: Các phần tử khí bị giữ lại trên bề mặt chất hấp phụ nhờ lực liên kết giữa
các phần tử. Quá trình này có toả nhiệt, độ nhiệt toả ra phụ thuộc vào cường độ lực liên kết phân tử.
+ Hấp phụ hoá học: Khí bị hấp phụ do có phản ứng hóa học với vật liệu hấp phụ, lực liên
kết phân tử trong trường hợp này mạnh hơn ở hấp phụ vật lý. Do vậy lượng nhiệt toả ra lớn
hơn, và cần năng lượng nhiều hơn.
Phương pháp hấp thụ bằng các amin thơm
- Để hấp thụ SO 2trong khí thải của luyện kim màu (nồng độ SO 2khoảng 1-2% thể tích)
người ta sử dụng dung dịch C6H3(CH3)NH ,2 tỉ lệ C6H3(CH3) NH 2 2 : nước = 1:1).
C6H3(CH3)2NH2 không trộn lẫn với nước nhưng khi liên kết với SO2 thành (C6H (CH 3 3)2NH2) .SO 2 2 tan trong nước.
Phương pháp CaCO3
- Quá trình hấp thụ bằng huyền phù CaCO3, diễn ra theo các giai đoạn. Ưu điểm của
phương pháp này là: Quy trình công nghệ đơn giản, chi phí hoạt động thấp, chất hấp thụ dễ
tìm và rẻ, có khả năng xử lí khí mà không cần làm nguội và xử lí sơ bộ.
- Quá trình hấp thụ được thực hiện trong nhiều tháp khác nhau: tháp đệm, tháp chảy màng,
tháp đĩa, tháp phun, tháp sủi bọt và tháp tầng sôi.
GVHD: PGS.TS Lê Hoàng Nghiêm SVTH: Phạm Đăng Minh 19
Xử lí khí SO2 bằng các chất hấp phụ thể rắn
- Các quá trình xử lí khí SO 2bằng chất hấp thụ theo phương pháp ướt có nhược điểm là
nhiệt độ của khí thải bị hạ thấp, độ ẩm lại tăng cao gây han rỉ thiết bị máy móc,hệ thống
cồng. Để khắc phục yếu điểm trên và do nhu cầu hoàn nguyên vật liệu hấp phụ và làm sạch
khí thải khỏi bụi của vật liệu hấp phụ người ta đã kết hợp giữa quá trình khô và ướt ngày
càng trở nên thiết thực. •
Hấp phụ khí SO2 bằng than hoạt tính •
Xử lí khí SO bằng than hoạt tính có tưới nước - Qu 2 á trình LURGI •
Xử lí SO2 bằng nhôm oxit kiềm hóa •
Xử lí khí SO bằng mangan oxit (MnO) 2 •
Xử lí SO2 bằng vôi và dolomit trộn vào than nghiền
CHƯƠNG II: ĐỀ XUẤT VÀ THUYẾT MINH QUY TRÌNH CÔNG NGHỆ
A. TÍNH TOÁN LƯU LƯỢNG VÀ NỒNG ĐỘ ĐẦU VÀO
Bảng 2.1:Thành phần dầu DO (%)
GVHD: PGS.TS Lê Hoàng Nghiêm SVTH: Phạm Đăng Minh 20 Thành Cp Hp Op Np Sp Ap Wp phần DO 86,3 10,5 0,3 0,3 0,5 0,3 1,8
(Nguồn: Tính toán kỹ thuật nhiệt lò Công Nghiệp tập I)
Bảng 2.2:Thành phần rác công nghiệp thông thường (%) Thành Cp Hp Op Np Sp Ap Wp phần Rác CN 33 4,36 27,67 0,65 0,12 4,19 30
(Nguồn: Quản lý và xử lý chất thải rắn-NguyDn Văn Phước)
Lượng nhiên liệu tiêu thụ: 100l dầu DO/1 tấn rác.
Để đốt 1 tấn rác cần 100 l dầu DO
Lượng dầu DO cần cho 1h:
3 tấn/h 100 l dầu = 300 l dầu/h = 279 kg dầu/h (1 l dầu = 0,93 kg dầu)
Bảng 2.3: Nồng độ các chất phát sinh trong quá trình cháy khi đốt nhiên liệu STT Thông số Đơn vị Công thức Kết quả
GVHD: PGS.TS Lê Hoàng Nghiêm SVTH: Phạm Đăng Minh 21 1
Lượng không khí khô lý thuyết Nm /kg DO 3 V0=0,089C +0,264H p - p 10,45936 0,0333(Op-Sp) 2
Lượng không khí ẩm lý thuyết (ở Nm3/kg DO Va=(1+0,0016d)V0 10,74385
t=300C, (độ ẩm tương đối) d=17 g/kg 3
Lượng không khí ẩm thực tế với hệ Nm3/kg DO Vt=Va 12,89262 số thừa kk 4 Lượng khí SO 3 -2
2 trong sản phẩm cháy Nm /kg DO 0,683.10 .Sp 0,00342 5
Lượng khí CO trong sản phẩm cháy Nm3/kg DO η 0,00966
với hệ số cháy không hoàn toàn VCO=1,865.10-2. .Cp η = 0 , 0 06 6 Lượng khí CO 3 η
2 trong sản phẩm cháy Nm /kg DO 1,58954 =1,853.10-2.(1- ).Cp 7
Lượng hơi nước trong sản phẩm cháy Nm /kg DO 3 = 1,5385 0,111.H +0,0124W p +0,0016dV p t 8 Lượng khí N 3 -2 2 trong sản phẩm cháy Nm /kg DO =0,8.10 .Np+0,79.Vt 10,18757 9 Lượng O 3 2 trong không khí thừa Nm /kg DO =0,21.(Va 0,45124
Lượng khí NOx trong SPC ( kg/m3 10 1,18 chuẩn) Nm3/kg DO = . Trong đó 1,723.10-3.B 0,00231 11
Thể tích khí N2 tham gia vào phản Nm3/kg DO =0,5 0,00116 ứng của NOx 12
Thể tích khí O2 tham gia vào phản Nm3/kg DO = 0,00231 ứng của NOx 14
Lượng sản phẩm cháy tổng Nm3/kg DO 13,77877
GVHD: PGS.TS Lê Hoàng Nghiêm SVTH: Phạm Đăng Minh 22 cộng(đktc) 15
Lưu lượng khói ở điều kiện thực tế m3/s Lt= 1,85 ( t 0 khói=200 C) 16 Tải lượng khí SO ( kg/m3 2 chuẩn) g/s 0,77554 17
Tải lượng tro bụi với hệ số g/s 0,0465 18 Nồng độ phát thải SO 3 2 g/Nm 0,419 19
Nồng độ phát thải bụi g/Nm3 0,025
Khối lượng rác đốt mỗi giờ là 3000kg. Với cách tính toán tương tự như trên ta có kết quả như bảng
Bảng 2.4: Nồng độ các chất phát sinh trong quá trình cháy khi đốt rác STT Thông số Đơn vị Kết quả 1 V0 Nm3/kg rác 3,17063 2 Va Nm3/kg rác 3,25687 3 Vt Nm3/kg rác 3,90824 4 Nm3/kg rác 0,00082 5 VCO Nm3/kg rác 0,00369 6 Nm3/kg rác 0,60782
GVHD: PGS.TS Lê Hoàng Nghiêm SVTH: Phạm Đăng Minh 23 7 Nm3/kg rác 0,96226 8 Nm3/kg rác 3,09271 9 Nm3/kg rác 0,13679 10 Nm3/kg rác 0,00354 11 Nm3/kg rác 0,00177 12 Nm3/kg rác 0,00354 14 Nm3/kg rác 4,80232 15 Lt m3/s 6,93 16 g/s 1,99943 17 g/s 6,98333 18 g/Nm3 0,288 19 g/Nm3 1,008
Bảng 2.5: Nồng độ các chất ô nhiDm từ lò đốt Chỉ tiêu
Nồng độ ô nhiễm Nồng độ ô nhiễm Nồng độ ô nhiễm Theo QCVN từ đốt cháy dầu từ đốt cháy rác (mg/Nm ) 3 30:2012/BTNMT (mg/Nm ) 3 (mg/Nm ) 3 cột B Bụi 25 1008 1033 100 SO2 419 288 707 150
Tổng lưu lượng khí thải L =1,85+6,93=8,78 m3/s=31608 m3/h
GVHD: PGS.TS Lê Hoàng Nghiêm SVTH: Phạm Đăng Minh 24