



















Preview text:
lOMoARcPSD| 59149108
TRƯỜNG ĐẠI HỌC ĐIỆN LỰC
KHOA CÔNG NGHỆ THÔNG TIN BÁO CÁO MÔN HỌC
ĐỒ ÁN LẬP TRÌNH .NET ĐỀ TÀI:
QUẢN LÝ QUÁN BILLIARD ( XƯỞNG BIDA)
Sinh viên thực hiện: PHẠM NGỌC TÚ NGUYỄN MINH HIẾU
Giảng Viên Hướng Dẫn: PHƯƠNG VĂN CẢNH Ngành:
CÔNG NGHỆ THÔNG TIN Chuyên Ngành:
CÔNG NGHỆ PHẦN MỀM Lớp: D16CNPM3 PHIẾU CHẤM ĐIỂM
Sinh viên thực hiện:
STT Họ và tên Nội dung thực Điểm Chữ ký hiện lOMoARcPSD| 59149108 1 Phạm Ngọc Tú 2 Nguyễn Minh Hiếu Giáo viên chấm điểm: Họ và tên Chữ ký Ghi chú Giáo viên 1: Giáo viên 2: MỤC LỤC DANH MỤC HÌNH lOMoARcPSD| 59149108 LỜI CẢM ƠN
Em xin chân thành cảm ơn các thầy các cô trong khoa Công nghệ thông tin của
trường đại học Điện Lực. Cảm ơn các thầy cô đang dần trang bị cho chúng em những
kiến thức cần thiết cho ngành học cũng như công việc tương lai của chúng em .
Đặc biệt, chúng em xin chân thành cảm ơn thầy Phương Văn Cảnh đã tận tình
hướng dẫn, chỉ bảo, đưa ra những đóng góp ý kiến rất hữu ích và quý báu cho chúng
em trong suốt quá trình thực hiện báo cáo chuyên đè môn cơ sở lập trình web này.
Chúng em xin gửi lời cám ơn đến gia đình, bạn bè đã động viên, chia sẻ và
cung cấp các tài liệu hữu ích cho nhóm.
Mặc dù đã cố gắng nỗ lực thực hiện đề tài với quyết tâm cao nhưng chắc hẳn
đề tài không thể tránh khỏi những thiếu sót. Nhóm em rất mong nhận được những ý
kiến đóng góp ý kiến của thầy cô và các bạn để đề tài của chúng em ngày càng hoàn
thiện và hướng tới áp dụng thực tế hơn.
Em xin chân thành cảm ơn! LỜI GIỚI THIỆU
Đồ án lập trình .NET của chúng tôi là một dự án thú vị và mang tính ứng dụng
cao. Đây là sản phẩm của sự nỗ lực và học hỏi của chúng em trong quá trình học tập
và thực hành công nghệ .NET. Đồ án này không chỉ là một bài kiểm tra kiến thức
mà còn là cơ hội để chúng tôi áp dụng những kiến thức đã học vào thực tế và tạo ra
một sản phẩm có ích cho cộng đồng.
Đồ án của chúng em là một ứng dụng quản lý nhà hàng. Nó được phát triển
bằng cách sử dụng công nghệ .NET và các công nghệ liên quan. Chúng em đã đầu
tư rất nhiều thời gian và công sức vào đồ án này. Quá trình phát triển đã bao gồm
các bước từ việc nghiên cứu và thiết kế, viết mã, kiểm thử, và triển khai. Chúng em
đã đối mặt với nhiều thách thức và học hỏi từ những sai sót. Điều quan trọng là
chúng em đã tự học hỏi và cải thiện sản phẩm để đảm bảo tính ổn định và hiệu suất của nó.
Kết quả cuối cùng của đồ án là ứng dụng quản lý nhà hàng. Chúng em tự hào
về những gì chúng em đã làm được và hy vọng rằng sản phẩm của chúng em sẽ
mang lại giá trị cho người dùng và cộng đồng.
Cuối cùng, chúng em xin một lần nữa bày tỏ lòng biết ơn đến tất cả mọi người
đã ủng hộ đồ án của chúng em. Đây là một chặng đường quan trọng trong sự phát
triển của chúng em và chúng em hy vọng rằng đồ án này sẽ giúp ích cho chúng em trong tương lai. lOMoARcPSD| 59149108
CHƯƠNG 1: KHẢO SÁT VÀ XÁC LẬP DỰ ÁN
1.1 Mục đích nghiên cứu
Xây dựng quản lý phần mềm quản lý nhà hàng nhằm mục đích hồ trợ cho các
nhà hàng có thể kiểm soát cũng như quản lý được các tác vụ một cách tiện lợi, dễ
dàng hơn, nhanh chóng và hiệu quả hơn, hỗ trợ người dùng có thể dễ dàng tiếp cận
và làm quen với hệ thống.
1.2 Lý do lựa chọn đề tài
Lý do chọn đề tài lập trình ứng dụng "Quản lý quán Xưởng Billiard" là sự kết
hợp hoàn hảo giữa đam mê của tôi về công nghệ và niềm đam mê về ngành dịch vụ.
Dưới đây là những lý do cụ thể vì sao chúng tôi đã quyết định làm việc trên đề tài này:
- Kết nối công nghệ và ngành dịch vụ: Việc phát triển một ứng dụng quản lý
quán billiard sẽ giúp tôi kết nối hai sở thích chính của mình - lập trình và
ngành dịch vụ. Điều này có nghĩa là tôi có cơ hội áp dụng kiến thức công nghệ
vào một lĩnh vực thực tế và đóng góp vào cải thiện quản lý và hoạt động của quán.
- Giải quyết vấn đề thực tế: Ngành dịch vụ giải trí thường gặp nhiều thách thức
trong việc quản lý đặt chỗ, thêm đơn, tồn kho, và thanh toán. Bằng cách xây
dựng một ứng dụng quản lý quán billiard, tôi hy vọng giúp giải quyết một
phần của những vấn đề này và giúp quán hoạt động hiệu quả hơn.
- Ứng dụng thực tế cho kiến thức: Để phát triển ứng dụng quản lý quán billiard,
tôi sẽ phải áp dụng nhiều khía cạnh của kiến thức lập trình và phát triển phần
mềm, từ quản lý cơ sở dữ liệu đến giao diện người dùng và tích hợp thanh
toán trực tuyến. Đây là cơ hội tuyệt vời để áp dụng và củng cố kiến thức của mình.
- Phát triển kỹ năng: Xây dựng một ứng dụng quản lý quán billiard sẽ đòi hỏi
tôi phải phát triển nhiều kỹ năng, bao gồm phân tích, thiết kế, lập trình, và
kiểm thử. Điều này sẽ giúp tôi trở nên đa năng và tự tin hơn trong việc làm
việc với các dự án phát triển phần mềm khác trong tương lai.
Tóm lại, việc chọn đề tài lập trình ứng dụng "Quản lý quán Xưởng Billiard" là một
cơ hội thú vị để kết hợp đam mê công nghệ và ngành dịch vụ, giải quyết vấn đề thực
tế, và phát triển kỹ năng lập trình và phát triển phần mềm. lOMoARcPSD| 59149108
1.3 Phạm vi tài liệu
Phần mềm này sẽ hỗ trợ các chủ quán quản lý quán được chặt chẽ, thuận lợi hơn. -
Tài liệu thiết kế ứng dụng:
• Mô tả chi tiết về thiết kế giao diện người dùng, bao gồm các màn hình,
khung viền, và cách sắp xếp các yếu tố trên giao diện.
• Sơ đồ cơ sở dữ liệu và mô hình dữ liệu của ứng dụng, mô tả cấu trúc dữ liệu
và quan hệ giữa các bảng dữ liệu. - Tài liệu mã nguồn:
Mã nguồn của ứng dụng sẽ được tài liệu hóa và chú thích một cách chi tiết, bao gồm
giải thích về cách các phần mã hoạt động và tương tác với nhau.
Hướng dẫn về việc cài đặt môi trường phát triển, cài đặt các công cụ cần thiết, và
cách khởi chạy ứng dụng trên môi trường phát triển. - Tài liệu triển khai:
• Hướng dẫn về việc triển khai ứng dụng lên các môi trường sản xuất hoặcmáy chủ.
• Hướng dẫn về cách cấu hình và quản lý cơ sở dữ liệu, cài đặt máy chủ web,
và kết nối ứng dụng với các dịch vụ bên ngoài. -
Tài liệu sử dụng và quản lý:
• Hướng dẫn người dùng cuối về cách sử dụng ứng dụng, bao gồm cáchđặt
bàn, thêm đơn, và thanh toán.
• Hướng dẫn quản trị viên về cách quản lý đơn, đặt bàn, và quản lý thôngtin khách hàng. -
Tài liệu bảo trì và hỗ trợ:
• Hướng dẫn về việc bảo trì và cập nhật ứng dụng, bao gồm việc kiểm tralỗi và sửa chữa.
• Thông tin liên hệ hỗ trợ kỹ thuật và hướng dẫn về cách báo cáo sự cốhoặc yêu cầu hỗ trợ.
Tài liệu này sẽ đảm bảo tính đầy đủ và dễ sử dụng của ứng dụng "Quản lý
quán Xưởng Billiard" và giúp cho người phát triển, người quản trị, và người dùng
cuối có khả năng sử dụng và duy trì ứng dụng một cách hiệu quả.
1.3.1. Mô tả tài liệu
Tài liệu code cho ứng dụng "Quản lý quán Xưởng billiard" bao gồm một tập
hợp các tài liệu quan trọng giúp hiểu về cấu trúc, chức năng và cách hoạt động của mã nguồn. lOMoARcPSD| 59149108
- Thư mục chính (Root Directory):
• Thư mục gốc chứa tất cả các thành phần liên quan đến ứng dụng, bao gồm
các tệp mã nguồn, tệp tài liệu, và các tệp cấu hình.
• Tên thư mục gốc thường có tên gợi nhớ liên quan đến tên ứng dụng.
- Thư mục Mã nguồn (Source Code Directory):
• Thư mục này chứa toàn bộ mã nguồn của ứng dụng, được chia thành các
thư mục con tương ứng với từng phần chức năng của ứng dụng.
• Mã nguồn được viết bằng ngôn ngữ lập trình .NET (C#) và có sử dụng các
thư viện và framework liên quan.
- Tệp Cấu hình (Configuration Files):
• Tệp cấu hình chứa các thông tin cấu hình quan trọng cho ứng dụng, bao gồm
cơ sở dữ liệu, kết nối mạng, và các cài đặt chung.
• Các tệp này thường được viết dưới dạng JSON hoặc XML để dễ dàng đọc và chỉnh sửa.
- Thư mục Tài liệu (Documentation Directory):
• Thư mục này chứa tài liệu mô tả về cách sử dụng, triển khai, và bảo trì ứng dụng.
• - Tài liệu này có thể là các tệp văn bản, hình ảnh minh họa, hoặc tài
liệuhướng dẫn sử dụng.
- Thư mục Thư viện (Library Directory):
• Thư mục này chứa các thư viện và dependencies cần thiết cho ứng dụng,
bao gồm các thư viện .NET và các gói phụ thuộc (nuget packages). Điều
này giúp quản lý các phần mềm bên ngoài một cách dễ dàng.
- Tệp Hướng dẫn Cài đặt (Installation Guide):
• Tệp này chứa hướng dẫn cài đặt ứng dụng trên môi trường phát triển hoặc
sản xuất, bao gồm các bước cài đặt và cấu hình cần thiết.
1.4. Yêu cầu chung của phần mềm
Yêu cầu chung của phần mềm "Quản lý quán Xưởng Billiard" bao gồm một
loạt các tính năng quan trọng để đảm bảo hoạt động suôn sẻ và hiệu quả của nhà hàng. lOMoARcPSD| 59149108 - Quản lý nhân viên:
Phần mềm cần hỗ trợ quản lý thông tin nhân viên, bao gồm thông tin cá
nhân, vị trí công việc, lịch làm việc và quyền truy cập.
Cần có tính năng tạo, sửa và xóa tài khoản nhân viên cùng với khả nănggán
vai trò và quyền hạn cho từng người dùng. - Quản lý đặt bàn:
Phần mềm cần cho phép nhân viên và quản lý đặt chỗ cho khách hàng, xem
trạng thái của các bàn (trống, đặt chỗ, đang sử dụng), và thực hiện chuyển bàn nếu cần.
Cần có tính năng quản lý danh sách đặt chỗ theo thời gian và hiển thịthông
tin chi tiết về đơn đặt hàng. - Quản lý thực đơn:
Phần mềm cần hỗ trợ quản lý đơn của quán, bao gồm danh sách món ăn và
đồ uống, gậy thuê, giá cả, mô tả, và hình ảnh minh họa.
Cần có tính năng quản lý phiên bản thực đơn để thêm, sửa đổi và xóa món
ăn, cập nhật giá cả, và thay đổi sự có mặt của chúng trên thực đơn. - Quản lý hóa đơn:
Phần mềm cần cho phép tạo hóa đơn cho các đơn đặt hàng của khách hàng,
hiển thị danh sách món đã gọi, tính toán tổng tiền, và xác nhận thanh toán.
Cần hỗ trợ in hóa đơn hoặc gửi hóa đơn điện tử đến khách hàng và cung cấp
thông tin về hóa đơn trong trường hợp cần thiết cho quản lý kế toán. - Thống kê:
Phần mềm cần cung cấp các báo cáo và thống kê về hoạt động của quán,
bao gồm doanh thu hàng ngày, hàng tháng, và hàng năm, số lượng đặt chỗ,
món ăn được đặt hàng nhiều nhất, và biểu đồ doanh thu.
Cần hỗ trợ tìm kiếm và lọc dữ liệu thống kê để giúp quản lý hiểu rõ hơn về hoạt động kinh doanh.
Những yêu cầu chung này cung cấp nền tảng cho phần mềm "Quản lý quán
Xưởng Billiard" để quản lý dễ dàng nhân viên, đặt bàn, thực đơn, hóa đơn và thống
kê hoạt động của nhà hàng một cách hiệu quả và chuyên nghiệp.
1.4.1. Mục tiêu phần mềm
Mục tiêu chính của phần mềm "Quản lý quán Xưởng Billiard" là đảm bảo
rằng nó cung cấp một hệ thống hoàn chỉnh và hiệu quả cho việc quản lý tất cả các lOMoARcPSD| 59149108
khía cạnh của hoạt động quán. Dưới đây là mục tiêu chi tiết mà phần mềm cần đáp ứng: Quản lý nhân viên: -
Mục tiêu: Tạo điều kiện cho việc quản lý thông tin nhân viên dễ dàng, hiệu quả và chính xác. - Yêu cầu:
Lưu trữ thông tin cá nhân và liên hệ của nhân viên.
Xác định và gán quyền truy cập dựa trên vai trò của nhân viên (quản lý, ca
trưởng, nhân viên, etc.). Theo dõi tài khoản. Quản lý đặt bàn: -
Mục tiêu: Đảm bảo quá trình đặt chỗ và quản lý bàn diễn ra thuận tiện và hiệu quả. - Yêu cầu:
Hiển thị trạng thái của các bàn (trống, đặt chỗ, đang sử dụng) trên giao diện.
Hỗ trợ chuyển bàn nếu khách hàng yêu cầu hoặc nếu cần. Quản lý thực đơn: -
Mục tiêu: Quản lý thực đơn của quán một cách linh hoạt và dễ dàng cậpnhật. - Yêu cầu:
Hiển thị danh sách thực đơn với mô tả, giá, hình ảnh minh họa.
Cho phép thêm, sửa đổi và xóa món ăn(gậy thuê), cập nhật giá và tình
trạng có mặt trên thực đơn.
Hỗ trợ thực đơn tùy chỉnh. Quản lý hóa đơn: -
Mục tiêu: Tạo hóa đơn và thanh toán đơn hàng của khách hàng một cách nhanh chóng và chính xác. - Yêu cầu:
Tạo hóa đơn dựa trên đơn đặt hàng của khách hàng, tính tổng tiền và
áp dụng các khuyến mãi hoặc giảm giá nếu có.
Cho phép in hóa đơn hoặc gửi hóa đơn điện tử cho khách hàng. Lưu
trữ lịch sử hóa đơn và thanh toán để tra cứu và thống kê. Thống kê: lOMoARcPSD| 59149108 -
Mục tiêu: Cung cấp thông tin thống kê và báo cáo để quản lý hiểu rõ hoạt
động của nhà hàng và đưa ra quyết định dựa trên dữ liệu. - Yêu cầu:
Tạo báo cáo doanh thu hàng ngày, hàng tháng và hàng năm.
Hiển thị các thông tin thống kê về đặt bàn, số lượng khách hàng, và món
ăn phổ biến(gậy thuê).
Cung cấp khả năng tìm kiếm và lọc dữ liệu thống kê để phân tích chi tiết.
Tóm lại, mục tiêu của phần mềm "Quản lý quán Xưởng Billiard" là đảm bảo
rằng mọi khía cạnh của hoạt động quán, từ quản lý nhân viên đến quản lý đặt bàn,
thực đơn, hóa đơn và thống kê, được thực hiện một cách hiệu quả và chuyên nghiệp.
1.4.2. Đối tượng người dùng
Người quản lí quán, ca trưởng của quán và nhân viên.
1.4.3. Các yêu cầu phần mềm
- Giao diện thân thiện: Phần mềm cần có giao diện người dùng dễ sử dụng
để quản lý quán một cách thuận tiện.
- Quản lý nhân viên: Cần hỗ trợ quản lý thông tin nhân viên, bao gồm tạo,
sửa, xóa tài khoản và gán quyền truy cập.
- Quản lý đặt bàn: Phải cho phép đặt bàn trước, hiển thị trạng thái bàn và
quản lý thời gian đặt bàn.
- Quản lý thực đơn: Cần hỗ trợ thêm, sửa đổi và xóa món ăn, cập nhật giá
cả và tình trạng có mặt trên thực đơn.
- Quản lý hóa đơn: Phải có tính năng tạo hóa đơn, tính tổng tiền, và cho phép thanh toán.
- Thống kê: Cần cung cấp báo cáo và thống kê về hoạt động của nhà hàng,
bao gồm doanh thu, số lượng đặt chỗ, và lượng tồn kho.
- Bảo mật và quyền truy cập: Đảm bảo tính bảo mật của dữ liệu và hỗ trợ
quản lý quyền truy cập.
- Tương thích và mở rộng: Phần mềm cần tương thích với nhiều loại thiết
bị và có khả năng mở rộng tính năng trong tương lai. lOMoARcPSD| 59149108
- Hỗ trợ kỹ thuật và cập nhật: Đảm bảo rằng có hỗ trợ kỹ thuật và khả năng
cập nhật để giữ phần mềm luôn hoạt động tốt. lOMoARcPSD| 59149108
CHƯƠNG 2: PHÂN TÍCH VÀ THIẾT KẾ HỆ THỐNG
2.1. Cơ cấu, sơ đồ tổ chức tổng quát
2.1.1. UserCase Tổng quát
Hình 2.1.1: Biểu đồ UserCase Tổng quát
2.2. Cơ cấu, sơ đồ tổ chức của chức năng Đăng nhập lOMoARcPSD| 59149108 2.2
.1. UserCase Đăng nhập
Hình 2.2.1:Biểu đồ UserCase Đăng nhập
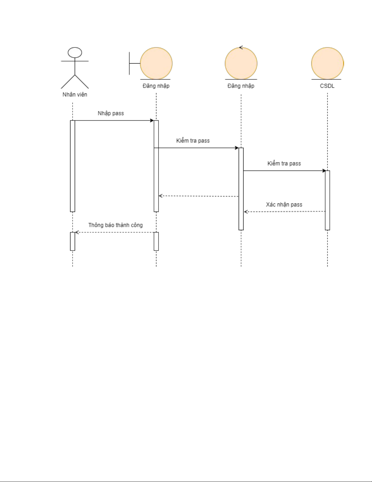
2.2.2. Trình tự Đăng nhập lOMoARcPSD| 59149108
Hình 2.2.2: Biểu đồ Trình tự Đăng nhập
2.3. Cơ cấu, sơ đồ tổ chức của Quản lý Nhân viên lOMoARcPSD| 59149108
2.3.1. UserCase Quản lý Nhân viên
Hình 2.3.1: Biểu đồ UserCase Quản lý Nhân viên lOMoARcPSD| 59149108
2.3.2. Trình tự Quản ý Nhân viên
Hình 2.3.2: Biểu đồ Trình tự Quản lý Nhân viên
2.4. Cơ cấu, sơ đồ tổ chức của Quản lý Đặt bàn
2.4.1. UserCase Quản lý Đặt bàn lOMoARcPSD| 59149108
Hình 2.4.1: Biểu đồ UserCase Quản lý Đặt bàn lOMoARcPSD| 59149108
2.4.2. Trình tự Quản ý Đặt bàn
Hình 2.4.2: Biểu đồ Trình tự Quản lý bàn
2.5. Cơ cấu, sơ đồ tổ chức của Quản lý Thực đơn
2.5.1. UserCase Quản lý Thực đơn lOMoARcPSD| 59149108
Hình 2.5.1: Biểu đồ UserCase Quản lý Thực đơn lOMoARcPSD| 59149108
2.5.2. Trình tự Quản ý Thực đơn
Hình 2.5.2: Biểu đồ Trình tự Quản lý Thực đơn
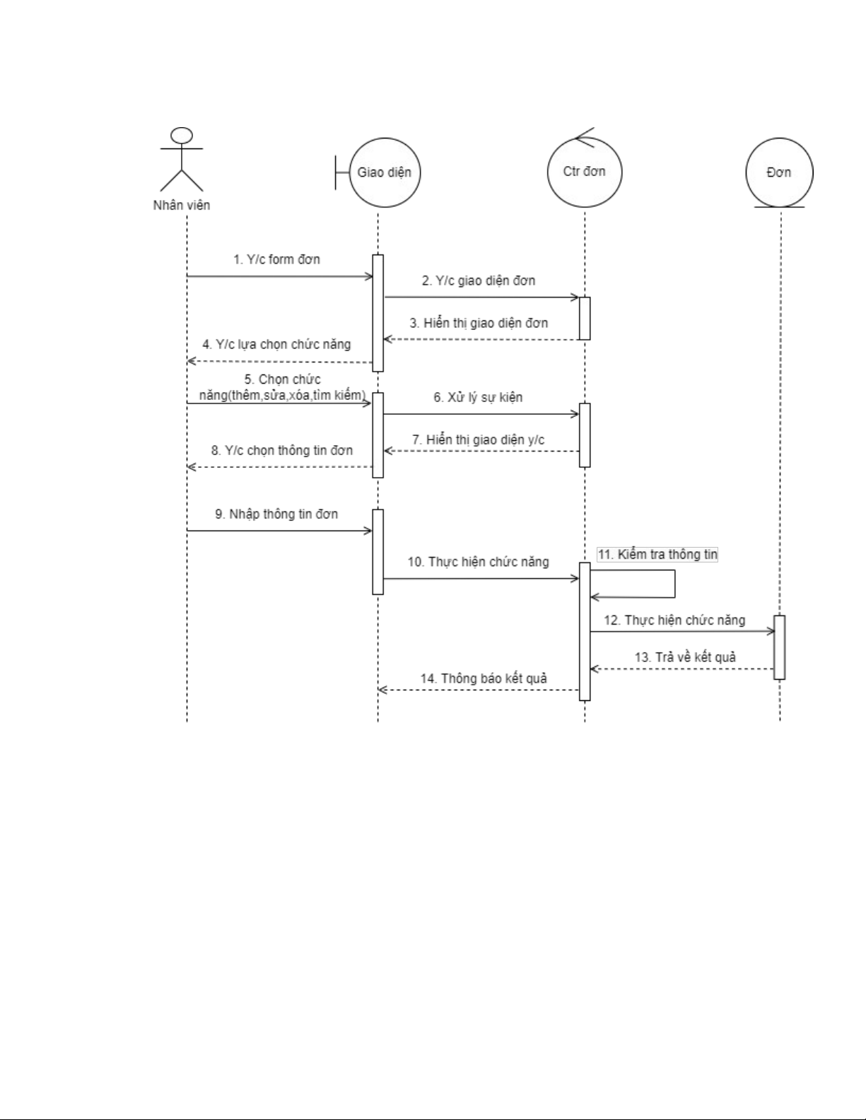
2.6. Cơ cấu, sơ đồ tổ chức của Quản lý Hóa đơn
2.6.1. UserCase Quản lý Hóa đơn lOMoARcPSD| 59149108
Hình 2.6.1: Biểu đồ UserCase Quản lý Hóa đơn