



















Preview text:
  lOMoAR cPSD| 60734260
TRƯỜNG ĐẠI HỌC CÔNG NGHỆ ĐÔNG Á 
KHOA CÔNG NGHỆ THÔNG TIN  BÀI TẬP LỚN 
HỌC PHẦN: PHÂN TÍCH VÀ THIẾT KẾ HỆ THỐNG  MÃ ĐỀ THI: 53 
PHÂN TÍCH VÀ THIẾT KẾ HỆ THỐNG THÔNG TIN 
QUẢN LÝ DỊCH VỤ ĐẶT LỊCH KHÁM BỆNH TRỰC  TUYẾN 
LỚP TÍN CHỈ: PTVTKHT.03.K14.07.LT.C04.1_LT    
Giảng viên hướng dẫn: Th.s: Ngô Thị Hoa 
Danh sách sinh viên thực hiện: Nhóm 09  T  Mã sinh viên T  
Sinh viên thực hiện  Lớp hành chính    1 20233086  Nguyễn Hữu Hà  DCCNTT.14.C.3  2 20232323  Chu Quang Dương  DCCNTT.14.C.3  3 20233039  Nguyễn Văn Giang  DCCNTT.14.C.3  4 20233454  Ngô Quý Dương  DCCNTT.14.C.3  Bắc Ninh – 2025    lOMoAR cPSD| 60734260 MỤC LỤC  Contents 
DANH MỤC CÁC TỪ VIẾT TẮT....................................................................................8 
DANH MỤC BẢNG BIỂU VÀ SƠ ĐỒ............................................................................9 
Chương 1. TỔNG QUAN VỀ ĐỀ TÀI............................................................................10   1.1. 
Giới thiệu đề tài..................................................................................................10    1.1.1 
Lý do chọn đề tài..........................................................................................10    1.1.2 
Mục tiêu đề tài..............................................................................................11   1.2. 
Phạm vi đề tài.....................................................................................................12    1.2.1. 
Đối tượng sử dụng hệ thống......................................................................12    1.2.2. 
Hiệu quả....................................................................................................12   1.3. 
Dự kiến công việc...............................................................................................12   1.4. 
Chức năng, phi chức năng của hệ thống.............................................................14    1.4.1. 
Chức năng.................................................................................................14    1.4.2. 
Phi chức năng...........................................................................................18 
CHƯƠNG 2: Các loại sơ đồ.............................................................................................19 
2.1: Sơ đồ UC...............................................................................................................19 
2.2. Sơ đồ hoạt động.....................................................................................................20 
2.2.1: Đăng ký..........................................................................................................20 
2.2.2: Đăng nhập......................................................................................................21 
2.2.3: Đăng xuất.......................................................................................................21 
2.2.4: Đặt lịch khám.................................................................................................22 
2.2.5: Hủy lịch..........................................................................................................23 
2.2.6: Xem lịch khám...............................................................................................23 
2.2.7: Xem lịch sử lịch khám....................................................................................24    lOMoAR cPSD| 60734260
2.2.8: Đặt lịch khám theo bác sĩ..............................................................................25 
2.2.9: Thêm tài khoản...............................................................................................26 
2.2.10: Xóa tài khoản...............................................................................................27 
2.2.11: Cập nhật tài khoản........................................................................................28 
2.2.12: Xem tài khoản..............................................................................................28 
2.2.13: Thêm bệnh nhân...........................................................................................29 
2.2.14: Cập nhật bệnh nhân......................................................................................30 
2.2.15: Xóa bệnh nhân..............................................................................................31 
2.2.16: Xem danh sách bệnh nhân............................................................................31 
2.2.17: Thêm bác sĩ..................................................................................................32 
2.2.18: Cập nhật bác sĩ.............................................................................................33 
2.2.19: Xóa bác sĩ.....................................................................................................34 
2.2.20: Xem danh sách bác sĩ...................................................................................34 
2.2.21: Tìm kiếm bác sĩ............................................................................................35 
2.2.22: Xem hồ sơ....................................................................................................35 
2.2.23: Sửa hồ sơ......................................................................................................36 
2.2.24: Thêm khoa....................................................................................................37 
2.2.25: Cập nhật khoa...............................................................................................38 
2.2.26: Xóa khoa......................................................................................................39 
2.2.27: Tìm kiếm khoa.............................................................................................40 
2.2.28: Đánh giá.......................................................................................................41 
2.2.29: Xuất thống kê...............................................................................................41 
2.2.30: Xem tài liệu..................................................................................................42 
2. 2.31: Sửa tài liệu....................................................................................................43 
2.2.32: Tìm kiếm tài liệu..........................................................................................44    lOMoAR cPSD| 60734260 2.3. Sơ đồ 
lớp............................................................................................................... 45  2.4. Sơ đồ trình 
tự..........................................................................................................46 
2.4.1: Đăng ký..........................................................................................................46 
2.4.2: Đăng nhập......................................................................................................47 
2.4.3: Đăng xuất.......................................................................................................48 
2.4.4: Đặt lịch khám.................................................................................................49 
2.4.5: Hủy lịch..........................................................................................................50 
2.4.6: Xem lịch khám...............................................................................................51 
2.4.7 Xem lịch sử lịch khám.....................................................................................52 
2.4.8: Đặt lịch khám theo bác sĩ..............................................................................53 
2.4.9: Thêm tài khoản...............................................................................................54 
2.4.10: Cập nhật tài khoản........................................................................................55 
2.4.11: Xóa tài khoản...............................................................................................56 
2.4.12: Xem tài khoản..............................................................................................57 
2.4.13: Thêm bệnh nhân...........................................................................................58 
2.4.14: Cập nhật bệnh nhân......................................................................................59 
2.4.15: Xóa bệnh nhân..............................................................................................60 
2.4.16: Xem danh sách bệnh nhân............................................................................61 
2.4.17: Thêm bác sĩ..................................................................................................62 
2.4.18: Cập nhật bác sĩ.............................................................................................63 
2.4.19: Xóa bác sĩ.....................................................................................................64 
2.4.20: Xem danh sách bác sĩ...................................................................................65 
2.4.21: Tìm kiếm bác sĩ............................................................................................66 
2.4.22: Xem hồ sơ....................................................................................................67    lOMoAR cPSD| 60734260
2.4.23: Sửa hồ sơ......................................................................................................68  2.5. Sơ đồ cộng 
tác........................................................................................................69  2.6. Sơ đồ trạng 
thái......................................................................................................69  2.7. Sơ đồ thành 
phần....................................................................................................69  2.8. Sơ đồ triển 
khai......................................................................................................69 
Chương 3. Phát triển hệ thống. (tối thiểu 15 trang)..........................................................69 
3.1. Lớp GUI................................................................................................................69 
3.2 Lớp BUS................................................................................................................69 
3.3. Lớp DAL...............................................................................................................69 
3.4 Các Procedured......................................................................................................69 
3.5 Kết quả đạt được....................................................................................................70 
3.5 Kết chương.............................................................................................................70 
Chương IV: Kết luận........................................................................................................71 
4.1. Kết quả đạt được.................................................................................................71 
4.2. Hạn chế...............................................................................................................71 
4.3. Hướng phát triển.................................................................................................72 
Kết luận............................................................................................................................73 
Kết quả thu được..........................................................................................................73 
Hạn chế và hướng phát triển của đề tài........................................................................73  Danh mục sách tham 
khảo...............................................................................................74    lOMoAR cPSD| 60734260
DANH MỤC CÁC TỪ VIẾT TẮT (Nếu có) 
(trình bầy trong trang riêng)  STT  Chữ viết tắt  Giải thích      1      2      3        lOMoAR cPSD| 60734260
DANH MỤC BẢNG BIỂU VÀ SƠ ĐỒ (Nếu có) 
(trình bầy trong trang riêng)  Số hiệu  Tên  Trang      1.1        Lưu ý  
- Các sơ đồ, hình vẽ, bảng biểu phải có tên và số thứ tự được sắp  xếp theo chương. 
- Đối với sơ đồ, hình vẽ, đồ thị thì tên được đặt ở dưới -  Đối với 
bảng số liệu thì tên đặt ở trên. 
Chương 1. TỔNG QUAN VỀ ĐỀ TÀI 
1.1. Giới thiệu đề tài. 
Trong bối cảnh kỷ nguyên số phát triển mạnh mẽ, việc ứng dụng công nghệ 
thông tin vào lĩnh vực y tế đã trở thành một xu hướng tất yếu và cấp bách. Hệ thống 
quản lý dịch vụ đặt lịch khám bệnh trực tuyến ra đời nhằm giải quyết những bất cập 
còn tồn tại trong quy trình khám chữa bệnh truyền thống. Hiện tại, bệnh nhân thường 
phải đối mặt với tình trạng xếp hàng dài, mất nhiều thời gian chờ đợi, hoặc gặp khó 
khăn khi liên hệ qua điện thoại để đặt lịch hẹn. Điều này không chỉ gây lãng phí thời 
gian, công sức mà còn tạo ra sự quá tải và căng thẳng cho cả bệnh nhân lẫn đội ngũ  nhân viên y tế. 
Việc xây dựng một hệ thống thông tin toàn diện cho phép tự động hóa và số 
hóa toàn bộ quy trình đặt lịch, từ đó mang lại nhiều lợi ích to lớn. Đối với bệnh nhân, 
hệ thống giúp họ chủ động hơn trong việc chăm sóc sức khỏe, dễ dàng tìm kiếm 
thông tin về bác sĩ, chuyên khoa và thời gian khám phù hợp chỉ với vài thao tác trên  thiết bị di động.    lOMoAR cPSD| 60734260
Đối với các cơ sở y tế, hệ thống giúp chuẩn hóa và tối ưu hóa quy trình tiếp 
nhận, giảm tải công việc hành chính cho nhân viên, quản lý lịch làm việc của bác sĩ 
một cách khoa học, và phân bổ nguồn lực hiệu quả hơn. Hơn nữa, hệ thống còn cung 
cấp một cơ sở dữ liệu quý giá, hỗ trợ việc phân tích, thống kê và đưa ra các quyết 
định quản lý chiến lược. 
Vì những lý do trên, đề tài "Phân tích và thiết kế hệ thống thông tin quản lý 
dịch vụ đặt lịch khám bệnh trực tuyến" được lựa chọn với mục tiêu tạo ra một giải 
pháp công nghệ hiệu quả, góp phần hiện đại hóa ngành y tế, nâng cao chất lượng 
phục vụ và mang lại sự hài lòng cao nhất cho người bệnh.    1.1.1  Lý do chọn đề tài. 
Trong những năm gần đây, cùng với sự phát triển của xã hội, nhu cầu chăm sóc sức 
khỏe của người dân ngày càng tăng. Các cơ sở y tế luôn trong tình trạng quá tải, 
đặc biệt là tại các bệnh viện tuyến trung ương. Người bệnh phải đến trực tiếp để 
đăng ký khám, xếp hàng chờ đợi trong thời gian dài, gây ra nhiều bất tiện và áp lực 
cho cả bệnh nhân lẫn nhân viên y tế. 
Bên cạnh đó, việc quản lý lịch khám thủ công (sổ sách, gọi điện, ghi phiếu) thường 
xuyên xảy ra sai sót, trùng lặp, khó thống kê và thiếu tính chuyên nghiệp. Trong 
bối cảnh chuyển đổi số trong ngành y tế là xu hướng tất yếu, các bệnh viện cần một 
hệ thống thông tin hiện đại để hỗ trợ việc quản lý lịch khám. 
Do đó, nhóm quyết định chọn đề tài “Phân tích và thiết kế hệ thống thông tin quản 
lý dịch vụ đặt lịch khám bệnh trực tuyến” nhằm giải quyết những bất cập nêu trên, 
đồng thời mang lại giải pháp tiện lợi cho cả bệnh nhân và cơ sở y tế.    1.1.2  Mục tiêu đề tài. 
Mục tiêu của một đề tài nghiên cứu không chỉ là những gì chúng ta muốn đạt 
được, mà còn là bản đồ chi tiết hướng dẫn từng bước đi. Với đề tài này, mục tiêu 
được chia thành ba cấp độ chính: 
 Mục tiêu tổng quát (Overall Objective): 
 Mục tiêu cao nhất là xây dựng một Hệ thống thông tin quản lý dịch vụ đặt lịch 
khám bệnh trực tuyến hiệu quả, an toàn và dễ sử dụng. Hệ thống này sẽ là một    lOMoAR cPSD| 60734260
giải pháp toàn diện để tự động hóa quy trình, cải thiện chất lượng dịch vụ và 
tối ưu hóa hiệu suất hoạt động cho các cơ sở y tế. 
 Mục tiêu cụ thể (Specific Objectives): 
• Phân tích nghiệp vụ: Nghiên cứu và mô hình hóa chi tiết các quy trình nghiệp 
vụ hiện tại của bệnh viện/phòng khám, từ khi bệnh nhân có nhu cầu khám cho 
đến khi hoàn tất lịch hẹn. Chúng ta cần xác định rõ các bên liên quan (bệnh 
nhân, bác sĩ, lễ tân) và nhu cầu của họ. 
• Thiết kế hệ thống: Xây dựng kiến trúc hệ thống, bao gồm thiết kế cơ sở dữ liệu 
(Database Design) để lưu trữ thông tin bệnh nhân, bác sĩ và lịch hẹn một cách 
khoa học. Đồng thời, thiết kế giao diện người dùng (UI/UX) thân thiện, trực 
quan để người dùng có thể dễ dàng tương tác. 
• Phát triển và triển khai: Xây dựng các chức năng chính của hệ thống, bao gồm 
đặt lịch, hủy lịch, xem lịch sử khám, quản lý lịch làm việc của bác sĩ... trên nền 
tảng web hoặc ứng dụng di động. Sau đó, tiến hành kiểm thử và triển khai thử  nghiệm. 
 Mục tiêu kỹ thuật (Technical Objectives): 
• Đảm bảo hệ thống hoạt động ổn định, có thể xử lý đồng thời hàng nghìn yêu 
cầu mà không bị gián đoạn. 
• Sử dụng các công nghệ hiện đại (ví dụ: mô hình Client-Server, kiến trúc 
Microservices) để đảm bảo tính linh hoạt và khả năng mở rộng trong tương lai. 
1.2. Phạm vi đề tài.    1.2.1. 
Đối tượng sử dụng hệ thống 
• Con người: Nghiên cứu các vai trò chính trong hệ thống: Bệnh nhân (đối tượng 
sử dụng dịch vụ), Bác sĩ (người cung cấp dịch vụ), và Nhân viên quản lý (người 
điều phối và vận hành hệ thống). Chúng ta sẽ tìm hiểu nhu cầu, hành vi và các 
vấn đề họ đang gặp phải. 
• Quy trình nghiệp vụ: Các hoạt động từ khi bệnh nhân gửi yêu cầu đặt lịch cho 
đến khi lịch hẹn được xác nhận. 
• Dữ liệu: Các loại thông tin cần thiết như thông tin cá nhân của bệnh nhân, thông 
tin chuyên môn của bác sĩ, thông tin về dịch vụ khám và lịch hẹn.    lOMoAR cPSD| 60734260   1.2.2.  Hiệu quả 
• Giảm thời gian chờ đợi của bệnh nhân khi đến khám. 
• Hạn chế tình trạng quá tải và sai sót trong việc quản lý lịch khám. 
• Hỗ trợ bệnh viện sắp xếp lịch làm việc của bác sĩ hợp lý hơn. 
• Giúp bệnh viện quản lý dữ liệu bệnh nhân, bác sĩ và lịch hẹn một cách khoa  học. 
• Tăng tính chuyên nghiệp, góp phần vào công cuộc chuyển đổi số trong ngành  y tế. 
1.3. Dự kiến công việc. 
Giai đoạn 1: Khởi động dự án  • 
Tìm hiểu đề tài, xác định bối cảnh thực tế.  • 
Thu thập yêu cầu từ người dùng (bệnh nhân, bác sĩ, nhân viên quản trị).  • 
Xác định phạm vi dự án, các đối tượng chính tham gia hệ thống.  • 
Lập kế hoạch thực hiện, phân công công việc cho các thành viên trong nhóm. 
Giai đoạn 2: Phân tích hệ thống  • 
Xác định và phân loại yêu cầu hệ thống (chức năng, phi chức năng).  • 
Xây dựng các biểu đồ Use Case tổng quát và phân rã theo từng chức năng.  • 
Phân tích quy trình nghiệp vụ thông qua các biểu đồ hoạt động.   Thiết 
kế mô hình ca sử dụng cho từng nhóm người dùng. 
Giai đoạn 3: Thiết kế hệ thống  • 
Thiết kế biểu đồ lớp tổng quát, lớp phân tích cho từng chức năng.  • 
Thiết kế biểu đồ trình tự, biểu đồ cộng tác cho các chức năng quan trọng.  • 
Thiết kế biểu đồ trạng thái cho các đối tượng thay đổi theo thời gian (ví dụ:  lịch hẹn).  • 
Thiết kế biểu đồ thành phần và biểu đồ triển khai hệ thống.  • 
Thiết kế sơ đồ thực thể – quan hệ (ERD) và mô hình dữ liệu quan hệ. 
Giai đoạn 4: Xây dựng cơ sở dữ liệu và giao diện  • 
Tạo cơ sở dữ liệu theo thiết kế (bảng, ràng buộc, quan hệ).    lOMoAR cPSD| 60734260 • 
Thiết kế và xây dựng giao diện người dùng (trang đăng nhập, đăng ký, đặt 
lịch, quản lý lịch hẹn, quản lý thông báo…).  • 
Xây dựng mô hình cấu trúc mã nguồn (frontend, backend, database). 
Giai đoạn 5: Kiểm thử và hoàn thiện hệ thống  • 
Kiểm thử các chức năng cơ bản: đăng nhập, đăng xuất, đặt lịch, hủy 
lịch, xem thông tin bác sĩ, quản lý tài khoản.  • 
Phát hiện và khắc phục lỗi trong quá trình vận hành thử nghiệm. 
 Hoàn thiện báo cáo và chuẩn bị trình bày. 
Giai đoạn 6: Báo cáo và nộp sản phẩm  • 
Viết báo cáo chi tiết các chương (tổng quan, phân tích, thiết kế, cài đặt, kết  luận).  • 
Chuẩn bị slide thuyết trình, demo hệ thống.  • 
Nộp báo cáo và sản phẩm hệ thống cho giảng viên hướng dẫn. 
1.4. Chức năng, phi chức năng của hệ thống.  1.4.1. Chức năng   Phân loại yêu 
TT Mô tả yêu cầu  cầu  1  Đăng nhập  Yêu cầu truy vấn  2  Đăng xuất  Yêu cầu truy vấn  3  Quên mật khẩu  Yêu cầu truy vấn  4  Đổi mật khẩu  Yêu cầu truy vấn  5  Xem danh sách menu  Dữ liệu đầu ra  23  Tìm kiếm menu  Dữ liệu đầu ra  28 
Xem danh sách loại tài khoản  Dữ liệu đầu ra  29  Thêm loại tài khoản  Dữ liệu đầu vào  30  Sửa loại tài khoản  Dữ liệu đầu vào    lOMoAR cPSD| 60734260 31  Xóa loại tài khoản  Dữ liệu đầu vào  33 
QTHT đăng nhập hệ thống quản trị  Dữ liệu đầu vào  34 
QTHT đăng xuất hệ thống quản trị  Dữ liệu đầu vào  35 
QTHT xem danh sách tài khoản người dùng  Dữ liệu đầu ra  36 
QTHT thêm tài khoản người dùng  Dữ liệu đầu vào  37 
QTHT sửa tài khoản người dùng  Dữ liệu đầu vào  38 
QTHT xóa tài khoản người dùng  Dữ liệu đầu vào  39 
QTHT kích hoạt/khóa tài khoản người dùng  Dữ liệu đầu vào  40 
QTHT reset mật khẩu tài khoản người dùng  Dữ liệu đầu vào    Phân loại yêu 
TT Mô tả yêu cầu  cầu  57  Xem danh sách  Dữ liệu đầu ra  58  Tìm kiếm  Dữ liệu truy vấn  59  Thêm chức vụ  Dữ liệu đầu vào  60  Sửa chức vụ  Dữ liệu đầu vào  61  Xóa chức vụ  Dữ liệu đầu vào  63  Xem danh sách bác sĩ  Dữ liệu đầu ra  64  Tìm kiếm bác sĩ  Dữ liệu truy vấn  65  Thêm bác sĩ  Dữ liệu đầu vào  66  Sửa bác sĩ  Dữ liệu đầu vào    lOMoAR cPSD| 60734260 67  Xóa bác sĩ  Dữ liệu đầu vào  69  Xem danh sách bệnh nhân  Dữ liệu đầu ra  70 
Thêm mới đăng ký đặc cách  Dữ liệu đầu vào  72  Xóa bệnh nhân  Dữ liệu đầu vào  73 
Tìm kiếm thông tin bệnh nhân  Dữ liệu đầu vào  75  Xem danh sách bệnh nhân  Dữ liệu đầu ra  76  Đặt lịch khám  Dữ liệu đầu vào  77  Hủy đặt lịch  Dữ liệu đầu vào  78  Xem lịch khám  Dữ liệu đầu vào  79  Xem lịch sử lịch khám  Dữ liệu đầu vào   
TT Mô tả yêu cầu 
Phân loại yêu cầu  81 
Đặt lịch khám theo bác sĩ  Dữ liệu đầu ra  82  Xem danh sách bác sĩ  Dữ liệu đầu vào  83  Tìm kiếm bác sĩ  Dữ liệu đầu vào  84  Xem hồ sơ  Dữ liệu đầu vào  85  Sửa hồ sơ  Dữ liệu đầu vào    87  Dữ liệu đầu ra    88  Dữ liệu đầu vào    89  Dữ liệu đầu vào    lOMoAR cPSD| 60734260   90  Dữ liệu đầu vào 
111 Xem danh sách loại thông báo  Dữ liệu đầu ra  112 Thêm loại thông báo  Dữ liệu đầu vào  113 Lọc dữ liệu  Dữ liệu đầu vào  114 Sửa loại thông báo  Dữ liệu đầu vào  115 Xóa loại thông báo  Dữ liệu đầu vào 
116 Xem danh sách thông báo  Dữ liệu đầu ra  117 Thêm thông báo  Dữ liệu đầu vào  118 Lọc dữ liệu  Dữ liệu đầu vào  119 Sửa thông báo  Dữ liệu đầu vào  120 Xóa thông báo  Dữ liệu đầu vào   
TT Mô tả yêu cầu 
Phân loại yêu cầu 
121 Xem danh sách sáng kiến kinh nghiệm  Dữ liệu đầu ra 
122 Lọc dữ liệu theo danh sách sáng kiến kinh nghiệm  Dữ liệu đầu vào 
123 Sửa danh sách sáng kiến kinh nghiệm  Dữ liệu đầu vào 
124 Xóa danh sách sáng kiến kinh nghiệm  Dữ liệu đầu vào 
125 Xem danh sách đối chiếu thi đua  Dữ liệu đầu ra 
126 In danh sách đối chiếu thi đua  Dữ liệu đầu ra 
127 Xem danh sách sáng kiến kinh nghiệm nộp  Dữ liệu đầu ra    lOMoAR cPSD| 60734260
128 Lọc danh sách sáng kiến kinh nghiệm nộp  Dữ liệu đầu vào 
129 Tải xuống danh sách sáng kiến kinh nghiệm nộp  Dữ liệu đầu vào 
130 Thống kê sáng kiến kinh nghiệm theo năm  Dữ liệu truy vấn 
131 Thống kê sáng kiến kinh nghiệm theo tháng  Dữ liệu truy vấn 
132 Thống kê sáng kiến kinh nghiệm theo ngày  Dữ liệu truy vấn 
133 Thống kê sáng kiến kinh nghiệm theo đơn vị  Dữ liệu truy vấn 
134 Danh sách đăng ký của đơn vị  Dữ liệu đầu vào 
135 Danh sách đăng ký đặc cách  Dữ liệu đầu vào  136 Tạo mẫu báo cáo  Dữ liệu đầu vào  137 Lấy dữ liệu  Dữ liệu đầu vào 
138 Hiện thị trang in báo cáo  Dữ liệu đầu ra 
139 Xem danh sách nộp Sáng kiến kinh nghiệm (SKKN)  Dữ liệu đầu ra 
TT Mô tả yêu cầu 
Phân loại yêu cầu 
140 In danh sách nộp Sáng kiến kinh nghiệm (SKKN)  Dữ liệu đầu ra 
141 Tải báo cáo danh sách nộp Sáng kiến kinh nghiệm (SKKN) Dữ liệu đầu ra 
1.4.2. Phi chức năng. 
 Tiêu chuẩn: ISO/IEC 25010 - Systems and software Quality Requirements  and Evaluation. 
 Mô tả: Tiêu chuẩn này đánh giá các thuộc tính chất lượng của hệ thống, quyết 
định cách hệ thống hoạt động thay vì làm gì.   Ví dụ cụ thể:    lOMoAR cPSD| 60734260
• Hiệu suất (Performance): Hệ thống phải có khả năng xử lý ít nhất 500 yêu 
cầu đặt lịch mỗi giờ, với thời gian phản hồi trung bình dưới 3 giây. 
• Bảo mật (Security): Hệ thống phải tuân thủ tiêu chuẩn ISO 27001 để bảo vệ 
thông tin cá nhân của bệnh nhân. Tất cả dữ liệu nhạy cảm (như mật khẩu, 
thông tin sức khỏe) phải được mã hóa. 
• Tính khả dụng (Usability): Giao diện phải được thiết kế để người dùng có 
thể hoàn thành việc đặt lịch trong vòng tối đa 3 bước. 
• Tính tin cậy (Reliability): Hệ thống phải đảm bảo hoạt động liên tục 24/7 với 
thời gian hoạt động (uptime) tối thiểu là 99.5%. Hệ thống phải có cơ chế sao 
lưu dữ liệu tự động hàng ngày. 
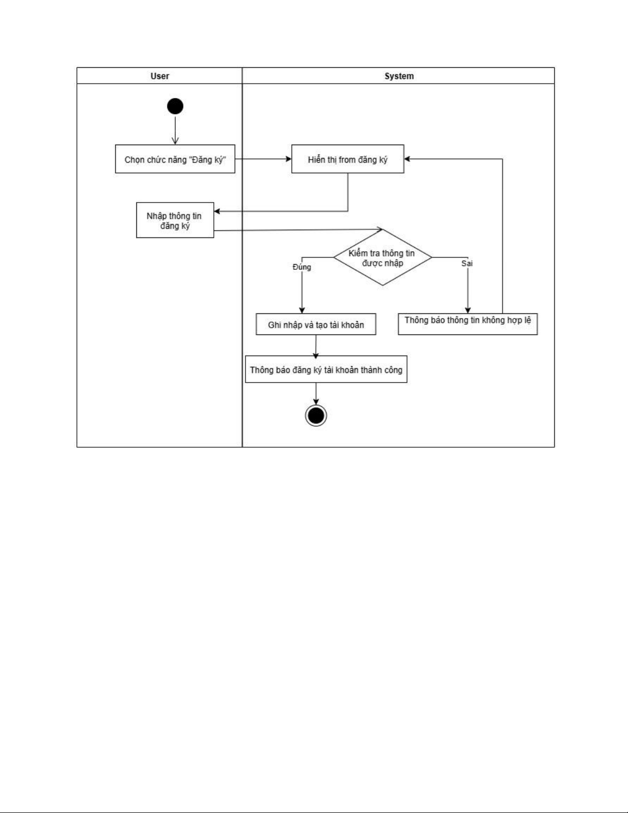
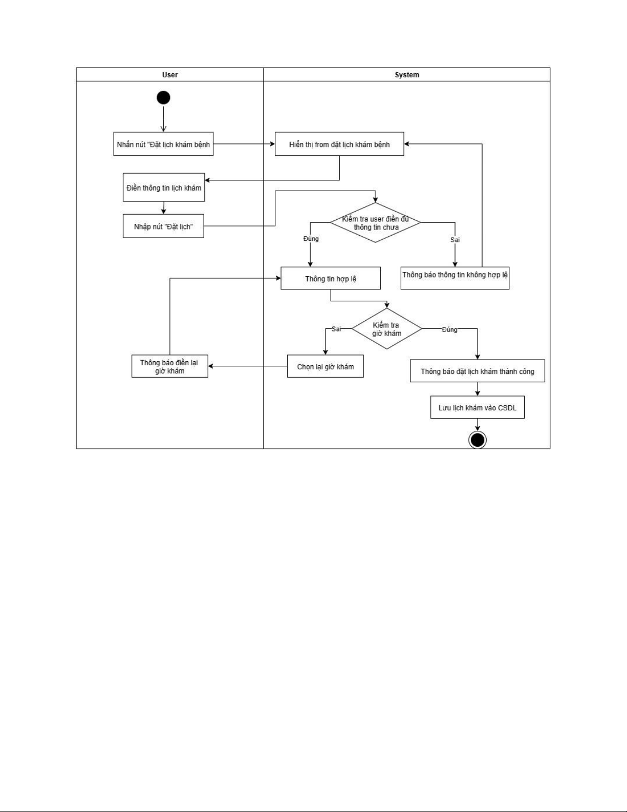
CHƯƠNG 2: Các loại sơ đồ  2.1: Sơ đồ UC   
2.2. Sơ đồ hoạt động  2.2.1: Đăng ký    lOMoAR cPSD| 60734260   2.2.2: Đăng nhập    lOMoAR cPSD| 60734260   2.2.3: Đăng xuất    2.2.4: Đặt lịch khám    lOMoAR cPSD| 60734260   2.2.5: Hủy lịch    lOMoAR cPSD| 60734260   2.2.6: Xem lịch khám   
2.2.7: Xem lịch sử lịch khám