

















Preview text:
TRƯỜNG ĐẠI HỌC BÁCH KHOA TP. HỒ CHÍ MINH KHOA CƠ KHÍ
BỘ MÔN CHẾ TẠO MÁY •.a•
PHÚC TRÌNH THÍ NGHIỆM CƠ LƯU CHẤT GVHD: SVTH: MSSV:
TP. Hồ Chí Minh, Ngày … tháng … năm 2021 1
Downloaded by Nguyen Linh (vjt30@gmail.com) 2 Lời nói đầu
Trong thời gian làm thí nghiệm, em đã nhận được nhiều sự giúp đỡ, đóng
góp ý kiến và chỉ bảo nhiệt tình của thầy cô, gia đình và bạn bè.
Đầu tiên, em xin gửi lời cảm ơn chân thành đến thầy …, giảng viên Bộ
môn Thiết kế máy - trường Đại học Bách Khoa thành phố Hồ Chí Minh người
đã tận tình hướng dẫn, chỉ bảo em trong suốt quá trình làm đề cương luận văn.
Em cũng xin chân thành cảm ơn các thầy cô giáo trong trường Đại học
Bách Khoa thành phố Hồ Chí Minh nói chung, các thầy cô trong Bộ môn Kỹ
Thuật Chế tạo nói riêng đã dạy dỗ cho em kiến thức về các môn đại cương cũng
như các môn chuyên ngành, giúp em có được cơ sở lý thuyết vững vàng và tạo
điều kiện giúp đỡ em trong suốt quá trình học tập.
Với điều kiện thời gian cũng như kinh nghiệm còn hạn chế, đề cương
luận văn này không thể tránh được những thiếu sót. Em rất mong nhận được sự
chỉ bảo, đóng góp ý kiến của các thầy cô để em có điều kiện bổ sung, nâng cao
ý thức của mình, phục vụ tốt hơn cho học tập và công việc sau này.
Em xin chân thành cảm ơn!
Sinh viên thực hiện Xxx 3 Mục lục
BÀI 1. THỦY TĨNH. . . . . . . . . . . . . . . . . . . . . . . . . . . . . . . . . . . . . . . . . . . . . . . . . . . . 5 I.
CÂU HỎI CHUẨN BỊ. . . . . . . . . . . . . . . . . . . . . . . . . . . . . . . . . . . . . . . . . . . . 5
II. KẾT QUẢ ĐO VÀ QUAN SÁT. . . . . . . . . . . . . . . . . . . . . . . . . . . . . . . . . . . . 5 III.
PHẦN TÍNH TOÁN VÀ TRÌNH BÀY KẾT QUẢ THÍ NGHIỆM. . . . . 7
Bài 3A2. PHƯƠNG TRÌNH NĂNG LƯỢNG. . . . . . . . . . . . . . . . . . . . . . . . . . . . . . .10 I.
PHẦN CHUẨN BỊ. . . . . . . . . . . . . . . . . . . . . . . . . . . . . . . . . . . . . . . . . . . . . . 10
II. KẾT QUẢ ĐO. . . . . . . . . . . . . . . . . . . . . . . . . . . . . . . . . . . . . . . . . . . . . . . . . .10
III. PHẦN TÍNH TOÁN VÀ TRÌNH BÀY KẾT QUẢ. . . . . . . . . . . . . . . . . . . . 11
BÀI 3D. ĐO LƯU LƯỢNG KHÍ. . . . . . . . . . . . . . . . . . . . . . . . . . . . . . . . . . . . . . . . . 10
I. CÂU HỎI CHUẨN BỊ. . . . . . . . . . . . . . . . . . . . . . . . . . . . . . . . . . . . . . . . . . . . . .10
I. KẾT QUẢ ĐO VÀ TÍNH TOÁN. . . . . . . . . . . . . . . . . . . . . . . . . . . . . . . . . . . . . 10
III. PHÂN TÍCH/NHẬN XÉT. . . . . . . . . . . . . . . . . . . . . . . . . . . . . . . . . . . . . . . . . 12
BÀI 5A. MẤT NĂNG TRONG ỐNG DẪN. . . . . . . . . . . . . . . . . . . . . . . . . . . . . . . . .21 I.
PHẦN CHUẨN BỊ. . . . . . . . . . . . . . . . . . . . . . . . . . . . . . . . . . . . . . . . . . . . . . 21
II. KẾT QUẢ ĐO. . . . . . . . . . . . . . . . . . . . . . . . . . . . . . . . . . . . . . . . . . . . . . . . . .21
II. PHẦN TÍNH TOÁN VÀ TRÌNH BÀY KẾT QUẢ. . . . . . . . . . . . . . . . . . . . 22 4 Ngày TN: 7/10/2024 CBHD: BÀI 1. THỦY TĨNH
I. CÂU HỎI CHUẨN BỊ:
(Sinh viên phải làm phần này trước khi tới làm thí nghiệm, nếu không đạt yêu
cầu, thì không được phép làm thí nghiệm)
1. Để kiểm tra mặt chuẩn của các thước đo ta phải làm gì?
Kiểm tra mặt chuẩn của các thước đo có nằm ngang hay không ta đọc
mực nước trông ống số 3 và ống số 10. Hai mực nước này phải nằm ngang,
có cao độ bằng nhau vì cùng một chất lỏng là nước, thông với bình tĩnh và
mặt thoáng tiếp xúc với khí trời.
2. Tiến hành thí nghiệm với bộ thí nghiệm thủy tĩnh, ta đo các số liệu nào.
Ta đo cao độ mực chất lỏng trong các ống đo áp từ số 1 đến số 10 (Kể
cả nhóm ống số 2) và ghi lại kết quả vào bảng.
3. Thí nghiệm thủy tĩnh được thực hiện cho bao nhiêu trường hợp, đó là các trường hợp nào?
Tiến hành đo với 3 trường hợp:
- Trường hợp 1: Đưa bình động lên vị trí cao, mặt thoáng bình động
cao hơn bình tĩnh khoảng 15-20cm
- Trường hợp 2: Hạ bình động xuống vị trí trung bình, ZĐ-ZT=5-7cm.
- Trường hợp 3: Hạ bình động xuống vị trí thấp, ZT-ZĐ=15-20cm.
4. Bằng cách nào để thay đổi áp suất khí trong bình T giữa các lần đo?
Áp suất bình T được tính bằng công thức: = + ( 2 3 − 1)Trong
đó: 3, 1: Là cao độ mực chất lỏng trong ống 3 và 1
2 : Trọng lượng riêng của nước tùy vào nhiệt độ môi trường
5. Ta phải đo thêm áp suất và nhiệt độ khí trong phòng để làm gì?
Ta đo thêm áp suất phòng và nhiệt độ phòng để phục vụ cho tính toán .
Nhiệt độ phòng dùng để tra ra 2 trong phụ lục 2a.
II. KẾT QUẢ ĐO VÀ QUAN SÁT:
Áp suất và nhiệt độ không khí khi tiến hành thí nghiệm là:
Pa = ……………760………. mmHg; t0 = ………….31………
0C Trọng lượng riêng của nước là: (tra Phụ lục 2a)
H2O = …………9761. . . . . . . . . . . . N/m3
Ứng với 3 vị trí tương đối của bình Đ so với bình T, ghi giá trị đo của 9 ống
đo áp và nhóm ống 2 vào bảng 1. 5
Bảng 1a. Kết quả đo đạc (Đơn vị đo: cm) TT L1 L4 L6 L8 L9 Ghi L3 L5 L7 L10 Chú 1 23.3 38 16.3 31.3 15.9 32.9 14 15.1 38 2
23.2 29.8 20.5 27.3 20.5 28.3 14.3 14.8 29.8 3 23.1 8.7
31.0 16.7 32.3 16.1 15.1 14.2 8.7
Bảng 1b. Kết quả đo đạc trong nhóm ống 2 STT L21 L22 L23 Ghi chú 1 40.4 39 38.4 2 33.2 31 30.3 3 11.9 9.7 9 6
III. PHẦN TÍNH TOÁN VÀ TRÌNH BÀY KẾT QUẢ THÍ NGHIỆM.
1. Trong bộ thí nghiệm thủy tĩnh, mực nước của những ống
hoặc bình nào bằng nhau? Tại sao?
Mực nước trong ống 3 và 10 bằng nhau vì:
- Đều có chất lỏng là nước
- Cùng thông với bình tĩnh
- Cùng có mặt thoáng tiếp xúc với khí trời
- Đường kính ống giống nhau
2. Trong bộ thí nghiệm thủy tĩnh, mực nước của những ống
nào không tuân theo quy luật thủy tĩnh? Tại sao?
Mực nước trong các ống nhóm 2 (2-1, 2-2, 2-3) không tuân
theo quy luật thủy tĩnh vì các ống này có đường kính nhỏ (d≤3mm)
Ở các ống này xảy ra hiện tượng mao dẫn
3.Tính áp suất tuyệt đối, áp suất dư của khí trong bình T và sai
số tương đối của áp suất này trong các trường hợp đo. Kết quả điền vào bảng 2.
4.Tính trọng lượng riêng của 3 chất lỏng 4 - 5, 6 - 7, 8 - 9 và
sai số tương đối của các trọng lượng riêng này cho các trường
hợp đo. Kết quả điền vào bảng 2. 7
Bảng 2. Kết quả tính toán pt pd δp y4-5 y6-7 y8-9 δy4-5 δy6-7 δy8-9 TT 103N/m2 % 103N/m3 %
1 102.76 1.435 0.757 10.217 9.015 139.32 1.424 1.345 9.848
2 101.97 0.644 1.402 11.196 9.761 152.27 2.873 2.684 21.402
3 99.92 1.046 0.866 9.147 8.074 145.33 1.566 1.484 11.977 Nhận xét:
a) Áp suất trong bình kín
Áp suất trong bình kín giảm khi đưa bình động từ cao xuống thấp và ngược lại.
Ống số 1 và 3 dùng để đo áp suất khí trong bình tĩnh:
- Ống 1 có giá trị thay đổi rất ít, hầu như không thay đổi
- Ống 3 thay đổi khi giảm dần độ cao bình động thì cao
độ ống 3 cũng giảm dần 8
b) Trong cùng một trường hợp đo, sai số đo δy thay đổi theo y như thế nào, tại sao?
Cùng một trường hợp đo thì δy có sự chênh lệch: δy6-7 < δy4-5 < δy8-9
Vì sai số phụ thuộc vào kết quả đọc cao độ mực chất lỏng trong các ống. Ta thấy:
∆ 6−7 < ∆ 4−5 < ∆ 8−9
Sự chênh lệch này còn do trọng lượng riêng của chất lỏng
trong các cặp ống 6-7, 4-5, 8-9 khác nhau. Cụ thể 6−7 < 4−5 < 8−9 9 Ngày TN: 24/04/2021 CBHD: Đã ký
Bài 3A2. PHƯƠNG TRÌNH NĂNG LƯỢNG I. PHẦN CHUẨN BỊ
(Sinh viên phải làm phần này trước khi tới làm thí nghiệm, nếu không đạt yêu
cầu, thì không được phép làm thí nghiệm)
1. Đo mực nước và tọa độ đáy kênh bằng cách nào?
Xác định vị trí mặt cắt kênh từ 1 đến 6
Đo tọa độ đáy kênh bằng cách dùng kinh đo tọa độ gắn trên xe lăn
để đo tại từng mặt cắt.
Đo mực nước thực hiện tương tự như đo đáy kênh. Lưu ý kim đo
phải đặt tại vị trí mặt thoáng chảy ổn định tại từng vị trí mặt cắt.
2. Bằng cách nào để điều chỉnh lưu lượng và nước trong kênh kính? Làm
thí nghiệm với mấy chế độ lưu lượng?
Dùng van 2 và van 5 để điều chỉnh lưu lượng và mực nước (Van 2 mở
ra khoảng 3 vòng) trong kênh.
Làm thí nghiệm với 1 chế độ lưu lượng
3. Khi tiến hành đo, mực nước trong “giếng” thống với kênh bê tông có thay đổi không? Tại sao?
Khi dòng chảy ổn định, mực nước trong giếng thông với kênh không
thay đổi, vì lưu lượng chat qua kênh bằng lưu lượng nước chảy về giếng. II. KẾT QUẢ ĐO 1.
Sau khi tiến hành các bước như trong phần hướng dẫn phúc trình, đo
mực nước Zo trong giếng.
Cao độ đỉnh bờ tràn chữ nhật trên du xích Zđb=…….5.94. . . . . cm
Cao độ mực nước trong “giếng” thông với kênh bê tông Zo=…….1.503…… cm 2.
Đo tọa độ đáy kênh kính Zđi, mặt thoáng nước Zi trong kênh kính tại
các mặt cắt ứng với chế độ mực nước khác nhau, kết quả ghi vào bảng 1. 10
Downloaded by Nguyen Linh (vjt30@gmail.com)
Bảng 1: Tọa độ đáy và mặt thoáng nước trong kênh kính T/T Mặt cắt 1 2 3 4 5 6 Lần Cao độ đáy đo Zđi, cm
34.275 34.35 14.95 15.05 33.86 32.91 1 Cao độ mặt 3.825 4.305 6.49 7.07 7.09 6.55 thoáng nước 2 Zi, cm 4.31
4.805 8.745 9.025 17.55 17.209
Khoảng cách từ m/c i
đến m/c i+1, cm 0 90 90 18 90 90 Khoảng cách cộng dồn
từ m/c 1 đến m/c i, cm 0 90 180 198 288 378
III. PHẦN TÍNH TOÁN VÀ TRÌNH BÀY KẾT QUẢ.
1.Xác định lưu lượng qua kênh theo công thức (3.4) Q =………0.0195 m3/s.
2.Tính vận tốc dòng chảy và cột nước vận tốc tại các mặt cắt
theo công thức (3.5), (3.6). Tính cho hai lần đo. Kết quả ghi vào bảng 2.
3. Ứng với hai lần đo, tính tổn thất năng lượng ℎ 1−3 giữa
mặt cắt 1-3, ℎ 3−4 giữa mặt cắt 3-4 và ℎ 4−6 giữa mặt cắt 4- 6
theo công thức (3.7). Tỉnh tổng tổn thất ℎ 1−6 giữa mặt cắt 1
và 6. Kết quả ghi vào bảng 2.
4. Từ số liệu thu thập được của trường hợp mực nước ở hạ lưu
bậc cao hơn mực nước trên bậc, dựa vào phương trình năng
lượng (3.2) sinh viên hãy tính toán và vẽ đường năng lượng vào
phúc trình (Xem như đáy kênh nằm ngang và chuẩn chọn ở đáy
kênh). Kết quả cột áp nặng lượng ghi vào bảng 3.
5.Dựa vào kết quả ở bảng 3, vẽ đường năng lượng thực và
đường năng lượng lý tưởng.
6.Trong trường hợp dòng lưu chất thực, sự thay đổi năng lượng
xảy ra như thế nào, giải thích? 11
Downloaded by Nguyen Linh (vjt30@gmail.com)
Đối với lưu chất thực, sẽ xảy ra sự tốn thất năng lượng trong
quá trình truyền dẫn nước qua kênh, năng lượng giảm dần từ m/c 1 đến m/c 6.
Sự thay đổi năng lượng này tuân theo công thức: 2 ′ = + + + ℎ 2
Nếu cao độ không đổi và cùng một chất lỏng thì năng lượng phụ
thuộc vào vận tốc dòng chảy và tổn thất đường dài, tổn thất cục
bộ. Cụ thể tổn thất là do dòng lưu chất bị cản lúc đi qua bậc và do ma sát với thành kênh.
7.Trong trường hợp dòng lưu chất lý tưởng, sự thay đổi năng
lượng xảy ra như thế nào, giải thích?
Đối với lưu chất lý tưởng, ta bỏ qua mất năng trong quá
trình truyền dẫn (Ta bỏ qua ma sát giữa chất lỏng với thành
kênh) nên mọi dạng năng lượng sẽ như nhau với mọi đường dòng.
Do đó năng lượng không đổi từ m/c 1 đến m/c 6.
Nguyên nhân là do lưu chất lý tưởng bỏ qua tính nhớt và
ma sát => khong có mất năng dọc đường. 12
Downloaded by Nguyen Linh (vjt30@gmail.com)
Bảng 2: Kết quả tính vận tốc và tổn thất năng lượng Vận tốc V của dòng Tổng Tổn Tổn Tổn Tổn TT chảy m/s
Cột nước vận tốc hvi, cm thất thất thất thất lần đo hfl - hf3 – hf4 – hfl - 6, m/c m/c m/c 3, 4, cm 6, cm m/c 1 m/c 3 m/c 4 m/c 6 m/c cm 1 3 4 6 cm 1 0.160 0.576 0.611 0.185 0.0013 0.0169 0.019 0.0017 21.97 0.478 18.36 4.09 2 0.163 0.786 0.809 0.31 0.0013 0.0315 0.0334 0.0049 23.73 0.178 9.65 14.26 7
Bảng 3: Kết quả tính đường năng cho hai trường hợp Mặt cắt 1 2 3 4 5 6 Khoảng cách từ m/c 1 (cm) 0 90 180 198 288 378
Cột áp năng lượng trường hợp thực (cm) 29.97 29.55 6.24 6.06 16.31 15.71
Cột áp năng lượng trường hợp lý tưởng (cm) 30.45 30.05 8.48 7.99 26.77 26.36
Downloaded by Nguyen Linh (vjt30@gmail.com) Hình: ĐườHn Đìg
ư nờhnm
g vnựăencgõkln
ư eợưnângớchco, bhvaaiàträcđ ư ,ờng hợp 100 80 cmC ,ột cáùp ô 60 önnăn 8
ïgclöượnäm 40 go,cñm 20
00 20 40 60 80 100 120 140 160 180 200 220 240 260 280 300 320 340 360 380 400 Kho K ả h n o g acûn
á gchcatùc ừ hmtö ặt ø m cắtaët1, ca c ét m 1, cm
Downloaded by Nguyen Linh (vjt30@gmail.com)
Bài 3D. ĐO LƯU LƯỢNG KHÍ 1. MỤC ĐÍCH
Bài thí nghiệm giúp sinh viên:
- Hiểu phương pháp đo lưu lượng dòng khí trong đường ống dựa trên
điều kiện bảo toàn năng lượng và động lượng.
- Hiểu cách sử dụng ống đo áp và máy đo áp.
- Tính toán lưu lượng dòng khí từ chênh lệch áp suất.
2. LÝ THUYẾT CƠ BẢN
Lỗ thành mỏng và vòi phun (Hình 1) là hai thiết bị được dùng phổ biến để
đo lưu lượng khí trong ống. Lưu lượng được tính từ chênh lệch áp suất trước và sau thiết bị. a) b)
Hình 1. a) Lỗ thành mỏng. b) Vòi phun
Áp dụng phương trình Bernoulli cho dòng giữa hai mặt cắt trước và sau
thiết bị như trên Hình 1 (bỏ qua tổn thất năng lượng): p V2 p V2 z + 1 + 1 = z + 2 + 2 (3-1) 1 2 yk 2g yk 2g Q Q
Cho ống nằm ngang (z1 = z2), vận tốc V = , V = . 1 2 A A 1 2
Lưu lượng Q được tìm theo chênh lệch áp suất p1 - p2:
Downloaded by Nguyen Linh (vjt30@gmail.com) 1 ( πd2 Q = 2 (p – (3-2) 1 – β4 4 ppk) 12
với d là đường kính của lỗ hay vòi; D là đường kính ống; .
Khi tính đến mất mát năng lượng, hệ số lưu lượng C được thêm vào công thức (3-2): 1 ( πd2 Q = C 2 (p – (3-3) 1–β4 4 p 12 pk)
C được gọi là hệ số lưu lượng, C 1.
Hệ số C phụ thuộc vào hình dạng của lỗ hay của vòi và số Reynolds của dòng.
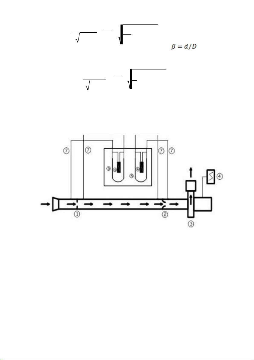
3. MÔ TẢ THÍ NGHIỆM 1 2 3 4
Hình 2. Sơ đồ thí nghiệm. ① Lỗ thành mỏng ② Vòi phun
③ Quạt li tâm và động cơ điện ④ Biến tần ⑤ Ống đo áp ⑥ Máy đo áp suất
⑦ Ống silicon dẫn áp suất từ trong đường ống đến các ống đo áp.
1, 2, 3, 4: số thứ tự các ống đo áp.
Quạt li tâm tạo dòng khí bên trong ống đo. Biến tần dùng để thay đổi tốc độ
quay của quạt và làm thay đổi lưu lượng khí trong ống. Hai thiết bị đo lưu
lượng: lỗ thành mỏng và vòi phun được gắn bên trong ống. Áp suất
Downloaded by Nguyen Linh (vjt30@gmail.com)
trước và sau mỗi thiết bị đo được dẫn đến các ống đo áp. Chênh lệch áp suất
trước và sau được thể hiện bằng hai cách: trên hai ống đo áp chứa nước thông
nhau và trên đồng hồ đo áp kế.
4. HƯỚNG DẪN THÍ NGHIỆM i.
Kiểm tra không có vật cản nằm ở miệng hút và miệng ra của ống khí.
ii. Bật công tắc mở quạt.
iii. Chỉnh số vòng quay biến tần trong khoảng 400 - 450 vòng/phút.
iv. Đọc độ cao mực nước trong hai ống đo áp 1 và 2, ghi vào Bảng 1,
hàng đầu tiên bên dưới cột “ống đo áp 1, 2”. Đọc số chỉ trên áp kế bên
trái, ghi vào Bảng 1, hàng đầu tiên bên dưới cột “áp kế”
v. Đọc độ cao mực nước trong hai ống đo áp 3 và 4, ghi vào Bảng 2,
hàng đầu tiên bên dưới cột “ống đo áp 3, 4”. Đọc số chỉ trên áp kế bên
phải, ghi vào Bảng 2, hàng đầu tiên bên dưới cột “áp kế”.
Lặp lại các bước từ iii đến v cho thêm 3 giá trị vòng quay trên biến tần:
650-700 vòng/phút, 900 - 950 vòng/phút và 1150 - 1200 vòng/phút. Ghi giá trị
tương ứng vào bảng 1 và 2.
5. HƯỚNG DẪN VIẾT BÁO CÁO
- Đọc giá trị nhiệt độ không khí.
- Tra phụ lục 1 để có khối lượng riêng pk của không khí, của nước và pn
độ nhớt động học của không khí .
5.1. Tính toán chênh lệch áp suất: - Cho Lỗ thành mỏng: p1 – p2 = png(h2 – h1 ) (3-4)
trong đó h2 và h1 là chiều cao cột nước trong hai ống đo áp 1 và 2, tính bằng mét.-ChoVòi phun:
p3 – p4 = pn g(h4 – h3 ) (3-5)
trong đó h3 và h4 là chiều cao cột nước trong hai ống đo áp 3 và 4, tính bằng mét.
5.2. Tính toán hệ số lưu lượng C: - Cho Lỗ thành mỏng:
o Đường kính D = 149mm, d = 65mm. o β = d/ D = 0.436
Downloaded by Nguyen Linh (vjt30@gmail.com) Số Reynolds: VD Re = (3-6) v
o Hệ số C được tính theo công thức: ( 6 0.73 7.1 2 2.5 10 C = 0.5959 + 0.0312β – + 0.0029β + Re
0.184β 0.0039β4 (1–β4 )– (3-7) 0.0158β3
Do C phụ thuộc vào số Renolds, nên phụ thuộc vào vận tốc V và lưu lượng
Q. Do đó, C phải được tìm bằng phương pháp lặp theo bảng bên dưới: V = Q/ A = 4Q/ πD2 Re Tính C Tính Q theo (3-7) theo (3-3) Đoán Q tính Q mới theo (3-2) Q mới
Quá trình được lặp lại cho đến khi giá trị Q hội tụ.
Ghi kết quả C và Q ứng với từng tần số tính được vào Bảng 1. - Cho Vòi:
o Đường kính D = 149mm, d = 65mm. o β = d/ D = 0.436
o Hệ số C được tính theo công thức: o C = 0.9858 – 0.196β4.5
o Lưu lượng Q được tính theo công thức (3-3).
Kết quả tính C và Q ứng với từng tần số được ghi vào bảng 2.
5.3. So sánh giá trị chênh lệch áp suất đo được bằng ống đo áp và áp kế:
So sánh các giá trị p1 - p2, p3 – p4 và số chỉ áp kế tương ứng. Tính độ khác biệt: và
Kết quả được ghi vào Bảng 1 và 2.
Downloaded by Nguyen Linh (vjt30@gmail.com)
5.4. So sánh lưu lượng đo được bằng Lỗ thành mỏng và Vòi:
Từ số liệu Q trên bảng 1 và 2, vẽ hai đường quan hệ (Q – tốc độ
quạt) cho hai thiết bị Lỗ thành mỏng và Vòi phun. Thể hiện kết quả
trên Đồ thị 1. Đặt tên cho Đồ thị 1. 5.5. Nhận xét:
- Giải thích sự khác biệt giữa kết quả đo áp suất bằng ống đo áp và bằng áp kế.
- So sánh lưu lượng đo được bằng hai phương pháp lỗ thành
mỏng và vòi phun trên Đồ thị 1.
- Giữa hai phương pháp đo lỗ thành mỏng và vòi phun, phương
pháp nào có độ chính xác cao hơn? Vì sao? 9
Downloaded by Nguyen Linh (vjt30@gmail.com) Ngày TN: 08/05/2021 CBHD: Đã ký
BÀI 3D. ĐO LƯU LƯỢNG KHÍ
I. CÂU HỎI CHUẨN BỊ:
(Sinh viên phải làm phần này trước khi tới làm thí nghiệm, nếu không đạt yêu
cầu, thì không được phép làm thí nghiệm)
1. Các thiết bị được sử dụng để đo lưu lượng khí trong ống ở bài thí nghiệm này là gì?
Bao gồm các thiết bị sau: - Vòi phun
- Quạt li tâm và động cơ điện - Biến tần - Ống đo áp - Máy đo áp suất
- Ống sillicon dẫn áp suất từ trong đường ống đến các ống đo áp.
2. Làm thế nào để thay đổi lưu lượng khí trong ống giữa các lần đo?
Chỉnh số vòng quay trên biến tần để thay đổi tốc độ quay của quạt li
tâm từ đó dẫn đến thay đổi lưu lượng khí trong ống.
3. Đối với một thiết bị đo lưu lượng khí: cần đo bao nhiêu lần và ở mỗi lần
cần đo những số liệu nào? Cần đo 4 lần: Đo những số liệu sau:
- Cao độ mực nước trong ống 1 và 2
- Đọc số chỉ trên áp kế bên trái
- Đọc cao độ mực nước trong ống 3 và 4
- Đọc số chỉ trên áp kế bên phải
I. KẾT QUẢ ĐO VÀ TÍNH TOÁN
Nhiệt độ không khí:………30oC……….
Khối lượng riêng của không khí: ……1.1649. . . . .kg/m3
Độ nhớt động học của không khí: …. 1.6036×10-5 …. m2/s
Khối lượng riêng của nước:……….995.7. . . . . . kg/m3 10
Downloaded by Nguyen Linh (vjt30@gmail.com)

