



















Preview text:
       
Mục lục 
Lời nói đầu…...............................................................................................................3 
Chương 1: Khảo sát hệ thống.....................................................................................6   
1.1. Mô tả hệ thống................................................................................................6 
1.1.1. Nhiệm vụ cơ bản......................................................................................6 
1.1.2. Cơ cấu tổ chức.........................................................................................6 
1.1.3. Quy trình xử lý và quy tắc quản lý........................................................6 
1.1.4. Mẫu biểu...................................................................................................8 
1.2. Mô hình hóa hệ thống...................................................................................12 
1.2.1......................................................................Mô hình tiến trình nghiệp vụ.12 
1.2.2........................................................................................Biểu đồ hoạt động.14 
Chương 2:Phân tích hệ thống...................................................................................12 
2.1. Phân tích chức năng nghiệp vụ.....................................................................17 
2.1.1. Mô hình hóa chức năng nghiệp vụ........................................................17 
2.1.2. Mô hình hóa tiến trình nghiệp vụ..........................................................22 
2.1.3.Đặc tả tiến trình nghiệp vụ......................................................................24 
2.2. Phân tích dữ liệu nghiệp vụ..........................................................................27 
2.2.1. Mô hình hóa dữ liệu ban đầu.................................................................27 
2.2.2. Chuẩn hóa dữ liệu.................................................................................30 
2.2.3.Đặc tả bảng dữ liệu..................................................................................35 
Chương 3:Thiết kế hệ thống.....................................................................................37 
3.1. Xác định tiến trình hệ thống..........................................................................37 
3.1.1. Xác định tiến trình hệ thống..................................................................37 
3.1.2. Xác định bảng dữ liệu hệ thống.............................................................39 
3.1.3. Vẽ DFD hệ thống.....................................................................................40 
3.2. Thiết kế kiểm soát..........................................................................................42 
3.2.1. Xác định nhóm người dùng....................................................................42 
3.2.2. Phân định quyền hạn nhóm người dùng...............................................43 
3.2.2.1. Phân định quyền hạn dữ liệu..............................................................43 
3.3. Thiết kế cơ sở dữ liệu.....................................................................................44  4     
3.3.1. Thiết kế bảng dữ liệu phục vụ bảo mật. ................................................ 44 
3.3.2. Xác định thuộc tính kiểm soát ,bảng kiểm soát. ................................... 45 
3.3.3. Nghiên cứu tình huống gom bảng .......................................................... 46 
3.3.4. Xây dựng mô hình hệ thống ................................................................... 46 
3.3.5. Đặc tả bảng dữ liệu ................................................................................. 47 
3.4. Thiết kế giao diện người máy ......................................................................... 52 
3.4.1. Thiết kế hệ thống đơn chọn ..................................................................... 52 
3.4.2. Thiết kế giao diện nhập liệu cho danh mục. ......................................... 52 
3.4.3. Thiết kế giao diện xử lý nghiệp vụ. ........................................................ 55 
3.4.4. Thiết kế báo cáo ...................................................................................... 57 
Đánh giá và kết luận. ................................................................................................ 60 
Tài liệu tham khảo. ................................................................................................... 61  5                          •      •     
BAN QUẢN LÝ KÍ TÚC XÁ 
Phiếu   số: 
HÓA ĐƠN ĐIỆN- NƯỚC 
Ngày…….Tháng……….Năm…….  Phòng:… 
Tên   SP 
Chỉ   số Chỉ    số Tiêu   thụ    Vượt 
Đơn   giá    Thành  Địn  đầu  cuối  mức  tiền  h  mức  Nước  Điện 
Tổng   số   sản   phẩm:2 
Tổng   số   tiền:  Ngày  tháng 
năm   Người 
thu   tiền 
 Hợp đồng cho thuê chỗ ở nội trú(MB5) 
CỘNG HÒA XÃ HỘI CHỦ NGHĨA VIỆT NAM 
Độc lập - Tự do - Hạnh phúc       
HỢP ĐỒNG THUÊ CHỖ Ở NỘI TRÚ     
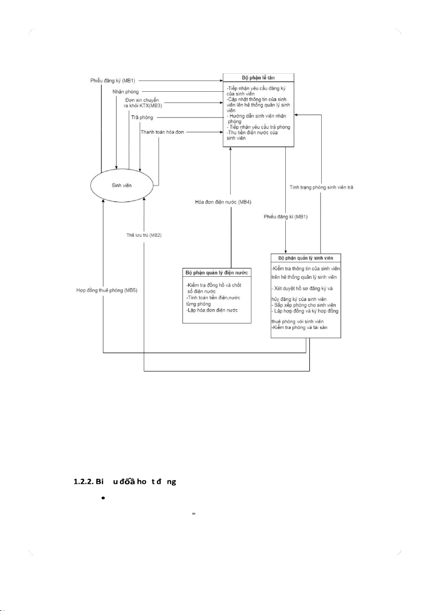
 hóa h ệ thô ng    M         ệ ụ 
 Các ký hiệu sử dụng:  11       
- Bộ phận trong  hệ thống 
- Tác nhân tác động 
- Luồng thông tin  12       
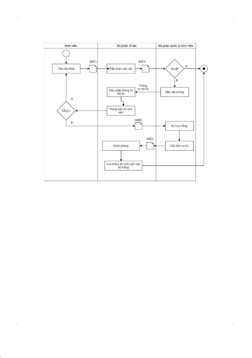
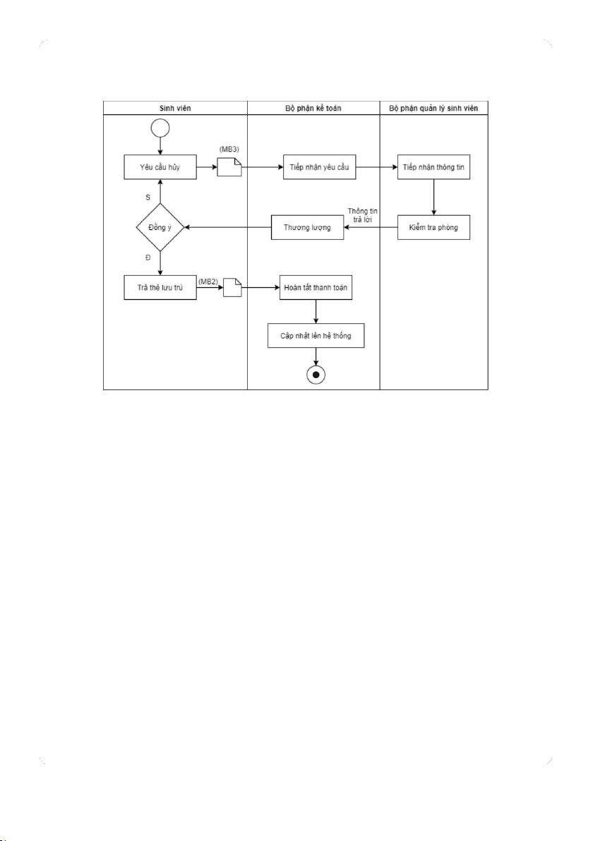
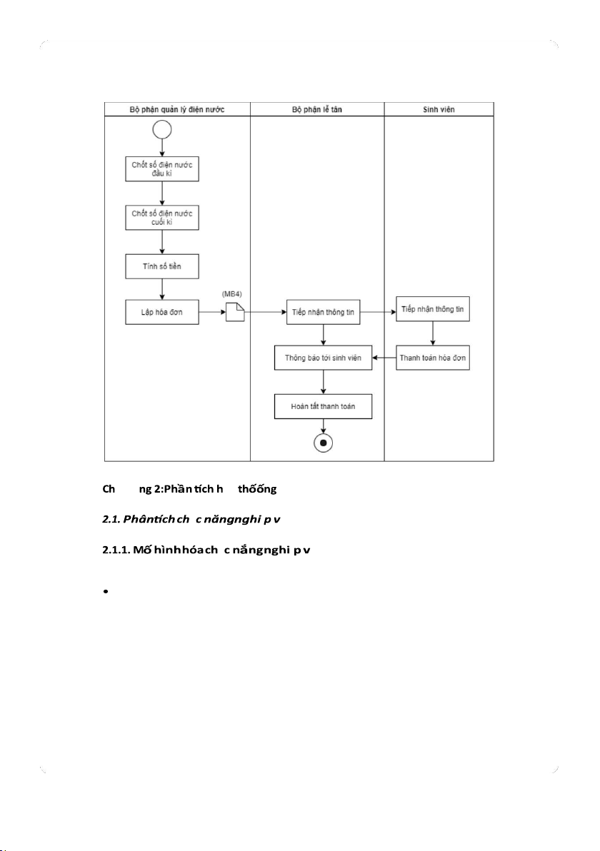
 ể ạ ộ 
 Các ký hiệu sử dụng 
 Bắt đầu / Kết thúc       
 Công việc 
 Điều kiện rẽ nhánh 
 Giấy tờ giao dịch 
 Luồng công việc/ Luồng dữ liệu  14        15        16         ư ơ     ệ        ứ    
 ệ ụ       ứ   ệ ụ 
2.1.1.1. Xác định chức năng chi tiết 
 Bước 1: Gạch chân trong quy trình xử lý 
(1) Tiếp đón và tiếp nhận yêu cầu yêu cầu của sinh viên thông qua Đơn xin vào 
ở KTX ( MB 1) 
(2) Xét duyệt yêu cầu đăng kí của sinh viên 
(3) Sắp xếp phòng cho sinh viên 
(4) Kí hợp đồng thuê phòng với sinh viên  17                         
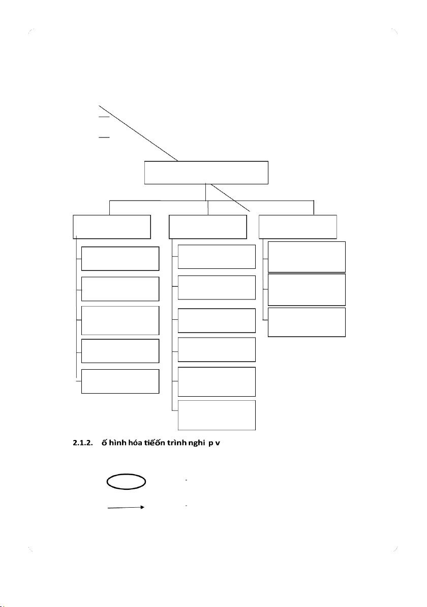
: Quan hệ phân cấp 
Quản lý Ký túc xá 
Quản lý giao dịch 
Quản lý sinh viên 
Quản lý điện nước  Đăng
Kiểm tra đồng hồ 
 kí phòng  Xét duyệt  điện nước  Nhận phòng 
Sắp xếp phòng  Tính  tiền  điện  nước 
Cập nhật thông tin 
Kí hợp đồng 
Lập hóa đơn điện  lên hệ thống  nước  Trả phòng 
Cấp thẻ lưu trú 
Thu tiền điện nước 
Kiểm tra thông tin  sinh viên 
Kiểm tra phòng và  tàu sản   M         ệ ụ 
2.1.2.1. Ký hiệu sử dụng 
 Tiến   trình 
 Luồng   dữ   liệu