



















Preview text:
  lOMoAR cPSD| 58833082  BM : THIẾT KẾ MÁY 
TRƯỜNG ĐẠI HỌC GIAO THÔNG VẬN TẢI PHÂN HIỆU TẠI  TP.HCM  ----------   
Thuyết Minh ĐỒ ÁN CHI  TIẾT MÁY 
GVHD: NGUYỄN HỮU CHÍ 
SVTH: ĐẶNG ĐÌNH HÙNG 
Lớp: Kỹ Thuật Ô Tô 1 - K61  MSSV: 6151040063 
Đề số: V - Phương án: 3  TP.HCM -  Tháng 12/2022      Trang 2      lOMoAR cPSD| 58833082  BM : THIẾT KẾ MÁY    Trang 3      lOMoAR cPSD| 58833082  BM : THIẾT KẾ MÁY  LỜI NÓI ĐẦU 
Trong cuộc sống chúng ta có thể bắt gặp những hệ thống truyền động ở khắp nơi và có thể 
nói nó đóng vai trò nhất định trong cuộc sống cũng như trong sản xuất. Đối với các hệ thống 
truyền động thường gặp thì có thể nói hộp giảm tốc là một bộ phận không thể thiếu. 
Đồ án thiết kế hệ thống truyền động cơ khí giúp củng cố lại các kiến thức đã học 
trong các môn: Nguyên Lý Máy, Chi Tiết Máy, Vẽ Kỹ Thuật Cơ Khí… và giúp sinh viên có cái 
nhìn tổng quan về việc thiết kế cơ khí. Công việc thiết kế hộp giảm tốc giúp chúng ta hiểu kỹ hơn 
và có cái nhìn cụ thể hơn về cấu tạo cũng như chức năng của các chi tiết cơ bản như bánh răng, ổ 
lăn… Thêm vào đó trong quá trình thực hiện các sinh viên có thể bổ sung và hoàn thiện kỹ năng 
vẽ hình chiếu với công cụ AutoCad - điều rất cần thiết với một kỹ sư cơ khí. 
 Em xin chân thành cảm ơn thầy Nguyễn Hữu Chí và các bạn trong khoa cơ khí đã giúp đỡ 
em rất nhiều trong quá trình thực hiện đồ án. 
 Với kiến thức còn hạn hẹp, do đó thiếu xót là điều không thể tránh khỏi, em mong nhận 
được ý kiến từ thầy cô và bạn bè để đồ án này được hoàn thiện hơn. 
 Thành Phố Hồ Chí Minh, ngày 17 tháng 12 năm 2022                                      Trang 4      lOMoAR cPSD| 58833082  BM : THIẾT KẾ MÁY  NHẬN XÉT 
………………………………………………………………………………… 
………………………………………………………………………………… 
………………………………………………………………………………… 
………………………………………………………………………………… 
………………………………………………………………………………… 
………………………………………………………………………………… 
………………………………………………………………………………… 
………………………………………………………………………………… 
………………………………………………………………………………… 
………………………………………………………………………………… 
………………………………………………………………………………… 
………………………………………………………………………………… 
………………………………………………………………………………… 
………………………………………………………………………………… 
………………………………………………………………………………… 
………………………………………………………………………………… 
………………………………………………………………………………… 
………………………………………………………………………………… 
………………………………………………………………………………… 
………………………………………………………………………………… 
………………………………………………………………………………… 
………………………………………………………………………………… 
………………………………………………………………………………… 
………………………………………………………………………………… 
………………………………………………………………………………… 
………………………………………………………………………………… 
………………………………………………………………………………… 
………………………………………………………………………………… 
………………………………………………………………………………… 
………………………………………………………………………………… 
…………………………………………………………………………………  Trang 5      lOMoAR cPSD| 58833082  BM : THIẾT KẾ MÁY 
Các số liệu phục vụ cho công việc thiết kế : 
Sơ đồ hướng dẫn   
Chế độ làm việc : mỗi ngày làm việc 2 ca , mỗi ca 4 giờ . Mỗi năm làm việc 310 
ngày, tải trọng va đập nhẹ  Phương án  3  Thứ nguyên 
Lực vòng trên băng tải P  650  KG  Vận tốc băng tải  0,9  m/s  Đường kính trong D  420  mm  Chiều rộng băng tải B  400  mm  Thời hạn phục vụ  5  Năm  Tỷ số M1/ M  0,6   
Sai số vận tốc cho phép  5  % 
Phần I CHỌN ĐỘNG CƠ VÀ PHÂN PHỐI TỶ SỐ TRUYỀN      Trang 6      lOMoAR cPSD| 58833082  BM : THIẾT KẾ MÁY 
1 ) Chọn động cơ : 
Chọn động cơ điện để dẫn động máy móc hoặc thiết bị công nghệ là giai đoạn đầu 
tiên trong quá trình tính toán thiết kế máy . Trong rất nhiều trường hợp dung hộp giảm 
tốc và động cơ biệt lập ,việc chọn đúng loại động cơ ảnh hưởng rất nhiều đến việc lựa 
chọn và thiết kế hộp giảm tốc cũng như các bộ truyền ngoài hộp . Muốn chọn đúng loại 
động cơ cần hiểu rõ đặc tính và phạm vi sử dụng của từng loại đồng thời cần chú ý đến 
các yêu cầu làm việc cụ thể của các thiết bị cần được dẫn động → Để chọn động cơ ta 
tiến hành theo các bước sau : 
- Tính công suất cần thiết của động cơ 
- Xác định sơ bộ số vòng quay đồng bộ của động cơ 
- Dựa vào công suất và số vòng quay đồng bộ kết hợp với các yêu cầu về quá tải , 
mômen mở máy và phương pháp lắp đặt động cơ để chọn kích thước động cơ phù 
hợp với yêu cầu thiết kế 
a ) Xác định công suất động cơ : 
Do động cơ làm việc ở chế độ dài hạn với phụ tải thay đổi nên ta chọn công suất 
của động cơ sao cho trong thời gian làm việc động cơ lúc chạy quá tải , lúc chạy non tải 
một cách thích hợp để nhiệt độ động cơ đạt giá trị ổn định . Như vậy ta coi động cơ làm 
việc với phụ tải đẳng trị không đổi . Bằng phương pháp mômen đẳng trị ta xác định 
công suất của động cơ.           =      Ta có : P   đt =     
  Pđt = 0,79 . Pl ; Trong đó M là mômen của hệ thống truyền động    P.V  650.10.0.9   Với Pl  = 
 Pđt = 0,79. P= 0,79.5,85 ≈ 4,62 Hiệu 
suất truyền động : η=ηbr×ηổ×ηkhớp nối Với : 
η br – hiệu suất cặp bánh răng η ổ - Hiệu 
suất 1 cặp ổ lăn ηkhớp nối - Hiệu suất nối  trục di động 
Tra bảng 2-3 “ trị số các hiệu suất” (sách TTTKHDD cơ khí trang 19) ta có : 
Hiệu suất truyền động là : η 4   = 0,984×0,9954×0,99 
br ×η4ổ ×ηkhớ pnố i ≈ 0,89  Trang 7      lOMoAR cPSD| 58833082  BM : THIẾT KẾ MÁY  4,62 
Công suất trên trục động cơ là: Pct = 0,89 ≈ 5,19 (KW) 
Cần phải chọn động cơ điện có công suất lớn hơn hoặc bằng công suất cần thiết trên trục  động cơ 
b) Xác định sơ bộ số vòng quay đồng bộ của động cơ nsb 
Số vòng quay sơ bộ của động cơ: nsb = nlv . ut 
Trong đó: nlv - Số vòng quay của trục máy công tác trong 1 phút 
ut – tỷ số truyền toàn bộ của hệ thống dẫn động 
Số vòng quay của trục máy công tác (tang quay) trong 1 phút :  60000.v     nlv = πD  =  40,95(v/ph) 
Tỷ số truyền toàn bộ của hệ thống dẫn động : đối với bộ truyền bánh răng trụ hai cấp ta  chọn ut = 18 
 Số vòng quay sơ bộ của động cơ : nsb = 40,95.18 = 737,1 (v/ph) c)  Chọn động cơ : 
Qua việc tính toán các thông số trên ta dựa vào bảng 2P sách “Thiết kế chi tiết máy” trang 
238 để chọn động cơ kiểu 4A160S8Y3 có các thông số kỹ thuật sau:  + Công suất: Pđc = 7,5 kW  + 𝑐𝑜𝑠𝜑 = 0,75   
 + Vân tốc: ̣nđc = 730 vg/ph 
+ Tỷ số momen khởi động: 𝑇𝑘/ 𝑇𝑑𝑛 = 1,4 
+ Tỷ số momen 𝑇max/ 𝑇𝑑𝑛 = 2,2    + Hiêu suất: η =̣ 86 %    Tmm  T   
Thỏa mãn điều kiện : T  Tdn 
2. Phân phối tỷ số truyền : 
Việc phân phối tỷ số truyền cho các cấp bộ truyền trong hộp giảm tốc có ảnh hưởng rất 
lớn tới kích thước và khối lượng của hộp giảm tốc .  nđc   
Tỷ số truyền chung : uh =  Nlv 40,95 
Mà uh = u1.u2=5,31.3,39=18,00      Trang 8      lOMoAR cPSD| 58833082  BM : THIẾT KẾ MÁY 
Với u1 – tỷ số truyền bộ truyền bánh răng trụ răng nghiêng cấp nhanh 
u2 – tỷ số truyền bộ truyền bánh răng trụ răng thẳng cấp chậm Kiểm tra 
sai số cho phép về tỷ số truyền:  % 
Để tạo điều kiện bôi trơn các bộ truyền bánh răng trong hộp giảm tốc đồng trục bằng 
phương pháp ngâm dầu ta chọn u1 = u2   u1 = u  
3. Xác định công suất , mômen và số vòng quay trên các trục :  Trục I: PI = Pđc =7,5 KW ;   nđc = 730 v/ph ;   Tđc = 
9,55.106. Pđc = 9,55.106.7,5 ≈ Nmm nđc  Pđc 
Trục II : PII = .ηbr.ηổ = 3,25 . 0,98 .0,995 ≈ 3,169075 KW 2 
nđc 730 nII = u1 =  4,22 ≈ 172,9857 v/ph   TII =  6 II = 
9,55.106.3,169075 ≈ Nmm 9,55.10 . P  nII 
Trục III : PIII = 2. PII .ηbr .ηổ = 2.3,169075 . 0,98 .0,995 ≈ 6,18033 KW  nII 172,9857 nIII =  u2 = 4,22   ≈ 40,9918 v/ph   TIII =  6 III = 
9,55.106.6,18033 ≈ Nmm 9,55.10 . P  nIII 
Ta có bảng hệ thống các số liệu tính được :   Trục    Thông  Động Cơ   I  II  III  Trang 9      lOMoAR cPSD| 58833082  BM : THIẾT KẾ MÁY  Số    Tỷ số truyền u   4,22 4,22    Công suất P  KW   7,5  3,169075  6,18033    Số vòng quay n  v/ph  730  172,98  40,99    Mômen xoắn T  Nmm  98116,43836  174954,646  1439852,641 
Phần II THIẾT KẾ BỘ TRUYỀN BÁNH RĂNG 
I. .Chọn vật liệu chế tạo bánh răng : 
Vì hộp giảm tốc có công suất nhỏ bộ truyền chịu tải trọng va đập nhẹ và không có yêu 
cầu gì đặc biệt nên ta chọn vật liệu chế tạo hai cấp bánh răng như sau : 
• Bánh lớn : Thép 45 tôi cải thiện đạt độ rắn 
HB192….. 240 chọn HB2 = 235 
 giới hạn bền : σb2 = 750 MPa ; 
 giới hạn chảy : σch2 =450 MPa 
• Bánh nhỏ : Thép 45 tôi cải thiện 
 đạt độ rắn HB241….. 285 ta chọn HB1 = 250 
 giới hạn bền : σb1 = 850 MPa ; 
giới hạn chảy : σch1 =580 MPa   
II. . Xác định ứng suất cho phép : 
Theo bảng 6-2 ‘trị số của σ0Hlim và σ0Flim ’ sách TKHDDCK trang 94 
Với thép 45 tôi cải thiện đạt độ rắn HB 180…. 350 ta có : 
 σ0Hlim = 2HB + 70 ; SH = 1,1   σ0Flim = 1,8HB ; SF = 1,75 
khi đó : σ0Hlim1 = 2HB1 + 70 = 2.250 + 70 = 570 MPa 
σ0Flim1 = 1,8HB1 = 1,8 . 250 = 450 MPa σ0Hlim2 = 
2HB2 + 70 = 2.235 + 70 = 540 MPa σ0Flim2 =  1,8HB2 = 1,8 . 235 = 423 MPa 
Theo công thức 6-5: NHO =30. H2 ,4 do đó  HB
 NHO1 =30 . 2502,4 ≈ 17,06.106 
 NHO2 =30 . 2352,4 ≈ 14,71 .106   NFO1=NFO2= 4.106  Theo công thức (6-7 )    T  3  T i  3   NHE =  60c.n  =  60c.n iti II/u.ti      Trang 10      lOMoAR cPSD| 58833082  BM : THIẾT KẾ MÁY 
 Do thời gian khởi động là 3s quá nhỏ so với thời gian làm việc, nên ta có thể tạm  thời bỏ qua    NHE2  > NHO2 
 NHE1 = 36,13.108.4,22≈ 15,24.109 > NHO1 
Do đó lấy KHL1 = 1 là hệ số tuổi thọ , xét đến ảnh hưởng của thời gian phục vụ và chế độ 
tải trong của bộ truyền 
Như vậy theo 6-1a sơ bộ xác định được : [σH] = σ0Hlim. KHL/SH 
 [σH]1 = 570.1/1,1 ≈ 518,18 MPa 
 [σH]2 = 540.1/1,1 ≈ 490,9 MPa 
Với cấp nhanh sử dụng răng nghiêng do đó theo 6-12 :   
[H] = ([H]1 + [H]2)/2 =  504,54 MPa 
 [H] < 1,25 .min( [H]1 ; [H]2 ) = 1,25.490,9 ≈ 613,625 MPa 
 Với Cấp chậm sử dụng răng thẳng và tính ra NHE đều lớn hơn NHO nên KHL =1 do đó : 
[H]’ =[H]2 = 490,9 MPa    T  6  Theo (6-7) : NEF =  60c..niti    NEF2 =  > NFO   Do đó :KLF2 =1 
NFE1 = u. NFE2 = 4,22.31,91.106 ≈ 13,47.107 > NFO  do đó lấy KLF1 =1 Theo  6.2a:   [F] = ❑o . K Flim FC .KFL / SF 
Với : ❑oFlim- ứng suất giới hạn mỏi tương ứng với chu kỳ cơ sở 
 KFC - hệ số xét đến ảnh hưởng của đặt tải . Với bộ truyền quay 1 chiều KFC =1 ta  được : 
 [F]1 = 450.1.1/1,75 = 257,14 MPa 
[F]2 = 423. 1.1/1,75 ≈ 241,71 MPa Ứng  suất quá tải cho phép :  Theo (6-13) và (6-14) 
 [H]max = 2,8. ch2 = 2,8.450 = 1260 MPa 
 [F1]max = 0,8. ch1 = 0,8 . 580 = 464 MPa 
 [F2]max = 0,8. ch2 = 0,8 . 450 = 360 MPa   
III. TÍNH TOÁN BỘ TRUYỀN CẤP NHANH  Trang 11      lOMoAR cPSD| 58833082  BM : THIẾT KẾ MÁY 
1. Tính khoảng cách trục 
Do đây là hộp giảm tốc đồng trục nên lấy khoảng cách trục của cấp nhanh bằng khoảng 
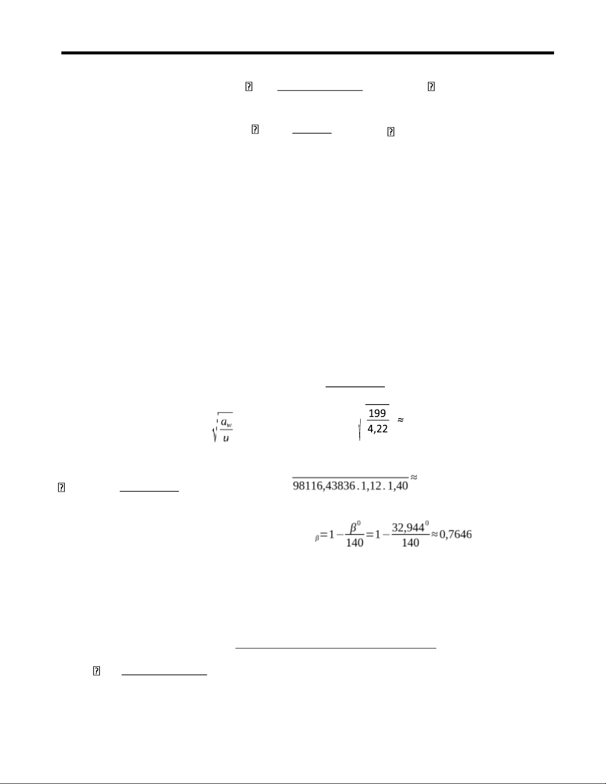
cách trục cấp chậm của bộ truyền  aw1 = 199 mm 
2. Xác định các thông số ăn khớp 
• Xác định mô đun : theo công thức (6.17) m = (0,01 ÷ 0,02)aw1 = (0,01÷0,02)  199 = 1,99 ÷ 3,98 
dựa theo tiêu chuẩn trị số của mô đun (bảng 6.8) ta chọn mô đun pháp tuyến mn =2 mm   
Xác định số răng , góc nghiêng  và số dịch chỉnh x :  Chọn sơ bộ  = 350     cos  2.   =     =  2.   
Số răng bánh nhỏ : z1 m.(u1+1)  ≈ 31,22  Lấy z1 = 32 răng 
 số răng bánh lớn theo công thức (6.20) ta có : 
z2 = u2. z1 =4,22.32= 135,04 lấy z2 = 135 
• Tỷ số truyền thực tế um  
• Sai lệch tỷ số truyền    0% < 2% (thỏa mãn) 
• Ta tiến hành tính lại góc nghiêng  : theo (6.32) ta có 6   
m.( z1+z2) 2.(32+135)  0    cos(β)= = 
≈0,839 => =32,944    2.aw  2.199 
• Với z1 >30 ta không dùng dịch chỉnh góc x1 = 0 ;x2 = 0 và aw1 = 199 mm 
• Góc ăn khớp xác định theo (6.27)   
zt .m.cosα 167.2.cos(20)  0    cosα  = = 
≈0,7885 => α =37,946 
3.Kiểm nghiệm bánh răng về sức bền tiếp xúc của răng : 
Theo công thức (6-33) ứng suất tiếp xúc xuất hiện trên bề mặt làm việc của răng :  σH = ZM .ZH . Z H ] 
trong đó : ZM - hệ số kể đến cơ tính vật liệu của các bánh răng ăn khớp 
tra bảng (6-5) chọn ZM = 274 MPa1/3      Trang 12      lOMoAR cPSD| 58833082  BM : THIẾT KẾ MÁY  2.cos βb 
ZH – hệ số kể đến hình dạng bề mặt tiếp xúc ZH =√ 
sin2αtw Zε – hệ số kể đến sự trùng khớp của răng T1 = mô 
men xoắn trên trục bánh chủ động. KH – hệ số tải trọng khi 
tính về tiếp xúc bw - chiều rộng vành răng dw1 - đường  kính vòng lăn bánh nhỏ 
Đối với bánh răng trụ răng nghiêng ta có : 
góc prôfin răng :t=arctg (tgα / cosβ) = arctg(tg(20) / cos(32,944)) ≈ 23,4460 
 Khoảng cách trục chia : a = 0,5.m(z1+ z2)/cos = 0,5.2.(167)/cos(32,944 0) ≈ 199 mm 
Góc nghiêng của răng trên trục cơ sở (theo 6.35) 
tgβb=cosαt .tgβ=cos(23,4460).tg(32,944 0)≈0,594 => βb ≈ 30,7320 hệ số xét đến hình 
dạng bề mặt tiếp xúc :   ZH =  1,331 
Chiều rộng vành răng : bw = 𝜓ba . aw = 0,4 .199 = 79,6 mm 
Theo công thức hệ số trùng khớp dọc : εβ = bw .sinβ / mπ = 79,6. Sin 32,9440 / 2.3.14 ≈  6,889 > 1 
Theo công thức 6.36c ta có : Z  
Với εα – là hệ số trùng khớp ngang . Theo công thức 6-38b ta có : 
εα = [1,88 – 3,2(1/z1 + 1/z2 ) ] .cosβ = [1,88- 3,2 (1/32 + 1/135)]. Cos 32,9440 ≈ 1,4738   Z  
Đường kính vòng lăn bánh nhỏ : dw1 = 2 aW/( u1 + 1) = 2.199 /(4,22+1)≈ 76,245 mm π  dw1 .n1    Vận tốc vòng : v =   =  2,914 m/s  60000 
 dựa theo vận tốc và bảng 6.13 thì cấp chính xác của bánh răng là 9 
Hệ số tải trọng khi tính về tiếp xúc theo công thức (6.39) ta có :   KH = KHβ KHα KHv 
Trong đó : KHβ – hệ số kể đến sự phân bố tải trọng không đều trên chiều rộng vành răng.  KHβ = 1,055 
KHα – hệ số kể đến sự phân bố tải trọng không đều cho các đôi răng đồng thời ăn khớp . 
với bánh răng thẳng KHα =1,16 
KHv – hệ số kể đến tải trong động xuất hiện trong vùng ăn khớp  Trang 13      lOMoAR cPSD| 58833082  BM : THIẾT KẾ MÁY  vH .bw .dw1 
Theo công thức (6.41) ta có: K = 1+  Hv
2.T 1. K Hβ K Hα  Trong đó : v  = .g H δH 0.v√ aw  u 
δ  – hệ số kể đến ảnh hưởng của sai số ăn khớp.Tra bảng 6.15 ta chọn =0,002 g H δH 0 – hệ số 
kể đến ảnh hưởng của sai lệch các bước răng bánh 1 và bánh 2 . Tra bảng 6- 16 ta chọn g0  = 73     
 v  = 0,002 . 73 . 2,914 .   2,921  H   v   H .bw .dw1
= 1+ 2,921.76,245.79,6 = 1 ,147     
Vậy : KHv = 1+ 2.T 1. K Hβ K 
 KH = KHβ KHα KHv = 1,055 . 1,16 .1,147= 1,403 
Vậy ứng suất tiếp xúc xuất hiện trên bề mặt làm việc của răng :  σH = ZM .ZH . Z   = 274 ×  MPa 
Xác định chính xác ứng suất tiếp xúc cho phép : 
 Theo công thức (6-1) [σH] = (σ o  / S Hlim H ).ZR Zv . KxH KHL 
Zv – hệ số xét đến ảnh hưởng của vận tốc vòng . Do v =2,914 m/s nên lấy Zv =1 
Với cấp chính xác động học là 9 , chọn cấp chính xác về mức tiếp xúc là 8 ,khi đó cần gia 
công độ nhám Ra = 2,5 … 1,25 μm, do đó ZR = 0,95 . với da <700mm, KHL = 1 do đó theo 
(6-1) và (6-1a) Vậy [σH] = 481,82× 1×0,95×1 =457,73 MPa ta thấy σH = 182,225 <  [σH] = 457,73 MPa 
Vậy các thông số của bộ truyền là hợp lí theo độ bền tiếp xúc 
4 .Kiểm nghiệm răng về độ bền uốn : 
ứng suất uốn sinh ra tại chân răng : theo công thức (6-43) và (6-44) 
2T 1. K F Y ε Y βY F1      Trang 14      lOMoAR cPSD| 58833082  BM : THIẾT KẾ MÁY    F1 = 
bw .dw1 .m ≤ [F1 ]  F2 = ❑  
FY1FY1 F2 ≤ [F2]  Trong đó : 
T1 – mô men xoắn trên bánh chủ động Nmm  KF - mô đun pháp bw -  chiều rộng vành răng 
dw1 - đường kính vòng lăn bánh chủ động Yε 
– hệ số kể đến sự trùng khớp của bánh răng 
Ta có Yε = 1/ εα = 1/ 1,4738 ≈ 0,678 
KF = KFβ KFα KFv - hệ số tải trọng khi tính về uốn 
 Với KFβ là hệ số xét đến sự phân bố không đều tải trọng trên chiều rộng vành răng 
khi tính về uốn . tra bảng 6.7 ta chọn KFβ = 1,12 
KFα – là hệ số kể đến sự phân bố không đều tải trọng cho các đôi răng đồng thời an 
khớp khi tính về uốn . vì bộ truyền cấp nhanh là bánh răng nghiêng nên KFα =1,40 
KFv – là hệ số kể đến tải trọng xuất hiện trong vùng ăn khớp khi tính về uốn  v F .bw dw1 
KFv = 1+ 2T 1 K Fβ KFα       
Trong đó : vF= δF go. v.  = 0,006 . 73 . 2,914 .   8,764 
( Tra bảng 6.15 và bảng 6.16 ta chọn δF= 0,006 ; go = 73 )   KFv = 1+ 
2vTF1.KbwFβdKw 1Fα = 1+ 
8,764×79,6×76,245 1,345 
Vậy hệ số tải trọng khi tính về uốn : KF = KFβ KFα KFv =1,12 . 1,4. 1,345 ≈ 2,108 
Yβ - hệ số kể đến độ nghiêng của răng Y   
YF1 ; YF2– hệ số dạng răng của bánh 1và bánh 2 phụ thuộc vào số răng tương đương 
zv1 và zv2 của bánh 1 ;2 và hệ số dịch chỉnh Ta có zv1 = z1 / cos3β = 
32/cos3(32,944)≈54,143 ; zv2 = z2 / cos3β = 135/cos3(32,944) ≈228,419 
Tra bảng 6-18 ta chọn YF1 = 3,637 ; YF2 = 3,6   Vậy   
2T 1. K F Y ε Y βY F1 
98116,43836×2,108×0,678×0,7646×3,637    F1 =  bw .dw1 .m  =  79,6×76,245×2  ≈32,126 MPa  Trang 15      lOMoAR cPSD| 58833082  BM : THIẾT KẾ MÁY  ❑   F 1Y F2 =  3,637 MPa    F2 = Y F1 
Tính ứng suất uốn cho phép : theo công thức (6-2) ta có 
[F] = (σ oFlim / SF ).YR Ys . KxF KFL KFC 
Trong đó : YR =1 hệ số xét đến ảnh hưởng của độ nhám mặt lượn chân răng 
 Ys - hệ số xét đến độ nhạy của vật liệu đối với tập trung ứng suất 
Ys = 1,08 – 0,0695 ln(m) = 1,08 – 0,0695ln(2) ≈ 1,0318 
KxF –hệ số xét đến kích thước bánh răng ảnh hưởng đến độ bền uốn .chọn KxF =1 
 [F1] = [F1].YS.YR.KXF = 32,126. 1,0318 . 1 .1 ≈ 333.147 MPa 
 [F2] = [F2].YS.YR.KXF = 31,799.1,0318.1.1 ≈ 32,81 MPa 
Vậy F1 < [F1] ; F2 < [F2]  5. 
Kiểm nghiệm răng về quá tải : Tmax 1,4 M Ta có hệ số  quá tải Kqt =  T = M =1,4 
ứng suất tiếp xúc cực đại theo công thức (6-48) : H1max = H . √Kqt =  182,225.
 = 215,611 (MPa) Ta thấy H1max <  [H]max = 1260 MPa 
ứng suất uốn cực đại tạ mạt lượn chân răng theo công thức (6-49 ) ta có  Fmax = F . Kqt 
 F1max = F1 . Kqt = 32,126. 1,4 = 44,976 (MPa) < [F1]max 
 F2max = F2 . Kqt= 31,799 .1,4 = 44,518 (MPa ) < [F2]max  6. 
Các thông số và kích thước của bộ truyền : 
Khoảng cách trục : aw =199 mm  Mô đun pháp : m = 2 mm 
Chiều rộng vành răng : bw = 79,6 mm  Tỷ số truyền : u = 4,22 
Góc nghiêng răng : β = 32,9440 
Số răng bánh răng : z1 = 32 ; z2 = 135 
Hệ số dịch chỉnh x1 = x2 = 0    Đường kính vòng chi 1  a : d = mz1 =  2.32         ≈ 76,26 mm      2 
mz2 d = = ≈ 321,73 mm        0
đường kính đỉnh răng :da1 = d1 + 2.(1+x1- Δ Y).m =76,26+2.(1+0).2 =80,26 mm      Trang 16      lOMoAR cPSD| 58833082  BM : THIẾT KẾ MÁY 
da2 = d2 + 2.(1+x2- Δ Y).m =321,73 + 2.(1+0).2= 325,73 mm đường kính đáy răng : 
df1=d1-(2,5- 2.x1).m = 76,26 - (2,5- 0). 2 = 71,26 mm df2 = 
d2 - (2,5- 2.x2).m = 321,73 - (2,5- 0). 2 = 317,73 mm 
Ta có bảng các thông số của bộ truyền bánh răng cấp nhanh :  Thông số  Giá trị  Thứ nguyên  Khoảng cách trục  199  mm  Mô đun pháp  2  mm  Chiều rộng vành răng  79,6  mm  Tỷ số truyền  4,22    Góc nghiêng răng  32,944  Độ  Số răng bánh nhỏ  32    Số răng bánh lớn  135   
Đường kính vòng chia bánh nhỏ  76,26  mm 
Đường kính vòng chia bánh lớn  321,73  mm 
Đường kính đỉnh răng bánh nhỏ  80,26  mm 
Đường kính đỉnh răng bánh lớn  325,73  mm 
Đường kính đáy răng bánh nhỏ  71,26  mm 
Đường kính đáy răng bánh lớn  317,73  mm      IV. 
THIẾT KẾ BỘ TRUYỀN CẤP CHẬM :(bộ truyền bánh  răng trụ răng thẳng) 
1. Xác định sơ bộ khoảng cách trục: 
Do đây là hộp giảm tốc đồng trục nên lấy khoảng cách trục của cấp nhanh bằng 
khoảng cách trục cấp chậm của bộ truyền (aw1=aw2)        theo 6-15a : a   ba  w2 =Ka.(u2 + 1).   
trong đó : Ka – hệ số phụ thuộc vào vật liệu của cặp bánh răng và dạng răng . Tra 
bảng 6-5 sách TKHDDCK trang 96 ta có Ka = 49,5 (MPa1/3)  Trang 17      lOMoAR cPSD| 58833082  BM : THIẾT KẾ MÁY 
𝜓ba = bw/aw tra bảng 6-6 ta chọn 𝜓ba = 0,4 
Theo công thức(6-16)ta có:𝜓bd = 0,53 𝜓ba(u1+1) = 0,53.0,4.(4,22+1) ≈ 1,106 
KHβ – hệ số kể đến sự phân bố không đều tải trong trên chiều rộng vành răng khi tính 
về tiếp xúc .Với 𝜓bd = 1,383 kết hợp tra bảng 6.7 sách TKHDCK trang 98 ta chọn KHβ 
≈1,055 ứng với sơ đồ 6 
T2 : mômen xoắn trên trục chủ động 
[H] : ứng suất tiếp xúc cho phép 
Thay số vào ta có: aw2 = 49,5.  198,55 (mm)  Lấy aw1 = 199 
2. Xác định các thông số ăn khớp 
 Xác định mô đun : theo công thức (6-17) m = (0,01 ÷ 
0,02)aw2 = (0,01÷0,02) 199 = 1,99 ÷ 3,98 dựa theo tiêu 
chuẩn trị số của mô đun (bảng 6.8) ta chọn mô đun  pháp tuyến mn = 2 mm 
z1=2aw2/[m.(u2+1)]=2.199/(2.(4,22+1)) ≈ 38,12  Lấy z1= 38 răng  z = 4,22.38 2=u2 .z1 ≈160,36  Lấy z2=160 răng 
Vì z1>30 nên không cần dịch chỉnh; lấy aw2 = 199 mm  z2  160 
 Tỉ số truyền thực tế: um   ≈   −u  4,21  4,22    Sai lệch tỉ số truyền  u2  4,22  % (thỏa mãn)   
3 .Kiểm nghiệm bánh răng về sức bền tiếp xúc của răng : 
Theo công thức (6-33) ứng suất tiếp xúc xuất hiện trên bề mặt làm việc của răng :  σH = ZM .ZH . Z H ] 
trong đó : ZM - hệ số kể đến cơ tính vật liệu của các bánh răng ăn khớp 
tra bảng (6-5) chọn ZM = 274 MPa1/3      Trang 18      lOMoAR cPSD| 58833082  BM : THIẾT KẾ MÁY  2.cos βb 
ZH – hệ số kể đến hình dạng bề mặt tiếp xúc ZH =√ sin2αtw Zε 
– hệ số kể đến sự trùng khớp của răng T2 = mô men xoắn trên 
trục bánh bị động. KH – hệ số tải trọng khi tính về tiếp xúc bw - 
chiều rộng vành răng dw2 - đường kính vòng lăn bánh nhỏ Đối 
với bánh răng trụ răng thẳng ta có : 
góc prôfin răng :t=tw = arctg (tgα / cosβ) = arctg(tg(20) / cos(0)) = 200 
 Khoảng cách trục chia : a = 0,5.m(z1+ z2)/cos = 0,5.2.(199)/cos(00) =199 mm 
Góc nghiêng của răng trên trục cơ sở (theo 6.35) tgβb=cosαt .tgβ= cos(200).tg(0 
0)¿0=> βb ≈ 00 hệ số xét đến hình dạng bề mặt tiếp xúc :   ZH =  
Chiều rộng vành răng : bw = 𝜓ba . aw = 0,4.199 = 79,6 mm 
Theo công thức hệ số trùng khớp dọc : εβ = bw .sinβ / 
mπ = 79,6 . Sin00 / 2π = 0 
nên theo công thức (6-36c) ta có Z  
Với εα – là hệ số trùng khớp ngang . Theo công thức 6-38b ta có : 
εα = [1,88 – 3,2(1/z1 + 1/z2 ) ] .cosβ 
 = [1,88- 3,2 (1/38 + 1/160)]. Cos00 = 1,775   Z  
Đường kính vòng lăn bánh nhỏ : dw2 = 2 aW/( u2 + 1) = 2.199 /(4,22+1)= 76,245 mm  Vận tốc vòng : v =   = 0,69 m/s 
 dựa theo vận tốc và bảng 6-13 thì cấp chính xác của bánh răng là 9 
Hệ số tải trọng khi tính về tiếp xúc theo công thức (6- 39) ta có :   KH = KHβ KHα KHv 
Trong đó : KHβ – hệ số kể đến sự phân bố tải trọng không đều trên chiều rộng vành răng.  KHβ = 1,055 
KHα – hệ số kể đến sự phân bố tải trọng không đều cho các đôi răng đồng thời ăn khớp . 
Với bánh răng thẳng chọn KHα =1 
KHv – hệ số kể đến tải trong động xuất hiện trong vùng ăn khớp    v   H .bw .dw2   
Theo công thức (6-41) ta có: KHv = 1+ 
2.(T¿¿2/2).K Hβ KHα ¿  Trang 19      lOMoAR cPSD| 58833082  BM : THIẾT KẾ MÁY 
Trong đó : vH = δH.g0.v√ aw  u 
δH – hệ số kể đến ảnh hưởng của sai số ăn khớp.Tra bảng 6-15 ta chọn δH=0,006 g0 – hệ số 
kể đến ảnh hưởng của sai lệch các bước răng bánh 1 và bánh 2 . Tra bảng 6- 16 ta chọn g0  = 73       v  = 2,077
H = 0,006 . 73 . 0,69 .        v    H .bw.dw2      = 1+         = 1 ,034 
Vậy : KHv = 1+ 2.(T2).K Hβ KHα 
 KH = KHβ KHα KHv = 1,055 . 1. 1,034= 1,09 
Vậy ứng suất tiếp xúc xuất hiện trên bề mặt làm việc của răng :  σH = ZM .ZH . Z    
= 274 ×1,763 ×  = 419,96 MPa 
Xác định chính xác ứng suất tiếp xúc cho phép : 
 Theo công thức (6.1) [σH] = (σ oHlim / SH ).ZR Zv . KxH KHL 
Zv – hệ số xét đến ảnh hưởng của vận tốc vòng . Do v = 0,582 m/s <5 nên lấy Zv =1 
Với cấp chính xác động học là 9 , chọn cấp chính xác về mức tiếp xúc là 8 , khi đó cần 
gia công độ nhám Ra = 2,5…1,25 μm, do đó ZR = 0,95; với da <700mm, KxH = 1 do đó  theo (6.1) và (6.1a) 
 Vậy [σH] =[σ H ] ×Z v ×ZR ×K xH =490,9× 1×0,95×1 = 466,355 MPa 
Ta thấy σ H=419,96<[σ H ]=466,355MPa 
Vậy các thông số của bộ truyền là hợp lí theo độ bền tiếp xúc 
4 Kiểm nghiệm răng về độ bền uốn : 
ứng suất uốn sinh ra tại chân răng : theo công thức (6-43) và (6-44) 
2T 1. K F Y ε Y βY F1    F1 =  bw .dw1 .m  ≤ [F1 ]      Trang 20      lOMoAR cPSD| 58833082  BM : THIẾT KẾ MÁY  F2 = ❑  
FY1FY1 F2 ≤ [F2]  Trong đó : 
T1 – mô men xoắn trên bánh chủ động Nmm  KF - mô đun pháp bw -  chiều rộng vành răng 
dw1 - đường kính vòng lăn bánh chủ động Yε 
– hệ số kể đến sự trùng khớp của bánh răng 
Ta có Yε = 1/ εα = 1/ 1,775 ≈ 0,563 
KF = KFβ KFα KFv - hệ số tải trọng khi tính về uốn 
 Với KFβ là hệ số xét đến sự phân bố không đều tải trọng trên chiều rộng vành răng khi 
tính về uốn . tra bảng 6-7 ta chọn KFβ = 1,12 
KFα – là hệ số kể đến sự phân bố không đều tải trọng cho các đôi răng đồng thời an khớp 
khi tính về uốn . vì bộ truyền cấp chậm là bánh răng thẳng nên tra bảng 6-14 ta chọn KFα  =1 
KFv – là hệ số kể đến tải trọng xuất hiện trong vùng ăn khớp khi tính về uốn  v F .bw dw 1 
KFv = 1+ 2T 1 K Fβ KFα        Trong đó : v   F= δF go. v.  = 0,006 . 73 .0,69.   = 2,075 
( Tra bảng 6-15 và bảng 6-16 ta chọn δF= 0,006 ; go = 73 ) 
v F .bw dw1 2,075.79,6.76,245   KFv = 1+  2T 2 K Fβ  KFα = 1+ 2. 
Vậy hệ số tải trọng khi tính về uốn : KF = KFβ KFα KFv =1,12 . 1. 1,032 = 1,155 
Yβ - hệ số kể đến độ nghiêng của răng .  Với banh răng thẳng Y =1  
YF1 ; YF2– hệ số dạng răng của bánh 1và bánh 2 phụ thuộc vào số răng tương đương zv1 
và zv2 của bánh 1 ;2 và hệ số dịch chỉnh Ta có : zv1 = z1 / cos3β = 38/cos 0 = 38 
zv2 = z2 / cos3β = 160/cos 0 = 160 
Tra bảng 6-18 ta chọn YF1 = 3,72 ; YF2 = 3,60 
2T 1. K F Y ε Y βY F1 2×174954,646×1,155×0,563×1×3,72    Vậy F1 =  bw .dw1 .m  = 
79,6×76,245×2 =69,732  MPa  ❑  
F 1Y F2 = 69,7323,72×3,60 = 67,482 MPa  Trang 21