



















Preview text:
  lOMoAR cPSD| 23136115
BỘ GIÁO DỤC VÀ ĐÀO TẠO 
TRƯỜNG ĐẠI HỌC SƯ PHẠM KỸ THUẬT HƯNG YÊN 
------------o0o-----------  ĐỒ ÁN HỆ  THỐNGTHÔNG TIN  KẾ TOÁN 
ĐỀ TÀI: HỆ THỐNGTHÔNG TIN KẾ TOÁN 
TẠI CÔNG TY TNHH THƯƠNG MẠI VÀ DỊCH VỤ HỒNG HÀ – PHẦN 
HÀNH KẾ TOÁN TIỀN LƯƠNG 
Giáo viên hướng dẫn: Đào Thị Hương 
Sinh viên thực hiện: Đặng Thuỳ Dương  Mã sinh viên: 11421215  Lớp: 114214  Hưng Yên 2024    lOMoAR cPSD| 23136115     LỜI CẢM ƠN 
Để hoàn thành tốt đồ án này, em đã nhận được sự giúp đỡ rất nhiệt tình từ các 
thầy cô của trường Đại học Sư phạm Kỹ thuật Hưng Yên, các thầy cô trong khoa Kế 
toán, những người đã giảng dạy và truyền đạt những kiến thức bổ ích cho em. Em xin 
gửi lời cảm ơn chân thành và sự tri ân sâu sắc đến thầy cô. Đó chính là hành trang vô 
cùng quý báu cho em trong sự nghiệp sau này. Đặc biệt, em xin chân thành cảm ơn cô 
giáo Đào Thị Hương đã nhiệt tình hướng dẫn, giúp đỡ, góp ý cho em rất tận tình hoàn  thành tốt đồ án này. 
Em xin chân thành cảm ơn!  Hưng Yên, năm 2024    Sinh viên  Đặng Thuỳ Dương        lOMoAR cPSD| 23136115   LỜI CAM ĐOAN 
Tôi xin cam đoan bài đồ án này là do tự bản thân thực hiện có sự hỗ trợ từ giáo 
viên hướng dẫn và không sao chép các công trình nghiên cứu của người khác. Các dữ 
liệu thông tin thứ cấp sử dụng trong đồ án là có nguồn gốc và được trích dẫn rõ ràng. 
Tôi xin chịu hoàn toàn trách nhiệm về lời cam đoan này!     Sinh viên 
 Đặng Thuỳ Dương      lOMoAR cPSD| 23136115 MỤC LỤC 
DANH MỤC VIẾT TẮT.....................................................................................1 
DANH MỤC BẢNG BIỂU, SƠ ĐỒ...................................................................2 
CHƯƠNG 1: TỔNG QUAN VỀ CÔNG TÁC KẾ TOÁN TIỀN LƯƠNG  
TẠI CÔNG TY TNHH THƯƠNG MẠI VÀ DỊCH VỤ HỒNG HÀ..............3 
1.1. Tổng quan về công ty TNHH Thương Mại và Dịch Vụ Hồng Hà.......3 
1.1.1. Quá trình hình thành và phát triển doanh nghiệp...............................3 
1.1.2. Lĩnh vực sản xuất kinh doanh..............................................................4 
1.2.Công tác kế toán tại đơn vị......................................................................6 
1.2.2. Chính sách kế toán..............................................................................7 
CHƯƠNG 2: THUYẾT MINH QUÁ TRÌNH THIẾT KẾ HỆ THỐNG.....13 
2.1. Các công cụ sử dụng...............................................................................13 
2.1.1. Thiếu kế Menu...................................................................................13 
2.1.2. Thiết kế Danh mục tài khoản.............................................................14 
2.1.3. Thiết kế Bảng kê nhân sự...................................................................15 
2.1.4. Thiết kế Bảng chấm công..................................................................17 
2.1.5. Thiết kế Bảng thanh toán lương........................................................18 
2.1.6. Thiết kế Bảng tổng hợp lương...........................................................20 
2.1.7. Thiết kế Bảng phân bổ tiền lương và các khoản bảo hiểm...............21 
2.1.8. Thiết kế Sổ Kế Toán Máy...................................................................21 
2.1.9. Thiết kế Sổ Nhật Ký Chung...............................................................22 
2.1.10. Thiết kế Sổ Cái.................................................................................24 
2.1.11. Thiết kế Sổ Chi Tiết.........................................................................25 
2.2. Kết quả thực hiện bằng số liệu..............................................................29 
b, Bảng kê nhân sự.............................................................................................29   
CHƯƠNG 3: MỘT SỐ NHẬN XÉT TRONG QUÁ TRÌNH LÀM ĐỒ ÁN39      lOMoAR cPSD| 23136115
Đặng Thuỳ Dương – 11421215 
3.1. Ưu nhược điểm của hệ thống thông tin kế toán tại Công ty TNHH  
Xuất Nhập khẩu May Anh Vũ.....................................................................39 
3.2. Ưu điểm nhược điểm của sản phẩm.....................................................41  6      lOMoAR cPSD| 23136115
Đặng Thuỳ Dương – 11421215 
DANH MỤC VIẾT TẮT  Từ viết tắt  Giải thích                                             
DANH MỤC BẢNG BIỂU, SƠ ĐỒ 
Biểu 2.1. Sổ kế toán máy 
Biểu 2.2. Sổ nhật ký chung 
Biểu 2.3. Sổ chi tiết nguyên vật liệu_Vải bông 
Biểu 2.4. Sổ chi tiết nguyên vật liệu_Vải bò 
Biểu 2.5. Sổ chi tiết nguyên vật liệu_Chỉ 
Biểu 2.6. Bảng tổng hợp Nhập Xuất Tồn 
Biểu 2.7. Sổ cái tài khoản 
Sơ đồ 1.1: Bộ máy kế toán tại Công ty TNHH Xuất Nhập khẩu may Anh Vũ 
Sơ đồ 1.2: Trình tự ghi sổ kế toán của Công ty TNHH Xuất Nhập khẩu may Anh Vũ        lOMoAR cPSD| 23136115
Đặng Thuỳ Dương – 11421215 
CHƯƠNG 1: TỔNG QUAN VỀ CÔNG TÁC KẾ TOÁN TIỀN LƯƠNG TẠI 
CÔNG TY TNHH THƯƠNG MẠI VÀ DỊCH VỤ HỒNG HÀ 
1.1. Tổng quan về công ty TNHH Thương Mại và Dịch Vụ Hồng Hà  
1.1.1. Quá trình hình thành và phát triển doanh nghiệp   Thông tin chung:  
• Tên công ty: Công ty TNHH Thương mại và Dịch vụ Hồng Hà 
• Địa chỉ: 1425 Đại lộ Hùng Vương, Phường Tiên Cát, Thành phố Việt Trì, tỉnh  Phú Thọ 
• Người đại diện pháp luật: Ông Nguyễn Văn Lành 
• Ngày hoạt động: 13/02/2007  • Giấy phép kinh doanh: 
• Mã số thuế: 2600378742 
• Lĩnh vực: công ty phân phối máy móc, thiết bị điện, vật liệu điện 
 Quá trình hình thành của công ty  
• Công ty TNHH Thương mại và Dịch vụ Hồng Hà được thành lập vào ngày 13  tháng 02 năm 2007. 
• Với đội ngũ bán hàng năng động và nhiệt huyết luôn sẵn lòng phục vụ khách 
hàng chu đáo, tận tâm, luôn mang đến cảm giác thân thiện đối với khách hàng  trong kinh doanh. 
• Từ khi thành lập đến nay, công ty đã không ngừng phát triển, mở rộng thị trường 
hoạt động và liên kết với các công ty cùng lĩnh vực nhằm đưa Công ty ngày một  phát triển. 
• Tính đến thời điểm này công ty thành lập đã được 9 năm, từ 1 công ty nhỏ lẻ với 
bộ phận nhân viên ít, công ty đã dần hoàn thiện và phát triển trở thành một trong 
những công ty chủ chốt về lĩnh vực cung cấp các mặt hàng ngành nước, có khả 
năng cạnh tranh với các công ty lớn lâu năm, với bộ phận nhân viên dày dặn      lOMoAR cPSD| 23136115
Đặng Thuỳ Dương – 11421215 
kinh nghiệm và nhiệt huyết hứa hẹn sẽ đưa công ty vươn đến tầm cao mới, mở 
rộng quy mô, với hàng trăm khách hàng và đại lý khắp cả nước.      lOMoAR cPSD| 23136115
Đặng Thuỳ Dương – 11421215  • 
Công ty luôn hoàn thành thuế cho nhà nước và là 1 trong những công ty có nhiều 
đóng góp cho địa phương như hỗ trợ ủng hộ người nghèo, ủng hộ xã xây nghĩa  trang liệt sĩ... 
 Quá trình phát triển của công ty:  
• Thời gian mới thành lập, Công ty TNHH Thương Mại và Dịch vụ Hồng Hà còn 
ít thành viên, cơ sở vật chất còn thiếu thốn. Trải qua nhiều năm thì công ty đã 
phát triển đáng kể. Chuyên nghiệp và có quy mô lớn. Nhân viên công ty đã lên 
đến gần 30 người. Một đội ngũ nhân viên chuyên nghiệp, hăng hái làm việc. 
• Với đội ngũ bán hàng năng động và nhiệt huyết luôn sẵn lòng phục vụ khách 
hàng chu đáo, tận tâm, luôn mang đến cảm giác thân thiện đối với khách hàng  trong kinh doanh. 
• Tính đến thời điểm này công ty thành lập đã được 17 năm, từ 1 công ty nhỏ lẻ 
với bộ phận nhân viên ít, công ty đã dần hoàn thiện và phát triển trở thành một 
trong những công ty chủ chốt về lĩnh vực cung cấp các mặt hàng máy móc, thiết  bị điện… 
• Trong thời kì hội nhập thì các công ty có sự cạnh tranh nhau rất cao nên bên cạnh 
đó công ty cũng có những thuận lợi và khó khăn nhất định. 
1.1.2. Lĩnh vực sản xuất kinh doanh 
 - Lĩnh vực: công ty chuyên cung cấp máy móc, thiết bị điện, vật liệu điện…   Thuận lợi:  
• Là đơn vị đóng trên địa bàn thành phố Việt Trì 
• Đội ngũ nhân viên trẻ tuổi, năng động, nhiệt huyết, luôn nỗ lực hết mình vì công 
việc và đặc biệt là tinh thần trách nhiệm cao, có tinh thần và kĩ năng làm việc  nhóm tốt 
• Môi trường làm việc văn minh, lành mạnh và chuyên nghiệp. 
• Với sự phát triển của các ngành công nghiệp và xây dựng, nhu cầu về máy móc, 
thiết bị điện và vật liệu điện ngày càng tăng, tạo cơ hội cho công ty mở rộng thị  trường.   Khó khăn:      lOMoAR cPSD| 23136115
Đặng Thuỳ Dương – 11421215  • 
Ngành cung cấp máy móc, thiết bị điện có nhiều đối thủ cạnh tranh, bao gồm cả 
các công ty lớn và nhỏ, điều này tạo áp lực về giá cả và chất lượng sản phẩm 
• Đội ngũ nhân viên còn trẻ chưa có nhiều kinh nghiệm nên ban đầu còn gặp nhiều  vướng mắc. 
• Công ty có thể gặp khó khăn trong việc điều chỉnh sản phẩm và dịch vụ để đáp 
ứng nhu cầu thay đổi của khách hàng, đặc biệt trong một thị trường có nhiều  biến động. 
*Cơ cấu tổ chức bộ máy quản lý của Công ty TNHH Thương Mại và Dịch vụ Hồng Hà   
Sơ đồ 1.1: Tổ chức bộ máy quản lý của công ty 
Chức năng của từng phòng ban:  
• Ban giám đốc: là người đại diện pháp nhân của công ty, có trách nhiệm pháp lý 
cao nhất của công ty, chịu trách nhiệm lãnh đạo và điều hành sản xuất kinh 
doanh, đồng thời chịu trách nhiệm pháp luật và công ty trong việc điều hành, 
quản lý của công ty.  
• Bộ phận Kinh doanh: tìm kiếm khách hàng và phát triển thị trường, từ đó tăng 
doanh thu cho công ty. Bộ phận này tư vấn và bán hàng, đảm bảo khách hàng 
được cung cấp thông tin đầy đủ về sản phẩm, dịch vụ. Phòng kinh doanh cũng 
xây dựng các chiến lược bán hàng và marketing, nhằm thúc đẩy doanh số và đạt 
được mục tiêu kinh doanh. Ngoài ra, phòng kinh doanh chịu trách nhiệm duy trì 
mối quan hệ với khách hàng hiện tại, đồng thời xử lý khiếu nại và hỗ trợ sau bán 
hàng; phân tích thị trường và đối thủ để đưa ra các quyết định chiến lược.  
Bộ phận kỹ thuật: cung cấp hỗ trợ kỹ thuật liên quan đến sản phẩm, giúp khách 
hàng hiểu rõ cách sử dụng và bảo trì. Bộ phận này đảm bảo kiểm tra chất lượng      lOMoAR cPSD| 23136115
Đặng Thuỳ Dương – 11421215  • 
sản phẩm trước khi bán và thực hiện các dịch vụ bảo trì, sửa chữa sau bán hàng. 
Phòng kỹ thuật cũng tham gia nghiên cứu và phát triển các giải pháp mới, nhằm 
cải tiến sản phẩm và đáp ứng nhu cầu thị trường. Ngoài ra, họ còn tổ chức đào 
tạo cho nhân viên và khách hàng về các kỹ thuật liên quan đến sản phẩm. 
• Bộ phận hành chính nhân sự: đảm nhận công tác tổ chức quản lý hành chính của 
công ty, như sắp xếp tổ chức sản xuất, bố trí nhân sự, tổ chức hoạt động, quy chế 
trả lương, chế độ bảo hiểm xã hội, công tác an toàn lao động... 
• Bộ phận kế toán: Ghi chép phản ánh đầy đủ và chính xác nghiệp vụ kinh tế phát 
sinh hàng ngày. Theo dõi toàn bộ tài sản hiện có của doanh nghiệp đồng thời 
cung cấp đầy đủ thông tin về hoạt động tài chính của công ty.Phản ánh tất cả các 
chi phí sản xuất phát sinh trong kỳ và kết quả thu được từ hoạt động sản xuất 
kinh doanh. Tìm ra những biện pháp tối ưu nhằm đưa doanh nghiệp phát triển 
một cách lành mạnh, đúng hướng, đạt hiệu quả cao với chi phí bỏ ra là thấp nhất 
nhưng đem lại được kết quả cao nhất. Tăng tích lũy đầu tư cho doanh nghiệp, 
thực hiện nghĩa vụ đầy đủ đối với ngân sách nhà nước. 
1.2.Công tác kế toán tại đơn vị  
1.2.1. Đặc điểm bộ máy kế toán    
Sơ đồ 1.2: Sơ đồ tổ chức bộ máy kế toán của công ty 
 Chức năng và nhiệm vụ của từng bộ máy  
Kế toán trưởng: Lập kế hoạch tài chính, lên báo cáo tổng hợp, lập các bảng phân 
Sbổ và kết chuyển tài khoản. Phân tích hoạt động kinh tế, kết hợp với các phòng ban 
công ty thiết lập các định mức chi phí, định mức khoán doanh thu và các loại định mức 
nhằm nâng cao hiệu quả kinh doanh. Tham mưu cho giám đốc về công tác hoạt      lOMoAR cPSD| 23136115
Đặng Thuỳ Dương – 11421215 
động kinh doanh, quản lý sử dụng vốn, vật tư hàng hoá phù hợp với đặc điểm kinh 
doanh ngành hàng và điều lệ của công ty. Có trách nhiệm trong việc thực hiện các chế 
độ báo cáo, quyết toán theo định kỳ về hoạt động tài chính của công ty. Chịu trách 
nhiệm trước giám đốc công ty và các cơ quan quản lý nhà nước về việc chỉ đạo hướng 
dẫn cách lập báo cáo và kiểm tra công tác kế toán của các kế toán viên, mậu dịch viên 
bán hàng tại các quầy hàng, nhân viên lễ tân 
Kế toán tiền lương: Tính toán, quản lí, hạch toán lương và các khoản theo lương 
của người lao động dựa trên các giấy tờ, chứng từ liên quan. 
Kế toán vật tư: Là người nắm vai trò quan trọng để có thể quản lý được nguồn 
vật liệu hiệu quả sẽ giúp cho doanh nghiệp tiết kiệm được nhiều chi phí trong quá trình 
hoạt động quản lý. Đưa ra những phương pháp cách giải quyết để có nguồn vật liệu 
thích hợp. Quản lý kho cũng là một trong những cách bán hàng chặt chẽ để giúp khách  hàng không gặp rủi ro. 
Kế toán thanh toán: chịu trách nhiệm quản lý và theo dõi các khoản thanh toán, 
đảm bảo tính chính xác và kịp thời trong các giao dịch với khách hàng, nhà cung cấp, 
và nhân viên. Nhiệm vụ chính của bộ phận này bao gồm kiểm tra chứng từ, lập phiếu 
thu chi, theo dõi công nợ, quản lý quỹ tiền mặt và tài khoản ngân hàng. Ngoài ra, kế 
toán thanh toán còn hỗ trợ thanh toán lương, phúc lợi và lập báo cáo tài chính phục vụ 
cho việc ra quyết định quản trị. Việc thực hiện đúng quy trình giúp doanh nghiệp kiểm 
soát dòng tiền hiệu quả và duy trì uy tín với đối tác. 
Kế toán thuế: Đây là vị trí quan trọng, không thể thiếu trong mỗi doanh nghiệp. 
Nhân viên ở vị trí này cần tính toán và xác định các khoản thuế cần nộp theo quy định  pháp luật 
Kế toán bán hàng: Quản lý, ghi chép lại tất cả các công việc liên quan đến bán 
hàng, hóa đơn bán hàng, ghi sổ chi tiết doanh thu hàng bán, Xác định và phản ánh kết 
quả hoạt động kinh doanh và hoạt động khác của DN trong một kì kế toán. 
Thủ quỹ: Là người quản lý nhập và xuất, tồn quỹ tiền mặt, thu tiền của khách 
hàng, kiểm tra tính thật giả của tiền và ghi sổ quỹ tiền mặt, gửi tiền vào ngân hàng kịp 
thời theo đúng quy định. 
1.2.2. Chính sách kế toán 
- Công ty TNHH Thương Mại và Dịch vụ Hồng Hà áp dụng chế độ kế toán theo TT 
133/2016/QĐ – BTC ngày 26/08/2016 của Bộ trưởng Bộ Tài Chính 
+ Niên độ kế toán: Bắt đầu từ ngày 01/01 kế thúc ngày 31/12 hàng năm 
+ Đơn vị tiền tệ sử dụng trong kế toán: Việt Nam Đồng (VNĐ) 
+ Hình thức sổ Kế toán áp dụng: Nhật ký chung 
+ Hệ thống danh mục tài khoản: Sử dụng hệ thống tài khoản theo TT 
133/2016/QĐ – BTC ngày 26/08/2016.      lOMoAR cPSD| 23136115
Đặng Thuỳ Dương – 11421215 
+ Phương pháp khấu hao TSCĐ: Công ty tính khấu hao TSCĐ hữu hình và 
TSCĐ vô hình theo phương pháp đường thẳng theo Quyết định số 45/2014/QĐ-BTC 
ngày 25/04/2014 của Bộ Tài chính. 
+ Phương pháp tính thuế GTGT (VAT): Thuế GTGT được tính theo phương pháp  khấu trừ. 
+ Phương pháp tính giá vốn hàng xuất kho: Nhập trước xuất trước. 
+ Phương pháp hạch toán chi tiết hàng tồn kho: Phương pháp thẻ song song. 
+ Phương pháp kế toán hàng tồn kho: Phương pháp kê khai thường xuyên. 
+ Đánh giá sản phẩm dở dang theo khối lượng sản phẩm hoàn thành tương  đương. 
+ Tỷ giá sử dụng trong quy đổi ngoại tệ: Tỷ giá thực tế. 
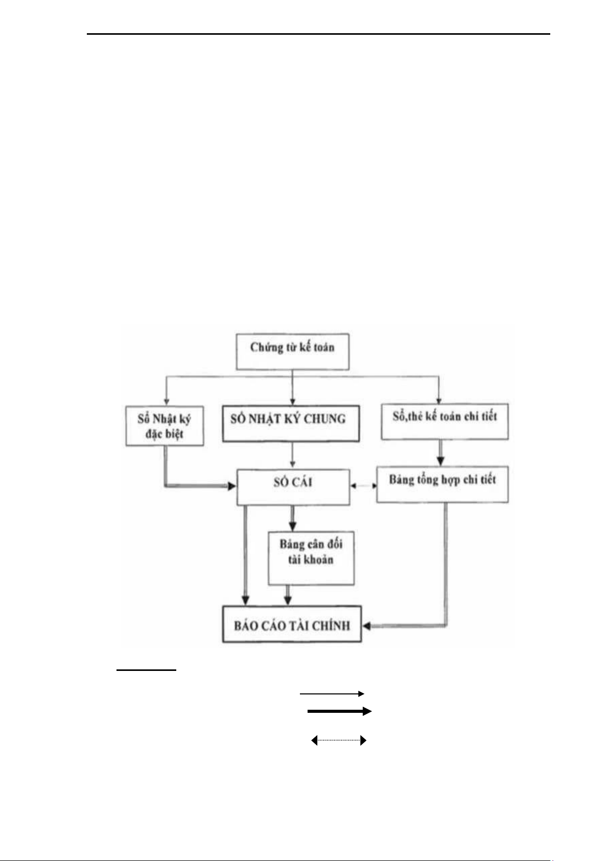
• Sơ đồ trình tự ghi sổ kế toán của hình thức Nhật ký chung    ơ    Ghi chú:   Ghi hàng ngày: 
Ghi cuối tháng, ghi theo kỳ:  Đối chiếu kiểm tra: 
1.2.3. Lưu đồ luân chuyển chứng từ 
* Quy trình luân chuyển chứng từ phần hành kế toán tiền lương       lOMoAR cPSD| 23136115
Đặng Thuỳ Dương – 11421215 
- Các thủ tục trong một hệ thống kế toán tiền lương được xử lý thủ công ở công ty 
TNHH Thương Mại và Dịch vụ Hồng Hà như sau: 
Khi có nhu cầu về quản lý thời gian làm việc và tính lương cho nhân viên, Bộ 
phận hành chính nhân sự lập bảng chấm công. Bảng này ghi lại số giờ làm việc, giờ 
tăng ca, nghỉ phép, hoặc vắng mặt của từng nhân viên trong kỳ lương. Bảng chấm công 
sẽ được lập thành 2 liên;1 liên lưu lại làm căn cứ lập bảng thanh toán tiền lương. Sau 
đó gửi bảng thanh toán tiền lương và liên 2 của bảng chấm công gửi Kế toán tiền lương 
để làm căn cứ lập bảng tổng hợp tiền lương. 
Dựa vào bảng chấm công, bảng thanh toán tiền lương; Kế toán tiền lương sẽ lập 
bảng tổng hợp tiền lương, bảng phân bồ tiền lương làm 2 liên gửi cho kế toán trưởng. 
Sau khi nhận được bảng tổng hợp tiền lương và bảng phân bổ tiền lương; Kế 
toán trưởng kiểm tra và phê duyệt. Sau đó gửi bảng lương đã được xác nhận 2 liên: liên 
1 gửi Kế toán thanh toán, liên 2 gửi Kế toán tiền lương. 
Kế toán thanh toán căn cứ vào bảng tổng hợp tiền lương và bảng phân bổ tiền 
lương được duyệt, lập uỷ nhiệm chi làm 2 liên gửi cho Kế toán trưởng để ký và phê  duyệt. 
Kế toán trưởng nhận UNC thì kiểm tra và ký duyệt. Sau đó, gửi UNC đã duyệt 
đến kế toán thanh toán. Kế toán thanh toán nhận 2 liên UNC đã duyệt, liên 1 lưu tại bộ 
phận, liên 2 gửi Ngân hàng để ngân hàng chuyển khoản cho người lao động. 
Kế toán tiền lương căn cứ vào bảng tổng hợp tiền lương, bảng phân bổ tiền lương 
đã duyệt nhập liệu vào Excel để máy xử lý. Lập sổ NKC, SC TK 334, SC TK  388, SCT TK 338 
*Lập bảng thực thể:  Xử  Thực thể  Hoạt động  lý      9      lOMoAR cPSD| 23136115
Đặng Thuỳ Dương – 11421215  - 
Nhân viên đi làm chấm công trên máy chấm công -  - 
Theo dõi, tập hợp bảng chấm công  -  - 
Xuất dữ liệu từ máy chấm công, lập bảng chấm  +  công làm 2 liên  +  Bộ phận hành 
 + Liên 1: Lưu tại Phòng nhân sự lưu theo ngày tháng  -  chính nhân sự 
 + Liên 2: Gửi cho Kế toán tiền lương   
- Lập Bảng thanh toán lương(BTTL) làm 2 liên:  +   
 + Liên1: Lưu tại Bộ phận theo ngày tháng  +   
 + Liên 2: Gửi cho Kế toán tiền lương  -    - 
Nhận bảng chấm công liên 2 + BTTL liên 2  -  - 
Lập bảng tổng hợp tiền lương(BTHTL), bảng phân + 
bổ tiền lương(BPBTL)làm 2 liên ->Kế toán trưởng - Nhận - 
BTHTL, BPBTL đã duyệt liên 2 - Căn cứ  Kế toán tiền 
vào BTHTL, BPBTL được duyệt nhập liệu Excel  -  lương   
- Ghi sổ nhật ký chung(NKC)  +   
- Ghi sổ cái TK 334, 338, SCT TK 338  +  - Nhận BTHTL, BPBTL  -  - Xét duyệt  + 
- Chuyển BTHTL, BPBTL đã duyệt:  - 
 + Liên 1: Gửi cho Kế toán thanh toán  -  Kế toán trưởng 
 + Liên 2: Gửi cho Kế toán tiền lương    - Nhận UNC  -    - Ký duyệt  +   
- Chuyển UNC đã ký duyệt -> Kế toán thanh toán  -  - 
Nhận BTHTL, BPBTL đã duyệt - Lập UNC làm 2 -  liên  +  +  Kế toán thanh  - 
Chuyển UNC -> Kế toán trưởng  +  toán  -  Lưu BTHTL, BPBT liên 1    - Nhận UNC đã duyệt  -   
- Chuyển UNC đã duyệt liên 2 -> Ngân hàng  -  Ngân hàng  - Nhận UNC  - 
 Chứng từ sử dụng:   -Bảng chấm công      lOMoAR cPSD| 23136115
Đặng Thuỳ Dương – 11421215  - Bảng thanh toán tiền  lương  10  - Bảng tổng hợp tiền  lương  - Bảng phân bổ tiền  lương  - Uỷ nhiệm chi Sổ  sách sử dụng: -Sổ NKC  -Sổ cái 334  -Sổ cái 338  -Sổ chi tiết 338             lOMoAR cPSD| 23136115
Đặng Thuỳ Dương – 11421215 
CHƯƠNG 2: THUYẾT MINH QUÁ TRÌNH THIẾT KẾ HỆ THỐNG 
2.1. Các công cụ sử dụng 
Công ty sử dụng phần mềm Microsoft Excel làm công tác kế toán nó là một công 
cụ rất mạnh có thể sử dụng để thiết lập các chứng từ, bảng biểu, sổ sách và báo cáo kế 
toán theo hướng linh hoạt và tự động hóa một số khâu của công tác kế toán, đặc biệt khi 
doanh nghiệp chưa ứng dụng phần mềm kế toán. 
Các thông tin chung về doanh nghiệp:   
Các hàm sử dụng: Sum, If,Sumif, Vlookup. 
2.1.1. Thiếu kế Menu 
Chọn 1 sheet trong workbook vừa tạo đặt tên là Menu và thiết kế: 
Chọn Insert vẽ 1 hình tùy thích và đặt tên cho sheet cần link, ấn chuột phải vào 
hình vừa tạo => ấn chọn edit link   
Tiếp theo ấn chọn link ứng với tên sheet => ấn ok để hoàn thành      lOMoAR cPSD| 23136115
Đặng Thuỳ Dương – 11421215   
2.1.2. Thiết kế Danh mục tài khoản 
Chọn 1 sheet còn trống của file vừa tạo và đổi tên thành DMTK (danh mục tài 
khoản), sau đó thiết lập bảng danh mục tài khoản có kết cấu như sau:   
Cách ghi sổ cho danh mục nguyên vật liệu cụ thể như sau: 
Cột 1: TKTH: nhập từ bàn phím vào: Là số hiệu tài khoản cấp 1 gồm 3 ký tự, nên để 
chữ đậm để dễ phân biệt với các TK chi tiết. Nếu TK cấp I có các TK chi tiết thì TK 
tổng hợp này không dùng để định khoản. 
Cột 2: TKCT: nhập từ bàn phím: Là số hiệu tài khoản kế toán chi tiết. Số hiệu này được 
đặt cho TK chi tiết cấp độ nhỏ nhất và không được trùng nhau. TK được mở cho các đối 
tượng chi tiết thì được đặt mã số theo quy tắc, < Số hiệu TK>.