



















Preview text:
 
 2.1.6. Phân tích chức năng, hành vi, dữ liệu 
2.1.6.1. Phân tích chức năng 
*Biểu đồ UC tổng quát    Tác nhân  Chức năng  Nhân sự HR 
- Quản lý nhân viên  
- Quản lý chức vụ  
- Quản lý hợp đồng 
- Quản lý chấm công  - Quản lý lương     
2.1.6.1.1. Biểu đồ usecase chi tiết và đặc tả “Quản lý nhân viên”   
* Đặc tả use case chức năng Thêm nhân viên  Tên usecase  Thêm nhân viên  Actor  HR (Nhân sự)  Mô tả 
Chức năng cho phép HR nhập thông tin nhân viên mới  Tiền điều kiện 
Tác nhân đã đăng nhập vào hệ thống.  Luồng sự kiện 
1. HR chọn chức năng “Thêm nhân viên” trên hệ thống.  chính 
2. Hệ thống hiển thị form nhập thông tin nhân viên. 
3. HR nhập thông tin cần thiết:  
4. HR nhấn Lưu. 
5. Hệ thống kiểm tra tính hợp lệ của dữ liệu  
6. Nếu hợp lệ, hệ thống ghi thông tin vào bảng NhanVien  trong CSDL. 
7. Hệ thống thông báo “Thêm nhân viên thành công”.      Luồng sự kiện 
Nếu hệ thống không thể ghi dữ liệu, hiển thị thông báo lỗi và yêu  phụ  cầu thử lại. 
* Đặc tả use case chức năng sửa thông tin nhân viên  Tên usecase 
Sửa thông tin nhân viên  Actor  HR (Nhân sự)      Mô tả 
Chức năng cho phép HR tìm kiếm và chỉnh sửa thông tin của một 
nhân viên đã có trong hệ thống  Tiền điều kiện 
Tác nhân đã đăng nhập và đã ghi nhận giờ vào.  Luồng sự kiện 
1.HR chọn chức năng “Sửa thông tin nhân viên”.  chính 
2.Hệ thống hiển thị danh sách nhân viên hoặc form tìm kiếm. 
3. HR chọn nhân viên cần chỉnh sửa. 
4.Hệ thống hiển thị thông tin chi tiết của nhân viên. 
5.HR chỉnh sửa thông tin 6.HR  nhấn Lưu. 
7.Hệ thống kiểm tra dữ liệu đã nhập (định dạng, trùng lặp). 
8.Nếu hợp lệ, hệ thống cập nhật thông tin vào bảng NhanVien  trong CSDL. 
9.Hệ thống thông báo “Cập nhật thành công”.  Luồng sự kiện 
1.Nếu mã nhân viên không tồn tại → hiển thị thông báo lỗi.  phụ 
2.Nếu email hoặc CCCD trùng với nhân viên khác → báo lỗi,  không cho lưu. 
3.Nếu không thể cập nhật dữ liệu → hiển thị thông báo lỗi, yêu  cầu thử lại. 
* Đặc tả use case chức năng xóa nhân viên  Tên usecase  Xóa nhân viên  Actor  HR (Nhân sự)  Mô tả 
Chức năng cho phép HR loại bỏ nhân viên ra khỏi hệ thống khi 
họ đã nghỉ việc  Tiền điều kiện 
Tác nhân đã đăng nhập vào hệ thống.  Luồng sự kiện 
1.HR chọn chức năng “Xóa nhân viên”.  chính 
2.Hệ thống hiển thị danh sách nhân viên hoặc form tìm kiếm  nhân viên. 
3.HR chọn nhân viên cần xóa. 
4.Hệ thống hiển thị thông tin chi tiết nhân viên kèm cảnh báo  xác nhận.       
5.HR xác nhận thao tác xóa. 
6.Hệ thống kiểm tra ràng buộc  
7.Nếu hợp lệ, hệ thống cập nhật trạng thái hoặc xóa nhân viên 
khỏi bảng NhanVien. 
8.Hệ thống hiển thị thông báo “Xóa nhân viên thành công”.  Luồng sự kiện 
1.Nếu mã nhân viên không tồn tại → hiển thị thông báo lỗi.  phụ 
2.Nếu nhân viên còn hợp đồng hiệu lực hoặc dữ liệu chấm 
công/lương chưa xử lý → hệ thống báo lỗi, không cho phép xóa.  3. 
Nếu HR nhấn Hủy tại bước xác nhận → quay lại danh  sách nhân viên.  4. 
Nếu hệ thống không thể thực hiện thao tác xóa → hiển thị  thông báo lỗi. 
2.1.6.1.1. Biểu đồ usecase chi tiết và đặc tả “Quản lý chức vụ”   
* Đặc tả use case chức năng Thêm chức vụ  Tên usecase  Thêm chức vụ  Actor  HR (Nhân sự)  Mô tả 
Chức năng cho phép HR nhập thông tin chức vụ mới và lưu vào 
cơ sở dữ liệu để sử dụng trong quản lý nhân sự và tính    lương.  Tiền điều kiện 
Tác nhân đã đăng nhập vào hệ thống.      Luồng sự kiện 
1. HR chọn chức năng “Thêm chức vụ”.  chính 
2. Hệ thống hiển thị form nhập thông tin chức vụ. 
3. HR nhập các thông tin:  4. Tên chức vụ 
5. Hệ số lương 6. HR nhấn Lưu. 
7. Hệ thống kiểm tra dữ liệu (không để trống, hệ số lương  phải hợp lệ). 
8. Nếu hợp lệ, hệ thống thêm bản ghi mới vào bảng  ChucVu. 
9. Hệ thống thông báo “Thêm chức vụ thành công”.  Luồng sự kiện 
Nếu bỏ trống tên chức vụ hoặc hệ số lương → hiển thị thông báo  phụ 
lỗi, yêu cầu nhập lại. 
* Đặc tả use case chức năng sửa chức vụ  Tên usecase  Sửa chức vụ  Actor  HR (Nhân sự)  Mô tả 
Chức năng cho phép HR tìm kiếm và chỉnh sửa thông tin của một 
chức vụ đã có trong hệ thống  Tiền điều kiện 
Tác nhân đã đăng nhập vào hệ thống.  Luồng sự kiện 
1. HR chọn chức năng “Sửa chức vụ”.  chính 
2. Hệ thống hiển thị danh sách chức vụ hoặc form tìm 
kiếm chức vụ. 
3. HR chọn chức vụ cần chỉnh sửa. 
4. Hệ thống hiển thị thông tin chi tiết chức vụ. 
5. HR cập nhật thông tin (ví dụ: tên chức vụ, hệ số lương). 
6. HR nhấn Lưu. 
7. Hệ thống kiểm tra dữ liệu nhập vào (không trống, hệ số  hợp lệ). 
8. Nếu hợp lệ, hệ thống cập nhật thông tin trong bảng  ChucVu. 
9. Hệ thống hiển thị thông báo “Cập nhật chức vụ thành  công”.      Luồng sự kiện 
Nếu mã chức vụ không tồn tại → hiển thị thông báo lỗi.  phụ 
* Đặc tả use case chức năng Xóa chức vụ  Tên usecase  Xóa chức vụ  Actor  HR (Nhân sự)  Mô tả 
Chức năng cho phép HR xóa bỏ một chức vụ không còn sử dụng  trong hệ thống..  Tiền điều kiện 
Tác nhân đã đăng nhập vào hệ thống.  Luồng sự kiện 
1. HR chọn chức năng “Xóa chức vụ”.  chính 
2. Hệ thống hiển thị danh sách chức vụ. 
3. HR chọn chức vụ cần xóa. 
4. Hệ thống hiển thị hộp thoại xác nhận xóa. 
5. HR xác nhận “Đồng ý xóa”. 
6. Hệ thống kiểm tra ràng buộc (chức vụ có đang được gán 
cho nhân viên hay không). 
7. Nếu không có ràng buộc, hệ thống xóa chức vụ trong  bảng ChucVu. 
8. Hệ thống hiển thị thông báo “Xóa chức vụ thành công”.  Luồng sự kiện 
Nếu HR chọn chức vụ đã bị xóa trước đó → hệ thống báo lỗi.  phụ 
Biểu đồ usecase chi tiết và đặc tả “Quản lý hợp đồng”   
* Đặc tả use case chức năng lập hợp đồng mới      Tên usecase 
Lập hợp đồng mới Lập hợp đồng mới  Actor  HR (Nhân sự)  Mô tả 
Chức năng cho phép HR lập hợp đồng lao động mới cho nhân 
viên, bao gồm nhập loại hợp đồng, thời hạn, mức   
lương cơ bản và các thông tin liên quan.  Tiền điều kiện 
Tác nhân đã đăng nhập vào hệ thống.  Luồng sự kiện 
1. HR chọn chức năng “Lập hợp đồng mới”.  chính 
2. Hệ thống hiển thị danh sách nhân viên. 
3. HR chọn nhân viên cần lập hợp đồng. 
4. Hệ thống hiển thị mẫu nhập thông tin hợp đồng. 
5. HR nhập thông tin hợp đồng: 6. Loại hợp đồng   7. Ngày ký.  8. Ngày hết hạn.  9. Lương cơ bản. 
10.Các ghi chú khác (nếu có). 
11.HR xác nhận và nhấn “Lưu”. 
12.Hệ thống kiểm tra dữ  
13.Nếu hợp lệ → hệ thống lưu thông tin vào bảng HopDong. 
14.Hệ thống hiển thị thông báo “Lập hợp đồng thành  công”.  Luồng sự kiện 
Nếu HR chọn nhân viên đã bị xóa hoặc chưa tồn tại → hệ thống  phụ  báo lỗi. 
* Đặc tả use case chức năng gia hạn hợp đồng  Tên usecase 
Gia hạn hợp đồng  Actor  HR (Nhân sự)  Mô tả 
Chức năng cho phép HR thực hiện gia hạn một hợp đồng lao động 
còn hiệu lực, bằng cách cập nhật thời gian hết hạn và các điều  khoản liên quan  Tiền điều kiện 
Tác nhân đã đăng nhập vào hệ thống.      Luồng sự kiện 
1. HR chọn chức năng “Gia hạn hợp đồng”.  chính 
2. Hệ thống hiển thị danh sách các hợp đồng đang còn hiệu  lực. 
3. HR chọn hợp đồng của nhân viên cần gia hạn. 
4. Hệ thống hiển thị thông tin chi tiết hợp đồng. 
5. HR nhập thông tin gia hạn: 
6. Ngày hết hạn mới. 
7. Điều chỉnh mức lương cơ bản  
8. Ghi chú bổ sung 9. HR nhấn “Lưu”. 
10.Hệ thống kiểm tra dữ liệu hợp lệ  
11.Nếu hợp lệ → hệ thống cập nhật thông tin hợp đồng trong  bảng HopDong. 
12.Hệ thống hiển thị thông báo “Gia hạn hợp đồng   
thành công”. 
13.Hệ thống hiển thị thông báo “Lập hợp đồng thành  công”.  Luồng sự kiện 
Nếu HR chọn hợp đồng đã bị xóa hoặc không có trong hệ thống  phụ  → báo lỗi. 
* Đặc tả use case chức năng kết thúc hợp đồng  Tên usecase 
Kết thúc hợp đồng  Actor  HR (Nhân sự)  Mô tả 
Chức năng cho phép HR kết thúc hợp đồng lao động của một nhân 
viên khi hợp đồng hết hạn hoặc chấm dứt trước thời hạn  Tiền điều kiện 
Tác nhân đã đăng nhập vào hệ thống.      Luồng sự kiện 
1. HR chọn chức năng “Kết thúc hợp đồng”.  chính 
2. Hệ thống hiển thị danh sách các hợp đồng đang còn hiệu  lực. 
3. HR chọn hợp đồng của nhân viên cần kết thúc. 
4. Hệ thống hiển thị thông tin chi tiết hợp đồng. 
5. HR nhập thông tin kết thúc hợp đồng:  6. Ngày kết thúc.  7. Lý do kết thúc  
8. Các ghi chú bổ sung  
9. HR xác nhận và nhấn “Lưu”. 
10.Hệ thống kiểm tra dữ  
11.Nếu hợp lệ → hệ thống cập nhật trạng thái hợp đồng trong  bảng HopDong  
12.Hệ thống hiển thị thông báo “Kết thúc hợp đồng thành  công”.  Luồng sự kiện 
Nếu HR chọn hợp đồng đã bị xóa hoặc không có trong hệ thống  phụ  → báo lỗi. 
Biểu đồ usecase chi tiết và đặc tả “Quản lý chấm công”   
*Đặc tả use case chức năng ghi nhận giờ vào/ra  Tên usecase 
Ghi nhận giờ vào/ra  Actor  HR (Nhân sự)  Tên usecase 
Cập nhật trạng thái      Mô tả 
Chức năng cho phép HR nhập hoặc xác nhận giờ vào/ra của  nhân viên  Tiền điều kiện 
Tác nhân đã đăng nhập vào hệ thống.  Luồng sự kiện 
1. HR chọn chức năng “Ghi nhận giờ vào/ra”.  chính 
2. Hệ thống hiển thị danh sách nhân viên và ngày cần ghi  nhận. 
3. HR chọn một nhân viên cụ thể. 
4. HR nhập hoặc xác nhận thông tin giờ vào, giờ ra. 
5. HR nhấn Lưu. 
6. Hệ thống kiểm tra dữ liệu → hợp lệ → lưu vào bảng  ChamCong. 
7. Hệ thống thông báo “Ghi nhận thành công”.  Luồng sự kiện 
hệ thống báo lỗi khi HR nhập mã nhân viên không hợp lệ.  phụ 
*Đặc tả use case chức năng cập nhật trạng thái  Actor  HR (Nhân sự)  Mô tả 
HR sử dụng hệ thống để cập nhật hoặc điều chỉnh trạng thái chấm 
công của nhân viên trong một ngày cụ thể (ví dụ: đi trễ, nghỉ phép, 
nghỉ bệnh, công tác). Trạng thái này được lưu để phục vụ cho báo 
cáo chấm công và tính lương.  Tiền điều kiện 
Tác nhân đã đăng nhập vào hệ thống.  Luồng sự kiện 
1. HR chọn chức năng “Cập nhật trạng thái”.  chính 
2. Hệ thống hiển thị danh sách nhân viên và các ngày chấm  công. 
3. HR chọn nhân viên và ngày cần cập nhật. 
4. HR chọn trạng thái cần gán (ví dụ: Đi trễ, Nghỉ phép,  Công tác). 
5. HR nhấn Lưu. 
6. Hệ thống lưu trạng thái mới vào 
ChamCong.TrangThai. 
7. Hệ thống hiển thị thông báo “Cập nhật thành công”.      Luồng sự kiện 
hệ thống báo lỗi khi HR nhập mã nhân viên không có trong cơ sở  phụ  dữ liệu. 
*Đặc tả use case chức năng xuất báo cáo chấm công  Tên usecase 
Xuất báo cáo chấm công  Actor  HR (Nhân sự)  Mô tả 
Chức năng cho phép HR tạo và xuất báo cáo chấm công của nhân 
viên trong một khoảng thời gian (ngày, tuần, tháng). Báo cáo hiển 
thị thông tin giờ vào/ra, số ngày công, số lần đi trễ/nghỉ phép/công 
tác để phục vụ công tác quản lý và tính lương.  Tiền điều kiện 
Tác nhân đã đăng nhập vào hệ thống.  Luồng sự kiện 
1. HR chọn chức năng “Xuất báo cáo chấm công”.  chính 
2. Hệ thống hiển thị form lọc (theo nhân viên, bộ phận, thời  gian). 
3. HR nhập thông tin lọc (ví dụ: tháng 9/2025, bộ phận Kế  toán). 
4. HR chọn định dạng báo cáo (Excel, PDF, Word). 
5. Hệ thống truy xuất dữ liệu từ bảng ChamCong và tính 
toán số ngày công, số lần đi trễ, nghỉ phép, công tác. 
6. Hệ thống sinh báo cáo theo định dạng đã chọn. 
7. Hệ thống hiển thị thông báo “Xuất báo cáo thành công” 
và cho phép HR tải về hoặc in báo cáo.  Luồng sự kiện 
Nếu trong khoảng thời gian chọn không có dữ liệu, hệ thống thông  phụ 
báo “Không tìm thấy dữ liệu báo cáo”. 
Biểu đồ usecase chi tiết và đặc tả “Quản lý lương”       
*Đặc tả use case chức năng xuất báo cáo chấm công  Tên 
Tính lương theo ngày công  usecas  e  Actor  HR (Nhân sự)  Mô tả 
Chức năng cho phép HR sử dụng dữ liệu chấm công, hợp đồng lao động 
và hệ số lương để tính lương cho từng nhân viên trong tháng. Hệ thống tự 
động tổng hợp số ngày công, áp dụng hệ số lương và thông tin từ hợp đồng 
để tính Lương thực lĩnh.  Tiền 
Tác nhân đã đăng nhập vào hệ thống.  điều  kiện  Luồng 
1. HR chọn chức năng “Tính lương theo ngày công”.  sự 
2. Hệ thống hiển thị form nhập thông tin (kỳ lương, bộ phận, danh  kiện  sách nhân viên).  chính 
3. HR chọn nhân viên hoặc bộ phận cần tính lương. 
4. Hệ thống tự động lấy: 
• Số ngày công từ bảng ChamCong. 
• Hệ số lương từ bảng ChucVu. 
• Lương cơ bản từ bảng HopDong.      5. 
Số ngày công từ bảng ChamCong.   
6. Hệ thống lưu kết quả vào bảng Luong. 
7. Hệ thống thông báo “Tính lương thành công”.  Luồng 
Chưa có dữ liệu chấm công: Hệ thống thông báo và yêu cầu cập nhật chấm 
sự kiện công trước.  phụ 
2.1.6.2. Phân tích hành vi 
2.1.6.2.1. Biểu đồ tuần tự 
a. Biểu đồ tuần tự quản lý nhân viên   
b. Biểu đồ tuần tự chấm công       
c. Biểu đồ tuần tự xuất tính lương   
2.1.6.2.1. Biểu đồ hoạt động    a. 
Biểu đồ hoạt động quản lý nhân viên           
Biểu đồ hoạt động ghi nhận giờ ra   
Biểu đồ hoạt động xem lịch sử chấm công       
Biểu đồ hoạt động tính lương cơ bản       
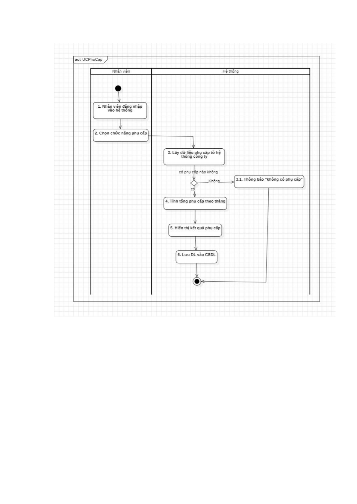
Biểu đồ hoạt động tính phụ cấp       
Biểu đồ hoạt động tính khấu trừ       
Biểu đồ hoạt động xuất Excel tính lương